|
|
(21), (22) Заявка: 2003100740/12, 08.01.2003
(24) Дата начала отсчета срока действия патента:
08.01.2003
(43) Дата публикации заявки: 20.08.2004
(45) Опубликовано: 27.05.2005
(56) Список документов, цитированных в отчете о поиске:
SU 1463317 А1, 07.03.1989. ЕР 0339278 A2, 02.11.1989. SU 1755814 A1, 23.08.1992. US 3871459 A, 18.03.1975. SU 1546353 A1, 28.02.1990. SU 787046 A, 25.12.1980. GB 1584322 A, 11.02.1981.
Адрес для переписки:
143903, Московская обл., Балашихинский р-н, пос. ВНИИПО, 12, ФГУ ВНИИПО МЧС России, патентная группа ОНТИ
|
(72) Автор(ы):
Потякин В.И. (RU), Глухов И.С. (RU), Болодьян И.А. (RU), Калинкин В.И. (RU), Барсуков И.Б. (RU), Пушкин В.А. (RU)
(73) Патентообладатель(и):
Федеральное государственное учреждение Всероссийский научно-исследовательский институт противопожарной обороны МЧС России (ФГУ ВНИИПО МЧС России) (RU)
|
(54) УСТРОЙСТВО ДЛЯ САМОТУШЕНИЯ ГОРЯЩИХ ЖИДКОСТЕЙ
(57) Реферат:
Устройство для самотушения горящих жидкостей предназначено для использования в различных отраслях народного хозяйства, а именно в нефтеперерабатывающей промышленности, на речном, морском, железнодорожном и авиационном транспорте, атомных и тепловых электростанциях, то есть на объектах, в которых постоянно находятся в обращении легковоспламеняющиеся и горючие жидкости. При попадании горящей жидкости в емкость с размещенным в ней устройством самотушения осуществляется практически мгновенная ликвидация ее горения и одновременно резко снижается выделение паровой фазы в окружающее пространство. Применение устройств самотушения позволяет исключить потребность в использовании традиционных средств и способов тушения пожаров горящих жидкостей. При этом устраняется зависимость от исправности и времени срабатывания извещателей пожара и включения систем тушения. Устройство самотушения является недорогим и эффективным средством тушения пожаров горящих жидкостей и, по-видимому, найдет широкое применение в различных областях промышленности. 3 ил.

Изобретение относится к пожарной технике и может быть использовано для предотвращения и подавления пожаров горящих жидкостей, находящихся, например, в открытых баках или резервуарах, а также для ликвидации падающих потоков горящих жидкостей, образующихся в аварийных ситуациях.
Известно устройство для самотушения горящих жидкостей, содержащая емкость с размещенными в ней трубами, основания которых параллельны боковым стенкам емкости и установлены по всему поперечному сечению емкости (Авторское свидетельство СССР №787046, кл. А 62 С 3/12, 1980). Высота каждой трубы “Н”, не заполняемая жидкостью при максимальном проливе, и ее эффективный диаметр “dэф” определяются из соотношения H>12эф. При этом нижняя часть труб, опирающихся на дно емкости, снабжена перфорированными отверстиями для выравнивания уровня жидкости в емкости.
Недостатками этого устройства является его высокая металлоемкость и неопределенность уровня перфорационных отверстий, поскольку при малом уровне заполнения емкости жидкостью между вертикальными каналами возможно возникновение естественной конвекции и продолжение процесса горения, который будет иметь очаговый характер.
Известно устройство для самотушения и предотвращения загорании горючих жидкостей (Авторское свидетельство СССР №1463317, кл. А 62 С 3/12, 1988), выбранное в качестве прототипа. Устройство содержит емкость, в которой для повышения эффективности тушения по всему ее поперечному сечению расположены трубы, стенки которых параллельны стенкам емкости. При этом по периметру верхнего среза каждой трубы установлены отражатели, угол отклонения которых от вертикальных стенок трубы определяется из отношения: dЭКВ/Н, где
dЭКВ – эквивалентный диаметр труб;
H – высота труб, не заполняемая жидкостью.
Длина поверхности отражателей l=0,06H, а нижний срез труб расположен на расстоянии h 0,25dэкв от днища емкости.
Недостатками этого устройства является сложность изготовления и сборки всей конструкции устройства с применением отражателей, устанавливаемых в каждой вертикальной трубе. Устанавливать подобные отражатели, по-видимому, возможно только в вертикальных трубах достаточно большого диаметра. Кроме того, наличие отражателей увеличивает поверхность устройства, на которую, например, падает горящая струя жидкости. Это в свою очередь приводит к образованию процесса разбрызгивания горящей жидкости и, следовательно, интенсификации горения вблизи верхней части устройства. Существенным недостатком в конструкции данного устройства является его высокая металлоемкость, поскольку трубы практически полностью заполняют всю емкость. Наиболее сильно этот недостаток проявляется при больших объемах проливаемой жидкости, поскольку нижний срез труб должен располагаться на расстоянии h 0,25dЭКВ от днища емкости.
Целью изобретения является повышение эффективности тушения и улучшения эксплуатационных характеристик устройства.
Указанная цель достигается тем, что в устройстве для самотушения горящих жидкостей, содержащем емкость с размещенным в ней по всему поперечному сечению горизонтально расположенным слоем осесимметричных вертикальных труб (каналов), образующих ячеистую структуру, на нижней поверхности ячеистой структуры установлен пламяотсекающий элемент, состоящий из металлических сеток, образующих плоский горизонтально расположенный теплоизолирующий газовый слой высотой h 10 мм и плотно прилегающий к нижней части ячеистой структуры.
Заявляемое устройство является эффективным средством тушения горящих жидкостей и может быть применено в различных отраслях промышленности, а именно на предприятиях, в которых постоянно находятся в обращении жидкости, способные воспламеняться в атмосфере воздуха. Применение такого устройства для самотушения горящих жидкостей не требует использования специальных огнетушащих средств и участия человека в процессе тушения.
Преимущество заявляемого изобретения заключается в том, что в металлическую емкость помешается устройство, которое состоит из двух основных элементов: из горизонтального слоя осесимметричных, вертикально расположенных каналов (труб), образующих ячеистую структуру, и пламяотсекаюшего слоя, образованного металлическими сетками, плотно прилегающего к нижней части ячеистой структуры вертикальных каналов. При этом вся пламягасящая система устанавливается в емкостях различных размеров, и вертикальный размер ее не зависит от глубины емкости.
Сборка вертикальных каналов обладает наибольшей эффективностью тушения пламен в том случае, когда высота H, не заполняемая жидкостью, соответствует условию
H 3dЭКВ (1)
При получении соотношения (1) использовались легковоспламеняющиеся и горючие жидкости: изопропиловый спирт, керосин, дизельное топливо, трансформаторное масло.
Пламяотсекаюший слой, плотно прилегающий к нижним срезам вертикальных каналов, состоит из двух слоев (верхний и нижний) металлических сеток, которые образуют плоский, горизонтально расположенный газовый слой. Высота этого слоя не должна превышать 10 мм.
Для текущих жидкостей сетки практически не оказывают сопротивления и в то же время являются непроницаемой преградой для воздушных потоков, создаваемых естественной конвекцией. Для указанных выше горючих жидкостей определены параметры сеток, обеспечивающие максимальный эффект отсекания пламени от падающих и горящих струй, а также обеспечивающие надежное тушение горящей жидкости, находящейся в емкости под слоем сеток.
Таким образом, заявляемое устройство для самотушения горящих жидкостей соответствует критерию изобретения “новизна”.
Сравнение заявляемого решения не только с прототипом, но и с другими техническими решениями в данной области техники не позволило выявить в них признаки, отличающие заявляемое решение от прототипа, что позволяет сделать вывод о соответствии критерию “существенные отличия”.
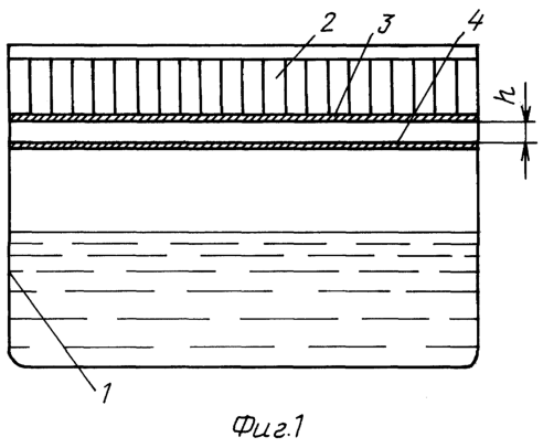
На фиг.1 изображен общий вид заявляемого устройства в разрезе, на фиг.2 представлен график зависимости n(а), на фиг.3 приведены графические данные, характеризующие свойство сеток подавлять процесс горения жидкости.
Устройство содержит металлическую емкость 1 с размещенной в ней сборкой устройств для самотушения горящих жидкостей, состоящей из блока вертикальных каналов 2, изготовленного из листовой стали и пламяотсекающего слоя, образованного верхним 3 и нижним 4 слоями металлических сеток, которые образуют плоский газовый слой толщиной h 10 мм.
Верхний слой сеток 3 обеспечивает надежное отсекание пламени от жидкости, падающей в устройство самотушения. Нижний слой сеток 4 обеспечивает подавление процесса горения жидкости в емкости, находящейся под этим слоем, т.е. отсекает поступление воздуха к пламени.
Устройство работает следующим образом.
При пожаре горящая жидкость попадает в блок вертикальных каналов 2. Достигая пламяотсекающего слоя, образованного верхним 3 и нижним 4 слоями металлических сеток, горение жидкости прекращается и она поступает в емкость 1, причем нижний 4 слой металлических сеток предотвращает доступ кислорода воздуха к поверхности жидкости.
График зависимости n(a) позволяет подобрать параметры металлических сеток, при которых обеспечивается надежное отсекание пламени от жидкости, падающей в устройство самотушения. Здесь n – минимальное число слоев сеток, а – размер одной квадратной ячейки в свету. Область I характеризует параметры сеток, при которых проскок пламени отсутствует, область II – это область значений параметров, при которых проскок пламени будет иметь место. Определив по графику число слоев сеток в зависимости от а, следует при изготовлении пламяотсекающего слоя это число удвоить для тех сеток, которые прилегают к нижней части вертикальных каналов.
Зависимость n(a), представленная на фиг.2, получена при использовании следующих легковоспламеняющихся и горючих жидкостей:
– изопропиловый спирт;
– керосин;
– дизельное топливо;
– трансформаторное масло.
На Фиг.3 приведены данные, характеризующие свойство сеток подавлять процесс горения жидкости, находящейся в емкости под этим слоем, т.е. отсекать поступление атмосферного воздуха к пламени, реализуя тем самым процесс объемного тушения. Обладая низкой теплопроводностью и малой тепловой инерционностью, даже в условиях длительного воздействия пламени горящей струи, сетки максимально локализуют зону горения, а также исключают доступ пламени к поверхности жидкости.
Плоский газовый слой, образованный верхним 3 и нижним 4 слоями сеток, является необходимым элементом устройства, подавляющим процесс горения жидкости. Этот слой является эффективным тепловым сопротивлением, предотвращающим нагревание парогазовой среды, находящейся над поверхностью жидкости, поскольку при h 10 мм в слое осуществляется процесс теплообмена, близкий кондуктивному (В.П.Исаченко, В.А.Осипова, А.С.Сукомел. Теплопередача. – М. – Л., Энергия, 1965). При указанной величине h в газовом слое процесс горения невозможен даже при небольшом размере единичного очага горения.
Устройство для самотушения горящих жидкостей имеет несколько вариантов применения.
1. Металлическая открытая емкость с установленным в ней устройством может размещаться в приямке для отекания по полам горящей при аварийном разливе жидкости. В данном случае емкость рассчитывается на прием всей жидкости, находящейся в том или ином помещении. При этом ее максимальный уровень должен касаться нижнего среза вертикальных каналов.
2. Устройство самотушения может быть установлено непосредственно в открытых баках и относительно небольших резервуарах под слоем жидкости. В случае ее загорания процесс тушения будет достигнут посредством слива жидкости из нижней части емкости. При прохождении горящего уровня жидкости через устройство будет достигнуто эффективное подавление пламени.
3. Данная конструкция устройства может использоваться для приема вертикально падающих и одновременно горящих потоков жидкости малых и больших расходов. При этом отсекается пламя, а потушенная жидкость может либо оставаться в емкости, либо сливаться в специальную резервную емкость.
4. Конструкция устройства самотушения может быть изготовлена в виде горизонтальных пламягасящих полов, при этом полы должны быть рассчитаны на прием всей жидкости, находящейся в обращении. Высота полов складывается из высоты плоского горизонтально расположенного пламяотсекающего слоя h 10 мм, образованного металлическими сетками, зазором между нижней сеткой и полом помещения, равным 15÷20 мм, и высоты вертикальных каналов, определяемой соотношением (1). Так, при (dЭКВ=20 мм, H=60 мм общая высота полов будет составлять ~100 мм.
Устройство самотушения можно составлять из фрагментов одинакового размера, например, если открытая поверхность емкости имеет форму квадрата и равна 1,0 м2 и высота ее равна 1,0 м, то устройство самотушения на этой поверхности может быть составлено из 9 фрагментов размером 0,33×0,33 м, разделенных вертикальными металлическими сетками высотой 1,0 м с проемами в нижней части для перетекания жидкости. Это упрощает технологию изготовления устройства, а также сборочные работы и не снижает эффективность тушения.
Конструкция устройства для самотушения горящих жидкостей позволила существенно повысить эффективность тушения, поскольку при имитациях аварийного пролива практически полностью отсутствовало остаточное горение на поверхностях ячеистой структуры, т.е. процесс подавления пламени осуществлялся в момент прекращения пролива. При этом конструкция устройства существенно снизила металлоемкость всей системы, особенно для емкостей больших размеров. Так, например, для емкости высотой ~1000 мм металлоемкость может быть уменьшена в 10 раз по сравнению с прототипом. Кроме того, расширилось число вариантов, в которых может быть применено устройство для самотушения горящих жидкостей.
Формула изобретения
Устройство для самотушения горящих жидкостей, содержащее емкость с размещенным в ней по всему поперечному сечению горизонтальным слоем из осесимметричных вертикальных труб, образующих ячеистую структуру, отличающееся тем, что на нижней поверхности ячеистой структуры установлен пламяотсекающий элемент, состоящий из металлических сеток, образующих плоский, горизонтально расположенный теплоизолирующий газовый слой, имеющий высоту h 10 мм и плотно прилегающий к нижней части ячеистой структуры.
РИСУНКИ
|
|