|
|
(21), (22) Заявка: 2004113403/12, 05.05.2004
(24) Дата начала отсчета срока действия патента:
05.05.2004
(45) Опубликовано: 27.05.2005
(56) Список документов, цитированных в отчете о поиске:
US 4583617 А, 22.04.1986. RU 2114759 C1, 10.07.1998. RU 2224692 С2, 27.04.2004. US 3228044 А, 27.01.1964.
Адрес для переписки:
129226, Москва, ул. Докукина, 5, корп.1, кв.18, И.А. Майсову
|
(72) Автор(ы):
Майсов И.А. (RU)
(73) Патентообладатель(и):
Майсов Иван Александрович (RU)
|
(54) УСТРОЙСТВО ДЛЯ СПАСЕНИЯ ЛЮДЕЙ, ТЕРПЯЩИХ БЕДСТВИЕ
(57) Реферат:
Предложенное устройство относится к спасательной технике. Включает сетчатую корзину, подвешиваемую к летательному аппарату, при этом корзина имеет два полых ободочных кольца. Верхнее кольцо имеет кольцевой поручень, а нижнее кольцо имеет крестовину и дно из металлической сетки. Верхнее кольцо выполнено из дюраля, при этом его внутренний объем обеспечивает плавучесть устройства. Нижнее кольцо выполнено из нержавеющей стали. На перекрестье крестовины закреплены две проушины с отверстиями для вырывной чеки. Верхнее и нижнее кольца через шарниры соединены стойками из пластин из пружинной стали, причем стойки соединены между собой тросиками-перемычками. Нижнее кольцо соединено тросами с переходным соединительным элементом для подвески пластины с отверстием для вырывной чеки, для подвески герметизированного контейнера с устройством для подачи световых и звуковых прерывистых сигналов и подвески троса с петлей для навески устройства на крюк каната лебедки летательного аппарата. Данное техническое решение позволяет существенно ускорить доставку спасательных средств терпящим бедствие. 1 з.п. ф-лы, 6 ил.

Изобретение относится к спасательной технике.
Известно спасательное устройство, подвешиваемое к вертолету, содержащее трос, на котором закреплены устройства, выполненные в виде отрезков каната меньшего диаметра, чем сам трос (SU 556817 А1, 25.06.1977).
Недостатком данного устройства является то, что при его использовании отрезки канатов могут наносить повреждения людям.
Наиболее близким к предложенному устройству является устройство для спасения людей, терпящих бедствие, включающее сетчатую корзину, подвешиваемую к летательному аппарату, при этом корзина имеет два полых ободочных кольца, причем верхнее кольцо имеет кольцевой поручень, а нижнее кольцо имеет крестовину и дно из металлической сетки (US 4583617 А, 22.04.1986).
Недостатком данного устройства является то, что оно плохо складывается, не имеет световой и звуковой сигнализации.
Задача, на решение которой направлено данное изобретение, заключается в создании спасательного устройства, которое может использоваться и на воде, и на суше (в городе или в лесу), которое может складываться, что позволяет поместить ее под стоящий на грунте вертолет с низким клиренсом.
Технический результат, достигаемый при реализации изобретения, заключается в ускорении доставки спасательных средств терпящим бедствие с летательного аппарата.
Указанный технический результат достигается тем, что в устройстве для спасения людей, терпящих бедствие, включающем сетчатую корзину, подвешиваемую к летательному аппарату, при этом корзина имеет два полых ободочных кольца, причем верхнее кольцо имеет кольцевой поручень, а нижнее кольцо имеет крестовину и дно из металлической сетки, согласно изобретению верхнее кольцо выполнено из дюраля, при этом его внутренний объем обеспечивает плавучесть устройства, нижнее кольцо выполнено из нержавеющей стали, при этом на перекрестье крестовины закреплены две проушины с отверстиями для вырывной чеки, при этом верхнее и нижнее кольца через шарниры соединены стойками из пластин, выполненных из пружинной стали, причем стойки соединены между собой тросиками-перемычками, при этом нижнее кольцо соединено тросами с переходным соединительным элементом для подвески пластины с отверстием для вырывной чеки, для подвески герметизированного контейнера с устройством для подачи световых и звуковых прерывистых сигналов и подвески троса с петлей для навески устройства на крюк каната лебедки летательного аппарата.
Верхнее и нижнее ободочные кольца могут иметь проушины для стягивания колец шнурами, а на верхнем кольце устройства закреплены рукояти для переноски устройства.
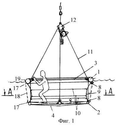
Сущность изобретения поясняется чертежами, где на фиг.1 изображено устройство в разрезе, опущенное на поверхность воды; на фиг.2 – разрез А-А на фиг.1; на фиг.3 – устройство, стянутое шнурами, подготовленное для навески на вертолет; на фиг.4 – устройство в сложенном виде, подвешенное к вертолету, и ниже – устройство в развернутом виде перед его спускам к терпящим бедствие; на фиг.5 – соединительный элемент для подвески устройства к лебедке вертолета; на фиг.6 – часть днища корзины с устройством для выдергивания соединительной чеки.
Устройство для спасения людей, терпящих бедствие, включает корзину, подвешиваемую к летательному аппарату, например вертолету, два полых ободочных кольца 1 и 2. Верхнее кольцо 1, выполненное, например, из дюраля имеет кольцевой поручень 3, закрепленный на кронштейнах. Внутренний объем кольца обеспечивает плавучесть устройства. Нижнее кольцо 2, воспринимающее нагрузку, выполненное, например, из нержавеющей стали, имеет крестовину 4 и дно 5 из металлической сетки. На перекрестье крестовины закреплены две проушины 6 с отверстиями для вырывной чеки 7, при этом верхнее и нижнее кольца через шарниры 8 соединены пластинчатыми стойками 9, выполненными, например, из пружинной стали. Стойки соединены между собой тросиковыми перемычками 10. Нижнее кольцо 2 соединено тросами 11 с переходным соединительным элементом 12 для подвески пластины 12 с отверстием для вырывной чеки 7, для подвески герметизированного контейнера 14 с устройствами для навески устройства на крюк каната лебедки летательного аппарата. Верхнее и нижнее ободочные кольца 1, 2 имеют проушины 17 для стягивания колец вспомогательными шнурами 18 (показаны пунктиром), при этом кольцо имеет рукоятки 19 для переноски устройства. Устройство имеет вспомогательный ролик 20 для выдергивания чеки 7, а на поверхности герметизированного контейнера 14 расположен герметизированный выключатель 21 и лампа 22 с защитным колпаком 23. Свет лампы хорошо просматривается сверху и снизу.
В нерабочем состоянии устройство хранится в постоянной готовности в легко доступном месте летной части. Оно стянуто шнурами 18 так, что их узлы можно легко развязать, дернув за длинный выступающий конец шнура.
Устройство работает следующим образом.
При тревоге два или три человека берут устройство за рукоятки 19 и несут его к вертолету, находящемуся в полной готовности. Кладут устройство под вертолет и навешивают петлю 16 на крюк лебедки вертолета и туго подтягивают к днищу вертолета. Затем развязывают узлы на шнурах 18 и вытягивают шнуры из проушин 17. После этого вертолет может подниматься в воздух и лететь к месту чрезвычайной ситуации. Над этим местом шнуром, протянутым через ролик 20, выдергивается чека 7, при этом корзина повисает на четырех тросах 11, и ее лебедкой можно опустить, например, на плоскую крышу горящего высотного здания, где скопились люди. Заполненное людьми устройство опускают на ближайшую свободную площадку. Освободившееся устройство может быть снова поднято на крышу за оставшимися людьми.
В соответствии с типом имеющихся в отряде летательных средств и грузоподъемности последних корзина может иметь различные размеры и вместительность. При использовании в качестве летательного аппарата дирижабля узлы шнуров 18 развязываются на земле, а петлю 15 захватывают крюком, спускаемым с дирижабля.
Формула изобретения
1. Устройство для спасения людей, терпящих бедствие, включающее сетчатую корзину, подвешиваемую к летательному аппарату, при этом корзина имеет два полых ободочных кольца, причем верхнее кольцо имеет кольцевой поручень, а нижнее кольцо имеет крестовину и дно из металлической сетки, отличающееся тем, что верхнее кольцо выполнено из дюраля, при этом его внутренний объем обеспечивает плавучесть устройства, нижнее кольцо выполнено из нержавеющей стали, на перекрестье крестовины закреплены две проушины с отверстиями для вырывной чеки, верхнее и нижнее кольца через шарниры соединены стойками из пластин из пружинной стали, причем стойки соединены между собой тросиками-перемычками, нижнее кольцо соединено тросами с переходным соединительным элементом для подвески пластины с отверстием для вырывной чеки, для подвески герметизированного контейнера с устройством для подачи световых и звуковых прерывистых сигналов и подвески троса с петлей для навески устройства на крюк каната лебедки летательного аппарата.
2. Устройство по п.1, отличающееся тем, что верхнее и нижнее ободочные кольца имеют проушины для стягивания колец шнурами, а на верхнем кольце устройства закреплены рукояти для переноски устройства.
РИСУНКИ
|
|