|
|
(21), (22) Заявка: 2003120417/14, 03.07.2003
(24) Дата начала отсчета срока действия патента:
03.07.2003
(43) Дата публикации заявки: 27.12.2004
(45) Опубликовано: 27.05.2005
(56) Список документов, цитированных в отчете о поиске:
SU 288861 А, 25.09.1969. WO 93/00062 А1, 07.01.1993. US 3454000 А, 08.07.1969. RU 2097012 С1, 27.11.1987. RU 2108084 С1, 10.04.1998.
Адрес для переписки:
170040, г.Тверь, Мигаловская наб., 11, кв.81, С.В. Буданову
|
(72) Автор(ы):
Буданов С.В. (RU)
(73) Патентообладатель(и):
Буданов Станислав Васильевич (RU)
|
(54) АППАРАТ ИСКУССТВЕННОГО ДЫХАНИЯ
(57) Реферат:
Изобретение относится к медицине, в частности к аппаратам искусственного дыхания. Аппарат включает опору, исполнительный механизм и привод. Опора выполнена в виде рамы с жесткими колесами, четырьмя расположенными попарно противоположно и симметрично относительно продольной оси приливами с отверстием, выдвижным ложем на твердых катках с подголовником и стопором. Исполнительный механизм смонтирован на верхней части рамы и включает четыре вставленных гладким участком в отверстие приливов направляющих, четыре упругих элемента, надетых на гладкий участок направляющих, грудную манжету, размещенную между направляющими, кронштейн с проушинами, помещенный втулками на резьбовой участок направляющих, рабочий орган, размещенный над грудной манжетой, выполненный из диска с осью, концами заделанной в подшипники проушин упомянутого кронштейна, средства для воздействия на грудную манжету, закрепленного на диске с возможностью перемещения относительно упомянутой оси. Грудная манжета состоит из эластичного листа, изготовленного по форме прямоугольника, со втулками на углах, твердой планки, прикрепленной на середине листа, двух шнуров, прикрепленных одним концом к противоположным боковым сторонам. Привод состоит из электродвигателя, редуктора с коробкой скоростей, муфты, цепной передачи с натяжным устройством. Упругие элементы выполнены в виде витых цилиндрических или конических пружин, причем на середине средства для воздействия на грудную манжету выполнен П-образный паз и на боковых поверхностях прорезана щель,имеющая длину, определяемую выражением Л=2Д, где Л – длина щели; Д – диаметр диска, а ширина щелей позволяет обеспечить перемещение в них оси и винтов. Изобретение позволяет упростить кинематическую схему аппарата. 11 ил.

Изобретение относится к области медицины, в частности к аппаратам искусственного дыхания.
Известен аппарат искусственного дыхания, состоящий из баллона сообщающегося с редуктором, а через него с камерой, в которую заключены два сопла, направленных сужением навстречу один другому, одно их которых соединено с лицевой частью, а в расширенную часть другого сопла вставлен нормально открытый клапан, свободный конец которого связан с мембранным устройством, канал обратной связи которого сообщается с камерой сопел (а.с. СССР №3255012, кл. А 61 Н 31/02, 1972 г.).
Недостатком указанного аппарата искусственного дыхания является большая трудоемкость изготовления из-за сложного конструктивного оформления. Кроме того, к недостатку относится использование кислородно-воздушной смеси для нагнетания в легкие пациента, что ограничивает его использование в нестационарных условиях.
Известен аппарат искусственного дыхания, содержащий неподвижную опору, жестко связанную с местом монтажа, исполнительный механизм в виде вариатора с приводом, на суппорте которого смонтированы электродвигатель и редуктор с коробкой скоростей, на выходном валу которого жестко закреплен кривошип, имеющий на конце палец с камнем, которые помещены в паз кулисы, ось которой расположена относительно вала редуктора с эксцентриситетом, на другом конце которой (кулисы) в Т-образный паз помещен другой палец с камнем, имеющим большую и малую ступени, на последнюю из которых насажен шатун, шарнирно соединенный с крышкой меха, а свободный конец упомянутого пальца шарнирно соединен с концом двуплечего рычага, ось которого, соосная кулисе, закреплена в приливе втулки, свободно вращающейся в опоре, жестко связанной с площадкой монтажа, в которой на скользящей шпонке с возможностью перемещения установлен валик, один конец которого шарнирно присоединен к другому рычагу упомянутого двуплечего рычага, а на противоположном конце этого валика выполнена кольцевая проточка в которую входят пальцы другого рычага, установленного на неподвижную ось, концами заделанную в другой прилив упомянутой вращающейся втулки, другой конец которого шарнирно соединен с гайкой, помещенный на винт, установленный в упомянутый второй прилив указанной вращающейся втулки (а.с. СССР №231721 кл. А 61 Н 31/00, 1974 г.).
К недостатку прототипа относится сложное конструктивное исполнение кинематической схемы исполнительного механизма.
Задачей изобретения является создание аппарата искусственного дыхания с упрощенной кинетической схемой.
Поставленная цель достигается тем, что в аппарате искусственного дыхания, включающем опору, исполнительный механизм и привод, опора выполнена в виде рамы с жесткими колесами, четырьмя расположенными попарно противоположно и симметрично относительно продольной оси приливами с отверстием, выдвижной ложей на твердых катках с подголовником и стопором, а исполнительный механизм смонтирован на верхней части рамы и выполнен из четырех вставленных гладким участком в отверстие приливов направляющих, четыре упругих элемента, надетых на гладкий участок направляющих, грудную манжету, размещенную между направляющими, кронштейн с проушинами, помещенный втулками на резьбовой участок направляющих, рабочий орган, размещенный над грудной манжетой, выполненный из диска с осью, концами заделанной в подшипники проушин упомянутого кронштейна, средства для воздействия на грудную манжету, закрепленного на диске с возможностью перемещения относительно упомянутой оси, при этом грудная манжета состоит из эластичного листа, изготовленного по форме прямоугольника, со втулками на углах, твердой планки, прикрепленной на середине листа, двух шнуров, прикрепленных одним концом к противоположным бокам, привод состоит из электродвигателя, редуктора с коробкой скоростей, муфты, цепной передачи с натяжным устройством, а упругие элементы выполнены в виде витых цилиндрических или конических пружин, причем на середине индентора выполнен П-образный паз, а на боковых поверхностях прорезана продолговатая щель, имеющая длину, определяемую выражением
Л=2·Д,
где Л – длина щели;
Д – диаметр диска,
а ширина щелей выполнена с возможностью перемещения в них оси и винтов.
Предлагаемый аппарат искусственного дыхания поясняется чертежами
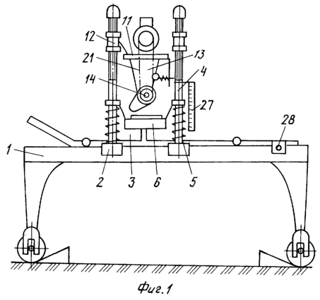
где на фиг.1 – аппарат искусственного дыхания, вид сбоку;
на фиг.2 – то же, вид с переднего торца;
на фиг.3 изображен рабочий орган, вид спереди;
на фиг.4 – то же, разрез по А-А на фиг.3;
на фиг.5 изображен кронштейн, вид сверху;
на фиг.6 показана ось с диском;
на фиг.7 – то же, вид по Б на фиг.6;
на фиг.8 показана рама: а – вид сверху, б – вид с переднего торца;
на фиг.9 изображен индентор, вид сбоку;
на фиг.10 – то же, разрез по В-В на фиг.9;
на фиг.11 изображена грудная манжета, вид сверху.
Аппарат искусственного дыхания включает опору, выполненную в виде рамы 1 с жесткими колесами. С внешней стороны рамы 1 на боковых поверхностях выполнены четыре расположенные попарно противоположно и симметрично относительно продольной оси прилива 2 с отверстием. На верхней части рамы 1 размещено жесткое ложе на твердых катках с подголовником и стопором. На верхней части рамы 1 смонтирован исполнительный механизм. Он состоит из четырех вставленных гладким участком в отверстие приливов направляющих 4, четырех упругих элементов, например витых цилиндрических или конических пружин, надетых на гладкий участок каждой направляющей 4, грудной манжеты 6, размещенной между направляющими 4 состоящей из эластичного листа 7, изготовленного по форме прямоугольника, например, из резины средней твердости, со втулками 8 на углах, твердой планки 9, выполненной из твердого материала, например из нержавеющего металла, прикрепленной на середине листа 7, двух шнуров 10, прикрепленных одним концом к противоположным боковым сторонам, кронштейна 11 с проушинами, втулками 12, помещенного втулками 12 на резьбовой участок направляющих 4, рабочего органа, размещенного над грудной манжетой 6, выполненного из оси 14, концами заделанной в подшипники проушин кронштейна 11, с диском 15 с двумя диаметрально расположенными отверстиями, средства 16 для воздействия на грудную манжету, закрепленного на диске 15 с возможностью перемещения относительно оси 14, имеющего П-образный паз 17, выполненный на середине и на на боковых поверхностях по одной прорезанной продолговатой щели “а”, имеющей длину, определяемую выражением Л=2·Д, где Л – длина щели, Д – диаметр диска 15. Привод рабочего органа состоит из электродвигателя 18, редуктора 19 с коробкой скоростей, муфты 20, которая связывает между собой электродвигатель и редуктор, закрепленных на кронштейне 11, цепи 21, охватывающей звездочку 22, насаженную на выходной вал редуктора 19, звездочку 23, насаженную на конец оси 14, натяжного устройства 24, связанного с кронштейном 11, роликом контактирующего с цепью 21, двух винтов 25, соединяющих средство 16 для воздействия на манжету 6 с диском 15. Гайки 26 фиксируют положение направляющих 4 в отверстиях приливов 2 и втулок 12 кронштейна 11 на этих направляющих. Шкала 27, проградуированная в миллиметрах, прикреплена к одной из направляющих 4. Ширина щелей “а” позволяет обеспечить перемещение в них оси 14 и винтов 25.
Аппарат искусственного дыхания работает следующим образом.
Ложе 3 с пациентом “г” заводят на раму 1 так, чтобы грудь была расположена под планкой 9 листа 7 грудной манжеты 6. Устанавливают требуемый эксцентриситет средства 16 для воздействия на грудную манжету 6 относительно оси 14. Для этого ослабляют винты 25 и перемещают средство 16 в требуемом направлении на необходимую величину эксцентриситета относительно оси 14. Затягивая гайки винтов 25, средство 16 плотно прижимают к диску 15. Величину эксцентриситета определяют экспериментально в зависимости от упругости грудной клетки пациента и возможного его дыхательного пути (вдох – выдох). Прикрепляют грудную манжету 6 на пациента “г” путем охвата тела с последующим соединением концов шнура 10. Положение рабочего органа относительно груди пациента “г”, при необходимости, можно установить путем поступательного перемещения кронштейна 11. Для этого ослабляют затяжку верхних (нижних) гаек 26 и перемещают кронштейн 11 в требуемом направлении (вверх или вниз) на требуемую величину. При этом втулки 12 передвигаются со скольжением по резьбовому участку направляющих 4. После чего положение кронштейна 11 фиксируют затягиванием гаек 26. Включением электроцепи задают вращение якорю электродвигателя 18, муфте 20, редуктору 19, звездочке 22, цепи 21, звездочке 23 и через ось 14 и диск 15 средству 16. При повороте средство 16 воздействует на планку 9 листа 7 манжеты 6, которая опускается и давит на грудную клетку пациента “г”. При этом благодаря телескопической связи втулки 8 скользят по гладкому участку направляющих 4 без поперечных колебаний, сжимают упругие элементы 5. Благодаря чему грудная клетка пациента “г” деформируется (сжимается), а значит работают на сжатие и легкие пациента “г”. Происходит выдох отработанного воздуха из организма. При дальнейшем повороте средство 16 сходит с планки 9 (с мертвой точки), упругие элементы 5 разжимаются и возвращают грудную манжету 6 в исходное положение, т.е. грудная манжета перемещается вверх. Освобожденная от нагрузки грудная клетка распрямляется. При этом происходит расширение легких, т.е. имеет место вдох свежего воздуха. Так происходит до восстановления дыхательного естественного процесса. Дыхательный объем определяется величиной сжатия грудной клетки. Меняя расстояние “е” передвижением средства 16 относительно оси 14 можно регулировать дыхательный объем от 0 до требуемого предела. При этом частота дыхания не изменится, так как время двойного хода грудной манжеты 6 (сжатие – расширение легких пациента) определяется временем оборота диска 15 оси 14, т.е. средства 16. Регулировка дыхательного объема производится путем перемещения по винтам 25 продолговатых щелей “а” средства 16 относительно оси 14.
Частота дыхания определяется количеством двойных ходов грудной манжеты 6 в минуту, которое в свою очередь определяется частотой вращения диска 15 оси 14 в минуту. Регулировка частоты вращения (а значит и частоты дыхания) производится коробкой скоростей редуктора 19 или заменой одной из звездочек 23 или 22 на большей размер диаметра или меньший размер его. По шкале 27 определяют глубину вдоха и выдоха.
Выполнение опорной рамы на жестких колесах, как и плотного ложа на твердых катках с возможностью выдвижения, улучшает условия искусственного дыхания пациенту и его ввода на участок восстановления дыхания, а стопор 28 надежно фиксирует ложе на раме.
Выполнение грудной манжеты из материала средней твердости обеспечивает надежную фиксацию пациента на ложе, а твердая планка улучшает самочувствие пациента. Выполнение рабочего органа в виде средства для воздействия на грудную манжету и оси с диском упрощает конструкцию, а значит снижает себестоимость аппарата.
Выполнением П-образного паза уменьшает массу средства для воздействия на грудную манжету, а боковые щели, имеющие длину Л=2·Д, обеспечивают регулирование глубины дыхания пациента в широких пределах.
Данное устройство может быть использовано для восстановления дыхания пациента в стационарных и нестационарных условиях. Имеет несложную конструкцию и может быть изготовлено в условиях небольших мастерских. Понижает трудоемкость обслуживания и ремонта.
Формула изобретения
Аппарат искусственного дыхания, включающий опору, исполнительный механизм и привод, отличающийся тем, что опора выполнена в виде рамы с жесткими колесами, четырьмя расположенными попарно противоположно и симметрично относительно продольной оси приливами с отверстием, выдвижным ложем на твердых катках с подголовником и стопором, а исполнительный механизм смонтирован на верхней части рамы и включает четыре вставленных гладким участком в отверстие приливов направляющих, четыре упругих элемента, надетых на гладкий участок направляющих, грудную манжету, размещенную между направляющими, кронштейн с проушинами, помещенный втулками на резьбовой участок направляющих, рабочий орган, размещенный над грудной манжетой, выполненный из диска с осью, концами заделанной в подшипники проушин упомянутого кронштейна, средства для воздействия на грудную манжету, закрепленного на диске с возможностью перемещения относительно упомянутой оси, при этом грудная манжета состоит из эластичного листа, изготовленного по форме прямоугольника, со втулками на углах, твердой планки, прикрепленной на середине листа, двух шнуров, прикрепленных одним концом к противоположным боковым сторонам, привод состоит из электродвигателя, редуктора с коробкой скоростей, муфты, цепной передачи с натяжным устройством, а упругие элементы выполнены в виде витых цилиндрических или конических пружин, причем на середине средства для воздействия на грудную манжету выполнен П-образный паз и на боковых поверхностях прорезана щель, имеющая длину, определяемую выражением
Л=2 Д,
где Л – длина щели;
Д – диаметр диска,
а ширина щелей позволяет обеспечить перемещение в них оси и винтов.
РИСУНКИ
MM4A – Досрочное прекращение действия патента СССР или патента Российской Федерации на изобретение из-за неуплаты в установленный срок пошлины за поддержание патента в силе
Дата прекращения действия патента: 04.07.2008
Извещение опубликовано: 20.06.2010 БИ: 17/2010
|
|