|
|
(21), (22) Заявка: 2003123008/14, 21.07.2003
(24) Дата начала отсчета срока действия патента:
21.07.2003
(45) Опубликовано: 27.05.2005
(56) Список документов, цитированных в отчете о поиске:
SU 1776397 А1, 23.11.1992. SU 1232252 А1, 23.05.1986. SU 973123 А, 17.11.1982. US 3886606 А, 03.06.1975.
Адрес для переписки:
192242, Санкт-Петербург, ул. Будапештская, 3/5, ГНИИ скорой помощи, Патентно-информационный отдел
|
(72) Автор(ы):
Котлярский А.Ф. (RU), Лапшин В.Н. (RU), Шах Б.Н. (RU), Карташкин В.Л. (RU), Полозов Ю.П. (RU), Хлызов В.А. (RU), Страхов И.В. (RU)
(73) Патентообладатель(и):
Санкт-Петербургский государственный научно-исследовательский институт скорой помощи им. И.И. Джанелидзе (RU)
|
(54) УСТРОЙСТВО ДЛЯ ПРОВЕДЕНИЯ ПРОТИВОШОКОВЫХ МЕРОПРИЯТИЙ
(57) Реферат:
Изобретение относится к анестезиологии-реаниматологии, хирургии, нейрохирургии, травматологии и может быть использовано, в частности, для оказания экстренной помощи пострадавшим с шокогенной травмой. Устройство для проведения противошоковых мероприятий выполнено из полимерных материалов и содержит рукоятки для переноса, опоры, рентгенопрозрачное покрытие, элементы для крепления рук, которые установлены с возможностью поворота, фиксаторы и плоскую плиту с боковыми отверстиями вырезами для доступа к пациенту. Плита установлена на опорах. Опоры размещены по периметру, имеют цилиндрическую форму и выполнены для установки на операционный стол или стол-каталку. Фиксаторы состоят из узла поворота в виде подшипника скольжения, стопора и упругого элемента для приведения в движение стопора. В результате достигнута оптимизация условий для проведения лечебно-диагностических мероприятий у пострадавших с шокогенной травмой. 1 з.п. ф-лы, 2 ил.

Предлагаемое изобретение относится к области анестезиологии-реаниматологии, хирургии, нейрохирургии, травматологии, в частности, к оказанию экстренной помощи пострадавшим с шокогенной травмой.
Известно множество различных модификаций операционных столов, в частности, стол общехирургический ОМ-03М, состоящий из основания, в котором находятся механизмы управления столом, шестисекционной панели, пульта дистанционного управления и стойки со съемными приспособлениями (Томский приборный завод. Паспорт Ц6312.00.000ПС).
Недостатками данного стола при оказании помощи пострадавшим с шокогенной травмой являются: отсутствие надежной иммобилизации пациента, рентгеннепрозрачность изделия, невозможность обойтись без неоднократных перемещений пациента при проведении лечебно-диагностических мероприятий, что резко увеличивает опасность дополнительных повреждений скелета, внутренних органов, сосудисто-нервных пучков, повышает шокогенность уже имеющейся травмы.
Прототипом к заявленному нами является устройство, представляющее собой дистракционные носилки, состоящие из рамы, телескопических труб, ребер жесткости, рукояток, фиксаторов, подстопников, поворотного механизма, откидной тазовой опоры, откидных предплечных ложементов, рентгенопрозрачного пластикового покрытия, подмышечных ремней и петли Глиссона (пат. РФ №1776397, А1, 23.11.1992).
Недостатками устройства, выбранного в качестве прототипа, является то, что оно предназначено для транспортировки пациентов, а не для проведения лечебно-диагностических мероприятий.
Другим недостатком данных носилок являются трудности проведения рентгенологического исследования из-за обилия вспомогательных приспособлений для иммобилизации (предплечные ложементы, откидная тазовая опора, подмышечные ремни и т.д.).
По этим же причинам возникают проблемы при проведении анестезиологических мероприятий в области плечевого пояса и шеи.
Еще одним недостатком прототипа является трудность доступа к торакоабдоминальной зоне для проведения оперативных вмешательств.
Задачей предлагаемого изобретения является оптимизация условий для проведения лечебно-диагностических мероприятий у пострадавших с шокогенной травмой.
Согласно изобретению, поставленная задача решается тем, что устройство для проведения противошоковых мероприятий, содержащее рукоятки для переноса, опоры, рентгенопрозрачное покрытие и элементы для крепления рук, установленные с возможностью поворота и имеющие фиксаторы, выполнено из полимерных материалов и дополнительно содержит плоскую плиту с боковыми вырезами для доступа к пациенту, при этом плита установлена на размещенных по периметру опорах, имеющих цилиндрическую форму и выполненных для установки на операционный стол или стол-каталку, а фиксаторы состоят из узла поворота в виде подшипника скольжения, стопора и упругого элемента для приведения в движение стопора.
Другим отличием данного изобретения является то, что боковые вырезы для доступа к пациенту имеют прямоугольную форму, а стопор выполнен в виде цилиндрического пальца.
Выполнение устройства из полимерных материалов позволяет обеспечить незначительный вес изделия (10-12 кг) и высокую рентгенопрозрачность, а также устойчивость при обработке дезинфектантами, гипоаллергенность, отсутствие впитываемости биологических жидкостей.
Выполнение опор цилиндрическими и их установка по периметру позволяют обеспечить необходимую продольно-поперечную прочность устройства и удобный доступ для выполнения рентгеновских снимков.
Элементы для крепления рук позволяют надежно удерживать верхние конечности в заданном положении с помощью фиксаторов в виде подшипника скольжения и стопорного пальца.
Вырезы в боковых отделах устройства обеспечивают удобный доступ к телу пациента при манипуляциях в области груди и живота.
По данным научно-технической и патентной литературы применение вышеуказанных конструктивных элементов для лечения пострадавших с шокогенной травмой неизвестно.
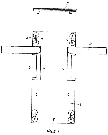
Устройство поясняется чертежами (фиг.1 и фиг.2) и применяется следующим образом: при поступлении в противошоковое отделение пострадавший с носилок бригады скорой помощи перекладывается на плиту 1 с рентгенопрозрачным покрытием 2. Устройство переносится персоналом посредством рукояток 3 и устанавливается с помощью опор 4 на операционный стол или стол-каталку (лафет). Верхние конечности пострадавшего фиксируются на элементах для крепления рук 5 с помощью специальных манжет на “липучках”. Такими же манжетами нижние конечности могут фиксироваться к нижним рукояткам. Элементы для крепления рук, при необходимости, поворачиваются на нужную величину с помощью подшипника скольжения 7 вокруг оси элемента для крепления рук 8 и фиксируются в данном положении с помощью стопора в виде цилиндрического пальца 9, приводящегося в движение упругим элементом 10. При проведении оперативного вмешательства на грудной клетке и/или в брюшной полости используются вырезы 6 по боковым поверхностям устройства для обеспечения оптимального доступа к зоне операции.
Пример. Больная Смирнова В.В., 18 лет, поступила в противошоковое отделение НИИ скорой помощи с диагнозом: Автотравма. Открытая черепно-мозговая травма. Ушиб головного мозга тяжелой степени. Ушиб шейного отдела позвоночника. Закрытая травма груди. Правосторонний пневмоторакс. Закрытый перелом правых лонной и седалищной костей. Рвано-ушибленная рана левого бедра. Открытый перелом обеих костей левой голени. Травматический шок 2-3 степени. Прогностическое время продолжительности шока – 11 часов 12 минут. Расположение пострадавшей на устройстве для противошоковых мероприятий позволило провести первичную иммобилизацию костных повреждений, быстро выполнить диагностические мероприятия. Фиксация верхних конечностей в заданном положении позволила создать необходимую укладку для рентгенологического исследования шейного отдела позвоночника, облегчила катетеризацию центральной вены. Оптимальное положение больной и вырезы по боковым поверхностям устройства позволили одновременно провести дренирование правой плевральной полости и хирургическую обработку раны левого бедра. Адекватное обезболивание, инфузионно-трансфузионная и респираторная терапия привели к стабилизации жизненно-важных функций пострадавшей через 5 часов 35 минут от момента поступления, что позволило провести остеосинтез костей левой голени. В стабильном состоянии больная была переведена в отделение хирургической реанимации.
Предлагаемое устройство обладает следующими преимуществами:
– обеспечивает хорошее качество рентгенограмм – крайне важный фактор для безошибочной диагностики характера повреждений у пострадавших, находящихся в критическом состоянии;
– позволяет обеспечить оптимальную укладку пациента при проведении лечебных мероприятий (катетеризация центральных вен, выполнение пункций, блокад и т.д.), рентгенологического исследования (шейный отдел позвоночника и т.д.);
– облегчает работу хирургов, обеспечивая удобный доступ к туловищу пациента при проведении торакальных и абдоминальных операций;
– обеспечивает условия для выполнения рентгенографии любой анатомической области пациента;
– позволяет использовать современные высокоэффективные дезинфицирующие средства для обработки устройства;
– покрытие профилактирует образование потертостей кожи, пролежней при длительном вынужденном положении тела и в то же время обладает большой износостойкостью;
– позволяет минимизировать физическую нагрузку на медицинский персонал.
Таким образом, существенно уменьшается шокогенность травмы, облегчается состояние пострадавшего и обеспечиваются значительно более удобные условия для работы медицинского персонала, что, в конечном счете, положительно влияет на исход.
Формула изобретения
1. Устройство для проведения противошоковых мероприятий, содержащее рукоятки для переноса, опоры, рентгенопрозрачное покрытие и элементы для крепления рук, установленные с возможностью поворота и имеющие фиксаторы, отличающееся тем, что выполнено из полимерных материалов и дополнительно содержит плоскую плиту с боковыми вырезами для доступа к пациенту, при этом плита установлена на размещенных по периметру опорах, имеющих цилиндрическую форму и выполненных для установки на операционный стол или стол-каталку, а фиксаторы состоят из узла поворота в виде подшипника скольжения, стопора и упругого элемента для приведения в движение стопора.
2. Устройство по п.1, отличающееся тем, что боковые вырезы для доступа к пациенту имеют прямоугольную форму, а стопор выполнен в виде цилиндрического пальца.
РИСУНКИ
MM4A – Досрочное прекращение действия патента СССР или патента Российской Федерации на изобретение из-за неуплаты в установленный срок пошлины за поддержание патента в силе
Дата прекращения действия патента: 22.07.2005
Извещение опубликовано: 20.02.2007 БИ: 05/2007
|
|