|
|
(21), (22) Заявка: 2004104296/14, 13.02.2004
(24) Дата начала отсчета срока действия патента:
13.02.2004
(45) Опубликовано: 27.05.2005
(56) Список документов, цитированных в отчете о поиске:
ХИНМАН Ф. (под ред. АЛЯЕВА Ю.Г. и др.), Оперативная урология, Москва, Изд. дом “ГЭОТАР-МЕД”, 2001, с.1016-1017. SU 1066572 А, 15.01.1984. RU 2173101 С2, 10.09.2001. SU 1454400 A1, 30.01.1984. SU 1119683 A1, 23.10.1984.
Адрес для переписки:
450000, г.Уфа, ул.Ленина, 3, Башгосмедуниверситет, Патентный отдел
|
(72) Автор(ы):
Цырьяк А.Г. (RU), Гумеров А.А. (RU), Алянгин В.Г. (RU), Еникеев Х.Ю. (RU), Чечко С.М. (RU)
(73) Патентообладатель(и):
Государственное образовательное учреждение высшего профессионального образования Башкирский государственный медицинский университет Министерства здравоохранения Российской Федерации (ГОУ ВПО БГМУ МИНЗДРАВА РОССИИ) (RU)
|
(54) СПОСОБ ДОСТУПА К ПОЧКЕ И ВЕРХНЕМУ ОТДЕЛУ МОЧЕТОЧНИКА ПРИ ВИДЕОРЕТРОПЕРИТОНЕОСКОПИЧЕСКИХ ОПЕРАЦИЯХ У ДЕТЕЙ И УСТРОЙСТВО ДЛЯ РАССЛОЕНИЯ ОКОЛОПОЧЕЧНОЙ КЛЕТЧАТКИ
(57) Реферат:
Группа изобретений относится к детской хирургии. Способ доступа к почке и верхнему отделу мочеточника при видеоретроперитонеоскопических операциях у детей включает послойное вскрытие задней стенки брюшной полости и создание пространства для введения устройства для расслоения забрюшинной клетчатки. Вскрывают почечную фасцию. Пространство для введения создают между почкой и почечной фасцией. По передне-подмышечной линии устанавливают датчик ультразвукового аппарата, затем вводят рабочую часть устройства для расслоения околопочечной клетчатки. Расслоение околопочечной клетчатки производят сначала с помощью манипуляций торцевым отделом устройства, затем баллонной инсуфляцией поочередно по задней и передней поверхностям верхней и нижней трети почки. Вышеуказанные действия и формирование границ рабочего пространства для дальнейшей операции производят под контролем ультразвукового исследования. Устройство для расслоения околопочечной клетчатки содержит баллон и выполнено в виде L-образной металлической трубки с рукояткой, имеющей штуцер. Трубка имеет проводниковую часть и рабочую часть. Торцевой отдел рабочей части загерметизирован и имеет гладкую полусферическую форму. Латексный баллон укреплен на рабочей части путем фиксации его двух противоположных сторон. В рабочей части выполнены отверстия для подачи физиологического раствора в латексный баллон. В результате повышается качество оперативного лечения, уменьшается его травматичность, предотвращаются интраоперационные осложнения. 2 н. и 1 з.п. ф-лы, 2 ил., 1 табл.

Предлагаемая группа изобретений относится к медицине, а именно к детской хирургии.
Наиболее известным и применяемым способом обнажения почки и верхних отделов мочеточника является внебрюшинный по Федорову (Оперативная хирургия с топографической анатомии детского возраста, 1989 г./Под редакцией Ю.Ф.Исакова, Изд. “Медицина”, г.Москва, стр.519).
Данный способ основан на рассечении в косо-поперечном направлении между костовертебральным углом и пупком кожи подкожно-жировой клетчатки, поверхностной фасции, наружной внутренней косой и поперечной мышц и поперечной фасции. Края раны разводят ранорасширителем. Складку брюшины отслаивают тупфером кпереди. Тупым путем расслаивают собственно забрюшинную клетчатку. Вскрывают почечную фасцию. Почку с сосудистой ножкой тупым путем выделяют из окружающей ее околопочечной жировой клетчатки.
Однако использование в хирургической практике стандартных операционных доступов к органам забрюшинного пространства сопровождается нанесением больному ребенку значительной операционной травмы, связанной с пересечением всех мышечных слоев брюшной стенки, что в свою очередь обуславливают выраженность послеоперационного болевого синдрома и связанное с этим ограничение подвижности больного, нарушение вентиляции легочной ткани, приводящее к утяжелению послеоперационного периода. Большие, травмирующие разрезы нередко вызывают образование гематом и нагноение послеоперационных ран, что ведет к формированию грубых рубцов, т.е. к косметическому дефекту (Ретроперитонеоскопия в хирургии органов забрюшинного пространства у детей. Шан-Син В.М. Автореферат диссертации. Кемерово, 2000 г., стр.1-2).
На современном этапе развития науки и техники, наряду с традиционными открытыми доступами к органам забрюшинного пространства, стали альтернативными закрытые – с помощью эндовидеохирургической техники. В настоящее время используют два принципиально отличных малоинвазивных подхода при операциях на органах забрюшинного пространства – лапароскопический и ретроперитонеоскопический. С помощью первого – трансперитонеального – в детской практике успешно производятся такие операции как нефрэктомия, иссечение кист почек. Второй – ретроперитонеоскопический метод, – по мнению ряда авторов не нашел широкого применения из-за значительно большей частоты интраоперационных осложнений (А.Ф.Дронов, И.В.Поддубный, В.И.Котлобовский. “Эндоскопическая хирургия у детей”, Издательский дом “ГЭОТАР – МЕД”, г.Москва, 2002 г., стр.205).
Несомненно, отсутствие четких анатомических ориентиров и значительно меньший объем забрюшинного пространства ограничивают применение видеоретроперитонеоскопической методики, а незрелость таких анатомически важных образований как диафрагма, где преобладает мышечный отдел над сухожильным, очень тонкая брюшина, слабо выраженные слои клетчатки и фасций (Захарченко В.Д., Бикмухаметова Х.С., Булыгин Л.Г. “Топографо-анатомические особенности и оперативная хирургия детского возраста”, г.Уфа., 1991 г., стр.37, 74), не позволяют достичь минимально приемлемого для манипуляций объема забрюшинного пространства, без вероятно возможного повреждения пограничных анатомических образований при выполнении известного способа доступа к почке и верхнему отделу мочеточника при видеоретроперитонеоскопических операциях у детей.
Однако, применение данного способа у детей нежелательно ввиду того, что расслоение забрюшинной клетчатки с помощью баллоной инсуфляции, производят только из одной установочной позиции баллонного диссектора, в пределах собственно забрюшинного клетчаточного пространства, что не позволяет в полном объеме произвести расслоение забрюшинной клетчатки, приводящее к созданию недостаточного объема рабочего пространства для проведения операции, баллонную инсуфляцию проводят без объективных методов контроля за состоянием окружающих тканей, учитывая незрелость которых может привести к интраоперационным осложнениям, а оставшуюся вне прикосновения околопочечную клетчатку, после создания карбоксиретроперитонеума и установки рабочих троакаров для доступа к почке, отделяют с помощью эндоскопического инструментария, что значительно увеличивает вероятность повреждения тканей и сосудов почки и мочеточника.
При использовании способа доступа к почке и верхнему отделу мочеточника при видеоретроперитонеоскопических операциях у детей представляется возможность создавать максимально возможный объем рабочего пространства, приемлемого для выполнения операции, с минимально возможной вероятностью повреждения окружающих почку и мочеточник органов и тканей.
Технический результат – повышение качества оперативного лечения, уменьшение его травматичности, предотвращение интраоперационных осложнений.
Указанный технический результат достигается за счет того, что:
– диссектор устанавливают непосредственно между почкой и почечной фасцией, что позволяет одновременно расслаивать оба клетчаточных пространства и обнажать почку от окружающей ее жировой клетчатки уже в процессе баллонной инсуфляции;
– введение в забрюшинное пространство диссектора производят под контролем ультразвукового исследования, что позволяет визуально контролировать топографию инструмента относительно сосудистой ножки почки, аорты, нижней полой вены, брюшины и диафрагмы;
– сонографический контроль процесса отслойки околопочечной клетчатки во время наполнения баллона, позволяет дозировать количество вводимой жидкости, необходимой для обнажения почки и образования максимального объема рабочего пространства в забрюшинной области с учетом возраста пациента, без причинения травмы близлежащим тканям и анатомическим образованиям.
Доступ к почке и верхнему отделу мочеточника при видеоретроперитонеоскопических операциях у детей осуществляют следующим образом.
Операцию выполняют под интубационным наркозом. Мониторы расположены в головном конце операционного стола, напротив хирурга и ассистента. Хирург находится напротив зоны операционного интереса. Больной находится на операционном столе в положении на здоровом боку, с подложенным под соответствующую сторону валиком, который создает наклон фронтальной оси на 10-30 град. После обработки операционного поля на уровне задне-подмышечной линии, по биссектрисе угла, образованного латеральным краем мышцы, выпрямляющей позвоночник, и XII ребром, производят разрез кожи и подкожно-жировой клетчатки длиной 1,5 см. Тупым путем разводят мышцы. С помощью ранорасширителя разводят края раны. Перфорируют поперечную фасцию. Тупо разводят забрюшинную клетчатку, доходят до почечной фасции и вскрывают ее между двумя зажимами Бильрота. Браншами изогнутого тупоконечного зажима создают небольшое пространство между почечной фасцией и фиброзной капсулой почки и затем пальцем формируют максимально возможный промежуток, отслаивая околопочечную клетчатку к верхнему и нижнему полюсам, к передней и задней поверхности почки. Под контролем ультразвукового исследования (Aloka SSD 500, датчик 3,5 мГц устанавливают по передне-подмышечной линии) в сформированное пространство устанавливают рабочую часть диссектора, поочередно по задней и передней поверхности верхней трети и нижней трети почки. Установив диссектор в каждое из этих четырех положений, производят расслоение околопочечной клетчатки путем манипуляций кончиком инструмента и следующей за этим действием баллонной инсуфляцией путем нагнетания стерильного физиологического раствора под давлением 80-100 мм водн.ст. Визуально на мониторе прослеживают степень и объем отслойки околопочечной клетчатки от почки, что моделирует границы оптимальной оптической полости в забрюшинном пространстве. Диссектор удаляют. В создавшуюся полость вводят 10-ти мм троакар, накладывают герметизирующий П-образный шов и инсуфлируют углекислый газ до уровня 10-12 мм рт.ст. После чего с помощью торцевой 10-ти мм оптической системы осматривают органы забрюшинного пространства и определяют точки введения рабочих троакаров для проведения оперативного вмешательства.
При использовании устройства для расслоения околопочечной клетчатки, представляющего собой ригидный баллонный гидродиссектор, становится возможным производить его установку и максимально эффективное, в полном объеме, расслоение околопочечной клетчатки из разноудаленных точек в области задней и передней поверхности верхней трети и нижней трети почки, в результате чего после наложения карбоксиретроперитонеума образуется приемлемый для выполнения операции объем рабочего пространства.
Технический результат – расширение технических возможностей устройства.
Указанный технический результат достигается за счет того, что предлагаемое устройство выполнено в виде L-образной металлической трубки с рукояткой, при этом трубка имеет проводниковую и рабочую части, торцевой отдел рабочей части загерметизирован и имеет полусферическую форму, а на рабочей части укреплен латексный баллон путем фиксации его двух противоположных сторон:
– оптимальный угол изгиба в 120° между проводниковой и рабочей частью устройства позволяет через первичный минидоступ легко устанавливать рабочую часть устройства в пространство между почкой и почечной фасцией;
– жесткая конструкция устройства позволяет им активно манипулировать;
– двухсторонняя фиксация баллона на рабочей части устройства позволяет создать равномерно направленное расслоение околопочечной клетчатки перпендикулярно оси рабочей части устройства.
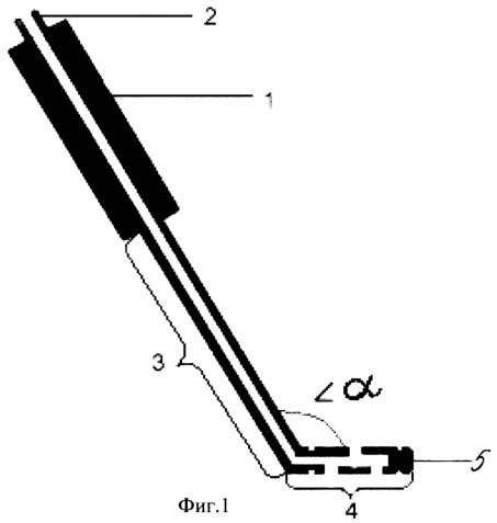
На фиг.1 изображено предлагаемое устройство для расслоения околопочечной клетчатки в продольном срезе.
На фиг.2 изображена рабочая часть устройства с латексным баллоном в продольном срезе.
В таблице приведены размеры узлов устройства.
Предлагаемое устройство для расслоения околопочечной жировой клетчатки представляет собой L-образной формы трубку с рукояткой. Материалом для его изготовления служит медицинская нержавеющая сталь. Рукоятка 1, цилиндрической формы, имеет на поверхности узорную накатку для предотвращения проскальзывания руки. В ее верхнеторцевую часть с помощью сварки укрепляется штуцер 2 для подсоединения полихлорвиниловой трубки. С противоположной стороны с помощью сварки укрепляется изогнутая трубка, имеющая проводниковую 3 и рабочую 4 части. Торцевой отдел 5 рабочей части устройства загерметизирован и имеет гладкую, полусферическую форму. В рабочей части имеются сквозные отверстия 6 для подачи физиологического раствора в латексный баллон 7, который с помощью лигатур укрепляется в углублениях 8.
Предлагаемое устройство используют следующим образом. На штуцер диссектора надевают полихлорвиниловую трубку, к которой через Т-образный переходник подсоединяют манометр для контроля давления физиологического раствора, поступающего по второй трубке, подсоединенной к этому переходнику. Проверяют целостность баллона введением до 800 мл физиологического раствора. Затем баллон опорожняют. Рабочую часть диссектора под контролем ультразвукового исследования устанавливают в сформированный промежуток между фиброзной капсулой почки и почечной фасцией, поочередно по задней и передней поверхности верхней трети и нижней трети почки. При этом в каждом из четырех положений производят расслоение околопочечной клетчатки путем манипуляций кончиком инструмента и последовательной баллонной инсуфляцией путем нагнетания стерильного физиологического раствора под давлением 80-100 мм водн.ст. При этом на мониторе сонографа контролируют степень и объем отслойки околопочечной клетчатки от почки, что моделирует границы оптимальной оптической полости в забрюшинном пространстве.
По предложенному способу с использованием ригидного баллонного гидродиссектора прооперировано 8 больных с гидронефротической трансформацией и кистами почек.
Пример 1. Больной С., 1 год 2 мес. № ист. болезни 3615.
Поступил в клинику с диагнозом: Гидронефроз слева.
Жалобы на периодически возникающие беспокойства ребенка. При амбулаторном ультразвуковом исследовании органов брюшной полости и забрюшинного пространства выявлено расширение лоханки левой почки. Объективно отмечается умеренное беспокойство при пальпации левой почки.
На УЗИ почек: размеры в пределах возрастной нормы. Лоханка справа – 0,9 см, слева – 1,6 см.
На ЭУГ: обструкции мочевыводящих путей справа нет. Слева – расширение лоханки с задержкой контрастного вещества на 30 мин и 60 мин. На микционной цистограмме: рефлюкса нет. OAK, ОАМ, БХ-анализ крови, проба Реберга, анализ мочи по Зимницкому – в пределах нормы.
Диагноз: Первичный гидронефроз слева 2 ст.
Показано оперативное лечение в плановом порядке.
Под интубационным наркозом уложили больного на здоровый бок, подложив под соответствующую сторону валик, придав туловищу наклон фронтальной оси на 20°. После обработки операционного поля на уровне задней подмышечной линии, по биссектрисе угла, образованного латеральным краем мышцы, выпрямляющей позвоночник, и XII ребром, произвели разрез кожи и подкожной жировой клетчатки длиной 1,5 см. Тупым путем развели мышцы. С помощью ранорасширителя развели края раны. Перфорировали поперечную фасцию. Тупо развели забрюшинную клетчатку, дошли до почечной фасции и вскрыли ее между двумя зажимами Бельрота. Браншами изогнутого тупоконечного зажима создали небольшое пространство между почечной фасцией и фиброзной капсулой почки и затем пальцем сформировали максимально возможный промежуток, отслаивая околопочечную клетчатку к верхнему и нижнему полюсам, к передней и задней поверхности почки. Установили по передней подмышечной линии датчик ультразвукового аппарата. Под контролем ультразвукового исследования в сформированное пространство между почкой и почечной фасцией установили рабочую часть диссектора и, производя при этом маятникообразные движения торцевым отделом устройства с целью тупого расслоения околопочечной клетчатки, дошли до задней поверхности верхней трети почки, контролируя эти действия на экране ультрасонографа. В данной установочной точке диссектора произвели баллонную инсуфляцию путем нагнетания стерильного физиологического раствора под давлением 80-100 мм водн. ст., в объеме до 350 мл. Данную процедуру затем произвели последовательно в области передней поверхности верхней трети почки, задней и передней поверхности нижней трети почки, визуально на мониторе прослеживая степень и объем отслойки околопочечной и собственно забрюшинной клетчатки, что соответствовало границам водной среды баллона. Добившись расслоения клетчатки в пределах границ забрюшинного пространства и достигнув тем самым границ оптимального рабочего пространства, диссектор удалили. В создавшуюся полость установили 10-мм троакар, наложили герметизирующий П-образный шов и произвели инсуфляцию углекислого газа до уровня 10-12 мм рт.ст. Ввели 10-мм торцевую оптическую систему. Осмотрели забрюшинное пространство. Провели гемостаз кровоточащих сосудов забрюшинной клетчатки биполярным коагулятором. Дополнительно установили 10-мм и 5-мм троакары для рабочих инструментов, по передней подмышечной линии. При ревизии почки выявили Z-образную деформацию проксимального отдела мочеточника за счет множества плоскостных спаек. Добавочных нижнесегментарных сосудов не выявили. Деформацию устранили, произведя рассечение деформирующих мочеточник спаек, тупым и острым путем. После этого появилась перистальтическая волна в пределах границ оперативного вмешательства и в целом в пределах визуализации мочеточника. Гемостаз. Дренирование забрюшинного пространства. Сутки после операции проводилась интенсивная терапия в условиях реанимационного отделения. В качестве обезболивающих средств применялись ненаркотические анальгетики в возрастной дозировке в течение 1,5 суток. Дренаж удалили на следующие сутки. Поскольку болевой синдром был мало выражен, уже через двое суток после операции ребенок начал вставать и ходить, появился аппетит и интерес к играм. Швы сняты на шестые сутки. На контрольном УЗИ: размер лоханки левой почки 1,4 см. Ребенок выписан из стационара в удовлетворительном состоянии.
Пример 2. Больная Т., 3 года 3 мес., № ист. болезни 3946.
Поступила в клинику с диагнозом: Гидронефроз справа.
Жалобы на периодического характера боли в правой половине живота. При амбулаторном ультразвуковом исследовании брюшной полости и забрюшинного пространства выявлено расширение лоханки правой почки. Объективно отмечается умеренное беспокойство при пальпации правой почки.
На УЗИ почек: размеры в пределах возрастной нормы. Лоханка слева – 0,8 см, чашечки – 0,4 см, лоханка справа – 1,0 см, чашечки – 1,0 см.
На ЭУГ: обструкции мочевыводящих путей слева нет. Справа – расширение лоханки и чашечек с задержкой контрастного вещества на 30 мин и 60 мин.
OAK, OAM, БХ-анализ крови, проба Реберга, анализ мочи по Зимницкому – в пределах нормы.
Диагноз: Первичный гидронефроз справа 2 ст.
Показано оперативное лечение в плановом порядке.
Под интубационным наркозом уложили больного на здоровый бок, подложив под соответствующую сторону валик, придав туловищу наклон фронтальной оси на 20°. После обработки операционного поля, на уровне задней подмышечной линии, по биссектрисе угла, образованного латеральным краем мышцы, выпрямляющей позвоночник, и XII ребром, произвели разрез кожи и подкожной жировой клетчатки длиной 1,5 см. Тупым путем развели мышцы. С помощью ранорасширителя развели края раны. Перфорировали поперечную фасцию. Тупо развели забрюшинную клетчатку, дошли до почечной фасции и вскрыли ее между двумя зажимами Бельрота. Браншами изогнутого тупоконечного зажима создали небольшое пространство между почечной фасцией и фиброзной капсулой почки и затем пальцем сформировали максимально возможный промежуток, отслаивая околопочечную клетчатку к верхнему и нижнему полюсам, к передней и задней поверхности почки. Установили по передней подмышечной линии датчик ультразвукового аппарата. Под контролем ультразвукового исследования в сформированное пространство между почкой и почечной фасцией установили рабочую часть диссектора и, производя при этом маятникообразные движения торцевым отделом устройства с целью тупого расслоения околопочечной клетчатки, дошли до задней поверхности верхней трети почки, контролируя эти действия на экране ультрасонографа. В данной установочной точке диссектора произвели баллонную инсуфляцию путем нагнетания стерильного физиологического раствора под давлением 80-100 мм водн.ст., в объеме до 400 мл. Данную процедуру затем произвели последовательно в области передней поверхности верхней трети почки, задней и передней поверхности нижней трети почки, визуально на мониторе прослеживая степень и объем отслойки околопочечной и собственно забрюшинной клетчатки, что соответствовало границам водной среды баллона. Добившись расслоения клетчатки в пределах границ забрюшинного пространства и достигнув тем самым границ оптимального пространства, диссектор удалили. В создавшуюся полость установили 10-мм троакар, наложили герметизирующий П-образный шов и произвели инсуфляцию углекислого газа до уровня 10-12 мм рт.ст. Ввели 10-мм торцевую оптическую систему. Осмотрели забрюшинное пространство. Провели гемостаз кровоточащих сосудов забрюшинной клетчатки биполярным коагулятором. Дополнительно установили 10-мм и 5-мм троакары для рабочих инструментов, по передней подмышечной линии. Произвели визуализацию лоханочно-мочеточникового сегмента. Лоханка имела преимущественно внутрипочечное расположение. Ввиду того, что при гидронефротической трансформации внутрипочечно расположенной лоханки применяются только открытые методы оперативного лечения, произвели люмботомию по Федорову с последующей резекцией измененного участка лоханки и мочеточника и наложили лоханочно-мочеточниковый анастомоз (операция Андерсена-Хайнса). Почку и забрюшинное пространство задренировали. Гемостаз. Рану послойно ушили. Сутки после операции производилась интенсивная терапия в условиях реанимационного отделения. В качестве обезболивающих средств применяли наркотические анальгетики в возрастной дозировке в течение 1,5 суток с дальнейшем применением ненаркотических анальгетиков в возрастной дозировке продолжительностью 4 суток. Дренаж из забрюшинного пространства удалили на следующие сутки после операции. Поскольку болевой синдром был активно выражен, ребенок начал вставать на 3 сутки после операции. На 4 сутки начал ходить, появился аппетит и интерес к играм. Швы сняты на 7-8 сутки после операции. Нефростома удалена на 12 сутки после операции. На контрольном УЗИ: лоханка справа 1,0 см, чашечки 0,6 см. Ребенок выписан из стационара в удовлетворительном состоянии.
Таким образом, при поступлении пациента со следующей патологией мочевыделительной системы (кисты почек, гидронефротическая трансформация, доброкачественные опухоли, травматическое повреждение капсулы и паренхимы почки, конкрементами лоханки и верхнего отдела мочеточника, гнойно-воспалительными заболеваниями почки, афункциональная почка) больному выполняют видеоретроперитонеоскопию вышеизложенной методикой.
При поступлении больного с массивными кровотечениями в забрюшинное пространство травматического характера, злокачественными новообразованиями, внутрипочечным расположением лоханки при гидронефротической трансформации, коралловидными камнями показано оперативное лечение классическим традиционным способом люмботомия.
Учитывая вышесказанное, следует признать, что при отсутствии противопоказаний видеоретроперитонеоскопические вмешательства являются наиболее оптимальным методом лечения у большой группы детей. Данная методика позволяет избежать массивной травматизации тканей за счет минификации доступа, понижает послеоперационный болевой синдром, что способствует ранней активизации ребенка в послеоперационном периоде, уменьшая тем самым число послеоперационных осложнений и сокращая до минимума пребывание ребенка в стационаре. Дает отличный косметический результат.
Способ доступа к почке и верхнему отделу мочеточника при видеоретроперитонеоскопических операциях у детей с использованием устройства для расслоения околопочечной клетчатки может быть использован детскими урологами совместно с врачами-эндоскопистами, имеющими практический опыт оперативного вмешательства на органах мочевыделительной системы. Способ воспроизводим в условиях стационара и при его использовании достигается указанный технический результат. Таким образом, заявленная группа изобретений соответствует критерию “промышленная применимость”.
Табл. №1. Размеры предлагаемого устройства для расслоения околопочечной клетчатки в зависимости от возраста пациента. |
Номер Параметры |
1* |
2** |
3*** |
| Рукоятка: |
|
|
|
| – длина |
80 мм |
80 мм |
100 мм |
| – диаметр |
16 мм |
17 мм |
18 мм |
| Проводниковая часть: |
|
|
|
| – длина |
100 мм |
120 мм |
150 мм |
| – диаметр |
5 мм |
5 мм |
6 мм |
| Рабочая часть: |
|
|
|
| – длина |
35 мм |
45 мм |
55 мм |
| – диаметр |
5 мм |
5 мм |
6 мм |
Угол  |
120° |
120° |
120° |
*- для детей младшей возрастной группы. **- для детей средней возрастной группы. ***- для детей старшей возрастной группы |
Формула изобретения
1. Способ доступа к почке и верхнему отделу мочеточника при видеоретроперитонеоскопических операциях у детей, включающий послойное вскрытие задней стенки брюшной полости, создание пространства для введения устройства для расслоения забрюшинной клетчатки, отличающийся тем, что вскрывают почечную фасцию, пространство для введения создают между почкой и почечной фасцией, по переднеподмышечной линии устанавливают датчик ультразвукового аппарата, затем вводят рабочую часть устройства по п.2, а расслоение околопочечной клетчатки производят сначала с помощью манипуляций торцевым отделом устройства по п.2, затем баллонной инсуфляцией поочередно по задней и передней поверхностям верхней и нижней трети почки, при этом вышеуказанные действия и формирование границ рабочего пространства для дальнейшей операции производят под контролем ультразвукового исследования.
2. Устройство для расслоения околопочечной клетчатки, содержащее баллон, отличающееся тем, что выполнено в виде L-образной металлической трубки с рукояткой, имеющей штуцер, причем трубка имеет проводниковую часть и рабочую часть, торцевой отдел которой загерметизирован и имеет гладкую полусферическую форму, при этом латексный баллон укреплен на рабочей части путем фиксации его двух противоположных сторон, а в рабочей части выполнены отверстия для подачи физиологического раствора в латексный баллон.
3. Устройство по п.2, отличающееся тем, что рукоятка имеет на поверхности накатку для предотвращения проскальзывания руки, латексный баллон укреплен с помощью лигатур, размещенных в углублениях, а угол изгиба между проводниковой и рабочей частью равен 120°.
РИСУНКИ
MM4A – Досрочное прекращение действия патента СССР или патента Российской Федерации на изобретение из-за неуплаты в установленный срок пошлины за поддержание патента в силе
Дата прекращения действия патента: 14.02.2006
Извещение опубликовано: 27.10.2007 БИ: 30/2007
|
|