|
|
(21), (22) Заявка: 2003104498/12, 17.02.2003
(24) Дата начала отсчета срока действия патента:
17.02.2003
(43) Дата публикации заявки: 27.08.2004
(45) Опубликовано: 27.05.2005
(56) Список документов, цитированных в отчете о поиске:
SU 1367925 A1, 23.01.1988. SU 897177, 17.01.1982. SU 1033083 A, 07.08.1983.
Адрес для переписки:
460051, г.Оренбург, пр. Гагарина, 41/3, кв.2, И.В. Крючковой
|
(72) Автор(ы):
Огородников П.И. (RU), Крючкова И.В. (RU), Каденцева О.Н. (RU), Межуева Л.В. (RU)
(73) Патентообладатель(и):
Оренбургский государственный аграрный университет (RU)
|
(54) УСТРОЙСТВО ДЛЯ ДОЕНИЯ В МОЛОКОПРОВОД
(57) Реферат:
Изобретение относится к сельскому хозяйству, а именно к механизации животноводства. Устройство для доения в молокопровод содержит двухкамерные доильные стаканы с дополнительной камерой, отделенной мембраной с массажным элементом от межстенного пространства доильных стаканов, пульсатор, коллектор, шланги, переключатель массажного элемента с клапанами, имеющий рабочую камеру, камеру постоянного вакуума и управляющую камеру, мембрану, соединенную штоком с клапанами вакуум-провода. Клапаны, соединяющие камеры переключателя массажного элемента, выполнены в форме конусного сопряжения. В переключателе массажного элемента в устройстве для доения объем рабочей камеры меньше объема камеры постоянного вакуума. Изобретение осуществляет плавный режим работы массажных элементов и быстрое их отключение перед снятием доильных стаканов, что улучшает процесс доения. 1 з.п. ф-лы, 1 ил.

Изобретение относится к сельскому хозяйству, а именно к механизации животноводства.
Известно устройство для доения (А.С. №1367925, Кл. А 01 J 5/04, БИ №3, 1988 г.), содержащее двухкамерные доильные стаканы с дополнительной камерой, отделенной мембраной с массажным элементом от межстенного пространства доильных стаканов, пульсатор, коллектор, шланги, переключатель массажного элемента, имеющий рабочую камеру, камеру постоянного вакуума и управляющую камеру, мембрану, соединенную штоком с клапанами вакуум-провода.
Недостатком этого устройства для доения является прерывистая работа массажных элементов, что приводит к травмированию сосков животного, и медленное отключение массажных элементов в конце доения, что не позволяет быстро снять доильные стаканы.
Задачей изобретения является осуществление плавного режима работы массажных элементов и быстрого их отключения перед снятием доильных стаканов с целью улучшения процесса доения.
Поставленная задача решается так, что в устройстве для доения в молокопровод, содержащем двухкамерные доильные стаканы с дополнительной камерой, отделенной мембраной с массажным элементом от межстенного пространства доильных стаканов, пульсатор, коллектор, шланги, переключатель массажного элемента с клапанами, имеющий рабочую камеру, камеру постоянного вакуума и управляющую камеру, мембрану, соединенную штоком с клапанами вакуум-провода, согласно изобретению клапаны, соединяющие камеры переключателя массажного элемента, выполнены в форме конусного сопряжения. Кроме того, новым в устройстве для доения является то, что в переключателе массажного элемента объем рабочей камеры меньше объема камеры постоянного вакуума.
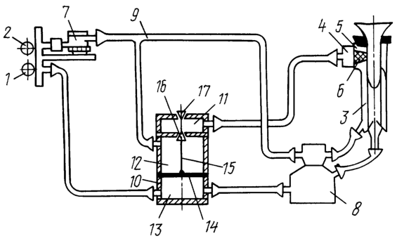
На чертеже схематически изображено устройство для доения в молокопровод.
Устройство для доения в молокопровод, присоединенное к молокопроводу 1 и вакуум-проводу 2, содержит двухкамерные доильные стаканы 3, с дополнительными камерами 4, отделенными мембранами 5 с массажным элементом 6 от межстенного пространства доильных стаканов, пульсатор 7, коллектор 8, шланги 9, переключатель 10 массажного элемента, имеющий рабочую камеру 11, камеру постоянного вакуума 12 и управляющую камеру 13, мембрана 14 которой соединена штоком 15 с клапанами 16 и 17 переключателя 10 массажного элемента.
Устройство для доения в молокопровод работает следующим образом. В начале доения при такте сосания под соском и в межстенном пространстве двухкамерных доильных стаканов 3, в камере постоянного вакуума 12 и управляющей камере 13, а также в рабочей камере 11, которая сообщается с дополнительной камерой 4 доильных стаканов 3, создается вакуум. При этом за счет равной величины вакуума в межстенном пространстве доильных стаканов 3 и управляющей камеры 4 массажный элемент 6 и мембрана 5 не воздействуют на сосковую резину, поэтому при подключении доильного аппарата к вакуум-проводу 2 мембрана 5 с массажным элементом 6 не препятствуют надеванию доильных стаканов 3 на соски вымени животного.
Молоко, поступающее из коллектора 8 в молокопровод 1, проходит через управляющую камеру 13, в результате чего величина вакуума несколько снижается, мембрана 14 за счет перепада давления прогибается, закрывает клапан 16 между рабочей камерой 11 и камерой постоянного вакуума 12, открывает клапан 17 между рабочей камерой 11 и атмосферой. В рабочей камере 11 и соответственно в дополнительной камере 4 доильных стаканов 3 создается атмосферное давление, в межстенном пространстве доильных стаканов 3 происходит чередование вакуума и атмосферного давления. При такте сосания там создается вакуум, поэтому массажный элемент 6 мембраны 5 воздействует на сосок за счет разницы давлений. При такте сжатия давление в дополнительной камере 4 и межстенных пространствах доильных стаканов 3 равно атмосферному и мембрана 5 с массажным элементом 6 возвращается в исходное положение. Так как клапан 16 и клапан 17 переключателя 10 массажного элемента выполнены в форме конусного сопряжения, то резкого перепада давления нет, и массажный элемент плавно воздействует на сосок вымени животного, что позволяет повысить стимуляцию молокоотдачи и улучшить процесс доения.
В конце доения, когда истечение молока через управляющую камеру 13 прекращается, в ней создается рабочая величина вакуума, равная величине вакуума в камере постоянного вакуума 12. За счет атмосферного давления мембрана 14 возвращается в исходное состояние, клапан 16 открывается, клапан 17 закрывается, в рабочей камере 11 создается вакуум, который соответственно будет и в дополнительной камере 4, поэтому мембрана 5 с массажным элементом 6 не воздействуют на сосок вымени животного и не препятствуют снятию доильных стаканов 3.
В предлагаемом устройстве для доения в молокопровод, по сравнению с прототипом, используются клапаны в форме сопряженных конусов, что позволяет улучшить процесс доения за счет плавного переключения между состояниями вакуума и атмосферного давления в дополнительной камере, за счет плавного изменения сечений конусного сопряжения, уменьшение объема рабочей камеры по сравнению с объемом камеры постоянного вакуума позволяет быстро отключать воздействие массажного элемента и уменьшить время снятия доильных стаканов с вымени животного.
Формула изобретения
1. Устройство для доения в молокопровод, включающее двухкамерные доильные стаканы с дополнительной камерой, отделенной мембраной с массажным элементом от межстенного пространства доильных стаканов, пульсатор, коллектор, соединенный с молокопроводом, шланги, переключатель массажного элемента с клапанами, имеющий рабочую камеру, камеру постоянного вакуума и управляющую камеру, мембрану, соединенную штоком с клапанами вакуум-провода, отличающееся тем, что клапаны, соединяющие камеры переключателя массажного элемента, выполнены в форме конусного сопряжения.
2. Устройство по п.1, отличающееся тем, что в переключателе массажного элемента объем рабочей камеры меньше объема камеры постоянного вакуума.
РИСУНКИ
MM4A Досрочное прекращение действия патента Российской Федерации на изобретение из-за неуплаты в установленный срок пошлины за поддержание патента в силе
Дата прекращения действия патента: 18.02.2005
Извещение опубликовано: 20.09.2006 БИ: 26/2006
|
|