|
(21), (22) Заявка: 2002135916/12, 25.12.2002
(24) Дата начала отсчета срока действия патента:
25.12.2002
(43) Дата публикации заявки: 20.06.2004
(45) Опубликовано: 27.05.2005
(56) Список документов, цитированных в отчете о поиске:
RU 2097950 C1, 10.12.1997. RU 2195793 С2, 10.01.2003. SU 1821055 A1, 15.06.1993. SU 1825579 A1, 07.07.1993.
Адрес для переписки:
194291, Санкт-Петербург, ул. Кустодиева, 16, корп.1, кв.240, С.Н. Колесниченко
|
(72) Автор(ы):
Колесниченко С.Н. (RU)
(73) Патентообладатель(и):
Колесниченко Сергей Николаевич (RU)
|
(54) УСТРОЙСТВО ДЛЯ ОБРАБОТКИ ПОЧВЫ
(57) Реферат:
Изобретение относится к области сельскохозяйственного машиностроения и может найти применение как садово-огородный инвентарь для обработки почвы и выкапывания различных клубней. Устройство содержит зубцы с острым углом при вершине. Верхние части зубцов соединены между собой общей перемычкой. Ручка присоединена к стойке, соединенной с рамой. Над перемычкой под углом смонтирована педаль, которая посредством осей жестко соединена с перемычкой. Педаль соединена с ручкой эластичным элементом. Зубья жестко соединены с нижней частью рамы. Перемычка соединена со стойкой посредством шарнира. Устройство берут за ручку и устанавливают зубцами перпендикулярно поверхности почвы. Затем нажимают ногой на раму и внедряют зубцы и зубья в почву. После этого нажимают на педаль, которая через перемычку передает усилие на зубцы. При повороте зубцы выбрасывают грунт вверх. Затем устройство вынимают и устанавливают на необработанной почве, далее работа происходит в описанной последовательности. Изобретение снижает затраты мышечной энергии земледельца. 5 ил.

Изобретение относится к области сельскохозяйственного машиностроения и может найти применение как садово-огородный инвентарь для обработки почвы и выкапывания различных клубней.
Известно устройство для обработки почвы в виде вил по авторскому свид. СССР №1825579 (опубл. 07.07.93. бюл. №25), которое содержит расположенные в один ряд и соединенные в своей верхней части перемычкой зубцы. В срединной части перемычки имеется гнездо для установки черенка.
При работе с этим устройством земледельцу приходиться нагибаться при каждом рабочем цикле, нажимая на черенок, затрачивая много мышечной энергии.
От указанного недостатка свободно устройство для обработки почвы по патенту Российской Федерации №2097950 (опубл. 10.12.97 г.). Это устройство для обработки почвы имеет зубцы с острым углом при вершине, расположенные в один ряд и объединенные в верхней части общей перемычкой, ручку, над перемычкой в одной плоскости с зубцами установлена педаль с осями, жестко соединенными с указанной перемычкой и шарнирно со стойкой. Данное устройство для обработки почвы наиболее близко к предлагаемому.
При обработке почвы данным устройством при нажатии на педаль стойка перемещается в сторону земледельца, что приводит к необходимости отодвигаться сначала назад, а затем, по окончании нажатия, обратно вперед, кроме того, приходиться отводить ручку на себя и обратно, что приводит к значительному расходу мышечной энергии.
Предлагаемым изобретением решается задача экономии мышечной энергии у земледельца при обработке почвы.
Для достижения указанного технического результата в устройстве для обработки почвы, содержащем зубцы с острым углом при вершине, расположенные в один ряд и объединенные в верхней части перемычкой, жестко соединенной с педалью посредством осей и шарнирно со стойкой, ручку, взаимосвязанную с педалью эластичным элементом, под перемычкой выполнена нижняя часть рамы с опорными зубьями, также плоскость педали с осями образует угол к плоскости зубцов.
Отличительными признаками предлагаемого устройства для обработки почвы от указанного выше известного, наиболее близкого к нему, являются наличие под перемычкой нижней части рамы с опорными зубьями, а также наличие угла между плоскостью педали с осями к плоскости зубцов.
Благодаря наличию этих признаков при работе устройства для обработки почвы с помощью опорных зубьев на нижней части рамы положение стойки становится зафиксированным относительно почвы, что существенно снижает затраты мышечной энергии у земледельца, так как отсутствует его перемещение назад и вперед.
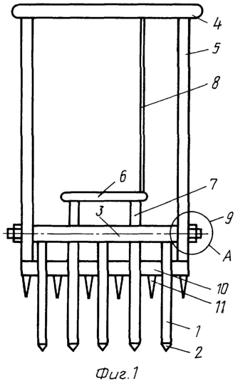
Предлагаемое устройство для обработки почвы иллюстрируется фиг.1-5.
На фиг.1 показан общий вид устройства для обработки почвы.
На фиг.2 – вид сбоку.
На фиг.3 – вид на перемычку с педалью спереди.
На фиг.4 – вид на перемычку с педалью сбоку.
На фиг.5 – шарнир “А”.
Устройство для обработки почвы (фиг.1) содержит зубцы 1 с острыми углами при вершине 2. Зубцы 1 расположены в один ряд. Верхние части зубцов 1 соединены между собой общей перемычкой 3. Устройство содержит также ручку 4, присоединенную к стойке 5, которая соединена с нижней частью рамы 10. Зубья 11 жестко соединены с нижней частью рамы 10. Над перемычкой 3 под углом смонтирована педаль 6, которая посредством осей 7 жестко соединена с перемычкой 3. Педаль 6 соединена с ручкой 4 эластичным элементом 8. Перемычка 3 соединена со стойкой 5 посредством шарнира 9.
Работа устройства для обработки почвы осуществляется следующим образом. Вначале устройство берут за ручку 4 и устанавливают зубцами 1 перпендикулярно поверхности почвы. Затем нажимают ногой на нижнюю часть рамы 10 и внедряют зубцы 1 и зубья 11 в почву. После этого нажимают на педаль 6, которая через перемычку 3 передает усилие на зубцы 1. При повороте зубцы 1 выбрасывают грунт вверх. Затем устройство вынимают и устанавливают на необработанной почве, далее работа происходит в описанной последовательности.
Прилагаемое мышечное усилие для выполнения работы незначительно, оно расходуется лишь на внедрение зубцов и зубьев в почву и на легкое нажатие на педаль, которое осуществляет выбрасывание почвы вверх.
Формула изобретения
Устройство для обработки почвы, включающее зубцы с острым углом при вершине, расположенные в один ряд и объединенные в верхней части общей перемычкой, жестко соединенной с педалью посредством осей и шарнирно – со стойкой, взаимосвязанной с педалью эластичным элементом, отличающееся тем, что устройство снабжено рамой с опорными зубьями, которая расположена под перемычкой и параллельно ей, а ось образует угол с зубцами, причем последние смонтированы параллельно опорным зубьям.
РИСУНКИ
MM4A – Досрочное прекращение действия патента СССР или патента Российской Федерации на изобретение из-за неуплаты в установленный срок пошлины за поддержание патента в силе
Дата прекращения действия патента: 26.12.2006
Извещение опубликовано: 20.02.2008 БИ: 05/2008
|