|
|
(21), (22) Заявка: 2003122760/06, 21.07.2003
(24) Дата начала отсчета срока действия патента:
21.07.2003
(43) Дата публикации заявки: 27.01.2005
(45) Опубликовано: 20.05.2005
(56) Список документов, цитированных в отчете о поиске:
RU 2162178 C1, 20.01.2001. RU 2184897 C2, 10.07.2002. GB 955506 A, 12.04.1962. US 3540462 A, 17.11.1970. FR 2571115 A1, 04.04.1986. EP 0066795 A1, 15.12.1982. WO 97/14898 A1, 24.04.1997.
Адрес для переписки:
420036, г.Казань, ул. Дементьева, 1, ООО “Авиагаз-Союз+”
|
(72) Автор(ы):
Добрянский В.Л. (RU), Хазиев Ш.Х. (RU)
(73) Патентообладатель(и):
Общество с ограниченной ответственностью “Авиагаз-Союз+” (RU)
|
(54) РЕГУЛЯТОР ДАВЛЕНИЯ ГАЗА НЕПРЯМОГО ДЕЙСТВИЯ МНОГОФУНКЦИОНАЛЬНЫЙ
(57) Реферат:
Изобретение относится к области гидропневмоавтоматики и предназначено как для регулирования давления природного газа на выходе газораспределительных станций, так и выполнения функций отсекателя потока газа и ограничителя величины его расхода. Регулятор давления газа непрямого действия содержит корпус с соосно расположенными двумя последовательно открываемыми запорными органами. Соосно с корпусом закреплен перфорированный проходными отверстиями направляющий цилиндр для первого запорного органа, расположенного с возможностью перемещения относительно направляющего цилиндра и взаимодействия с седлом и стояночным уплотнением. Второй запорный орган выполнен в виде уменьшенной копии первого, снабжен направляющим цилиндром, прикрепленным к аналогичному цилиндру первого запорного органа со стороны выхода потока. Первый запорный орган выполнен в виде перемещаемого по наружной поверхности направляющего цилиндра полого стакана с разгрузочными отверстиями в его дне. Полый стакан нагружен возвратной пружиной. Последняя расположена между его дном и корпусом. Второй запорный орган нагружен возвратной пружиной, расположенной между его дном и дном первого запорного органа. Седло для первого запорного органа расположено со стороны выхода потока. Дно второго запорного органа соединено с сервоприводом через шток. На каждом седле направляющих цилиндров запорных органов со стороны выхода потоков размещен защитный элемент. Защитный элемент контактирует с передней кромкой стакана и выполнен, например, в виде подпружиненного относительно седла подвижного кольца. Это кольцо охватывает седло и закрывает со стороны потока стояночное уплотнение запорной пары в открытом ее положении. Кольцо снабжено разгрузочными отверстиями и ограничителем его перемещения, например, в виде съемных скоб. Скобы равнорасположены по окружности, в количестве не менее трех, и закреплены на торце седла. Сервопривод выполнен в виде соосного с корпусом регулятора пневмоцилиндра. Последний установлен вне потока газа и содержит подвижный поршень. Поршень разделяет полости управляющего и выходного давлений. В полости управляющего давления размещен соединенный с поршнем упомянутый шток. С противоположной стороны поршень оперт толкателем. Толкатель установлен с возможностью его контакта с датчиком положения запорных органов и соосного с толкателем ограничителя их движения, перемещаемого вручную или автоматически. Изобретение направлено на повышение эксплуатационной надежности и расширение функциональных возможностей в едином компактном агрегате. 1 ил.

Изобретение относится к области гидропневмоавтоматики и может найти применение в установках, требующих дросселирования потоков с высокой точностью и широком диапазоне по расходу, например на газораспределительных станциях, обслуживающих потребителей природного газа в условиях значительного (до 1000-кратного) изменения газопотребления при сохранении постоянного давления в выходном газопроводе. При этом, авторы учли рекомендации ведущих специалистов РАО “Газпром” по разработке блоков редуцирования газа (см. например УДК 622.691.4.004.5, авторов Клищевская В.М., Ермошкин А.Г. Технологическое и диагностическое оборудование для газораспределительных станций и линейной части магистральных газопроводов. – Обз. Информация. – Сер. Транспорт и подземное хранение газа. – М.: ИРЦ Газпром, 1997, 24 с.).
Известно запорно-регулирующее устройство с двумя последовательно открываемыми запорными органами, которые расположены соосно с корпусом (а.с. СССР № 411258, М. кл. F 16 К 1/12, 1971). Недостатком указанного устройства является то, что радиальные ребра крепления направляющих элементов для запорно-регулирующих органов размещены в высокоскоростном потоке газа, который может содержать механические примеси. Как показала практика, это приводит к их интенсивному эрозионному износу, что снижает эксплуатационную надежность и ресурс устройства в целом. Кроме того, наличие двух приводов значительно усложняет конструкцию запорно-регулирующего устройства.
Указанные недостатки в значительной степени устранены в запорно-регулирующем устройстве, принятом по совокупности существенных признаков в качестве прототипа к заявленному изобретению (патент РФ № 2162178, МПК 7 F 16 K 1/12, 1999).
Известное устройство содержит корпус с соосно расположенными двумя последовательно открываемыми запорными органами. Соосно с корпусом закреплены перфорированный проходными отверстиями направляющий цилиндр для первого запорного органа. Последний расположен с возможностью перемещения относительно направляющего цилиндра и взаимодействия с седлом и стояночным уплотнением. Второй запорный орган, выполненный в виде уменьшенной копии первого, снабжен направляющим цилиндром и прикреплен к аналогичному цилиндру первого запорного органа со стороны выхода потока. Первый запорный орган выполнен в виде перемещаемого по наружной поверхности направляющего цилиндра полого стакана с разгрузочными отверстиями в его дне. Указанный стакан нагружен возвратной пружиной. Последняя расположена между его дном и корпусом. Второй запорный орган нагружен возвратной пружиной. Последняя расположена между его дном и дном первого запорного органа. Седло для первого запорного органа расположено со стороны выхода потока. Дно второго запорного органа соединено с сервоприводом через шток.
В прототипе утверждается, что герметичность запирания проходных отверстий обеспечивается кольцевыми стояночными уплотнениями, установленными в седлах направляющих цилиндров. Но если учитывать, что указанные уплотнения периодического действия, вступающие в работу только в аварийных ситуациях, а основное время находятся в открытом (рабочем) положении и подвержены эрозионному воздействию дросселируемого потока (особенно это касается основной, первой ступени редуцирования), то вообще ставится под сомнение надежность и герметичность отсечки потока газа в аварийной ситуации, это во-первых. Во-вторых, не предусмотрено решение задачи регистрации положения запорных органов, что регламентировано в соответствующих нормативных документах. И в-третьих, что существенно, отсутствует решение задачи по ограничению величины расхода редуцируемого газа.
Задачей предлагаемого изобретения является повышение эксплуатационной надежности и расширение функциональных возможностей не в едином компактном агрегате, под которым следует понимать выполнение не только его основной функции-регулирования давления в выходном газопроводе, но и функции отсекателя потока газа и ограничения величины его расхода.
Поставленная задача решается тем, что в предложенном регуляторе, в отличие от известного, на каждом седле направляющих цилиндров запорных органов со стороны выхода потоков размещен защитный элемент, контактирующий с передней кромкой стакана и выполненный, например в виде подпружиненного относительно седла подвижного кольца, охватывающего седло и закрывающего со стороны потока стояночное уплотнение запорный пары в открытом ее положении, для чего кольцо снабжено разгрузочными отверстиями и ограничителем его перемещения, например в виде съемных скоб, равнорасположенных по окружности в количестве не менее трех и закрепленных на торце седла. Кроме того, сервопривод выполнен в виде соосного с корпусом регулятора пневмоцилиндра, установленного вне потока газа и который содержит подвижный поршень, разделяющий полости управляющего и выходного давлений. При этом в полости управляющего давления размещен соединенный с поршнем упомянутый шток, а с противоположной стороны поршень оперт толкателем, установленным с возможностью его контакта с датчиком положения запорных органов и соосного с толкателем ограничителя их движения, перемещаемого вручную или автоматически.
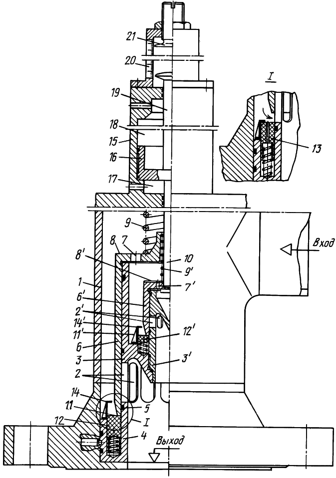
На чертеже показан общий вид регулятора давления газа в виде продольного разреза с выносным элементом I. При этом обращаем внимание на то, это номера позиций со штрихом относятся ко второму запорному органу.
Предлагаемый регулятор давления содержит корпус 1 с соосно расположенными двумя последовательно открываемыми запорными органами. Соосно с корпусом 1 закреплен перфорированный проходными отверстиями 2 направляющей цилиндр 3 для первого запорного органа. Последний расположен с возможностью перемещения относительно направляющего цилиндра 3 и взаимодействия с седлом 4 и стояночным уплотнением 5, например в виде резинового кольца. Второй запорный орган, выполненный в виде уменьшенной копии первого, снабжен направляющим цилиндром 3 и прикреплен к аналогичному цилиндру 3 первого запорного органа со стороны выхода потока. Первый запорный орган выполнен в виде перемещаемого по наружной поверхности направляющего цилиндра 3 полого стакана 6 с разгрузочными отверстиями 7 в его дне 8. Указанный стакан 6 нагружен возвратной пружиной 9. Последняя расположена между его дном 8 и корпусом 1. Второй запорный орган нагружен второй возвратной пружиной 9’, которая расположена между его дном 8 и дном 8 первого запорного органа. Седло 4 для первого запорного органа расположено со стороны выхода потока. Дно 8 второго запорного органа соединено с сервоприводом через шток 10.
В предложенном регуляторе на каждом седле направляющих цилиндров запорных органов со стороны выхода потоков размещен защитный элемент, контактирующий с передней кромкой 11 (11’) стакана (ов). Защитный элемент выполнен, например в виде подпружиненного относительно седла подвижного кольца 12 (12’), охватывающего седло и закрывающего со стороны потока стояночное уплотнение запорной пары в открытом ее положении. Для этого кольцо снабжено разгрузочными отверстиями 13 и ограничителем его перемещения, например в виде съемных скоб 14 (14’) равнорасположенных по окружности, в количестве не менее трех и закрепленных на торце седла. Сервопровод выполнен в виде соосного с корпусом 1 пневмоцилиндра 15, установленного вне потока редуцируемого газа. Указанный пневмоцилиндр содержит подвижный поршень 16, разделяющий полости управляющего 17 и выходного 18 давлений. При этом в полости управляющего давления размещен соединенный с поршнем упомянутый шток 10. С противоположной стороны поршень оперт толкателем 19, установленным с возможностью его контакта с датчиком положения 20 запорных органов и соосного с толкателем ограничителя 21 их движения, перемещаемого вручную или автоматически. Оба запорных органа, практически, разгружены от осевых сил давления. Для чего площадь сечений разгрузочных отверстий 7 дна стакана первого запорного органа должна быть, по крайней мере, не менее площади проходных отверстий 2’ второго запорного органа. Оптимальное (по реальной потребности) соотношение суммарных площадей сечений проходных отверстий 2 и 2’ должно составлять 10:1, соответственно.
Предлагаемый регулятор работает в следующей последовательности. По сигналу от пилота управления (на чертеже не показан), настроенного на поддержание давления на выходе из устройства, стакан 6’ второго запорного органа пропорционально открывает перекрытие ранее проходные отверстия 2’, через которые газ поступает в полость выхода низкого давления. Таким образом, осуществляется работа устройства на малых расходах газа (например, в пусковой период ГРС). При увеличении газопотребления стакан 6’, перемещаясь вверх, в момент полного открытия проходных отверстий 2’ наталкивается на дно стакана 6 первого запорного органа при полностью открытом втором запорном органе. Закрытие устройства осуществляется в обратном порядке: вначале запирается первый запорный орган, затем – второй.
При этом, в момент “схода” стаканов 6 или 6 с соответствующих стояночных уплотнений их перекрывают кольца 12 (12’), защищая от эрозионного воздействия редуцируемого газа. За счет этого достигается повышение эксплуатационной надежности устройства в целом.
При отклонении величины давления в выходном газопроводе за пределы ниже или выше заранее согласованных с заказчиком (потребителем газа) значений, посредством соответствующей настройки следящего устройства (на чертеже не показан) производится, например сброс газа из полости управляющего 17 давления на свечу рассеивания. После чего под действием выходного давления и усилий возвратных пружин 9 и 9’ происходит перекрытие проходных отверстий 2 и 2’ и полная отсечка потока газа в выходной трубопровод газопотребления. При этом факт отсечки будет четко зафиксирован положением толкателя 19 в крайнем нижнем положении, свидетельствующем о полном закрытии запорных органов регулятора.
По требованию потребителя газа может быть установлено ограничение величины расхода газа через регулятор посредством ограничителя 21 движения запорных органов. Для этого заранее опытным путем снимается зависимость расхода газа от величины рабочего хода, фиксируемого датчиком (указателем) положения 20, учитывая конкретные значения давлений на входе в регулятор и на выходе из него. Первоначально предварительно назначенное положение ограничителя 21 может быть в дальнейшем уточнено по данным измерения величины коммерческого расхода газа, “отпускаемого” ГРС. При дальнейшей попытке увеличения газопотребления произойдет понижение давления в выходном газопроводе ниже согласованного значения, что приведет к полной отсечке потока газа через регулятор по указанной ранее схеме.
Таким образом, достигается главная цель изобретения: повышение эксплуатационной надежности и расширение функциональных возможностей в едином компактном агрегате, то есть, выполнение не только его основной задачи – регулирования давления в выходном газопроводе, но и функции отсекателя потока газа и ограничителя величины его расхода. Кроме того, все основные элементы устройства и силового корпуса просты по конструкции, технологичны и при необходимости по мере износа могут быть легко и быстро заменены без отстыковки агрегата от газопровода, что весьма существенно.
Формула изобретения
Регулятор давления газа непрямого действия, содержащий корпус с соосно расположенными двумя последовательно открываемыми запорными органами, причем соосно с корпусом закреплен перфорированный проходными отверстиями направляющий цилиндр для первого запорного органа, расположенного с возможностью перемещения относительно направляющего цилиндра и взаимодействия с седлом и стояночным уплотнением, а второй запорный орган, выполненный в виде уменьшенной копии первого, снабжен направляющим цилиндром, прикрепленным к аналогичному цилиндру первого запорного органа со стороны выхода потока, при этом первый запорный орган выполнен в виде перемещаемого по наружной поверхности направляющего цилиндра полого стакана с разгрузочными отверстиями в его дне, нагруженного возвратной пружиной, расположенной между его дном и корпусом, а второй запорный орган нагружен возвратной пружиной, расположенной между его дном и дном первого запорного органа, причем седло для первого запорного органа расположено со стороны выхода потока, а дно второго запорного органа соединено с сервоприводом через шток, отличающийся тем, что на каждом седле направляющих цилиндров запорных органов со стороны выхода потоков размещен защитный элемент, контактирующий с передней кромкой стакана и выполненный, например, в виде подпружиненного относительно седла подвижного кольца, охватывающего седло и закрывающего со стороны потока стояночное уплотнение запорной пары в открытом ее положении, для чего кольцо снабжено разгрузочными отверстиями и ограничителем его перемещения, например, в виде съемных скоб, равнорасположенных по окружности, в количестве не менее трех и закрепленных на торце седла, кроме того, сервопривод выполнен в виде соосного с корпусом регулятора пневмоцилиндра, установленного вне потока газа и который содержит подвижный поршень, разделяющий полости управляющего и выходного давлений, при этом в полости управляющего давления размещен соединенный с поршнем упомянутый шток, а с противоположной стороны поршень оперт толкателем, установленным с возможностью его контакта с датчиком положения запорных органов и соосного с толкателем ограничителя их движения, перемещаемого вручную или автоматически.
РИСУНКИ
MM4A – Досрочное прекращение действия патента СССР или патента Российской Федерации на изобретение из-за неуплаты в установленный срок пошлины за поддержание патента в силе
Дата прекращения действия патента: 22.07.2007
Извещение опубликовано: 27.02.2009 БИ: 06/2009
|
|