|
|
(21), (22) Заявка: 2004110692/28, 09.04.2004
(24) Дата начала отсчета срока действия патента:
09.04.2004
(45) Опубликовано: 20.05.2005
(56) Список документов, цитированных в отчете о поиске:
RU 2152614 C1, 10.07.2000. RU 2195653 C2, 27.12.2002. RU 2056628 C1, 20.03.1996. RU 2107296 C1, 20.03.1998. WO 9840726 A1, 17.09.1998. WO 9302360 A1, 04.02.1993. US 4907037 A, 06.03.1990. US 5512490 A, 30.04.1996.
Адрес для переписки:
123060, Москва, 1-й Волоколамский пр-д, 10, ПМЗР, Институт рентгеновской оптики, М.Е. Васильевой
|
(72) Автор(ы):
Хамизов Р.Х. (RU), Кумахов М.А. (RU), Никитина С.В. (RU), Михин В.А. (RU), Жигулева Т.И. (RU), Авотынш Н.О. (RU)
(73) Патентообладатель(и):
Общество с ограниченной ответственностью “Институт рентгеновской оптики” (RU)
|
(54) ФЛЮОРЕСЦЕНТНЫЙ СЕНСОР НА ОСНОВЕ МНОГОКАНАЛЬНЫХ СТРУКТУР
(57) Реферат:
Использование: для создания высокочувствительных аналитических приборов для качественного и количественного анализа водных и органических растворов. Сущность: заключается в том, что сенсор содержит многоканальную структуру в виде отрезка 1 поликапиллярной трубки со сквозными капиллярами, образующими микроканалы, которые заполнены двумя слоями несмешивающихся веществ. Один слой 4 образован водой или водным раствором, а другой 3 – органическим веществом. В первом из указанных слоев в микроканалы помещены микрогранулы 5 сорбента. Технический результат: упрощение и удешевление технологии его изготовления, увеличение ассортимента анализируемых растворов, улучшение кинетических характеристик и повышение чувствительности анализа. 26 з.п. ф-лы, 14 ил., 5 табл.

Изобретение относится к области химического и биологического анализа и может быть использовано для создания высокочувствительных аналитических приборов для качественного и количественного анализа водных и органических растворов, а именно природных вод и техногенных растворов, содержащих низкие концентрации определяемых неорганических и органических компонентов, а также растворов, содержащих биологически активные соединения.
Химические и биологические сенсоры [1-5] представляют собой датчики, которые дают прямую информацию о ионном или молекулярном составе среды (раствора), в которую погружен датчик, без отбора анализируемой пробы и ее специальной подготовки. Сенсоры используются в комбинации с каким-либо аналитическим регистрирующим прибором. Для использования в целях определения микрокомпонентов в растворах сенсоры должны обладать способностью к селективной адсорбции (сорбции) определяемых компонентов из этих растворов, способностью к накоплению этих компонентов до более высоких концентраций, чем пределы обнаружения регистрирующего аналитического прибора. При необходимости обеспечения оперативного мониторинга (слежения за изменением концентрации микрокомпонентов) в анализируемом водном потоке в режимах in-line (в самом потоке) или on-line (в байпасном потоке), сенсоры должны обладать удовлетворительными кинетическими характеристиками – способностью к быстрому достижению равновесного накопления за характерное время, меньшее, чем характерное время существенных изменений концентрации в анализируемом потоке. Основным элементом любого сенсора является иммобилизованное (прикрепленное к доступной поверхности датчика) активное вещество, способное к селективному взаимодействию с определяемыми компонентами. Разновидностью сенсоров являются химические или биологические чипы [3-5] – аналитические датчики, содержащие набор различных активных веществ в одном сенсоре или набор сенсоров с отличающимися друг от друга характеристиками, в каждом из которых находится активное вещество одного типа. Химический или биологический чип дает информацию об анализируемых смесях не в виде числа, как отклика на единичное измерение, а в виде некоторого образа – двухмерной или трехмерной картинки, которая является компактной и точной характеристикой (“отпечатком пальцев”) всей смеси. Каждая точка такой картинки, характеризующая наличие и концентрацию того или иного вещества, может быть не совсем точной, но за счет многократного дублирования таких точек и за счет дополнительной информации в виде целостного образа, чипы позволяют добиться практически полной селективности и однозначности в анализе. Химические и биологические чипы начали разрабатываться только в последние годы. В литературе по отношению к химическим чипам также используются понятия: электронный (химический) “нос” или электронный (химический) “язык”, для того чтобы подчеркнуть, что селективность, как и в живых организмах, достигается за счет набора сенсоров с отличающимися характеристиками [6].
Известны различные типы химических сенсоров [1]: электрохимические (в том числе, потенциометрические датчики, такие как ион-селективные электроды); электрические сенсоры на основе полевых транзисторов и других устройств, магнитные сенсоры, термометрические датчики, а также сенсоры, чувствительные к селективному накоплению компонента за счет изменения пьезоэлектрических или акустических характеристик. Основным недостатком указанных аналитических датчиков является ограниченность ассортимента определяемых компонентов – практически на каждый компонент приходится конструировать свой сенсор с определенным типом активного вещества. Кроме того, на основе перечисленных подходов трудно создать биологические сенсоры.
Указанные недостатки устраняются в оптических и рентгеновских флуоресцентных сенсорах [2], в которых активное вещество может обладать групповой селективностью к большому количеству неорганических, органических или биологически активных компонентов. После сорбции этих компонентов иммобилизованным активным веществом производится обработка доступной поверхности с активным веществом возбуждающим излучением с помощью УФ-лазера или источника рентгеновского излучения. В первом случае наблюдается спектр флюоресценции (люминесценции) в видимой области, во втором – спектр рентгеновской флюоресценции. За счет аналитических возможностей указанных методов, позволяющих раздельно наблюдать спектральные полосы определяемых компонентов, появляется возможность одновременного анализа многокомпонентных смесей.
Известны флюоресцентные сенсоры, в которых активное вещество, взаимодействующее с определяемыми компонентами среды, нанесено (пропитывает) или химически пришито к мембранам или к микрогранулам твердых пористых материалов, образующим сорбционный слой, состоящий из большого количества монослоев [7]. Основным недостатком указанных устройств является то, что их нельзя использовать как чипы, позволяющие получать отдельный сигнал с каждого участка активной поверхности сенсора.
Указанный недостаток устраняется при использовании монослоев микрогранул твердых активных веществ или микрососудов с жидкими активными веществами. Известны флюоресцентные сенсоры (биочипы) [8, 9], в которых в каналы или микроотверстия, вырезанные в специальном носителе из стекла, кварца, керамики, пластика или иного инертного материала методами литографии или иными методами, помещены в определенном регулярном порядке активные вещества, селективно взаимодействующие с биологически активными макромолекулами из анализируемой среды. В настоящее время число микроучастков с активными веществами, достигаемое в таких устройствах, не превышает нескольких тысяч единиц. Это приводит к уменьшению чувствительности (пределов обнаружения) анализа при использовании рентгенофлюоресцентного метода.
Наиболее близким по технической сущности к предлагаемому устройству является флюоресцентный сенсор на основе многоканальной структуры, описанный в [10]. Этот сенсор получен путем спекания пучка из большого числа оптико-волоконных нитей, каждая из которых состоит из двух коаксиальных слоев, образованных двумя сортами стекла или кварца или полимера. Один из торцов полученного пучка обработан химическими веществами для вытравливания (до небольшой глубины порядка 10 мкм) внутренних слоев в каждой нити, а в образованные каналы (“микроколодцы”) помещены и закреплены микросферы твердого активного сорбирующего вещества или твердого инертного вещества, на которые нанесен активный реагент. Монослой микрогранул достигается тем, что в один канал помещается одна микросфера. Распределение микросфер по микроканалам достигается с помощью ультразвукового или иного перемешивания из суспензии в легко летучей жидкости, которая затем испаряется. Фиксация микросфер в каналах достигается с помощью синтеза на поверхности торца моногоканальной структуры пленок из органических веществ с различной проницаемостью. Другой способ фиксации заключается в распределении микрогранул по каналам из жидкости, в которой гранула не набухает, с последующей обработкой другой жидкостью, в которой гранула набухает и фиксируется. Таким образом, описанное устройство представляет собой флюоресцентный сенсор на основе многоканальных структур, на одном из торцов которых имеются открытые микроканалы, в каждом из которых размещена микрогранула сорбента.
Основными недостатками указанного устройства являются: сложная технология его изготовления, неудовлетворительные кинетические характеристики, связанные с блокировкой значительной части поверхности микрогранул при их фиксации, а также ограниченность объектов анализа, связанная с необходимостью ограничения пределов набухания микрогранул для сохранения целостности устройства. Другим недостатком указанного устройства является невозможность достижения низких пределов обнаружения при рентгенофлюоресцентном анализе с помощью таких сенсоров. Это связано с тем, что в оптиковолоконных нитях внешний и внутренний слои соизмеримы по толщине, поэтому количество гранул сорбента на единицу площади торца незначительное и, соответственно, плотность сорбированного анализируемого вещества на единицу поверхности площади торца также незначительна.
Предлагаемое изобретение направлено на достижение технического результата, заключающегося в упрощении и удешевлении технологии получения флюоресцентного сенсора, увеличении ассортимента анализируемых растворов на одном и том же устройстве, улучшении кинетических характеристик аналитических методик с использованием флюоресцентного сенсора, повышении чувствительности анализа при использовании рентгенофлюоресцентного метода.
Флюоресцентный сенсор по предлагаемому изобретению, как и наиболее близкий к нему сенсор, известный из [10], выполнен на основе многоканальной структуры с микроканалами и содержит микрогранулы сорбента, помещенные в микроканалы со стороны одного из торцов многоканальной структуры.
Для достижения названного технического результата в предлагаемом флюоресцентном сенсоре, в отличие от указанного известного, наиболее близкого к нему, многоканальная структура представляет собой отрезок поликапиллярной трубки со сквозными капиллярами, которые образуют указанные микроканалы. Микроканалы заполнены двумя слоями несмешивающихся веществ. Один из слоев образован водой или водным раствором. В этом слое находится микрогранула сорбента. Второй слой образован органическим веществом.
Толщина заполняющего микроканалы слоя воды или водного раствора, в котором находится микрогранула сорбента, не превышает 3 миллиметров. Это связано с тем, что дальнейшее увеличение толщины данного слоя не приводит к улучшению разделения этого слоя и слоя органического вещества, т.е. уже не способствует лучшей изоляции гранулы сорбента от органического вещества, но приводит к увеличению времени анализа из-за увеличения времени диффузии сорбируемых компонентов в слое воды или водного раствора.
Микрогранулу сорбента в слое воды или водного раствора целесообразно размещать с возможностью ее свободного перемещения. Это обеспечивает возможность свободного доступа сорбируемых компонентов ко всей поверхности микрогранул сорбента, т.е. улучшает кинетические характеристики сенсора для широкого ассортимента анализируемых растворов, в которых набухаемость микрогранулы может быть разной.
В разные микроканалы могут быть помещены микрогранулы как одного, так и разных сорбентов.
Первое выполнение лучше использовать для создания сенсоров, позволяющих проводить анализ растворов с содержанием небольшого числа компонентов с независимыми флюоресцентными сигналами.
Второе выполнение лучше использовать для создания чипов, позволяющих проводить анализ многокомпонентных растворов с содержанием большого числа компонентов с взаимовлияющими флюоресцентными сигналами.
Целесообразно выполнить поликапиллярную трубку, в частности, из стекла или кварца.
Это позволит упростить и удешевить технологию изготовления исходных поликапиллярных трубок, в том числе, использовать разработанные для этих материалов технологии.
При этом для анализа кислых и нейтральных растворов предпочтительно выполнить поликапиллярную трубку из стекла, как более дешевого материала.
Для анализа щелочных растворов, химически взаимодействующих со стеклом, предпочтительно выполнить поликапиллярную трубку из кварца.
Целесообразно выполнить поликапиллярную трубку, в частности, с толщиной стенок микроканалов, на порядок меньшей их поперечного размера.
Это относится к сенсорам с рентгенофлюоресцентным анализом, построенным на суммарном эффекте флюоресценции от всех гранул сорбента в устройстве.
При этом для изготовления химических и биологических чипов с люминесцентным спектральным анализом в видимой области для предотвращения слияния сигналов от каждой микрогранулы соответствующего сорбента можно выполнить поликапиллярную трубку с большей толщиной стенок.
Многоканальная структура может быть выполнена в виде прямого или изогнутого отрезка поликапиллярной трубки.
Первое выполнение лучше использовать для создания флюоресцентных сенсоров, входящих в состав аналитических блоков приборов, к которым нет специальных требований по их компактности, связанных с необходимостью анализа потоков растворов в труднодоступных точках. При этом выполнении возбуждающее излучение подается на торец с микроканалами, в которых размещены микрогранулы сорбента, а источник возбуждающего излучения размещается внутри указанного блока
Второе выполнение лучше использовать для создания флюоресцентных сенсоров, входящих в состав компактных аналитических блоков приборов, размещаемых в потоке анализируемого раствора в труднодоступных точках. При этом выполнении возбуждающее излучение подается на противоположный торец, где нет микрогранул сорбента, а источник возбуждающего излучения размещается вне указанного блока.
Однако, в зависимости от конкретных условий применения сенсора, выполнение многоканальной структуры в виде прямого отрезка поликапиллярной трубки может оказаться целесообразным также и в случае подачи возбуждающего излучения со стороны торца, не содержащего гранул сорбента. И наоборот, выполнение многоканальной структуры в виде изогнутого отрезка поликапиллярной трубки может оказаться целесообразным в случае подачи возбуждающего излучения на торец с микроканалами, в которых размещены микрогранулы сорбента.
При выполнении многоканальной структуры как в виде прямого, так и в виде изогнутого отрезка поликапиллярной трубки, возможно такое использование сенсора, при котором со стороны его торца, где нет микрогранул сорбента, размещается датчик возбужденного люминесцентного излучения.
Многоканальная структура может быть выполнена также в виде имеющего форму таблетки отрезка поликапиллярной трубки, длина которого меньше поперечного размера.
Такое выполнение целесообразно для более компактных аналитических приборов, независимо от того, с какого торца поликапиллярной трубки подается возбуждающее излучение.
Органическое вещество, образующее один из упомянутых выше слоев, заполняющих микроканалы, может находиться в твердой или жидкой фазе.
Первое выполнение лучше использовать для создания флюоресцентных сенсоров, размещаемых в аналитических блоках приборов в вертикальном положении, в условиях, когда слой водного раствора находится ниже слоя органического вещества.
Второе выполнение лучше использовать для создания флюоресцентных сенсоров, размещаемых в аналитических блоках приборов в произвольном положении. Такое выполнение также предпочтительно в случае, когда микрогранула сорбента может взаимодействовать не только с веществами в водном растворе, но и с веществами в органическом слое.
Во всех случаях, когда при использовании сенсора предполагается со стороны торца, не содержащего гранул сорбента, размещать источник возбуждающего излучения или датчик возбужденного люминесцентного излучения, органическое вещество, образующее один из упомянутых выше слоев, заполняющих микроканалы (т.е. слой, примыкающий к указанному торцу сенсора), должно быть прозрачным для соответствующего излучения (рентгеновского или оптического). При этом отрезок поликапиллярной трубки должен быть выполнен с возможностью транспортирования этого излучения.
Предлагаемое изобретение иллюстрируется чертежами.
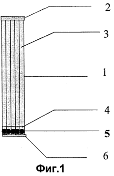
На фиг.1 показан пример выполнения устройства, содержащего многоканальную структуру в виде отрезка прямой поликапиллярной трубки.
На фиг.2 показан пример выполнения устройства, содержащего многоканальную структуру в виде отрезка изогнутой поликапиллярной трубки.
На Фиг.3 показан пример выполнения устройства, в котором многоканальная структура имеет форму таблетки.
На фиг.4 схематически показан пример установки для изготовления сенсоров.
На фиг.5 приведены микрофотографии открытого нижнего торца поликапиллярной трубки.
На фиг.6 показан пример конструкции специального колпачка с микропористым дном, образующим нижнюю часть сенсора.
На фиг.7 показаны потенциометрические кривые для тестирования работоспособности сенсоров.
На фиг.8 показано использование предлагаемого сенсора в составе аналитического прибора для рентгенофлюоресцентного анализа растворов.
На фиг.9 показано использование предлагаемого сенсора в составе аналитического прибора для люминесцентного анализа растворов в видимой области.
На фиг.10 показано использование предлагаемого сенсора с оптически прозрачным органическим веществом, образующим один из заполняющих микрокаканалы слоев, в составе аналитического прибора для рентгенофлюоресцентного анализа растворов.
На фиг.11 показано использование предлагаемого сенсора с оптически прозрачным органическим веществом, образующим один из заполняющих микроканалы слоев, в составе аналитического прибора для люминесцентного анализа растворов в видимой области.
На фиг.12-14 показаны спектры рентгеновской флюоресценции, полученные при анализе различных растворов с помощью предлагаемого сенсора на основе многоканальной структуры.
Флуоресцентный сенсор на основе многоканальных структур в соответствии с предлагаемым изобретением устроен следующим образом. Отрезок 1 поликапиллярной трубки (фиг.1), например, из стекла или кварца, имеющей сотни тысяч сквозных капилляров (микроканалов) одинакового размера от единиц до сотен микрон в поперечном сечении, герметично заклеен со стороны верхнего торца слоем 2 инертного материала. В каждом микроканале размещены два слоя вещества. Верхний слой 3 образован органическим веществом, а нижний слой 4 образован водой или водным раствором. В этом слое в условиях свободного перемещения находится микрогранула 5 сорбента с максимальным диметром, меньшим (например, на 10-20%), чем внутренний диаметр микроканала. Нижний торец закрыт слоем 6 инертного фильтрующего материала с диаметрами пор, меньшими, чем диаметр микрогранул сорбента.
Многоканальная поликапиллярная структура, входящая в состав предлагаемого сенсора, в этом и других описываемых ниже частных случаях выполнения может быть изготовлена, например, по технологии, описанной в патентах [11, 12]. Возможно также использование описанной в патенте [13] технологии, применяемой при изготовлении поликапиллярных хроматографических колонок. Данная технология предпочтительна, если необходимо обеспечить малый разброс размеров поперечного сечения микроканалов.
Флюоресцентный сенсор на основе многоканальных структур в варианте, показанном на фиг.2, также содержит отрезок 1 поликапиллярной трубки, герметично заклеенный с верхнего торца слоем 2 инертного материала. Микроканалы, образованные капиллярами, содержат внутренний слой 3 органического вещества, слой 4 воды или водного раствора со свободно размещенной в нем микрогранулой 5 сорбента. Слой 6 инертного фильтрующего материала закрывает торец со стороны слоя воды или водного раствора. Отличительной особенностью варианта устройства по фиг.2 является то, что оно выполнено в виде таблетки, для изготовления которой использован отрезок поликапиллярной трубки, длина которого меньше диаметра торца.
В варианте, показанном на фиг.3, предлагаемый флюоресцентный сенсор на основе многоканальных структур также содержит отрезок 1 поликапиллярной трубки, герметично заклеенный или покрытый с одного торца слоем 7 инертного материала. Микроканалы, образованные капиллярами, содержат внутренний слой 8 органического вещества, слой 4 воды или водного раствора со свободно размещенной в ней микрогранулой 5 сорбента. Слой 6 инертного фильтрующего материала закрывает торец со стороны слоя воды или водного раствора.
Отличительной особенностью устройства по этому варианту является то, что оно выполнено из изогнутого отрезка поликапиллярной трубки. Другие отличительные особенности этого варианта выполнения устройства состоят в том, что слой 7 инертного материала и внутренний слой 8 органического вещества являются рентгенопрозрачными и/или оптически прозрачными, и отрезок поликапиллярной трубки выполнен с возможностью транспортирования соответственно оптического или рентгеновского излучения.
В первом случае совокупность микроканалов, заполненных органическим веществом, выполняют роль световода, а во втором – роль бендера – средства для передачи и поворота рентгеновского излучения. В этом случае используется явление полного внешнего отражения излучения от стенок микроканалов, и геометрия микроканалов, свойства материала их стенок и органического вещества выбираются так, чтобы было выполнено условие многократного полного внешнего отражения [15, 16].
В таблице 1 приведены примеры инертных материалов для изготовления слоя 2 для герметичного заклеивания или покрытия одного из торцов прямого отрезка поликапиллярной трубки (в том числе короткого отрезка, когда сенсор имеет вид таблетки) в случаях, показанных на фиг.1 и фиг.2.
| Таблица 1 |
| №№ п/п |
Инертный материал для слоя 2 |
Способ закрытия торца |
| 1 |
Герметик, устойчивый к органическим растворителям. |
Заклеивание полимеризующимся герметиком |
| 2 |
Масло – бензостойкая резина, |
Использование уплотнительной головки с резиновой прокладкой |
| 3 |
Силикон |
Использование уплотнительной головки с силиконовой прокладкой |
| 4 |
Жидкое стекло |
Заклеивание жидким стеклом с последующим отверждением |
| 5 |
Жидкое стекло + резина |
Заклеивание жидким стеклом и дополнительная герметизация с помощью уплотнительной головки с резиновой прокладкой |
| №№ п/п |
Инертный материал для слоя 2 |
Способ закрытия торца |
| 6 |
Жидкое стекло + полиэтилен |
Заклеивание жидким стеклом и дополнительная герметизация с помощью уплотнительной головки с полиэтиленовой прокладкой |
| 7 |
Жидкое стекло + полипропилен |
Заклеивание жидким стеклом и дополнительная герметизация с помощью уплотнительной головки с полипропиленовой прокладкой |
| 8 |
Жидкое стекло + тефлон |
Заклеивание жидким стеклом и дополнительная герметизация с помощью уплотнительной головки с тефлоновой прокладкой |
| 9 |
Парафин + резина (или силикон) |
Заклеивание жидким парафином с последующим уплотнением |
| 10 |
Парафин + полиэтилен (или полипропилен или тефлон) |
Заклеивание жидким парафином с последующим уплотнением. |
В таблице 2 приведены примеры инертных рентгенопрозрачных (“РП”) и/или прозрачных для ультрафиолетового излучения (“УФП”) материалов для изготовления слоя 7 для герметичного заклеивания или покрытия одного из торцов отрезка изогнутой поликапиллярной трубки в случае, показанном на 3.
| Таблица 2 |
| №№ п/п |
Инертный материал для слоя 7 |
Способ закрытия торца |
| 1 |
РП, УФП Термопластичные клеи-расплавы на основе полиэтилена. |
Заклеивание торца с последующим затвердеванием |
| 2 |
РП, УФП Полиэтиленовая пленка + термопластичные клеи (растворы на основе полистирола) |
Заклеивание с нанесением клея на пленку (с “захватом” верхней части внешней стенки поликапиллярной трубки) с последующим затвердеванием |
| 3 |
РП, УФП Целлофановая пленка + термопластичные клеи (растворы на основе полистирола) |
Заклеивание с нанесением клея на пленку (с “захватом” верхней части внешней стенки поликапиллярной трубки) с последующим затвердеванием |
| 4 |
РП Термопластичные клеи-расплавы на основе сополимера этилена с винилацетатом. |
Заклеивание торца с последующим затвердеванием |
В таблице 3 приведены примеры органических веществ, образующих внутренний слой 3 сенсоров, выполненных из прямого отрезка поликапиллярной трубки, в том числе в виде таблетки, показанных на фиг.1 и фиг.2, или внутренний слой 8 сенсора, выполненного из изогнутого отрезка поликапиллярной трубки, показанного на фиг.3.
| Таблица 3 |
| №№ п/п |
Вещество |
Агрегатное состояние: жидкое – “Ж”; твердое – “Т” Рентгенопрозрачное – “РП” Прозрачно для ультрафиолетового излучения – “УФП” |
| 1 |
Гексан |
Ж, РП, УФП |
| 2 |
Гептан |
Ж, РП, УФП |
| 3 |
Октан |
Ж, РП, УФП |
| 4 |
Бензин |
Ж, РП, УФП |
| 5 |
Уайт-спирит |
Ж, РП, УФП |
| 6 |
Бензол |
Ж, РП |
| 7 |
Толуол |
Ж, РП |
| 8 |
Парафин |
Т, РП |
| 9 |
Полиакриламид |
Т, РП |
| 10 |
Полиакрилонитрил |
Т, РП |
| 11 |
Полистирол |
Т, РП |
В таблице 4 приведены примеры сорбентов, из которых изготовлены микрогранулы 5, помещенные в слой 4 воды или водного раствора.
| Таблица 4 |
| №№ п/п |
Сорбционные материалы |
Функциональная группа |
| 1 |
Сильнокислотные гелевые и макропористые катиониты: КУ-2, КУ-23, Dowex-50, Dowex-HCR, Dowex-MSC, Dowex-Marathon С, Purolite С 100, Амберлайт ГОЛ, Амберджет, Lewatit S, Lewatit SP |
-SO3 – |
| №№ п/п |
Сорбционные материалы |
Функциональная группа |
| 2 |
Слабокислотные гелевые и макропористые катиониты: КБ-2, КБ-4, Dowex MAC, Purolite С 105, Амберлайт IRC, Lewatit SNP |
-COO- |
| 3 |
Сильноосновные гелевые и макропористые аниониты: АВ-17, АВ-171, Dowex-2, Dowex-MSA, Purolite A400, Amberiite IRA, Lewatit M |
-N(R4)+ |
| 4 |
Слабоосновные гелевые и макропористые аниониты: |
-NHk(R4-k)+ |
| |
АН-31, АН-221, АН-511, Dowex |
где k=1, 2, 3 |
| |
MWA, Purolite A 100, Lewatit MP |
|
| 5 |
Гелевые и макропористые поли- |
-SO3 – + -NHk(R4-k)+ |
| |
амфолиты: |
или |
| |
АНКБ-50, Тулсион, |
-COO– + -NH2 |
| 6 |
Селективные сорбенты для анали |
– С(R)=N-ОН; |
| |
тической химии типа “Полисорб” |
– CO-N(R)=OH; |
| |
|
– C(OH)-C(R)=N-OH; |
| |
|
– N(R)-C(S)-S(Na); |
| |
|
– N-(NO)-ONH4; |
| |
|
– CH2(R)- |
| |
|
N(CH2COONa)2 |
| |
|
где R – органический радикал и др. амидооксимные, гидразинные, дитизоновые, |
| №№ п/п |
Сорбционные материалы |
Функциональная группа |
| |
|
диацетатные группы, |
| 7 |
Импрегнированные сорбенты |
Пропитка: – жидкими ионитами: |
| – комплексообразующими органическими реагентами, экстрагентами. |
| 8 |
Нейтральные полимерные матрицы с последующей химической пришивкой функциональных групп |
Пришивка: |
| олигомеров и мономеров с ионообменными группами: комплексообразующих органических реагентов и экстрагентов. |
| 9 |
Неорганические сорбенты, не содержащие определяемые компоненты |
Алюмосиликатные, оксидная, фосфатная, |
| 10 |
Сорбенты-носители для аффинной хроматографии биополимеров |
КМ-целлюлоза, |
| ДЭАЭ-целлюлоза, |
| Агароза, |
| Сефадекс, |
| Оксиалкилметакрилат, |
| Поливинилацетат. |
В таблице 5 приведены примеры инертных фильтрующих материалов для слоя 6, закрывающего торец со стороны слоя воды или водного раствора.
| Таблица 5 |
| №№ п/п |
Материал (пленка толщиной 1-20 мкм), диаметр отверстий – 1-10 мкм |
Сетка – “С”, Мембрана – “М” Рентгенопрозрачный – “РП” Прозрачный для ультрафиолетового излучения – “УФП” Прозрачный в видимой области – “ВП” |
| 1 |
Капрон |
С, РП, УФП |
| 2 |
Нейлон |
С, РП, УФП |
| 3 |
Стеклоткань |
С |
| 4 |
Полиацетат |
М, РП, УФП |
| 5 |
Полиэтилен |
М, РП, УФП, ВП |
| 6 |
Тефлон |
М, РП, УФП, ВП |
| 7 |
Полипропилен |
М, РП, УФП, ВП |
| 8 |
Целлофан |
М, РП, УФП, ВП |
При изготовлении предлагаемого флюоресцентного сенсора на основе многоканальной поликапиллярной структуры может быть использован эффект капиллярного поднятия уровня жидкостей, обладающих смачивающим эффектом. Изготовление устройства с слоем жидкого органического вещества в микроканалах включает следующие этапы.
А. Сорбционный материал предварительно измельчают с использованием шаровой мельницы, затем полученный порошок разделяют на узкие по гранулометрическому составу фракции методом седиментации – осаждением в колоннах в среде 0,1 М раствора хлорида натрия. Отбирают необходимые для данного типа сенсора фракции, например, для поликапиллярных трубок с размером единичного канала 20 мкм отбирают фракции с предельными размерами зерен 15-17 мкм.
Б. Заготовки – поликапиллярные столбики 9 (отрезки прямых поликапиллярных трубок) закреплены в зажимах 10 держателя 11 с регулируемой высотой, перемещаемого по стойке 12, установленной на неподвижной станине 13 (фиг.4). С помощью держателя 11 поликапиллярные столбики 9 погружают до половины длины в сосуд 14 с органической жидкостью, размещенный на подвижной платформе 15, в свою очередь, установленной на станине 13. Платформа 15 может передвигаться по направляющим роликам 16 как в свободном режиме, так и в режиме регулируемого шагового перемещения.
Органическая жидкость должна обладать следующими свойствами:
– она должна смачивать материал стенок микроканалов поликапиллярных столбиков, но смачивать хуже, чем вода;
– жидкость не должна перемешиваться с водной фазой;
– жидкость должна быть легче воды.
Например, в качестве такой жидкости может быть выбран гексан. В течение 5 мин за счет капиллярных сил все столбики полностью заполняются гексаном.
В. Заранее рассчитывают и отвешивают массу числа частиц сорбента, соответствующего числу каналов. Например, для того чтобы в каждом микроканале на 20 мкм в поликапиллярном столбике с 400000 микроканалами была одна гранула сорбента, необходимо иметь 1 мг фракции сорбента с размерами частиц 15-18 мкм и плотностью 1,1 г/см3); для одновременного изготовления 100 сенсоров необходимо иметь 100 мг сорбента.
Г. Готовят рабочую суспензию. В отвешенное количество сорбента, помещенное в стеклянный микрососуд 17, снабженный автоматическим дозатором капель 18 и перемешивающим микроустройством 19, с помощью другого дозатора жидкости (капельницы) вносят 100 (по количеству изготавливаемых сенсоров) капель (по 5·10-2 см3) концентрированного раствора хлорида натрия с плотностью, равной плотности сорбента, перемешивают смесь и готовят устойчивую суспензию.
Д. Используют расположенную на подвижной платформе 15 гидрофобную пластину 20 (например, из полиэтилена) с вырезанными в ней углублениями 21, имеющими форму усеченного конуса, расположение которых и расстояния между которыми соответствуют расположению зажимов 10 держателя 11 и расстояниям между ними. Регулируя подвод центров конических углублений 21 к микродозатору 18 суспензии и осуществляя согласованное дозирование капель, в каждое из 100 углублений вводят одну каплю суспензии.
Е. Приподнимают на короткое время уровень держателя 11, отводят в сторону стеклянный сосуд 14 с гексаном, подводят под держатель гидрофобную пластину 20 с каплями суспензии в конических углублениях 21, установленную на подвижной платформе 15, и фиксируют платформу в строго рассчитанном положении. Опускают держатель 11 так, чтобы нижний торец каждого поликапиллярного столбика 9 соприкоснулся с соответствующей каплей суспензии. В течение примерно 30 с за счет капиллярных сил происходит втягивание (досуха всей капли) суспензии в столбик.
Микрофотографии нижнего торца столбика в различном масштабе увеличения, приведенные на фиг.5, позволяют показать схему включения зерна сорбента 22 в единичный микроканал 23 многоканальной структуры.
Ж. Герметизируют верхние торцы поликапиллярных столбиков одним из методов, описанных в таблицах 1 или 2.
3. Нижнюю часть каждого готового сенсора закрывают специальным колпачком 24 (фиг.6), боковая стенка которого выполнена из отрезка 25 силиконовой трубки, герметично примыкающего к внешней стенке поликапиллярного столбика 9. Дно колпачка 24 образовано сеткой или микропористой мембраной 26, натянутой на пластиковое цилиндрическое кольцо 27 и приклеенной, как показано на фиг.6, одной стороной к внешней поверхности цилиндрического кольца 27, а другой стороной – к внутренней поверхности отрезка 25 силиконовой трубки. Примеры соответствующих сеток или мембран приведены в таблице 5. В частности, используют сетчатый нейлоновый фильтр на 10 мкм (стандартная продукция фирмы “Миллипор”). Такой вариант используют в случае, когда размер микрогранул сорбента больше 10 мкм. Во всех иных вариантах вместо сетчатого микрофильтра используют мембрану, например полиацетатную мембрану с микропорами 5 мкм или меньше (стандартная продукция фирмы “Миллипор”), подобранными в соответствии с размерами микрогранул сорбента. Перед надеванием колпачка на нижнюю часть сенсора внутреннюю поверхность силиконовой трубки, которая будет непосредственно примыкать к внешней поверхности поликапиллярной трубки, покрывают тонким слоем полимеризующегося водоотталкивающего герметика (клея).
Изготовление устройства с твердым органическим слоем, например парафином, включает вышеперечисленные этапы А, В, Г, Д, З и отличается выполнением этапов Б и Е (см. ниже, соответственно Б1 и Е1), а также тем, что этап Ж не выполняется.
Б1. Заготовки – поликапиллярные столбики с помощью держателей 11 с регулируемой высотой (фиг.4) погружают до уровня на 1-2 мм ниже верхнего торца столбиков в установленный на подвижной платформе 15 сосуд 14, в котором вместо гексана находится расплавленный парафин. Парафин плавится и удерживается в расплавленном состоянии благодаря тому, что в сосуд введена теплообменная трубка 28 с горячей водой (или силиконовым маслом), подаваемой из внешнего термостата,
В течение 30 мин за счет капиллярных сил все столбики полностью заполняются жидким парафином. После этого поликапиллярные столбики поднимают до такого уровня, при котором в жидком парафине остается нижняя часть поликапиллярных столбиков высотой не более 3 см. В таком положении выдерживают систему в течение 10 мин, давая остыть и затвердеть парафину в непогруженной части столбиков.
Е1. Приподнимают на короткое время уровень держателя 11, путем перемещения платформы 15 отводят сосуд 14 с жидким парафином и подводят под держатель гидрофобную пластину 20 с каплями суспензии, фиксируя ее в строго рассчитанном положении. Опускают держатель 11 так, чтобы нижний торец каждого поликапиллярного столбика соприкоснулся с соответствующей каплей суспензии. За счет уменьшения (примерно на 5%) объема парафина при его остывании и твердении в нижних частях столбиков в течение примерно 300 с происходит втягивание всей капли суспензии (досуха) в столбик.
Изготовление устройства с разными сорбентами (флюоресцентного чипа) с жидким или твердым органическим слоем аналогично вышеописанным примерам их выполнения и отличается только выполнением этапов В и Г (см. ниже, соответственно, В1 и Г1)
В1. Заранее рассчитывают и отвешивают массу числа частиц сорбентов, соответствующих числу каналов. Например, при использовании 10 различных сорбентов и выборе поликапиллярной трубки с 400000 каналами по 20 мкм необходимо иметь по 100 мкг каждого сорбента (см. таблицу 4) с размерами частиц 15-18 мкм и плотностью 1,1 г/см3. Для одновременного изготовления 100 сенсоров необходимо иметь по 10 мг каждого сорбента.
Г1. Готовят рабочую суспензию. В отвешенное количество смеси сорбентов, помещенной в стеклянный микрососуд 17, снабженный автоматическим дозатором 18 капель и перемешивающим микроустройством 19, с помощью другого такого же дозатора вносят 100 капель (по 5·10-2 см3) концентрированного раствора хлорида натрия с плотностью, равной плотности сорбентов, перемешивают смесь и готовят устойчивую суспензию.
Производственный процесс получения сенсоров включает стадию их избирательного тестирования на содержание в них работающего сорбента и на скорость функционирования сенсоров.
Тестируемый сенсор в течение 10 мин выдерживают в стакане с 0,1 н раствором соляной кислоты (при перемешивании раствора), затем трижды проводят его промывку в дистиллированной воде. С помощью рН-метра убеждаются в том, что рН дистиллированной воды не изменяется в присутствии сенсора.
После этого сенсор вносят в стакан с 20 мл 0,01 н раствора NaCl, находящийся под рН-метром, и при перемешивании отслеживают изменение значения рН раствора со временем. Такое изменение, а именно подкисление раствора, имеет место за счет ионного обмена Na+ – Н+. Тестирование повторяют не менее двух раз для того, чтобы убедиться в воспроизводимости результатов. На фиг.7 видно, что результаты практически полностью воспроизводятся. Время до достижения горизонтального участка на приведенных кривых (~7 мин) соответствует времени наступления равновесия, т.е. говорит о кинетических характеристиках сенсора, а глубина изменения рН показывает обменную емкость. На кривых фиг.7, видно, что эта глубина соответствует изменению от рН=6,8-7,0 до рН=3,60-3,75. В пересчете это соответствует емкости 4,3-4,4 мкг-экв, а с учетом табличной емкости катионита КУ-2, равной 4-4,5 мг-экв/г, видно, что “работает” 1 мг катионита.
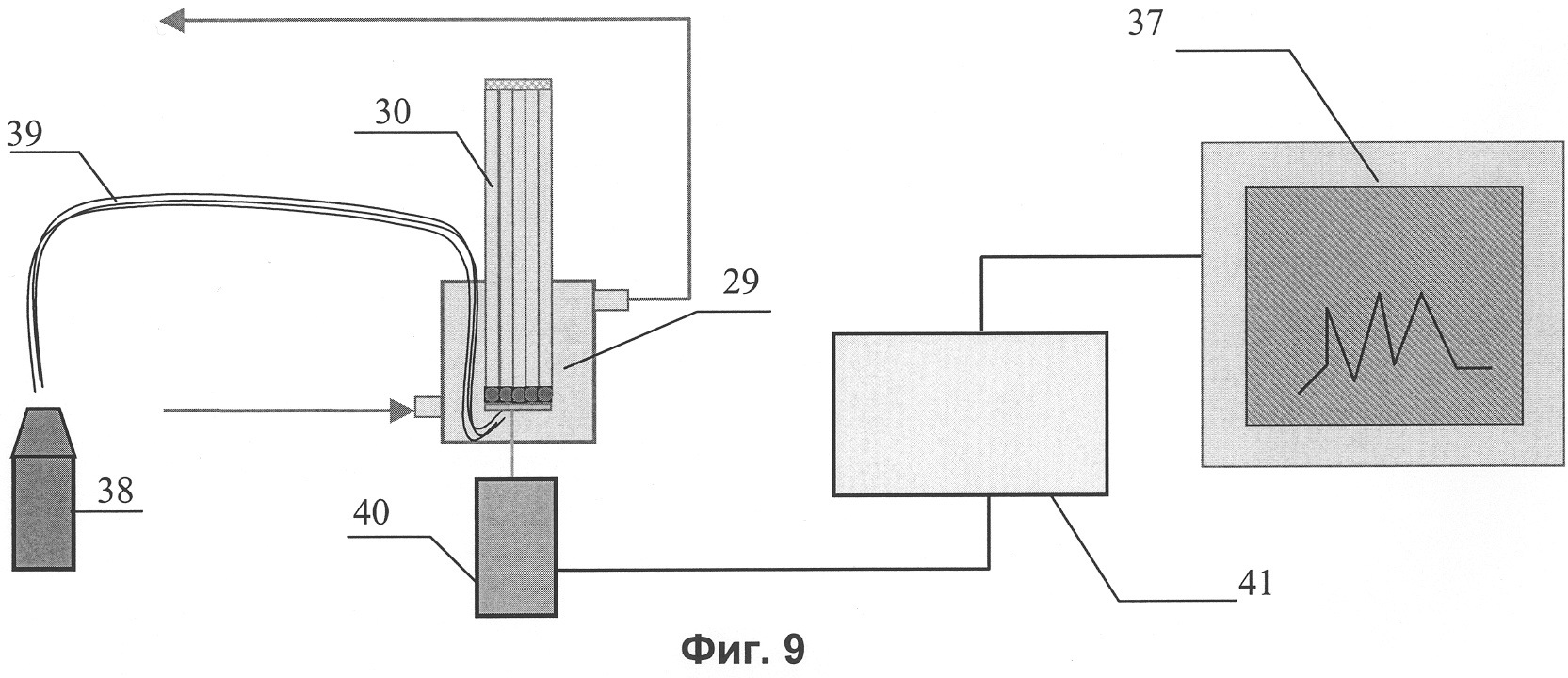
Полученные сенсоры могут быть использованы для аналитического контроля различных растворов. Примеры схем установок для контроля приведены на фиг.8-11. На этих фигурах: 29 – проточная ячейка; 30 – сенсор; 31 – сосуд с анализируемым раствором; 32 – насос; 33 – ультразвуковой активатор сорбции; 34 – источник рентгеновского возбуждения рентгенофлюоресцентного спектрального анализатора; 35 – датчик рентгеновской флюоресценции; 36 – преобразователь сигналов; 37 – компьютер; 38 – источник УФ-излучения (УФ-лазер); 39 – волновод для УФ-возбуждения; 40 – датчик люминесценции; 41 – люминесцентный спектральный анализатор; 42 – сенсор с рентгенопрозрачным слоем органического вещества, выполненный из изогнутой поликапиллярной трубки; 43 – сенсор с слоем оптически прозрачного органического вещества, выполненный из отрезка поликапиллярной трубки в виде таблетки; 44 – волновод для люминесцентного излучения в видимой области.
Ниже описывается функционирование сенсоров в составе перечисленных аналитических установок.
При использовании метода рентгеновской флюоресценции для анализа в качестве контрольного объекта выбраны проточные растворы – промывные сточные воды гальванопроизводства (меднения и цинкования) после технологической стадии их очистки методом ионного обмена. Содержание ионов цветных и тяжелых металлов в таких очищенных растворах – не превышает нескольких десятков мкг/л. Поэтому такие очищенные растворы разрешено сливать в природные водоемы рыбохозяственного пользования.
В то же время пределы обнаружения метода рентгеновской флюоресценции при непосредственном анализе растворов – на уровне нескольких десятков мг/л.
В течение 30-120 мин через проточную ячейку 29 (фиг.8), в которую был погружен сенсор 30, с помощью насоса 32 пропускали анализируемый раствор из сосуда 31. После указанной обработки проводили получение соответствующих спектров на рентгенофлюоресцентном приборе “Фокус” [14]. Для десорбции накопленных элементов и восстановления сенсора для использования в последующих анализах сенсор погружали нижним торцом (с сорбентом) в 0.1 н раствор соляной кислоты и выдерживали в нем в течение 15 мин.
На фиг.12-14 показаны спектры рентгеновской флюоресценции, полученные на установке, схема которой приведена на фиг.8, с использованием сенсоров, изготовленных из прямых отрезков поликапиллярных трубок высотой 10 см с использованием в качестве слоя органического вещества слоя парафина (фиг.12 и фиг.14) и гексана (фиг.13) для следующих вариантов выполнения сенсора:
– на фиг.12 – сенсоры выполнены из свинцового стекла, содержат 400000 микроканалов с диаметром единичного микроканала 20 мкм и толщиной стенок между ними 2 мкм, в каждом из которых помещена микрогранула размером 16 мкм из сильнокислотного катионита КУ-2 на основе стирола и дивинилбензола с сульфоновыми функциональными группами;
– на фиг.13 – сенсоры выполнены из свинцового стекла, содержат 1000000 микроканалов с диаметром единичного микроканала 10 мкм и толщиной стенок между ними 1 мкм, в каждом из каналов помещена микрогранула размером 8 мкм из сильнокислотного катионита КУ-2 на основе стирола и дивинилбензола с сульфоновыми функциональными группами;
– на фиг.14 – сенсоры выполнены из бессвинцового стекла, содержат 1000000 микроканалов с диаметром единичного микроканала 10 мкм, в каждом из каналов помещена микрогранула размером 8 мкм из слабокислотного катионита КБ-4 на основе полиметилметакрилата с карбоксильными функциональными группами.
Концентрации определяемых компонентов в промывной воде, найденные в разные промежутки времени с использованием флюоресцентных сенсоров: на фиг.12: Fe – 30 мкг/л; Сu – 90 мкг/л; Ni – 60 мкг/л; Mn – 200 мкг/л; Со – 320 мкг/л, Zn – 120 мкг/л, суммарное время накопления и анализа – 30 мин; на фиг.13, 14: Сu – 50 мкг/л; Fe – 30 мкг/л; Zn – 50 мкг/л, суммарное время накопления и анализа 120 мин.
Как видно из представленных спектров, применение флюоресцентных сенсоров по предлагаемому изобретению позволяет уверенно определять содержания компонентов, в 1000 раз меньшие, чем при прямом аналитическом контроле без сенсоров, выводя, таким образом, метод рентгеновской флюоресценции на уровень методов для мониторинга природных и сточных вод.
Флюоресцентные сенсоры, предназначенные для использования в видимой области люминесценции, возбуждаемой ультрафиолетовым излучением, подаваемым на торец, где находятся микрогранулы сорбента, используются в составе аналитического прибора, показанного на фиг.9. Анализ проточных растворов, содержащих органические люминофоры или биологически активные молекулы с пришитыми к ним люминесцентно-активными зондами, проводится по методике, аналогичной описанной выше методике для рентгеновской флюоресценции, за исключением того, что наиболее подходящим источником возбуждающего излучения является УФ-лазер, а регистрирующим прибором – люминесцентный спектральный анализатор. Предел обнаружения определяемых компонентов (органических или биологически активных веществ) при использовании указанных сенсоров уменьшается пропорционально коэффициенту накопления на соответствующих сорбентах, описанных в графе 10 таблицы 4, а именно – в 102-104 раз.
Флюоресцентные сенсоры, выполненные из изогнутого отрезка поликапиллярной трубки, с рентгенопрозрачным или УФ-прозрачным верхним слоем 7 и внутренним рентгенопрозрачным или УФ-прозрачным слоем 8 органического вещества, используются в составе аналитического прибора, показанного на фиг.10
Флюоресцентные сенсоры, выполненные из отрезка поликапиллярной трубки в виде таблетки, с УФ-прозрачным верхним слоем 2 и внутренним УФ-прозрачным слоем органического вещества 3, используются в составе аналитического прибора, показанного на фиг.11.
Анализ проточных растворов, содержащих определяемые компоненты, в частности, цветные и тяжелые металлы, а также люминесцентно активные органические и биологические вещества, проводится по методикам, аналогичным описанным выше, за исключением того, что, как показано на указанных фигурах, возбуждающее рентгеновское излучение от источника 34 подается со стороны торца, не погруженного в анализируемый раствор (фиг.10), или за исключением того, что люминесцентное излучение в видимой области подводится к датчику 40 с помощью волновода 44 (фиг.11).
Предел обнаружения определяемых компонентов при использовании сенсоров уменьшается пропорционально коэффициенту накопления на соответствующих сорбентах, описанных в таблице 4. В частности, предел обнаружения металлов снижается в 103-105 раз, а органических и биологически активных веществ – в 102-104 раз.
Флюоресцентные сенсоры, в разные микроканалы которых помещены различные сорбенты, а именно флюоресцентные чипы, используются в составе аналитических приборов, схемы которых не отличаются от показанных на фиг.8-11. Однако датчик 35 на фиг.8 и фиг.10 является растровым (двухкоординатным) рентгеновским датчиком, а датчик 40 на фиг.9 и фиг.11 является двухкоординатным датчиком в видимой области (электронной фотокамерой). При использовании рентгенофлюоресцентного метода аналитический результат для каждой характеристической полосы рентгеновской флюоресценции определяемого химического элемента выводится в виде трехмерной диаграммы: интенсивность сигнала в зависимости от координат (расположения) микрогранул сорбентов на торце сенсора (чипа).
При использовании люминесценции в видимой области аналитический результат для каждой длины волны люминесценции определяемого органического или биологического соединения, содержащего люминофор, либо каждой длины волны высвечивания содержащегося в сорбентах люминофора, характеристическим образом смещенной под действием определяемого (сорбированного) неорганического или органического компонента, выводится в виде трехмерной диаграммы: интенсивность светового сигнала в зависимости от координат микрогранул сорбентов на торце сенсора (чипа)
Обработка результатов в указанных случаях проводится аналогично процедуре, описанной в [10].
Источники информации
4. Gilbert W., DNA sequencing and gene structure / Science, 1981, v.214, p.1305-1312.
8. Патент Российской Федерации № 2157385, опубл. 10.10.2000.
9. P.Zhang, T.Beck., W.Tan, Design a molecular beacon with two dye molecules, Angewandte Chemie International Edition, 2001, v.40, p.402-405.
10. Патент США №.6023540, опубл. 08.02.2000.
11. Патент Российской Федерации № 2096353, опубл. 20.11.97.
12. Патент ФРГ № 4411330, опубл. 14.08.2003.
13. Патент Российской Федерации на полезную модель № 31859, опубл. 27.08.2003.
14. A.S.Scherbakov, S.M.Cheremisin, V.V.Danichev, V.S.Ozerov, Focus-1 X-Ray fluorescent spectrometer. Proceed. SPIE, 2000, v.4155, p.131-137.
15. В.А.Аркадьев, А.П.Коломийцев, М.А.Кумахов, И.Ю.Пономарев, И.А.Ходеев, Ю.П.Чертов, И.М.Шахпаронов. Широкополосная рентгеновская оптика с большой угловой апертурой. Успехи физических наук, март 1989 г., том 157, вып.3, стр.529-537.
16. Патент США №.5192869, опубл. 09.03.93.
Формула изобретения
1. Флюоресцентный сенсор на основе многоканальной структуры, содержащий микроканалы с микрогранулами сорбента, помещенными в микроканалы со стороны одного из торцов многоканальной структуры, отличающийся тем, что многоканальная структура представляет собой отрезок поликапиллярной трубки со сквозными капиллярами, образующими указанные микроканалы, последние заполнены двумя слоями несмешивающихся веществ, один из которых образован водой или водным раствором, а другой – органическим веществом, при этом помещенные в микроканалы микрогранулы сорбента расположены в слое воды или водного раствора.
2. Сенсор по п.1, отличающийся тем, что микрогранула сорбента помещена в слое воды или водного раствора с возможностью свободного передвижения.
3. Сенсор по п.1 или 2, отличающийся тем, что органическое вещество, образующее один из слоев, заполняющих микроканалы, находится в жидкой фазе.
4. Сенсор по п.3, отличающийся тем, что в разные микроканалы помещены гранулы разных сорбентов.
5. Сенсор по п.3, отличающийся тем, что в разные микроканалы помещены гранулы одного и того же сорбента.
6. Сенсор по п.1 или 2, отличающийся тем, что органическое вещество, образующее один из слоев, заполняющих микроканалы, находится в твердой фазе.
7. Сенсор по п.6, отличающийся тем, что в разные микроканалы помещены гранулы одного и того же сорбента.
8. Сенсор по п.6, отличающийся тем, что в разные микроканалы помещены гранулы разных сорбентов.
9. Сенсор по п.1, отличающийся тем, что толщина слоя воды или водного раствора, в котором расположены микрогранулы сорбента, не превышает 3 мм.
10. Сенсор по п.9, отличающийся тем, что органическое вещество, образующее один из слоев, заполняющих микроканалы, находится в жидкой фазе.
11. Сенсор по п.9, отличающийся тем, что органическое вещество, образующее один из слоев, заполняющих микроканалы, находится в твердой фазе.
12. Сенсор по любому из пп.1, 2, 9-11, отличающийся тем, что в разные микроканалы помещены гранулы одного и того же сорбента.
13. Сенсор по п.12, отличающийся тем, что органическое вещество, образующее один из слоев, заполняющих микроканалы, является оптически прозрачным или рентгенопрозрачным и отрезок поликапиллярной трубки выполнен с возможностью транспортирования соответственно оптического или рентгеновского излучения.
14. Сенсор по любому из пп.1, 2, 9-11, отличающийся тем, что в разные микроканалы помещены гранулы разных сорбентов.
15. Сенсор по п.14, отличающийся тем, что органическое вещество, образующее один из слоев, заполняющих микроканалы, является оптически прозрачным или рентгенопрозрачным и отрезок поликапиллярной трубки выполнен с возможностью транспортирования оптического или рентгеновского излучения.
16. Сенсор по любому из пп.1, 2, 4, 5, 7-11, 13 и 15, отличающийся тем, что многоканальная структура выполнена в виде прямого отрезка поликапиллярной трубки.
17. Сенсор по п.16, отличающийся тем, что поликапиллярная трубка выполнена из стекла или кварца.
18. Сенсор по любому из пп.1, 2, 4, 5, 7-11, 13 и 15, отличающийся тем, что многоканальная структура выполнена в виде изогнутого отрезка поликапиллярной трубки.
19. Сенсор по п.18, отличающийся тем, что поликапиллярная трубка выполнена из стекла или кварца.
20. Сенсор по любому из пп.1, 2, 4, 5, 7-11, 13 и 15, отличающийся тем, что многоканальная структура выполнена в виде имеющего форму таблетки отрезка поликапиллярной трубки, длина которого меньше поперечного размера.
21. Сенсор по п.20, отличающийся тем, что поликапиллярная трубка выполнена из стекла или кварца.
22. Сенсор по любому из пп.1, 2, 4, 5, 7-11, 17, 19 и 21, отличающийся тем, что органическое вещество, образующее один из слоев, заполняющих микроканалы, является оптически прозрачным или рентгенопрозрачным и отрезок поликапиллярной трубки выполнен с возможностью транспортирования оптического или рентгеновского излучения.
23. Сенсор по п.22, отличающийся тем, что многоканальная структура выполнена в виде прямого отрезка поликапиллярной трубки.
24. Сенсор по п.22, отличающийся тем, что многоканальная структура выполнена в виде изогнутого отрезка поликапиллярной трубки.
25. Сенсор по п.22, отличающийся тем, что многоканальная структура выполнена в виде имеющего форму таблетки отрезка поликапиллярной трубки, длина которого меньше поперечного размера.
26. Сенсор по любому из пп.1, 2, 4, 5, 7-11, 23-25, отличающийся тем, что поликапиллярная трубка выполнена из стекла или кварца.
27. Сенсор по любому из пп.1, 2, 4, 5, 7-11, 15, 17, 19, 21, 23-25, отличающийся тем, что поликапиллярная трубка выполнена с толщиной стенок микроканалов, на порядок меньшей их поперечного размера.
РИСУНКИ
PC4A – Регистрация договора об уступке патента Российской Федерации на изобретение
(73) Патентообладатель(и):
Общество с ограниченной ответственностью “Институт рентгеновской оптики”
(73) Патентообладатель:
Общество с ограниченной ответственностью “Институт физической оптики”
Дата и номер государственной регистрации перехода исключительного права: 12.08.2009 № РД0053591
Извещение опубликовано: 20.09.2009 БИ: 26/2009
|
|