|
|
(21), (22) Заявка: 2001124856/02, 10.02.2000
(24) Дата начала отсчета срока действия патента:
10.02.2000
(30) Конвенционный приоритет:
11.02.1999 ZA 99/1099
(43) Дата публикации заявки: 20.08.2003
(45) Опубликовано: 20.05.2005
(56) Список документов, цитированных в отчете о поиске:
WO 98/55817 A1 10.12.1998. US 5845165 А 01.12.1998. GB 1377398 А 18.12.1974. WO 95/11419 А127.04.1995.
(85) Дата перевода заявки PCT на национальную фазу:
11.09.2001
(86) Заявка PCT:
ZA 00/00022 (10.02.2000)
(87) Публикация PCT:
WO 00/47942 (17.08.2000)
Адрес для переписки:
103735, Москва, ул. Ильинка, 5/2, ООО “Союзпатент”, пат.пов. Ю.В.Пинчуку, рег.№ 656
|
(72) Автор(ы):
ВАН ЗИЛ Николас Корнелиус (ZA)
(73) Патентообладатель(и):
АФРИКА АУТДОРС АКС(ПРОПРАЙЕТАРИ) ЛИМИТЕД (ZA)
|
(54) ОГНЕСТРЕЛЬНОЕ ОРУЖИЕ
(57) Реферат:
Изобретение относится к огнестрельному оружейному устройству. Устройство содержит огнестрельное оружие, средство защиты, препятствующее стрельбе из огнестрельного оружия незарегистрированным лицом, средство хранения информации для записи и хранения, по меньшей мере, одного аспекта из группы, состоящей из изображения в том направлении, в котором производится выстрел при стрельбе, звука в момент, когда производится выстрел при стрельбе, и электронной системы для управления стрельбой из огнестрельного оружия. Огнестрельное оружие представляет собой обычное огнестрельное оружие, в котором средство хранения информации хранит особый код, связанный с каждой выпущенной пулей. Использование изобретения затрудняет использование огнестрельного оружия не зарегистрированным лицом. 2 н.с. и 20 з.п. ф-лы, 3 ил.

Область техники, к которой относится изобретение
Это изобретение относится к огнестрельному оружейному устройству.
Уровень техники
Известно, что огнестрельным оружием часто злоупотребляют не только незарегистрированные пользователи, но и владельцы огнестрельного оружия. Это злоупотребление приводит к возражениям против применения и ношения огнестрельного оружия. Поэтому существует большая потребность в огнестрельном оружии, украсть которое менее заманчиво, и которое труднее использовать незарегистрированным лицам. В то же время, было бы огромным преимуществом, если бы огнестрельное оружие каким-либо образом отбивало охоту к злоупотреблению им.
В международной патентной заявке №PCT/AU 98/00413 раскрыта сущность мер безопасности для боеприпасов и огнестрельного оружия, например пистолетов, управляемых посредством электроники. Электронные органы управления пистолетом, сущность которых раскрыта в упомянутой заявке, могут быть приведены в боевую готовность и выведены из нее посредством электроники, и в их состав входит средство кодирования, которое приводит в боевую готовность электронные органы управления для “обеспечения ведения огня защищенным оружием после получения контрольного кода зарегистрированного пользователя”. Этот код может быть персонально предоставлен с помощью электроники человеку, собирающемуся применять огнестрельное оружие или зарегистрированному как имеющему право применять огнестрельное оружие. Этот код может быть предоставлен на прикрепляемой карточке или аналогичном средстве, носимом зарегистрированным персоналом. В альтернативном варианте, этот код может быть биометрическими данными, фиксирующими долгосрочные отличительные личные данные зарегистрированного персонала. Вместе с тем, в этом документе не раскрывается сущность записи изображения телекамерой в том направлении, в котором производится выстрел при стрельбе или записи звука в момент, когда производится выстрел при стрельбе.
В международной патентной заявке №PCT/US 93/10156 раскрыта сущность системы ведения огня, инициируемой световой энергией, для огнестрельного оружия. Оптические светопроводящие волокна проходят от источника энергии высокой частоты к окрестности патрона, так что энергия, проходящая через эти волокна, будет проходить в патрон и инициировать воспламенение боевого заряда в патроне. Патрон огнестрельного оружия включает в себя воспламеняющуюся композицию (средство воспламенения или просто запал), расположенную перед, по меньшей мере, частью боевого заряда. Энергия высокой частоты, например лазерная энергия, проходит в патрон и инициирует воспламенение боевого заряда, расположенного впереди. Эта система включает в себя средство защиты для прерывания пути энергии. И в этом документе не раскрыта сущность записи изображения или звука в момент, когда производится выстрел при стрельбе.
В патенте США №4309095 раскрыта сущность установочного устройства съемочной камеры, предназначенного для установки съемочной камеры на охотничью винтовку. Съемочная камера приводится в действие механическим способом, когда нажимают на курок винтовки, и не раскрыта сущность цифровой съемочной камеры. Съемочная камера, соответствующая патенту США №4309095, также крепится к винтовке или телескопическому прицелу для винтовки, а не выполнена как единое целое с применяемой винтовкой или иным огнестрельным оружием. Получение фотоснимка не является предварительным условием для стрельбы из винтовки, сущность которой раскрыта в патенте США №4309095.
Сущность изобретения
Согласно настоящему изобретению, огнестрельное оружейное устройство содержит огнестрельное оружие, средство защиты, препятствующее стрельбе из огнестрельного оружия незарегистрированным лицом, и средство хранения информации для записи и хранения, по меньшей мере, одного аспекта из группы, состоящей из изображения в том направлении, в котором производится выстрел при стрельбе, звука в момент, когда производится выстрел при стрельбе, времени, когда производится выстрел при стрельбе, и местонахождения огнестрельного оружия.
Огнестрельное оружие может представлять собой обычное огнестрельное оружие или другое огнестрельное оружие для стрельбы пулями. Огнестрельное оружие может представлять собой винтовку, но предпочтительно представляет собой личный пистолет.
В одном предпочтительном конкретном варианте осуществления, огнестрельное оружие может включать в себя лазерную систему для формирования лазерного луча с целью воспламенения заряда для стрельбы пулями. Огнестрельное оружие также предпочтительно включает в себя электронную систему для управления стрельбой из огнестрельного оружия. Огнестрельное оружие может также включать в себя некоторое количество стволов, и эти стволы предпочтительно заранее заряжены пулями и зарядами, которые воспламеняются посредством лазерного луча. Следует ясно представлять, что для воспламенения заряда можно использовать другое излучение вместо лазерных лучей.
Средство защиты может содержать механическое средство, например средство, посредством которого блокируется доступ к курковому элементу огнестрельного оружия или нажим на такой курковый элемент, а доступ к курковому элементу или нажим на него может быть обеспечен только путем деблокирования средства защиты.
В предпочтительном конкретном варианте осуществления средство защиты может содержать средство носителя и/или сбора информации, а также средство обработки, предназначенное для обработки информации, получаемой из средства носителя и/или сбора информации, и разрешения ведения огня только в случае, если принятая таким образом информация соответствует определенным требованиям.
Средство носителя и/или сбора информации может включать в себя средство носителя информации, на котором можно записывать информацию. Это средство носителя может представлять собой карточку, такую как интеллектуальная карточка или аналогичное устройство. При использовании эта карточка может иметь записанную на ней информацию, например, связанную с физической информацией зарегистрированного пользователя, предназначенной для идентификации этого пользователя, например отпечаток кожи (в частности, отпечаток пальца) и т.п. Также может быть учтена информация, связанная с голосом, сетчаткой глаза, ДНК. Карточка также может включать в себя записанные на ней подробности, связанные с лицензией на огнестрельное оружие.
Средство защиты также может включать в себя средство считывания, предназначенное для считывания информации, записанной на средстве носителя информации.
Средство носителя и/или сбора информации может включать в себя средство сбора информации, которое может представлять собой средство для сбора определенной физической информации у человека, который собирается применять огнестрельное оружие, предпочтительно информации, посредством которой можно идентифицировать этого человека. Средство сбора может представлять собой средство для записи информации, такой как отпечатки кожи (в частности, отпечаток пальца), голос, результаты сканирования сетчатки глаза, данные идентификации ДНК и т.п.
Средство носителя и/или сбора информации предпочтительно включает в себя и средство носителя информации, и средство сбора информации.
Средство обработки может также включать в себя запоминающее средство для хранения в нем информации. При использовании средство обработки может сравнивать информацию, принимаемую от средства носителя и/или сбора информации, с информацией, записанной в запоминающем средстве, и разрешать стрельбу только в случае соответствия этих информаций. Средство обработки может представлять собой микропроцессор.
В одном примере, отпечаток большого пальца руки зарегистрированного пользователя можно хранить на карточке и можно хранить в запоминающем средстве. При использовании средство обработки будет разрешать стрельбу только в случае, если отпечаток большого пальца на карточке окажется таким же, как в памяти средства обработки, и таким же, как принимаемый из средства сбора информации, которое при эксплуатации снимает отпечаток большого пальца человека, держащего огнестрельное оружие.
Механизм защиты также можно адаптировать для вывода огнестрельного оружия из состояния боевой готовности, чтобы воспрепятствовать стрельбе, аналогично блокировке сотового телефона. Это можно использовать для вывода огнестрельного оружия из состояния боевой готовности в случае кражи, или когда истекает лицензия (если лицензии на огнестрельное оружие выдаются только на определенный период времени). Огнестрельное оружие также можно запрограммировать на применение лишь в течение конкретного периода времени, например, когда зарегистрированное лицо (такое, как полицейский) находится при исполнении служебных обязанностей.
Можно также установить дистанционно управляемое устройство для управления огнестрельным оружейным устройством из отдаленного места.
Средство хранения информации может содержать, по меньшей мере, одно устройство из группы, состоящей из съемочной камеры (такой, как цифровая съемочная камера) для записи изображений, микрофона для записи звука, часов для регистрации времени, системы глобального позиционирования (СГП) для записи положения в виде географических координат, причем средство хранения информации дополнительно содержит средство хранения, предназначенное для хранения данных из упомянутого, по меньшей мере, одного устройства. Средство хранения информации предпочтительно включает в себя все упомянутые устройства.
Съемочная камера может быть установлена так, что оказывается направленной вдоль ствола, ограниченного огнестрельным оружием, позволяя тем самым регистрировать изображение в том направлении, в котором производится выстрел при стрельбе.
Часы могут представлять собой любые подходящие часы для считывания показаний времени и даты. Часы могут представлять собой часы реального времени.
Огнестрельное оружейное устройство также может включать в себя триггер для переключения средства хранения информации на запись и хранение. Средство хранения информации предпочтительно выполнено с возможностью переключения при нажатии на курковый элемент, ограниченный огнестрельным оружием, для произведения выстрела.
Согласно другому аспекту настоящего изобретения предложено огнестрельное оружейное устройство, содержащее огнестрельное оружие и средство защиты, отличающееся тем, что содержит средство носителя и сбора информации, ограничивающее средство носителя информации, которое выполнено с возможностью отделения от устройства огнестрельного оружия и в котором можно регистрировать информацию, и средство сбора информации, предназначенное для сбора информации у человека, собирающегося применять огнестрельное оружие, причем средство защиты дополнительно содержит средство обработки, предназначенное для обработки информации, принимаемой из средства носителя и сбора информации и позволяющее стрелять из огнестрельного оружия только в случае, если принимаемая таким образом информация соответствует определенным требованиям.
Перечень фигур чертежей
Ниже, без ограничения объема изобретения и только в качестве примера приводится подробное описание одного конкретного варианта осуществления изобретения со ссылками на прилагаемые чертежи, где
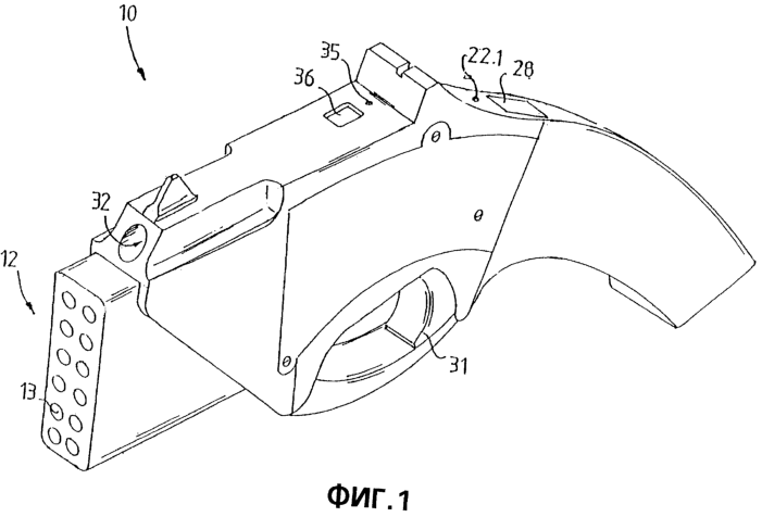
фиг.1 представляет перспективное изображение огнестрельного оружейного устройства в соответствии с изобретением,
фиг.2 изображает вид с частичным разрезом устройства, показанного на фиг.1, и
фиг.3 представляет упрощенную принципиальную схему огнестрельного оружия, показанного на фиг.1.
На чертежах одинаковые позиции используются для обозначения соответствующих частей.
Сведения, подтверждающие возможность осуществления изобретения
Огнестрельное оружейное устройство 10 ограничивает огнестрельное оружие, содержащее рукояточный элемент 11 и ствольный элемент 12.
Ствольный элемент 12 соединен разъемным соединением с рукояточным элементом 11 с помощью зажимного средства (не показано), и предусмотрено крепежное средство (не показано) для прикрепления ствольного элемента 12 к рукояточному элементу 11. При использовании ствольный элемент 12 можно заменять другим ствольным элементом. Каждый ствольный элемент 12 снабжен особым кодом. При использовании этот код можно вводить от имени обладателя лицензии на огнестрельное оружейное устройство 10. Обладатель лицензии может получить разрешение на покупку более одного ствольного элемента 12 за один раз, в зависимости от конкретных потребностей. Различные ствольные элементы 12 могут включать в себя каналы стволов разных калибров. При использовании пустые ствольные элементы 12 можно возвращать дилерам для предоставления кредита при покупке новых ствольных элементов 12.
Ствольный элемент 12 включает в себя некоторое количество выполненных в нем стволов 13. В данном случае, предусмотрены двенадцать стволов 13, разделенных на 6 пар. Сзади каждого ствола 13 предусмотрено отверстие 14 для прохождения лазерного луча через это отверстие 14. Отверстие 14 закрыто посредством закрывающего элемента 15, изготовленного в виде стеклянного диска толщиной 4 мм. При использовании, закрывающий элемент 15 позволяет лазерному лучу проходить через него, но имеет достаточную прочность, чтобы выдержать воспламенение взрывчатого вещества в стволе 13 и таким образом оставить отверстие 14 закрытым.
Каждый ствол 13 предварительно заряжают так, чтобы в нем были заключены: детонирующий заряд (не показан) в виде вещества Ви-Эйч-два (VH2), поставляемого фирмой “ПиЭмПи” (РМР), филиалом “Денел (Проприетари) Лимитед” (Denel (Proprietary) Limited); боевой заряд (не показан) в виде боевого заряда В556/1, поставляемого фирмой “Сомхем” (Somchem), филиалом “Денел (Проприетари) Лимитед”; и пуля, изготовленная из соединения свинца. Детонирующий заряд размещен между закрывающим элементом 15 и боевым зарядом, а боевой заряд расположен между детонирующим зарядом и пулей. Каждая пуля может быть снабжена особым кодом, посредством которого ее можно идентифицировать. Для фиксации пули в нужном положении можно предусмотреть композицию (такую, как воск, предпочтительно – микрокристаллический воск), которая также может служить для смазки пули, когда она движется по стволу 13 при выстреле.
При использовании лазерный луч будет проходить через отверстие 14 и закрывающий элемент 15 для воспламенения детонирующего заряда. Детонирующий заряд, в свою очередь, будет воспламенять боевой заряд, который будет выталкивать пулю по стволу 13 из устройства 10.
Рукояточный элемент 11 включает в себя источник питания, находящийся в нем в виде перезаряжаемой батарейки 20 с номиналом 6 вольт (включающей себя средство нормирования энергии) для подачи энергии к электронной схеме устройства 10. Монитор 21 состояния батарейки выполнен в виде аналоговой схемы и связан со светоизлучающим диодом (СИД) 22.1, который включается, когда напряжение батарейки 20 падает ниже некоторого предварительно заданного значения. Батарейку 20 можно заряжать через устройство сопряжения (не показано), предусмотренное для этой цели.
В рукояточном элементе 11 также предусмотрено средство обработки в виде микропроцессора 22 (содержащего блок ТиЭмЭс 320Си32 (TMS 320C32), поставляемый “Тексас Инструменте” (Texas Instruments)). Микропроцессор 22 осуществляет адресацию потребностей и контролирует функции периферийных блоков и внешних компонентов электронной схемы. Также предусмотрено постоянное запоминающее устройство (ПЗУ) 23 в виде микросхемы энергонезависимой флэш-памяти для хранения программного обеспечения и собранной информации. Оперативное запоминающее устройство (ОЗУ) 24 в виде статического ОЗУ обеспечивает временную память.
Также предусмотрен интерфейс для сопряжения со средством 25 носителя информации. Средство носителя информации выполнено в виде интеллектуальной карточки 25 (блока “Мультифлекс 8К” (Multiflex 8K), поставляемого фирмой “Линеар Текнолоджи” (Linear Technology)). Интеллектуальную карточку 25 подключают к микропроцессору 22 как через буфер 25.1, так и через порт 26 связи в виде блока Эс-Ти16Си1550 (ST16C1550), поставляемого фирмой “Стартех” (Startech).
При использовании, информацию, например – личные данные пользователя, информацию лицензии на огнестрельное оружие, а также отпечаток большого пальца руки зарегистрированного пользователя, можно хранить в карточке 25. При использовании карточку 25 извлекают из рукояточного элемента 11.
Средство сбора информации в виде датчика 28 отпечатков пальцев (блока “Финджертип” (Fingertip, торговая марка), поставляемого фирмой “Инфинеон” (Inflneon)) устанавливают в рукояточный элемент 11 и подключают к микропроцессору 22 через генератор 29 дискретных сигналов ввода-вывода.
К микропроцессору 22 также подключен триггер 30. Триггер 30 содержит переключатель включения-выключения, а для замыкания выключателя включения-выключения используется триггерный элемент 31.
К микропроцессору 22 через буфер 42.1 и порт 26 связи также подключены часы, являющиеся часами 42 реального времени в виде блока ДиЭс 1994 (DS 1994), поставляемого фирмой “Даллас Семикондактор” (Dallas Semiconductor).
Съемочная камера 32 подключена к микропроцессору через буфер 33 и порт 26 связи. Съемочная камера 32 представляет собой цифровую съемочную камеру в виде блока ЭйчДиСиЭс 2000 (HDCS 2000), поставляемого фирмой “Хьюлетт Паккард” (Hewlett Packard). Съемочная камера 32 установлена в рукояточном элементе 11 и направлена вдоль ствольного элемента 12 при использовании, чтобы обеспечить захват изображения в том направлении, в котором выстреливается пуля.
Устройство 10 также включает в себя индикатор 34 состояния, который включает в себя СИД 35 и жидкокристаллический дисплей (ЖКД) 36. СИД 35 показывает, когда огнестрельное оружейное устройство 10 готово к стрельбе, а ЖКД 36 показывает, из какого ствола 13 стреляли.
Также может быть предусмотрен селекторный переключатель (не показан). Этот переключатель может быть переведен в рабочее положение, при котором устройство 10 может стрелять, и нерабочее положение, в котором устройство 10 можно использовать, чтобы попрактиковаться, когда стрельба не ведется.
Устройство 10 также включает в себя программируемое логическое устройство (ПЛУ) 37. ПЛУ 37 выполняет функцию связующей логики, которая гарантирует совместимость логического уровня между периферийными блоками и внешними компонентами в электронной схеме. Оно также включает в себя сторожевой таймер, который будет переводить электронную схему в исходное состояние при некоторых предварительно заданных условиях, таких как случай, когда система “зависает” или когда происходит прием несанкционированных или нераспознанных сигналов. Помимо этого, ПЛУ также включает в себя контролер прерывания, который управляет передачей входных сигналов прерывания в микропроцессор 22 в ответ на сигналы, принимаемые от периферийных блоков и внешних компонентов. Передача сигналов прерывания будет иметь приоритет, основанный на том, какой периферийный блок или внешний компонент имеет данные, готовые для передачи данных в микропроцессор 22.
Для связи с периферийными блоками и компонентами электронной схемы предусмотрен интерфейс 38 главного компьютера. Интерфейс 38 может быть использован для загрузки информации из ПЗУ 23. Интерфейс 38 может содержать инфракрасный приемопередатчик, представляющий собой блок “ТиЭфДиЭс 4500” (TFDS 4500), поставляемый фирмой “Темик” (Temic), подключаемый к порту 26 связи через буфер 38.1.
С микропроцессором 22 через буфер 40 также связана лазерная система, содержащая лазерные диоды 39. Диоды 39 содержат двенадцать лазеров, работающих в квазинепрерывном режиме (КНР) (типа АйСи8611 8И (IC8611 8Е)), по одному на каждый ствол 13. Каждый лазерный диод 39 оснащен оптической системой 41, которая направляет и фокусирует лазерный луч, формируемый соответствующим лазерным диодом 39.
Срабатыванием лазерных диодов 39 управляет программное обеспечение, хранимое в ПЗУ 23 и/или ПЛУ 37, и/или микропроцессоре 22. Лазерные диоды 39 обычно срабатывают в ответ на срабатывание триггера 30. Лазерные диоды 39 срабатывают в предварительно заданной последовательности. Эту последовательность можно изменять путем изменения программного обеспечения, хранимого в электронной схеме. Упомянутое программное обеспечение, триггер 30 и триггерный элемент 31 определяют электронную систему для управления устройством 10 и стрельбы из него.
Следует отметить, что средство защиты устройства 10 содержит средство носителя и сбора информации в виде средства носителя информации (карточки 25), средства считывания (с помощью микропроцессора 22), предназначенного для считывания информации, имеющейся в карточке 25, и средства сбора информации в виде датчика 28 отпечатков пальцев. Средство защиты также включает в себя средство обработки в виде микропроцессора 22. Микропроцессор 22 включает в себя запоминающее средство, а также дополнительную память в виде ПЗУ 23 и ОЗУ 24.
Средство хранения информации устройства 10 содержит съемочную камеру 32 и часы в виде часов 42 реального времени. Средство хранения информации также включает в себя средство хранения в виде ПЗУ 23 для хранения данных, получаемых от съемочной камеры 32 и часов 42 реального времени.
Чтобы получить разрешение на стрельбу из устройства 10, интеллектуальную карточку 25 вставляют в рукояточный элемент 11 для обмена информацией с микропроцессором 22. Это позволяет путем считывания и записи осуществлять обмен информацией между микропроцессором 22 и интеллектуальной карточкой 25. Микропроцессор 22 предварительно запрограммирован на содержание определенной информации. После вставки карточки микропроцессор 22 сравнит информацию, принимаемую от карточки 25, с информацией, хранящейся в нем, и если она будет соответствовать определенным требованиям, устройство 10 будет приведено в боевую готовность, о чем будет свидетельствовать СИД 35. Например, как интеллектуальная карточка 25, так и микропроцессор 22 могут включать в себя зарегистрированный в них отпечаток большого пальца руки зарегистрированного пользователя, и только в случае, если этот отпечаток окажется одним и тем же, устройство 10 будет приведено в боевую готовность. Интеллектуальная карточка 25 может также включать в себя информацию, связанную с лицензией на огнестрельное оружие, а микропроцессор 22 может препятствовать приведению устройства 10 в боевую готовность, если лицензия не действительна (например, в случае, если лицензия действительна только в течение некоторого периода времени).
Пользователь также приложит свой большой палец к датчику 28 отпечатков пальцев, а микропроцессор 22 сравнит этот отпечаток с тем, который хранится в микропроцессоре 22 и в интеллектуальной карточке 25. Только в случае, если отпечаток из датчика 28 отпечатков пальцев окажется таким же, как отпечаток в интеллектуальной карточке 25, микропроцессор 22 разрешит стрельбу из устройства 10. Если один отпечаток не совпадает с другими, разрешение на стрельбу из устройства 10 не будет получено.
Если отпечатки оказываются одинаковыми и после этого нажимают на курковый элемент 31, чтобы замкнуть переключатель включения-выключения триггера 30, микропроцессор 22 заставит лазерные диоды 39 последовательно срабатывать каждый раз при нажатии на курковый элемент 31. Когда лазерный диод работает, он будет формировать лазерный луч, который проходит через оптическую систему 40, через отверстие 14 и закрывающий элемент 15, чтобы воспламенить детонирующий заряд, что вызывает выстрел. ЖКД 36 покажет, из каких стволов 13 стреляли.
Каждый раз, когда производится выстрел, цифровая съемочная камера 32 будет захватывать изображение, видимое в направлении ствольного элемента 12. Кроме того, часы 42 реального времени будут регистрировать время каждого выстрела, которое будет храниться в ПЗУ 23.
При обновлении лицензии или при покупке нового ствольного элемента 12 можно будет установить, когда произведен каждый выстрел и в кого он произведен.
Поскольку каждую пулю можно снабдить особым кодом, то также будет известно, какая пуля вылетела при выстреле. Эту информацию можно загружать через интерфейс 38 в главный компьютер. Предполагается, что это приведет к более ответственному применению устройства 10. Устройство 10 можно также запрограммировать на применение только в течение определенного периода времени, а чтобы продлить применение, придется обратиться к властям, которые после этого могут санкционировать загрузку информации, которая должна храниться в устройстве 10.
Устройство 10 может также включать в себя микрофон (не показан) для улавливания звуков в момент нажатия на курковый элемент 31. В устройство 10 также может быть включена система глобального позиционирования (СГП) для записи местонахождения устройства 10 в момент выстрела. Устройство 10 также можно запрограммировать на запрет стрельбы в определенных местах (например, в парках отдыха).
Устройство 10 также может включать в себя передатчик и/или приемник (не показан).
Посредством такого приемника можно выводить огнестрельное оружие из состояния боевой готовности из отдаленного места, например, если устройство 10 украдено или истекла лицензия. В альтернативном варианте, если устройство включает в себя передатчик, информацию, хранящуюся в устройстве 10, можно передавать в отдаленное место. Эта особенность обеспечивает дистанционно управляемое устройство для управления огнестрельным оружейным устройством 10 из отдаленного места.
Следует понять, что возможны многие изменения отдельных элементов в рамках объема притязаний изобретения. Одно такое изменение заключается, например, в замене, по меньшей мере, некоторых из компонентов в электронной схеме на специализированную интегральную схему (СИС), разработанную с этой целью.
Формула изобретения
1. Огнестрельное оружейное устройство (10), содержащее огнестрельное оружие, средство (22, 25, 28) защиты, препятствующее стрельбе из огнестрельного оружия незарегистрированным лицом, отличающееся тем, что оно содержит средство (23, 31, 32) хранения информации для записи и хранения, по меньшей мере, одного аспекта из группы, состоящей из изображения в том направлении, в котором производится выстрел при стрельбе, звука в момент, когда производится выстрел при стрельбе, и электронной системы для управления стрельбой из огнестрельного оружия.
2. Устройство по п.1, отличающееся тем, что огнестрельное оружие представляет собой обычное огнестрельное оружие и в котором средство хранения информации хранит особый код, связанный с каждой выпущенной пулей.
3. Устройство по п.1, отличающееся тем, что огнестрельное оружие включает в себя лазерную систему (39) для формирования лазерного луча, воспламеняющего заряд для выстреливания пули.
4. Устройство по п.3, отличающееся тем, что огнестрельное оружие включает в себя некоторое количество стволов (13) и в котором стволы (13) предварительно заряжены пулями и зарядами, которые воспламеняются посредством лазерного луча.
5. Устройство по п.1, отличающееся тем, что средство защиты содержит средство (25, 28) носителя и/или сбора информации и средство (22) обработки, предназначенное для обработки информации, принимаемой из средства носителя и/или сбора информации, и разрешающее стрельбу из огнестрельного оружия только в случае, если принимаемая таким образом информация отвечает определенным требованиям.
6. Устройство по п.5, отличающееся тем, что средство носителя и/или сбора информации включает в себя средство носителя информации, на котором можно записывать информацию.
7. Устройство по п.6, отличающееся тем, что средство носителя представляет собой карточку.
8. Устройство по п.7, отличающееся тем, что карточка имеет записанную на ней информацию, связанную с физической информацией зарегистрированного пользователя для идентификации этого пользователя.
9. Устройство по п.8, отличающееся тем, что физическая информация представляет собой отпечаток пальца.
10. Устройство по п.6, отличающееся тем, что средство (22, 25, 28) защиты включает в себя средство считывания, предназначенное для считывания информации, имеющейся в средстве носителя информации.
11. Устройство по п.5, отличающееся тем, что средство (25, 28) носителя и/или сбора информации включает в себя средство сбора информации, предназначенное для сбора определенной физической информации у человека, собирающегося применять огнестрельное оружие, посредством которой можно идентифицировать этого человека.
12. Устройство по п.11, отличающееся тем, что средство (25, 28) сбора информации размещено на тыльной рабочей поверхности рукояточного элемента устройства.
13. Устройство по п.11, отличающееся тем, что средство (25,28) сбора информации содержит средство записи отпечатка пальца человека, собирающегося применять огнестрельное оружие.
14. Устройство по п.13, отличающееся тем, что средство для записи отпечатка пальца размещено на тыльной рабочей стороне рукояточного элемента устройства.
15. Устройство по п.14, отличающееся тем, что средство сбора размещено на устройстве так, что устройство может записывать отпечаток пальца пользователя, когда устройство находится в предназначенной для него кобуре.
16. Устройство по п.5, отличающееся тем, что средство (25, 28) носителя и/или сбора информации включает в себя как средство носителя информации, так и средство сбора информации.
17. Устройство по п.5, отличающееся тем, что средство обработки включает в себя запоминающее устройство (23, 24) для хранения в нем информации, причем средство обработки при использовании сравнивает информацию, принимаемую от средства (25, 28) носителя и/или сбора информации, с информацией в запоминающем средстве и разрешает стрельбу только в случае соответствия этих информаций.
18. Устройство по п.1, отличающееся тем, что средство (23,24) хранения информации соединено, по меньшей мере, с одним устройством из группы, состоящей из цифровой съемочной камеры (32) для записи изображений, микрофона для записи звука, часов для регистрации времени и системы глобального позиционирования (СГП) для записи местонахождения в виде географических координат, причем средство хранения информации предназначено для хранения данных из упомянутого, по меньшей мере, одного устройства.
19. Устройство по п.18, отличающееся тем, что оно включает в себя цифровую съемочную камеру (32) и часы (42).
20. Устройство по п.19, отличающееся тем, что цифровая съемочная камера (32) установлена так, что направлена вдоль ствола (12), ограниченного огнестрельным оружием, обеспечивая тем самым запись изображения в том направлении, в котором производится выстрел при стрельбе.
21. Устройство по п.19, отличающееся тем, что часы представляют собой часы (42) реального времени.
22. Огнестрельное оружейное устройство, содержащее огнестрельное оружие, средство (22, 25, 28) защиты, отличающееся тем, что оно содержит средство (25) носителя информации, выполненное с возможностью отделения от огнестрельного оружейного устройства и записи в нем информации, и средство (26, 28) сбора информации, предназначенное для сбора информации у человека, собирающегося применять огнестрельное оружие, при этом средство защиты дополнительно содержит средство (22) обработки, предназначенное для обработки информации, принимаемой из средства (25, 28) носителя и сбора информации, и разрешающее стрельбу из огнестрельного оружия только в случае, если принимаемая таким образом информация соответствует определенным требованиям, и записывающее, по меньшей мере, один аспект из группы состоящей из изображения в том направлении, в котором производится выстрел при стрельбе, звука в момент, когда производится выстрел при стрельбе, и электронной системы для управления стрельбой из огнестрельного оружия.
РИСУНКИ
MM4A – Досрочное прекращение действия патента СССР или патента Российской Федерации на изобретение из-за неуплаты в установленный срок пошлины за поддержание патента в силе
Дата прекращения действия патента: 11.02.2006
Извещение опубликовано: 20.12.2007 БИ: 35/2007
|
|