|
|
(21), (22) Заявка: 2003134134/02, 24.11.2003
(24) Дата начала отсчета срока действия патента:
24.11.2003
(45) Опубликовано: 20.05.2005
(56) Список документов, цитированных в отчете о поиске:
RU 2093769 C1, 20.10.1997. RU 206928 C1, 20.11.1996. SU 245696 А1, 01.01.1969. RU 2157499 С2, 10.10.2000. FR 515677 A, 05.04.1921.
Адрес для переписки:
214030, г.Смоленск, а/я 18, А.А.Никитину
|
(72) Автор(ы):
Никитин А.А. (RU)
(73) Патентообладатель(и):
Никитин Андрей Андреевич (RU)
|
(54) МНОГОСТВОЛЬНЫЙ ПИСТОЛЕТ-ПУЛЕМЁТ
(57) Реферат:
Изобретение относится к автоматическому огнестрельному оружию. Сущность изобретения заключается в том, что затвор многоствольного пистолета-пулемета выполнен с несколькими бойками, равными количеству стволов. Технический результат изобретения состоит в повышении боевых характеристик пистолета-пулемета. 3 ил.

Изобретение относится к индивидуальному автоматическому огнестрельному оружию.
Известны: многоствольный пистолет-пулемет (RU 94012431, А1, Г- 41, А 11/00, 1996 г.). Но из-за сложности затворно-спускового механизма он мало пригоден для полевых и боевых условий, а поэтому более близким прототипом может быть ППШ-41 Г.С.Шпагина с выдвижным прикладом, где затворно-спусковой механизм не боится ни грязи, ни ненастья, у которого 1000 выстрелов в минуту и начальная скорость пули 500 м/сек (см. “БСЭ”, раздел “Пистолеты, стр.570), хорошая прицельная дальность – 300 м и работает с рожковым магазином, что важно для многоствольного автомата.
Единственным недостатком его является – один ствол, где, переоборудовав затворно-спусковой механизм под дополнительные стволы, расположенные слева и справа в горизонтальной плоскости по одному стволу, получим трехствольный, по два пятиствольный автомат и т.п., соответственно с магазином 35·3=105 патронов, или 35·5=175 патронов с плотностью огня 3000 и 5000 выстрелов в минуту.
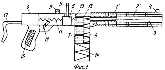
Изобретение поясняется схематическими чертежами.
На фиг.1 – вид сбоку. Нa фиг.2 – вид сверху. На фиг.3 – вид со ствола. Для наглядности некоторые узлы имеют местные “вырезы”.
Многоствольный пистолет-пулемет состоит:
1 – корпус, 2 – дополнительные стволы, в данном случае по одному слева и справа, 1′ – кожух, предназначенный для охлаждения стволов, т.к. большая интенсивность стрельбы 1000 в минуту и большая скорость перегревают стволы, 2′ – воздушная прослойка, 3 – центральный ствол, 4 – прицельная мушка, 5 – прицельная планка, или лазерное наведение на цель, 6 – магазин, 7 – каналы для каждого ряда патронов, 8 – затвор, 9 – рукоятка для отвода затвора в боевое положение, 10 – паз, по которому перемещается затвор, 11 – возвратно-боевые пружины, не менее двух, 12 – спусковой крючок, 13 – бойки, 14 – пружины подачи патронов, 15 – патроны в патронниках, 16 – пистолетная рукоятка, 17 – выдвижной приклад.
Формула изобретения
Многоствольный пистолет-пулемет, содержащий затвор, центральный ствол и дополнительные стволы, расположенные слева и справа по отношению к центральному, отличающийся тем, что затвор выполнен с несколькими бойками, равными количеству стволов.
РИСУНКИ
|
|