|
|
(21), (22) Заявка: 2003135503/06, 08.12.2003
(24) Дата начала отсчета срока действия патента:
08.12.2003
(45) Опубликовано: 20.05.2005
(56) Список документов, цитированных в отчете о поиске:
RU 2146789 C1, 20.03.2000. SU 162649 А1, 08.05.1964. SU 342020 А, 30.06.1972. SU 386213 А, 23.11.1973. SU 1691675 А1, 15.11.1991.
Адрес для переписки:
690059, г.Владивосток, ул. Верхнепортовая, 50а, МГУ им. Невельского, ЦОПИС, Ю.Ю.Кравцовой
|
(72) Автор(ы):
Сень Л.И. (RU)
(73) Патентообладатель(и):
Федеральное государственное образовательное учреждение “Морской государственный университет им. адмирала Г.И. Невельского” (RU)
|
(54) ВОДОГРЕЙНЫЙ КОТЕЛ
(57) Реферат:
Изобретение предназначено для нагрева воды и может быть использовано в теплоэнергетике. Водогрейный котел содержит топку, полость дожигания, экранные и конвективные пучки водогрейных труб. Водяное цилиндрическое пространство между обечайками топки разделено двумя диаметрально противоположными перегородками на две разобщенные друг от друга полуцилиндрические водяные полости. К верхнему днищу топки прикреплены экранные водогрейные трубы, сообщенные с противоположными полуцилиндрическими водяными полостями. Зольник закреплен к нижнему днищу топки осесимметрично и выполнен в форме усеченного конуса. Горелочные устройства установлены тангенциально на боковой поверхности топки вблизи ее верхнего днища с направлением осей горелочных устройств касательно к окружности, диаметр которой вдвое меньше внутреннего диаметра топки. Водяная полость камеры дожигания сообщена с прилегающей к ней снизу полуцилиндрической водяной полостью. Топка через выпускное окно, расположенное на ее боковой поверхности в нижней части, сообщена с камерой дожигания, сообщающейся с конвективным газоходом. Конвективный газоход образован с внутренней стороны внешней цилиндрической обечайкой топки, а с наружных сторон – днищами соответственно верхнего и нижнего кольцевых водяных коллекторов и внешней полуобечайкой газохода, оборудованной в высокотемпературной области газохода вблизи камеры дожигания снаружи дополнительной водяной полостью, сообщенной с водяной полостью камеры дожигания и ограниченной своими днищами и внешней стенкой. Внутри конвективного газохода установлены ряды вертикальных водогрейных конвективных труб, сообщенных с верхним и нижним кольцевыми водяными коллекторами. Перепускной патрубок, соединяет вход нагреваемой воды в нижнем кольцевом водяном коллекторе с выходом ее из полуцилиндрической водяной полости. Изобретение обеспечивает возможность работы котла на водоугольном топливе, надежность, экологичность, увеличение ресурса.1 з.п. ф-лы, 3 ил.

Изобретение относится к области теплоэнергетики, а конкретно к котлостроению, и может быть использовано в водогрейных котлах при использовании различных видов газообразного и жидкого топлива, преимущественно водоугольных суспензий.
Известен водогрейный котел “Луга”, содержащий топку с экранной поверхностью теплообмена и газоход с конвективной поверхностью теплообмена, предназначенный для работы на мазуте и переведенный на работу с водоугольным топливом путем установки дополнительной форкамеры, в которую обеспечивается подвод воздуха и топлива, с последующей подачей продуктов сгорания из форкамеры в топку при их последующем в ней сжигании (Зайденварг В.Е., Трубецкой К.Н., Мурко В.И., Нехороший И.X. Производство и использование водоугольного топлива. М.: Издательство Академии горных наук, 2001, с.86-87).
Недостатками известного водогрейного котла являются:
– Недостаточная приспособленность котла для сжигания “водоугольного топлива (водоугольных суспензий), что приводит к необходимости использования дополнительно форкамеры;
– использование топки котла и в качестве камеры дожигания топлива, располагаемой за форкамерой, малоэффективно, поскольку топка обладает от этого большим объемом с высокой степенью экранирования, что приводит к чрезмерному снижению температуры продуктов сгорания и недостаточной полноте завершающей стадии горения;
– отсутствие систем золоулавливания и золоудаления, что снижает длительность и надежность работы котла, отмечен случай аварии.
Указанные недостатки ограничивают использование известных водогрейных котлов при сжигании водоугольных суспензий.
Известен жидкотопливный стальной водогрейный котел ВВД-1,8, дооборудованный для работы на водотопливной суспензии, содержащий вертикальную цилиндрическую топку, покрытую теплоизоляцией, с полостью дожигания при развитой поверхности радиационного теплообмена. Топка ограничена верхним и нижним днищами топки с теплозоляцией, а с боковой поверхности – внутренней и внешней цилиндрическими обечайками топки с образованием между ними водяного цилиндрического пространства, ограниченного с верхней и нижней его зон соответствующими днищами. Котел содержит также экранные водогрейные трубы, сообщающиеся по оконечностям с верхним и нижним водяными коллекторами экранных труб; конвективные водогрейные трубы; горелочные устройства подачи в топку солярового масла и воздуха его распыления (для растопки котла), а также водоугольного топлива (для работы котла); патрубки подвода дутьевого воздуха; зольник на боковой поверхности топки и конвективный газоход; патрубки подвода исходной воды к району конца газохода и выхода нагретой воды из района средней части котла (см. там же, с.99-101). Этот котел, как наиболее близкий, выбран в качестве прототипа заявляемого решения по большинству признаков.
Недостатками известного водогрейного котла являются:
– плохое смесеобразование и подготовка топлива к сжиганию в топке, обусловленное раздельным вводом в топку водоугольной суспензии по оси топки и дутьевого воздуха по периферии цилиндрической обечайки;
– затруднителен отвод золы через зольник (расположенный на боковой поверхности топки), что способствует накоплению золы на нижнем днище и в конвективном газоходе котла с выбросом ее в уходящих газах, что, в свою очередь, затрудняет очистку котла от золы и ухудшает процесс теплообмена;
– недостаточное тепловыделение в топке, при котором процесс сгорания топлива перемещается в камеру дожигания, которая снабжена развитой поверхностью радиационного теплообмена, что снижает температуру горения и ухудшает завершающую стадию горения топлива;
– водовод (выполненный по схеме противотока с подводом исходной воды с низкой температурой со стороны конвективной поверхности теплообмена, расположенной в конце газохода с низкой температурой газового потока), несмотря на несущественное увеличение эффективности теплообмена, предопределяет образование конденсата на поверхности теплообмена с ее последующей коррозией с газовой стороны.
Таким образом, водогрейный котел-прототип имеет существенные конструктивные недостатки, снижающие технико-экономические показатели эксплуатации котла, особенно при сжигании водоугольных суспензий.
Задачей, на решение которой направлено заявляемое изобретение, является устранение указанных технико-экономических и конструктивных недостатков, а именно:
– улучшение тепловыделения в топке;
– улучшение смесеобразования и подготовки топлива к сжиганию в топке;
– улучшение эффективности конвективного теплообмена;
– улучшение очистки котла от золы, улучшение качества очистки и снижение концентрации золовых частиц в уходящих газах котла;
– увеличение ресурса конвективной поверхности теплообмена газохода и в целом котла.
Поставленная задача достигается тем, что в известном водогрейном котле ВВД-1,8, содержащем вертикальную цилиндрическую топку, покрытую теплоизоляцией, с полостью дожигания, ограниченной верхним и нижним днищами топки с тепловой изоляцией, а с боковой поверхности – внутренней и внешней цилиндрическими обечайками топки с образованием между ними водяного цилиндрического пространства, ограниченного с верхней и нижней его зон соответствующими днищами, а также содержащем экранные и конвективные пучки водогрейных труб, водяные коллекторы, горелочные устройства растопки и работы котла с патрубками подвода топлива и воздуха, зольник, конвективный газоход и патрубки подвода исходной и отвода нагретой воды, в отличие от него полость дожигания ограничена примыкающей к топке камерой с двойной стенкой и аналогичными днищами с образованием между ними водяной полости камеры дожигания. Объем топочного пространства значительно превышает объем камеры дожигания. Водяное цилиндрическое пространство между обечайками топки разделено двумя диаметрально противоположными перегородками на две разобщенные друг от друга полуцилиндрические водяные полости. К верхнему днищу топки прикреплены экранные водогрейные трубы, сообщенные своими оконечностями соответственно с упомянутыми противоположными полуцилиндрическими водяными полостями.
Зольник закреплен к нижнему днищу топки осесимметрично и выполнен в форме усеченного конуса. Горелочные устройства работы котла установлены тангенциально на боковой поверхности топки вблизи ее верхнего днища с направлением осей горелочных устройств касательно к окружности, диаметр которой вдвое меньше внутреннего диаметра топки. Водяная полость камеры дожигания сообщена с прилегающей к ней снизу полуцилиндрической водяной полостью. Топка через выпускное окно, расположенное на ее боковой поверхности в нижней части, сообщена с камерой дожигания, сообщающейся с конвективным газоходом. Конвективный газоход образован с внутренней стороны внешней цилиндрической обечайкой топки, а с наружных сторон – днищами соответственно верхнего и нижнего кольцевых водяных коллекторов и внешней полуобечайкой газохода, оборудованной в высокотемпературной области газохода вблизи камеры дожигания снаружи дополнительной водяной полостью, сообщенной с водяной полостью камеры дожигания и ограниченной своими днищами и внешней стенкой. Внутри конвективного газохода установлены ряды вертикальных водогрейных конвективных труб, сообщенных по оконечностям с верхним и нижним кольцевыми водяными коллекторами. Причем водогрейный котел содержит патрубок подвода исходной воды, установленный на внешней стенке дополнительной водяной полости, перепускной патрубок, соединяющий вход нагреваемой воды в нижнем кольцевом водяном коллекторе с выходом ее из полуцилиндрической водяной полости, и патрубок отвода нагретой воды от котла, установленный на верхнем кольцевом водяном коллекторе. Целесообразно выполнение конвективного газохода в частном случае, при котором выход конвективного газохода оборудован газонаправляющим щитом и сообщен с вихревой камерой дымовой коробки, которая в нижней части снабжена выпускным зольником в форме усеченного конуса, содержащим спаренные заслонки выгрузки золы.
Заявленная совокупность ограничительных и отличительных признаков улучшает технико-экономические, эксплуатационные и конструктивные характеристики котла.
Увеличение объема топочного пространства в несколько раз по сравнению с объемом камеры дожигания позволяет обеспечить более полное сгорание топлива в топке за счет роста температуры продуктов сгорания с ускорением физических процессов смесеобразования и химических реакций окисления, а в камере дожигания обеспечить только догорание продуктов неполного горения.
Тангенциальное размещение горелочных устройств на цилиндрической поверхности топки вблизи верхнего днища с направлением осевого потока по касательной к окружности, диаметр которой в два раза меньше внутреннего диаметра топки, позволяет организовать вихревое движение топливовоздушной смеси, сократить время и увеличить полноту выгорания топлива в топке.
Снабжение цилиндрической водяной полости между внешней и внутренней обечайками топки двумя вертикальными перегородками, разделяющими водяное пространство топки на две независимые полости, позволяет организовать движение нагреваемой воды по указанным полостям независимо и с большей скоростью за счет уменьшения площади поперечного сечения, что препятствует возникновению застойных зон с местным перегревом воды и цилиндрических обечаек.
Снабжение топки по верхнему днищу экранными водогрейными трубами, сообщенными своими оконечностями (через верхнее днище упомянутых полостей) с водяным цилиндрическим пространством топки, позволяет, во-первых, использовать их как радиационную поверхность теплообмена, во-вторых, обеспечить свободную кладку кирпичной изоляции по верхней образующей труб без специальных потолочных креплений, а в-третьих, обеспечить равномерный подвод и отвод нагреваемой воды по указанным полостям водяного цилиндрического пространства.
Снабжение топки по нижнему днищу осесимметричной уменьшающейся по диаметру конической (усеченного конуса) поверхностью зольника позволяет осуществить отвод золы из топки без опасности отложения последней на нижнем днище и уменьшить вынос золы в газоходы камеры дожигания и конвективной поверхности теплообмена.
Окружение камеры дожигания охлаждающей водяной полостью (ограниченной двухстенным пространством) позволяет обеспечить перемешивание продуктов неполного сгорания топлива и их полное догорание в объеме камеры, а также равномерный вход потока газов в конвективный газоход.
Снабжение конвективного газохода рядами вертикальных труб, сообщенных с кольцевыми верхним и нижним водяными коллекторами, с ограничительными поверхностями его канала в виде внешней обечайки цилиндрической водяной полости топки, верхнего и нижнего днищ кольцевых коллекторов и внешней полуобечайки газохода, снабженной в высокотемпературной области газохода водяной полостью, ограниченной своими днищами и внешней стенкой, позволяет, во-первых, оптимизировать скорость газового потока в конвективном газоходе, во-вторых, уменьшить внешний диаметр котла и, в-третьих, использовать внешнюю обечайку цилиндрической водяной полости топки в качестве дополнительной конвективной поверхности теплообмена, что в конечном итоге сокращает поверхность теплообмена труб.
Снабжение выхода конвективного газохода в частном виде его выполнения газонаправляющим щитом и сообщение с вихревой камерой дымовой коробки, снабженной в нижней части выпускным коническим зольником, содержащим спаренные заслонки выгрузки золы, позволяет дополнительно снизить концентрацию золовых частиц в уходящих газах котла и отводить их из этого зольника, в том числе при работе дымососа, что позволяет уменьшить аэродинамическое сопротивление газовых очистных устройств.
Расположение водовода по схеме прямотока с последовательно размещенными по ходу нагреваемой воды патрубком подвода исходной воды, водяными полостями внешней полуобечайки конвективного газохода, камеры дожигания, одной из половин цилиндрической полости топки, экранных труб, другой половины цилиндрической полости топки, перепускным патрубком, нижнего кольцевого коллектора, конвективного пучка труб, верхнего кольцевого коллектора, патрубком отвода нагретой воды позволяет снизить вероятность образования агрессивного конденсата на конвективной поверхности теплообмена котла и, как следствие, увеличить его ресурс.
Таким образом достигается улучшение конструктивных, технико-экономических и эксплуатационных характеристик водогрейного котла при появлении ряда дополнительных эффектов.
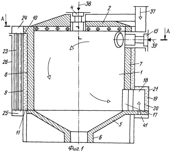
Заявляемое техническое решение поясняется следующими иллюстрациями. На фиг.1 представлена схема продольного сечения водогрейного котла, на фиг.2 – схема поперечного сечения (сечение А-А согласно виду фиг.1) водогрейного котла, на фиг.3 – сечение Б-Б согласно виду фиг.2.
Водогрейный котел имеет следующее устройство. Котел содержит вертикальную цилиндрическую топку 1, ограниченную верхним днищем 2 с экранными водогрейными трубами 3 и мазутным растопочным горелочным устройством 4. Ограничивающее топку 1 снизу нижнее днище 5 имеет осесимметрично установленный и выполненный в виде усеченного конуса зольник 6. Топка со всех сторон (по периметру) снабжена тепловой изоляцией 7, вокруг которой по боковой поверхности размещены внутренняя 8 и внешняя 9 цилиндрические обечайки с образованием между ними водяного цилиндрического пространства, ограниченного с верхней и нижней его зон (оконечности) соответствующими днищами 10 и 11 и заполненного нагреваемой водой. Две диаметрально противоположные вертикальные перегородки 12 разделяют указанное водяное пространство на две независимые полуцилиндрические водяные половины (полости) 13 и 14. Экранные водогрейные трубы 3 сообщены (не показано) своими оконечностями через верхнее днище 10 с водяными полостями соответственно половин 13 и 14.
Два горелочных устройства 15, подающие в топку водоугольную суспензию и дутьевой воздух, размещены по образующей наружной боковой цилиндрической поверхности топки вблизи верхнего днища 2 с направлением осевого потока по касательной к окружности 16, диаметр которой в два раза меньше внутреннего диаметра топки.
Выпускное окно 17 топки 1, размещенное на ее наружной боковой поверхности вблизи нижнего днища топки, сообщено с расположенной снаружи его камерой дожигания 18, которая снаружи ограничена полостью 19, ограниченной внутренней 20 и внешней 21 стенками (полукольцевыми вертикальными обечайками) с высотой, равной высоте топки (не показано) и соответственно двухслойными днищами, заполненными нагреваемой водой.
Камера дожигания 18 сообщена с конвективным газоходом 22, содержащим ряды вертикальных конвективных водогрейных труб 23, сообщенных оконечностями с кольцевыми верхним 24 и нижним 25 водяными коллекторами, нижний из которых свободно установлен на фундаментную опору котла, а верхний опирается на оконечности труб 23 (не показано). Ограничительные поверхности самого канала конвективного газохода 22 образованы внешней обечайкой 9 топки 1, верхним и нижним днищами кольцевых коллекторов 24 и 25 и внешней полуобечайкой 26 газохода, снабженной в районе камеры дожигания и высокотемпературной области газохода дополнительной водяной полостью 27. При этом эта полость 27 ограничена изнутри частью полуобечайки 26 и снаружи – внешней стенкой 28 и днищами (не показано). Выход конвективного газохода снабжен газонаправляющим щитом 29 и сообщен с вихревой камерой 30 дымовой коробки (не показана), которая в нижней части снабжена выпускным зольником 31 в виде усеченного конуса с накопительной емкостью 32, содержащей спаренные заслонки 33 для возможности наполнения и выгрузки золы.
Водовод котла образован последовательно размещенными по ходу нагреваемой воды элементами: патрубком подвода исходной воды 34 непосредственно к дополнительной водяной полости 27 и водяными полостями последовательно сообщенными (не показано) между собой – стенки 28 (полость 27), камеры дожигания 18 (полость 19), полуцилиндрической водяной полости 13, прилегающей к полости 19 камеры дожигания снизу (не показано), экранных водогрейных труб 3, полуцилиндрической водяной полости 14, перепускного (между полостью 14 и кольцевым коллектором 25) патрубка 35, полостями кольцевого коллектора 25 (нижнего), конвективных рядов водогрейных труб 23, кольцевого коллектора 24 (верхнего) и патрубка отвода воды 36.
Водогрейный котел используют следующим образом. При запуске котла в работу воздух от котельного вентилятора и мазут от топливного насоса (не показаны) по направлению стрелок соответственно 37 и 38 подводятся к растопочному горелочному устройству 4, которое включают в работу. После нагрева тепловой изоляции 7 запускают в работу горелочные устройства 15 с подводом водоугольной суспензии по направлению стрелки 39 и горелочное устройство 4 отключают. Благодаря направлению осей горелок 15 происходит вихревой процесс сгорания топлива в факеле топливовоздушной смеси с образованием продуктов сгорания топлива, которые через выпускное окно 17 подводятся в камеру дожигания 18. Золовые частицы топлива в вихревом потоке топки прижимаются к цилиндрической поверхности тепловой изоляции 7 и под действием сил тяжести перемещаются в зольник 6. В камеру дожигания 18 также подводится некоторое количество воздуха через патрубок 40 и поддувало 41 для полного сгорания топлива. Продукты сгорания далее следуют через газоход конвективной поверхности теплообмена и охлаждаются. Охлажденные продукты сгорания посредством газонаправляющего щита 29 вводятся в вихревую камеру 30 дымовой коробки, где происходит отделение крупных золовых частиц от потока. Очищенные газы отводятся по направлению стрелки 42 к средствам глубокой доочистки (не показаны), а зола перемещается под действием силы тяжести через зольник 31 в накопительную емкость 32. При заполнении емкости 32 спаренную заслонку 33 переводят в нижнее положение, при этом вихревая камера 30 с вакуумным давлением отключается от емкости 32 и происходит выгрузка золы из этой емкости. После выгрузки золы из емкости 32 заслонку 33 переводят в верхнее положение и процесс отделения золы от потока газов продолжается.
При запуске котла в работу исходную воду подают через патрубок 34, далее вода проходит последовательно через полость 27 высокотемпературной части газохода, полость 19 камеры дожигания, полость 13, по экранным трубам 3 перетекает в полость 14, из которой по патрубку 35 поступает в нижний кольцевой коллектор 25 и затем по конвективным трубам 23 отводится в верхний кольцевой коллектор 24. Нагретая вода отводится от котла по патрубку отвода воды 36 к потребителю. При этом обеспечиваются условия прямоточного теплообмена между газами и водой, что препятствует образованию агрессивного конденсата на поверхности конвективного пучка труб 23 и повышает надежность использования водогрейного котла на водоугольной суспензии.
Очистку конвективных труб 23 от отложений осуществляют следующим образом. Разъединяют перепускной патрубок 35 и отсоединяют газонаправляющий щит 29 от вихревой камеры 30 дымовой коробки. Посредством грузоподъемного устройства (не показано) поднимают кольцевые коллекторы 24 и 25 совместно с трубами 23 над верхним днищем топки 2, при этом обеспечивается свободный доступ ко всем элементам конвективного пучка и водяных полостей топки и камеры дожигания, что позволяет выполнять необходимые работы. Установка конвективного пучка на штатное место осуществляется в обратной последовательности.
Формула изобретения
1. Водогрейный котел, содержащий вертикальную цилиндрическую топку, покрытую теплоизоляцией, с полостью дожигания, ограниченную верхним и нижним днищами топки с тепловой изоляцией, а с боковой поверхности – внутренней и внешней обечайками топки с образованием между ними водяного цилиндрического пространства, ограниченного с верхней и нижней его зон соответствующими днищами, а также содержащий экранные и конвективные пучки водогрейных труб, водяные коллекторы, горелочные устройства растопки и работы котла с патрубками подвода топлива и воздуха, зольник, конвективный газоход и патрубки подвода исходной и отвода нагретой воды, отличающийся тем, что полость дожигания ограничена примыкающей к топке камерой с двойной стенкой и аналогичными днищами с образованием между ними водяной полости камеры дожигания; объем топочного пространства значительно превышает объем камеры дожигания; водяное цилиндрическое пространство между обечайками топки разделено двумя диаметрально противоположными перегородками на две разобщенные друг от друга полуцилиндрические водяные полости; к верхнему днищу топки прикреплены экранные водогрейные трубы, сообщенные своими оконечностями соответственно с упомянутыми противоположными полуцилиндрическими водяными полостями; зольник закреплен к нижнему днищу топки осесимметрично и выполнен в форме усеченного конуса; горелочные устройства работы котла установлены тангенциально на боковой поверхности топки вблизи ее верхнего днища с направлением осей горелочных устройств касательно к окружности, диаметр которой вдвое меньше внутреннего диаметра топки; водяная полость камеры дожигания сообщена с прилегающей к ней снизу полуцилиндрической водяной полостью; топка через выпускное окно, расположенное на ее боковой поверхности в нижней части, сообщена с камерой дожигания, сообщающейся с конвективным газоходом; конвективный газоход образован с внутренней стороны внешней цилиндрической обечайкой топки, а с наружных сторон – днищами соответственно верхнего и нижнего кольцевых водяных коллекторов и внешней полуобечайкой газохода, оборудованной в высокотемпературной области газохода вблизи камеры дожигания снаружи дополнительной водяной полостью, сообщенной с водяной полостью камеры дожигания и ограниченной своими днищами и внешней стенкой; внутри конвективного газохода установлены ряды вертикальных водогрейных конвективных труб, сообщенных по оконечностям с верхним и нижним кольцевыми водяными коллекторами, причем водогрейный котел содержит патрубок подвода исходной воды, установленный на внешней стенке дополнительной водяной полости, перепускной патрубок, соединяющий вход нагреваемой воды в нижнем кольцевом водяном коллекторе с выходом ее из полуцилиндрической водяной полости, и патрубок отвода нагретой воды от котла, установленный на верхнем кольцевом водяном коллекторе.
2. Водогрейный котел по п.1, отличающийся тем, что выход конвективного газохода оборудован газонаправляющим щитом и сообщен с вихревой камерой дымовой коробки, которая в нижней части снабжена выпускным зольником в форме усеченного конуса, содержащим спаренные заслонки выгрузки золы.
РИСУНКИ
MM4A – Досрочное прекращение действия патента СССР или патента Российской Федерации на изобретение из-за неуплаты в установленный срок пошлины за поддержание патента в силе
Дата прекращения действия патента: 09.12.2005
Извещение опубликовано: 10.06.2007 БИ: 16/2007
|
|