|
|
(21), (22) Заявка: 2003130315/03, 13.10.2003
(24) Дата начала отсчета срока действия патента:
13.10.2003
(45) Опубликовано: 20.05.2005
(56) Список документов, цитированных в отчете о поиске:
RU 95108158 А1, 10.02.1997. RU 2059162 С1, 27.04.1996. СОКОЛОВ Е.Я. Теплофикация и тепловые сети, Москва, Издательство МЭИ, 2001, стр.87, 88, рис.3.6 (г), стр.92. ДЕЛЯГИН Г.Н. Теплогенерирующие установки, Москва, Стройиздат, 1986, стр.406, рис.10.2.
Адрес для переписки:
432027, г.Ульяновск, ул. Северный Венец, 32, УлГТУ, Проректору по научной работе
|
(72) Автор(ы):
Шарапов В.И. (RU), Сабирзянов Д.Р. (RU)
(73) Патентообладатель(и):
Ульяновский государственный технический университет (RU)
|
(54) СИСТЕМА ТЕПЛОСНАБЖЕНИЯ
(57) Реферат:
Изобретение относится к области теплоэнергетики и может быть использовано в системах теплоснабжения городов. Технический результат: повышение экономичности теплоснабжения за счет утилизации теплоты низкого потенциала и повышение экологичности за счет отсутствия выбросов вредных веществ от теплоисточника в атмосферу. Система теплоснабжения содержит теплоисточник – нагнетатель теплоносителя, подключенный к вихревой трубе, соединенный с тепловым потребителем подающим и обратным трубопроводом теплоносителя. В подающий трубопровод теплоносителя включен выходящий из вихревой трубы трубопровод горячего потока теплоносителя, а трубопровод холодного потока теплоносителя, выходящий из вихревой трубы, подключен к всасывающему патрубку нагнетателя теплоносителя, причем холодный поток теплоносителя проходит через теплообменник, в который по трубопроводу поступает теплоноситель внешнего источника низкопотенциальной теплоты. 1 ил.

Изобретение относится к области теплоэнергетики и может быть использовано в системах теплоснабжения городов.
Известны аналоги – системы теплоснабжения, содержащие теплоисточник, соединенный с тепловым потребителем подающим и обратным трубопроводами теплоносителя (см. книгу Г.Н.Делягина, В.И.Лебедева, Б.А.Пермякова “Теплогенерирующие установки”, М., Стройиздат, 1986, рис. 10.2 на с.406). Этот аналог принят в качестве прототипа.
Недостатком аналогов и прототипа является пониженная экономичность и экологичность теплоснабжения.
Техническим результатом, достигаемым настоящим изобретением, является повышение экономичности теплоснабжения за счет утилизации теплоты низкого потенциала и экологичности за счет отсутствия выбросов вредных веществ от теплоисточника в атмосферу.
Для достижения этого результата предложена система теплоснабжения, содержащая теплоисточник, соединенный с тепловым потребителем подающим и обратным трубопроводами теплоносителя.
Отличием заявляемой системы является то, что в качестве теплоисточника установлен нагнетатель теплоносителя, соединенный с вихревой трубой, нагнетатель теплоносителя и вихревая труба с выходящим из нее трубопроводом горячего потока теплоносителя включены в подающий трубопровод теплоносителя, трубопровод холодного потока теплоносителя вихревой трубы соединен с входным патрубком нагнетателя теплоносителя и с источником низкопотенциальной теплоты.
Установка в качестве теплоисточника нагнетателя теплоносителя, соединенного с вихревой трубой, включение в подающий трубопровод теплоносителя нагнетателя теплоносителя и вихревой трубы с выходящим из нее трубопроводом горячего потока теплоносителя, соединение с входным патрубком нагнетателя теплоносителя трубопровода холодного потока теплоносителя вихревой трубы и соединение трубопровода холодного потока теплоносителя вихревой трубы с источником низкопотенциальной теплоты позволяют повысить экономичность теплоснабжения за счет утилизации теплоты низкого потенциала холодным потоком теплоносителя, выходящим из вихревой трубы и экологичность за счет отсутствия выбросов вредных веществ от теплоисточника в атмосферу.
Проведенный заявителем анализ уровня техники, включающий поиск по патентным и научно-техническим источникам и выявление источников, содержащих сведения об аналогах заявленного изобретения, позволил установить, что заявитель не обнаружил аналог, характеризующийся признаками заявленного изобретения. Определение из перечня выявленных аналогов прототипа как наиболее близкого по совокупности существенных признаков аналога позволило выявить совокупность существенных по отношению к техническому результату отличительных признаков, изложенных в формуле изобретения.
Следовательно, заявляемое изобретение соответствует условию “новизна”.
Для проверки соответствия заявленного изобретения условию “изобретательский уровень” заявитель провел дополнительный поиск известных решений, чтобы выявить признаки, совпадающие с отличительными от прототипа признаками заявленного способа. Результаты поиска показали, что заявленное изобретение не вытекает для специалиста явным образом из известного уровня техники, поскольку из уровня техники, определенного заявителем, не выявлено влияния предусматриваемых существенными признаками заявленного изобретения преобразований на достижение технического результата.
В частности, заявленным изобретением не предусмотрено дополнение известного средства какой-либо известной частью, присоединяемой к нему по известным правилам для достижения технического результата, в отношении которого установлено влияние именно таких дополнений.
Следовательно, заявленное изобретение соответствует условию “изобретательский уровень”.
Далее рассмотрим сведения, подтверждающие возможность осуществления изобретения с получением искомого технического результата.
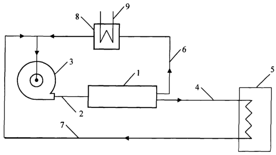
На чертеже изображена принципиальная схема системы теплоснабжения. Система теплоснабжения содержит вихревую трубу 1, подключенную напорным трубопроводом 2 к нагнетателю теплоносителя 3. Вихревая труба 1 подающим трубопроводом горячего потока 4 подключена к потребителю 5, а трубопроводом холодного потока 6 подключена к всасывающему патрубку нагнетателя теплоносителя 3, к которому также подключен обратным трубопроводом 7 потребитель 5. В трубопровод холодного потока 6 включен теплообменник 8, к которому подключен трубопровод внешнего источника низкопотенциальной теплоты 9.
Система теплоснабжения работает следующим образом.
Теплоноситель поступает в вихревую трубу 1 по напорному трубопроводу 2 с помощью нагнетателя теплоносителя 3. Горячий поток разделенного в вихревой трубе на горячий и холодный потоки теплоносителя по трубопроводу горячего потока 4 поступает потребителю 5, а холодный поток по трубопроводу холодного потока 6 поступает во всасывающий патрубок нагнетателя теплоносителя 3, причем холодный поток теплоносителя проходит через теплообменник 8, в который по трубопроводу 9 поступает теплоноситель внешнего источника низкопотенциальной теплоты, тем самым утилизируется теплота низкопотенциального источника теплоты. Охлажденный у потребителя теплоноситель по обратному трубопроводу 7 поступает во всасывающий патрубок нагнетателя теплоносителя 3.
Экономичность теплоснабжения повышается за счет утилизации теплоты низкого потенциала холодным потоком теплоносителя, выходящим из вихревой трубы, а экологичность теплоснабжения повышается за счет отсутствия выбросов вредных веществ от теплоисточника в атмосферу.
Вышеизложенные сведения свидетельствуют о выполнении при использовании заявленной системы следующей совокупности условий:
– средство, воплощающее заявленную систему теплоснабжения, предназначено для использования в промышленности в области теплоэнергетики;
– для заявленной системы в том виде, как она охарактеризована в формуле изобретения, подтверждена возможность ее осуществления с помощью описанных в заявке средств и методов;
– система теплоснабжения, воплощающая заявленное изобретение, при его осуществлении способна обеспечить достижение искомого технического результата.
Следовательно, заявленное изобретение соответствует условию “промышленная применимость”.
Формула изобретения
Система теплоснабжения, содержащая теплоисточник – нагнетатель теплоносителя, подключенный к вихревой трубе, соединенный с тепловым потребителем подающим и обратным трубопроводами теплоносителя, отличающаяся тем, что в подающий трубопровод теплоносителя включен выходящий из вихревой трубы трубопровод горячего потока теплоносителя, а трубопровод холодного потока теплоносителя, выходящий из вихревой трубы, подключен к всасывающему патрубку нагнетателя теплоносителя, причем холодный поток теплоносителя проходит через теплообменник, в который по трубопроводу поступает теплоноситель внешнего источника низкопотенциальной теплоты.
РИСУНКИ
MM4A – Досрочное прекращение действия патента СССР или патента Российской Федерации на изобретение из-за неуплаты в установленный срок пошлины за поддержание патента в силе
Дата прекращения действия патента: 14.10.2005
Извещение опубликовано: 20.03.2007 БИ: 08/2007
|
|