|
|
(21), (22) Заявка: 2003114547/06, 15.05.2003
(24) Дата начала отсчета срока действия патента:
15.05.2003
(43) Дата публикации заявки: 10.11.2004
(45) Опубликовано: 20.05.2005
(56) Список документов, цитированных в отчете о поиске:
RU 2011092 C1, 15.04.1994. SU 94031186 A1, 10.08.1996. SU 892084 А1, 23.12.1981. GB 2233737 A, 16.01.1991.
Адрес для переписки:
450062, г.Уфа, а/я 44, ООО “Нафтасервис”
|
(72) Автор(ы):
Султанов Б.З. (RU), Галимуллин М.Л. (RU)
(73) Патентообладатель(и):
ООО “Нафтасервис” (RU)
|
(54) КЛАПАН СКВАЖИННОГО ПЛУНЖЕРНОГО НАСОСА
(57) Реферат:
Клапан скважинного плунжерного насоса предназначен для использования при добыче нефти из скважин. Клапан плунжерного скважинного насоса содержит корпус и пустотелый затвор. В теле головки затвора выполнена кольцевая полость. Последняя гидравлически связана с подклапанным пространством. В последнем размещен хвостовик, которым снабжена нажимная втулка. Седло клапана выполнено двухступенчатым по диаметру. В нижней части седла в рабочем положении размещается головка затвора. В верхней части седла размещается подвижная нажимная втулка. Последняя взаимодействует с выполненным из полиуретана герметизирующим кольцом. Сквозной канал в затворе снабжен заглушкой. Последняя выполнена в виде втулки. В проходном канале последней размещен поршень. Последний зафиксирован от осевого перемещения штифтом и ограничительной шайбой с направляющим стержнем. Обеспечивается увеличение герметизирующей способности клапанного узла. 1 з.п. ф-лы, 2 ил.

Изобретение относится к нефтедобывающей отрасли промышленности, в частности к скважинным штанговым насосам, применяемым для добычи нефти.
Известен клапан плунжерного скважинного насоса, состоящий из корпуса, седла, затвора в виде шарика и клетки, имеющей фигурные вырезы для прохождения откачиваемой жидкости (Молчанов Г.В., Молчанов А.Г. Машины и оборудование для добычи нефти и газа, Москва, изд-во “Недра”, 1984 г.). Недостатком конструкции клапана является ненадежная герметизирующая способность, так как касание шарового затвора по поверхности седла происходит по линейному принципу и поэтому малейший износ, коррозия или механические частицы приводят к разгерметизации клапанного узла. В конечном счете это снижает коэффициент наполнения насоса и приводит к необратимости ремонта скважины.
Наиболее близким по конструктивному оформлению и принципу действия является всасывающий клапан штангового скважинного насоса (RU 2011092 С1, МПК 7 F 16 К 15/02, 15.04.1994). Указанный клапан содержит корпус, в котором размещено седло с опорными поверхностями, затвор с направляющим хвостовиком в виде втулки с лопастями. Затвор установлен в корпусе с возможностью осевого перемещения и снабжен подвижным кольцом, взаимодействующим с герметизирующим резиновым кольцом круглого сечения.
Недостатком данной конструкции является малый ресурс, так как подвижное кольцо под действием столба откачиваемой жидкости передает всю нагрузку при каждом цикле работы насоса на резиновое герметизирующее кольцо и за счет изжовывания быстро выводит его из строя. Кроме этого, клапан не снабжен демпфирующим устройством, снижающим динамическую нагрузку на подвижное кольцо.
Целью изобретения является увеличение герметизирующей способности и ресурса клапанного узла, а следовательно, повышение межремонтного периода работы скважинной насосной установки.
Поставленная цель достигается тем, что величина хода подвижного нажимного кольца, хвостовик которого размещен в кольцевой полости головки затвора, гидравлически связанной с полостью под клапаном, ограничена глубиной кольцевой полости, что предотвращает передачу всей нагрузки от столба откачиваемой жидкости на герметизирующее эластичное кольцо, выполненное из полиуретана. Кроме этого, подвижное запорное кольцо выполнено большего размера по диаметру, чем запорная головка, и при входе в отверстие седла соответственно большего размера создает демпфирующий эффект за счет вытеснения жидкости через калиброванные щели из полости, образованной каналом седла и подвижным запорным кольцом.
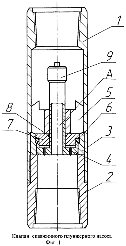
На фиг. 1 изображен клапан плунжерного скважинного насоса (продольный разрез); на фиг.2 – сливная заглушка в закрытом (а) и открытом (б) положениях.
Клапан скважинного плунжерного насоса состоит из корпуса 1, в котором с помощью упорного переводника 2 закреплено седло 3, внутренний канал которого выполнен ступенчатым, то есть имеет два размера по диаметру. В полости корпуса установлен затвор 4 с возможностью осевого перемещения до контакта с упорной поверхностью седла 3 посредством втулки, снабженной направляющими лопастями. Головка затвора 4 снабжена кольцевой полостью, имеющей сквозные осевые отверстия.
На наружной поверхности направляющей втулки 5 имеются лопасти, контактирующие с внутренней цилиндрической поверхностью корпуса 1. Головка затвора при закрытом положении клапана сопряжена с нижним малым каналом седла 3 и снабжена эластичным полиуретановым герметизирующим кольцом 6. В канале седла 3 большего размера размещена подвижная втулка 7, имеющая кольцевой хвостовик.
По оси затвора 4 выполнено сквозное отверстие – сливной канал А, снабженное заглушкой 9, герметизирующей указанный канал в рабочем положении.
Принцип действия клапана заключается в следующем: клапан с помощью резьбы присоединяется к цилиндру насоса и отпускается в скважину на колонне труб. Плунжер насоса опускается на штангах. При создании возвратно-поступательного движения плунжера происходит открытие и закрытие всасывающего и нагнетательного клапанов. При закрытии клапана в начальный момент затвор 4 входит в широкую часть канала седла 2, затем по мере движения вниз затвор 4 входит в суженный канал седла 3. В результате подвижная втулка 7 входит в канал и отсекает кольцевую полость, из которой жидкость может истекать только через щели между деталями клапана и седла. За счет этого создается демпфирующий эффект и смягчение удара при закрытии клапана. Подвижная втулка 7, перемещаясь вниз, цилиндрическим хвостовиком достигает дна кольцевой полости в головке затвора, в результате чего эластичный герметизирующий элемент – кольцо 6 сжимается на заданную расчетную величину и не получает перенапряжений. При этом сжатие кольца 6 происходит на величину полной герметизации клапана. Перемещение подвижной втулки 7 гарантируется перепадом давления в трубной колонне НКТ и в затрубном пространстве, так как полость под клапаном гидравлически связана с полостью в колонне НКТ с помощью осевых сверлений в головке затвора 4.
По мере роста давления в зоне нагнетания через затвор 4 подвижная втулка 7 давит на эластичное кольцо 6 и, распирая его, прижимает к седлу 3, что предотвращает утечки.
В момент всасывания при движении жидкости через клапан подвижная втулка 7 перемещается вверх и освобождает кольцо 6 от нагрузки. Для предотвращения утечек жидкости через затвор между стволом затвора 4 и подвижной втулкой 5 используется уплотнительное резиновое кольцо 8.
При смене насоса после подъема плунжера в подъемные трубы сбрасывается груз с плоским наконечником. Под действием ударной нагрузки заглушка 9 разгерметизируется и внутритрубная полость освобождается от жидкости, так как пробка 10, установленная в корпусе заглушки 9, под действием ударной нагрузки перемещается вниз (фиг.2, а и б) и освобождает канал В для прохода жидкости из полости НКТ в затрубное пространство. Для нормальной работы заглушки 9 должны быть соблюдены условия:
ll2
d1>d2
Пробка 10 размещается при работе насоса в канале заглушки 9 и удерживается в этом положении срезным штифтом 12, для ограничения хода вниз пробки 10 установлена шайба 13, имеющая направляющий стержень. В нижнем положении пробки 10 сливной канал В открыт для прохода жидкости из подъемных труб НКТ в затрубную полость скважины.
Заглушка может быть открыта путем создания избыточного давления внутри подъемных труб до заданной расчетной величины, при этом пробка 10 будет выбита вниз путем срезания штифта 12, как показано на фиг.2,б.
Формула изобретения
1. Клапан плунжерного скважинного насоса, содержащий корпус, седло, пустотелый затвор в виде цилиндрической втулки с лопастями и герметизирующим кольцом, отличающийся тем, что в теле головки затвора выполнена кольцевая полость, гидравлически связанная с подклапанным пространством, в которой размещен хвостовик, которым снабжена нажимная втулка, а седло клапана выполнено двухступенчатым по диаметру, причем в нижней, меньшей, части в рабочем положении размещается головка затвора, в верхней, большей – подвижная нажимная втулка, причем нажимная втулка взаимодействует с герметизирующим кольцом, выполненным из полиуретана.
2. Клапан по п.1, отличающийся тем, что сквозной канал в затворе снабжен заглушкой, выполненной в виде втулки, в проходном канале которой размещен поршень, зафиксированный от осевого перемещения штифтом и ограничительной шайбой с направляющим стержнем.
РИСУНКИ
MM4A – Досрочное прекращение действия патента СССР или патента Российской Федерации на изобретение из-за неуплаты в установленный срок пошлины за поддержание патента в силе
Дата прекращения действия патента: 16.05.2008
Извещение опубликовано: 20.06.2010 БИ: 17/2010
|
|