|
|
(21), (22) Заявка: 2003128569/06, 23.09.2003
(24) Дата начала отсчета срока действия патента:
23.09.2003
(45) Опубликовано: 20.05.2005
(56) Список документов, цитированных в отчете о поиске:
SU 785579 A, 07.12.1980. SU 1780573 А3, 07.12.1992. SU 1831623 A3, 30.07.1993. GB 1587875 A, 08.04.1981. FR 2695184 A1, 04.03.1994. DE 2439645 A1, 27.03.1975. EP 0467292 A1, 22.01.1992.
Адрес для переписки:
350051, г.Краснодар, ул. Дзержинского, 34, ОАО НПО “Промавтоматика”
|
(72) Автор(ы):
Коблев А.Н. (RU), Коновалов И.Л. (RU), Ушенин А.В. (RU)
(73) Патентообладатель(и):
Открытое акционерное общество “НПО “Промавтоматика” (RU)
|
(54) РЕГУЛИРУЮЩЕЕ УСТРОЙСТВО
(57) Реферат:
Изобретение относится к трубопроводной арматуре, а именно к отключающим устройствам с запорным элементом, совершающим скользящее движение вдоль седловой поверхности между впускным и выпускным каналами, и предназначено для установки на газовых скважинах станций подземного хранения газа (СПХГ) для регулирования расхода природного газа при отборе и для закачки газа с минимальным гидравлическим сопротивлением. В корпусе регулирующего устройства с входным и выходным каналами и проходным отверстием в седле установлены плоский шибер с отверстием и вкладышем. Шибер соединен со штоком привода. В корпусе за седлом со стороны штока выполнены вертикальный канал и дополнительное седло. Вертикальный канал сообщает между собой входной и выходной каналы. В корпусе расположен запорный орган с герметизирующей поверхностью. Запорный орган установлен с возможностью взаимодействия герметизирующей поверхностью с дополнительным седлом и перемещения над ним. Изобретение направлено на повышение надежности и экономичности работы устройства благодаря уменьшению потери напора при закачке газа в скважину. 2 ил.

Изобретение относится к трубопроводной арматуре, а именно к отключающим устройствам с запорным элементом, совершающим скользящее движение вдоль седловой поверхности между впускным и выпускным каналами, и может быть использовано для установки на газовых скважинах станций подземного хранения газа (СПХГ) для регулирования расхода природного газа при отборе и для закачки газа с минимальным гидравлическим сопротивлением.
Известно запорно-регулирующее устройство, содержащее седло, корпус с входным и выходным патрубками, в полости которого установлен шибер с отверстием и вкладышем, связанный штоком с приводом (патент СССР №1780573, кл. F 16 K 3/00, 1990).
Недостатком этого устройства является невозможность использования его на СПХГ для закачки газа в скважину после завершения отбора, так как оно полностью перекрывает проходное сечение при обратном потоке газа.
Известен регулирующий штуцер, содержащий корпус с входным и выходным отверстиями, соосно которым с возможностью поступательного перемещения по направляющим поверхностям установлены плоские шиберы, связанные с приводом и имеющие соосные отверстия (а.с. №438826, кл F 16 K 3/34, 1973 г.).
Наиболее близким по совокупности существенных признаков, выбранным в качестве прототипа, является запорно-регулирующее устройство, в корпусе которого с проходным отверстием в седле установлены плоский шибер с отверстием, соединенный со штоком привода, и вкладыш (а.с. №785579, 4 МПК F 16 K 3/00, 17.10.75).
На СПХГ добыча газа из скважины чередуется с закачкой газа в скважину компрессорными установками. Известные устройства могут использоваться на СПХГ для регулирования расхода газа при его отборе из скважин, при этом, как правило, площадь проходного сечения устройств значительно меньше площади сечения трубопроводов, на которых они установлены, но они являются существенной помехой при закачке газа в скважины, создающей потерю напора.
Недостатком известных устройств является их низкая надежность и экономичность, обусловленные тем, что при закачке газа в скважину требуются дополнительные энергетические затраты компрессорных установок на преодоление значительного местного гидравлического сопротивления, создаваемого устройством.
Задача, достигаемая изобретением, состоит в том, чтобы создать такое техническое решение, при использовании которого обеспечивалась бы надежность и повышалась экономичность работы устройства.
Для достижения названного технического результата в корпусе регулирующего устройства с входным и выходным каналами и проходным отверстием в седле установлены плоский шибер с отверстием, соединенный со штоком привода, и вкладыш.
Заявляемое регулирующее устройство отличается от прототипа тем, что в корпусе за седлом со стороны штока выполнены вертикальный канал, сообщающий между собой входной и выходной каналы и дополнительное седло, при этом в корпусе расположен запорный орган с герметизирующей поверхностью, установленный с возможностью взаимодействия герметизирующей поверхностью с дополнительным седлом и перемещения над ним.
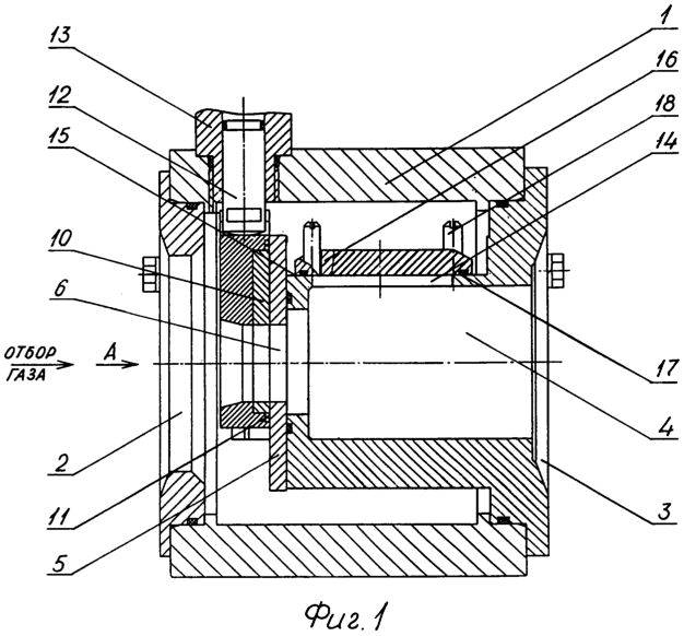
Предлагаемое изобретение изображено на чертеже, где на фиг.1 изображен продольный разрез устройства в открытом положении при отборе газа из скважины, на фиг.2 – вид А на фиг.1 (крышка снята).
Устройство содержит корпус 1 с входным 2 и выходным 3 каналами и проходным отверстием 4. Внутри корпуса по оси проходного отверстия установлено седло 5 с отверстием 6. В седле между направляющими 7 установлены плоский шибер 8 с отверстием 9, вкладыш 10 и уплотнительный элемент 11, герметизирующий уплотнительные поверхности вкладыша и седла на всем диапазоне регулирования. Плоский шибер соединен со штоком 12 привода 13.
В корпусе за седлом со стороны штока выполнены вертикальный канал 14, сообщающий между собой входной и выходной каналы и дополнительное седло 15. В корпусе расположен запорный орган 16 с герметизирующей поверхностью 17. Запорный орган установлен на четырех симметрично расположенных направляющих штифтах 18, закрепленных в корпусе, с возможностью взаимодействия герметизирующей поверхностью с дополнительным седлом и перемещения над ним.
Устройство работает следующим образом. При отборе газа из скважины запорный орган 16 под действием перепада давления на плоском шибере 8 своей герметизирующей поверхностью 17 прижимается к дополнительному седлу 15, герметично перекрывая проход газу из входного канала 2 через канал 14 в выходной канал 3.
При необходимости регулирования расхода газа при отборе его из скважины подают соответствующий сигнал на привод 13, шток 12 которого перемещает плоский шибер 8 с вкладышем 10 вниз относительно седла 5, в результате чего отверстие 6 в седле 5 частично закрывается шибером 8 и происходит регулирование (уменьшение) расхода газа.
При закачке газа в скважину запорный орган 16 под действием скоростного напора и перепада давления на плоском шибере 8 перемещается по направляющим штифтам 18 от дополнительного седла 15 до упора в корпус 1, открывая проход газу из выходного канала 3 через канал 14 во входной канал 2.
Благодаря уменьшению потери напора при закачке газа в скважину обеспечивается надежность и повышается экономичность работы устройства.
Формула изобретения
Регулирующее устройство, в корпусе которого с входным и выходным каналами и проходным отверстием в седле установлены плоский шибер с отверстием, соединенный со штоком привода, и вкладыш, отличающееся тем, что в корпусе за седлом со стороны штока выполнены вертикальный канал, сообщающий между собой входной и выходной каналы, и дополнительное седло, при этом в корпусе расположен запорный орган с герметизирующей поверхностью, установленный с возможностью взаимодействия герметизирующей поверхностью с дополнительным седлом и перемещения над ним.
РИСУНКИ
|
|