|
(21), (22) Заявка: 2003101458/11, 20.01.2003
(24) Дата начала отсчета срока действия патента:
20.01.2003
(43) Дата публикации заявки: 27.07.2004
(45) Опубликовано: 20.05.2005
(56) Список документов, цитированных в отчете о поиске:
SU 1121523 А, 30.10.1984. SU 1133450 A, 07.01.1985.
Адрес для переписки:
140170, Московская обл., г. Бронницы, ФГУП 21 НИИИ Минобороны России
|
(72) Автор(ы):
Дёмик В.В. (RU), Бронников В.В. (RU), Тарасов А.С. (RU)
(73) Патентообладатель(и):
ФГУП 21 Научно-исследовательский испытательный институт Минобороны России (RU)
|
(54) СПОСОБ РЕГУЛИРОВАНИЯ ВНЕШНЕЙ ХАРАКТЕРИСТИКИ ГИДРОДИНАМИЧЕСКОЙ ПЕРЕДАЧИ
(57) Реферат:
Изобретение относится к машиностроению и может быть использовано при разработке гидродинамических передач. В гидродинамической передаче изменение коэффициента трансформации происходит в результате изменения вязкости рабочей жидкости в рабочей полости, образованной пространствами лопаточных венцов реакторных колес, путем изменения напряжения. Напряжение подают на обмотки, создающие магнитное поле с вектором магнитной индуктивности, которое вызывает в рабочей жидкости магнитовязкостный эффект. В качестве рабочей жидкости применяется магнитная жидкость. Технический результат – регулирование внешней характеристики гидродинамической передачи путем изменения коэффициента трансформации в процессе работы. 1 ил.

Изобретение относится к энергетическому машиностроению и может быть использовано при создании гидродинамических передач.
Известен способ регулирования внешней характеристики гидродинамической передачи путем поворота лопаток их лопастных колес (1).
Недостатком способа является узкий диапазон регулирования.
Известен способ регулирования внешней характеристики гидродинамической передачи путем изменения плотности рабочего тела – смешением двух жидкостей с различными плотностями перед подачей в рабочую полость (2).
Недостатком метода является возникновение инерционности передачи вследствие невозможности мгновенного изменения характеристик жидкости до требуемых, что не обеспечивает плавности регулирования. Возникает необходимость в дополнительном гидрооборудовании, что снижает надежность и увеличивает вес и габариты передачи, ограниченный диапазон регулирования.
Наиболее близким техническим решением к предлагаемому является способ регулирования внешней характеристики гидродинамической передачи, основанный на изменении плотности рабочего тела, путем изменения управляющего напряжения, подаваемого непосредственно в рабочую полость, где в качестве рабочей жидкости использовалась электрореологическая суспензия (3).
Недостатком способа является необходимость обеспечения электрозащиты в связи с подачей электропитания непосредственно в рабочую полость гидропередачи, невозможность использования передачи в режиме трансформации момента при отсутствии электропитания. Изменение вязкости в данной передаче происходит по всему объему, что не позволяет управлять коэффициентом трансформации.
Технический результат предлагаемого способа достигается за счет регулирования внешней характеристики гидродинамической передачей путем изменения коэффициента трансформации в процессе работы передачи.
Изменение коэффициента трансформации происходит в результате изменения вязкости рабочей жидкости в рабочей полости, образованной пространствами лопаточных венцов реакторных колес, путем изменения напряжения, подаваемого на обмотки, создающих магнитное поле с вектором магнитной индукции, которое вызывает в рабочей жидкости магнитовязкостный эффект. В качестве рабочей жидкости применяется магнитная жидкость.
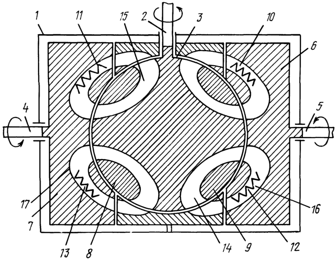
На чертеже показано устройство, с помощью которого реализуется способ.
Устройство содержит размещенные в корпусе 1 ведущий вал 2 с установленным на нем насосным колесом 3, два соосных ведомых вала 4 и 5, перпендикулярных ведущему валу 2. На валах 4 и 5 установлены соответственно турбинные колеса 6 и 7. В корпусе 1 также расположены неподвижно реакторы 8 и 9.
Насосное колесо 3 выполнено сферической формы с двумя симметричными относительно ведомых валов 4 и 5 лопастными венцами 10 и 11. Лопастные венцы 12 и 13 соответственно турбинных колес 6 и 7 симметричны относительно ведущего вала, а сами турбинные колеса 6 и 7, как и реакторы 8 и 9, образуют сферическую поверхность, охватывающую наружную сферическую поверхность насосного колеса 3.
Реакторы 8 и 9 имеют лопастные венцы 14 и 15 соответственно, симметричные относительно ведомых валов 4 и 5. В лопастные венцы 14 и 15 реакторов 8 и 9 соответственно впрессованы управляемые обмотки (соленоиды) 16 и 17 соответственно, подключенные к источнику питания и системе управления. Рабочая жидкость является магнитной жидкостью.
Устройство работает следующим образом. При вращении ведущего вала 2 от двигателя (не показан) рабочая магнитная жидкость, заполняющая лопастные венцы 10-15, под воздействием центробежных сил движется от оси вращения насосного колеса 3 к периферии.
Потоки жидкости, выходящие из лопастных венцов 10 и 11, взаимодействуют с лопастными венцами 12 и 13 турбинных колес 6 и 7 соответственно, приводя во вращение ведомые валы 4 и 5. Далее рабочая жидкость по лопастным венцам 14, 15 реакторов 8 и 9 вновь поступает на лопастные венцы 10 и 11 насосного колеса 3.
Таким образом, мощность, подводимая к ведущему валу 2 гидродинамической передачи, разделяется на два равных потока и передается на два соосных ведомых вала 4 и 5, перпендикулярных ведущему валу 2.
В случае необходимого перераспределения потока мощности по ведомым полуосям (обеспечение индивидуального привода на колеса тележки) система управления подает напряжение электрического тока на управляемые соленоиды 16 и 17 в реакторах, пропорциональное необходимому перераспределению мощности. При подаче напряжения на соленоиды в пространствах лопаточных венцов реакторных колес возникает вектор магнитной индукции, который вызывает в жидкости магнитовязкостный эффект – возрастание вязкости, пропорциональное напряженности магнитного поля. С ростом напряженности магнитного поля в соленоидах жидкость затормаживается, что вызывает перепад давления на соответствующем реакторном колесе, изменяет скорость движения и напор жидкости на соответствующей турбине.
В результате момент, подводимый к ведущему валу 2, распределяется на два различных по величине потока в соответствии с необходимым (заданным) алгоритмом для данного режима движения или эксплуатации, повышается гидравлический момент турбинных колес и коэффициент трансформации. Величина изменения вязкости регулируется напряженностью магнитного поля.
Применение предлагаемого способа обеспечивает индивидуальный привод на разные агрегаты, широкий диапазон регулирования, автоматизирование процесса управления, осуществляет нагрузку двигателя в наиболее экономичных режимах с повышенными тяговыми свойствами передачи.
ИСТОЧНИКИ ИНФОРМАЦИИ
1. Стесин С.П., Яковенко Е.А. Гидродинамические передачи. М., Машиностроение, 1973, 352 с.
2. Авторское свидетельство СССР, МПК F 16 Н 41/06, № 981744.
3. Авторское свидетельство СССР, МПК F 16 H 41/06, № 1121523.
Формула изобретения
Способ регулирования внешней характеристики гидродинамической передачи, заключающийся в том, что регулирование осуществляется путем изменения коэффициента трансформации, отличающийся тем, что коэффициент трансформации изменяют путем изменения напряжения, подаваемого на обмотки, создающие в рабочем пространстве магнитное поле с вектором магнитной индукции, которое вызывает в рабочей жидкости магнитовязкий эффект.
РИСУНКИ
|