|
|
(21), (22) Заявка: 2003128903/06, 29.09.2003
(24) Дата начала отсчета срока действия патента:
29.09.2003
(45) Опубликовано: 20.05.2005
(56) Список документов, цитированных в отчете о поиске:
DE 900079 А, 17.12.1953. SU 1745134 A3, 30.06.1992. SU 47951 A, 31.07.1936. SU 3459 A, 31.08.1927. RU 2067690 С1, 10.10.1996. WO 00/70219 А1, 23.11.2000. DE 3015756 А1, 29.10.1981. FR 2450362 А, 31.10.1980. ШЕФТЕР Я.И., РОЖДЕСТВЕНСКИЙ И.В. Изобретателю о ветродвигателях и ветроустановках, Москва, издательство Министерства Сельского хозяйства СССР, 1957, с.55-58, рис.44-45.
Адрес для переписки:
121309, Москва, ул. Б. Филевская, 17, кв.148, Р.А. Янсону
|
(72) Автор(ы):
Янсон Р.А. (RU), Ряснянская Т.Г. (RU), Гасилов А.В. (RU)
(73) Патентообладатель(и):
Янсон Ричард Александрович (RU), Ряснянская Татьяна Геннадьевна (RU), Гасилов Алексей Владимирович (RU)
|
(54) ВЕТРОПНЕВМОТУРБИННАЯ УСТАНОВКА С ДИФФУЗОРОМ, ИМЕЮЩИМ ДВА ВДУВА
(57) Реферат:
Изобретение относится к ветроэнергетике и используется в горизонтально-осевых ветроустановках с пневматическим способом передачи ветровой мощности от ветродвигателя к потребителю (электрогенератору). Техническим результатом является увеличение КПД (коэффициента полезного действия) пневмопередачи и увеличение коэффициента использования энергии ветра, которые достигаются, во-первых, за счет размещения свободно вращающегося ветроколеса с полыми лопастями внутри атмосферного диффузора при входе в него, и, во-вторых, за счет использования при торможении потока в диффузоре кинетической энергии струй воздуха, уходящих из Т-образных периферийных устройств полых лопастей. При вращении ветродвигателя развиваемая им полезная мощность расходуется на прокачку воздуха внутри полых лопастей и периферийных устройств, которые вращаются в кольцевой нише на внутренней стенке диффузора. В результате, в пневмомагистрали устанавливается давление ниже атмосферного, что дает возможность наземной воздушной турбине работать за счет перепада давления между атмосферным давлением и давлением в пневмомагистрали. Воздушная турбина приводит во вращение электрогенератор. Использование кинетической энергии выходящей из периферийного устройства струи воздуха происходит после прохода этого воздуха по кольцевому каналу в пограничный слой на внутренней стенке диффузора, где через кольцевой канал образуется вдув вращающихся по окружности отдельных струй. Второй вдув в кольцевой канал ниже по потоку осуществляется за счет кинетической энергии наружного атмосферного потока и разности статических давлений на внешней и внутренней стенках диффузора. Регулирование работы ветропневмотурбинной установки осуществляется поворотом лопастей, изменением расхода воздуха через воздушную турбину при помощи регулируемого соплового аппарата и увеличением расхода воздуха через полые лопасти при помощи открытия регулируемых каналов в торце гондолы. 4 ил.

Изобретение относится к области энергетики, а именно к ветроэнергетическим установкам.
Известно устройство (ветропневмотурбинная установка), преобразующее энергию воздушного потока в механическую мощность привода электрогенератора при помощи установленного на мачте-трубе свободновращающегося горизонтально-осевого ветроколеса с полыми лопастями, наземной воздушной турбины и соединяющей их посредством мачты-трубы пневмомагистрали с давлением воздуха в ней ниже атмосферного /1/ – прототип. К недостаткам этого ветроагрегата относятся пониженный КПД пневмопередачи, составляющий величину порядка 0,5, и увеличенный размер хорды лопасти. Увеличение размера хорды лопасти особенно на ее периферии обусловлено течением внутри лопасти с допустимой скоростью необходимого количества воздуха. Это вызывает увеличение профильных потерь, что ведет к снижению КПД ветродвигателя; а также снижает расчетное значение аэродинамического коэффициента подъемной силы профиля Су, что ведет к перегрузке ветродвигателя с ростом скорости ветра выше расчетного значения. Пониженный КПД пневмопередачи в значительной степени обусловлен тем, что в прототипе невозможно использовать значительную по величине кинетическую энергию уходящий из лопасти струи воздуха.
Известно устройство, преобразующее энергию воздушного потока в механическую мощность привода электрогенератора при помощи горизонтально-осевого ветроагрегата с ветродвигателем, имеющим диффузор со вдувом атмосферного воздуха в пограничный слой на его внутренней стенке (/2/ стр.134 и далее) – аналог. Одним из недостатков этого ветроагрегата является расположение электромеханического оборудования в башне, над землей, что усложняет монтаж, обслуживание и ремонт.
Задачей изобретения, на решение которой направлены предлагаемые ниже технические решения, является увеличение эффективной работы ветроустановки с пневматическим способом передачи мощности ветрового потока к потребителю при помощи ветродвигателя с атмосферным диффузором и с полыми лопастями, в которых происходит процесс сжатия воздуха, наземной воздушной турбины, в которой осуществляется получение полезной работы в процессе расширения в ней атмосферного воздуха, и соединяющей их пневмомагистрали, давление воздуха в которой меньше атмосферного.
Техническим результатом является увеличение КПД пневмопередачи и увеличение коэффициента использования энергии ветра.
Решение поставленной задачи по достижению заявленного технического результата осуществляется следующими способами.
1) В схему ветроустановки прототипа /1/ добавляется атмосферный диффузор. Так же, как и в случае аналога /2/, установка за ветродвигателем диффузора со вдувом потока атмосферного воздуха позволяет уменьшить статическое давление за ветродвигателем, увеличить расход воздуха через него и мощность, извлекаемую из воздушного потока. Увеличение расходной скорости перед ветродвигателем позволяет увеличить окружную скорость на периферии лопасти при сохранении оптимальной величины коэффициента быстроходности. В отличие от рассматриваемого аналога /2/ с ветродвигателем, имеющим сплошные лопасти, увеличение окружной скорости на периферии лопасти приводит в данном случае к достижению нового технического результата, а именно к увеличению степени повышения давления в процессе сжатия воздуха внутри канала полой лопасти, т.е. к увеличению разрежения за воздушной турбиной и, следовательно, к увеличению степени понижения полного давления в воздушной турбине при неизменном заданном значении ее мощности. Это позволяет уменьшить расход воздуха внутри лопасти, в результате чего уменьшается суммарная потеря кинетической энергии уходящей из лопасти струи воздуха, уменьшается хорда лопасти, ее масса, уменьшаются профильные потери и в результате возрастает как КПД ветродвигателя, так и КПД пневмопередачи. Кроме того, при небольшом абсолютном значении степени понижения полного давления в воздушной турбине (в прототипе порядка 1,05…1,08) ее увеличение повышает КПД воздушной турбины. Одновременно уменьшение хорды лопасти приводит к росту коэффициента подъемной силы Су и позволяет снизить перегрузку ветродвигателя при увеличении скорости ветра выше расчетной.
2) Внутренняя поверхность диффузора на определенном расстоянии от его входа выполняется в виде кольцевой ниши, в которой вращаются периферийные устройства полых лопастей. Периферийные устройства выполнены Т-образной формы, что дает возможность формировать поток выходящего из них воздуха в виде слегка изогнутых вокруг оси ветродвигателя струй. Эти струи входят затем в кольцевой канал, расположенный под внутренней поверхностью диффузора, и выходят на его внутреннюю поверхность в пограничный слой перед местом его возможного отрыва от стенки, являясь первым вдувом, в виде отдельных вращающих по окружности струй, число которых равно числу лопастей. Вдув воздуха в пограничный слой на стенке диффузора приводит к увеличению эффективности процесса торможения потока в диффузоре, к возможности увеличения угла его раскрытия, т.е. к уменьшению его длины. Таким образом, установка атмосферного диффузора у ветродвигателя с полыми лопастями в отличие от аналога /2/, имеющего ветродвигатель со сплошными лопастями, приводит к достижению еще одного нового технического результата, а именно позволяет улучшить энергетические показатели процесса повышения статического давления в диффузоре за счет использования кинетической энергии струй воздуха, выходящих из полых лопастей ветродвигателя.
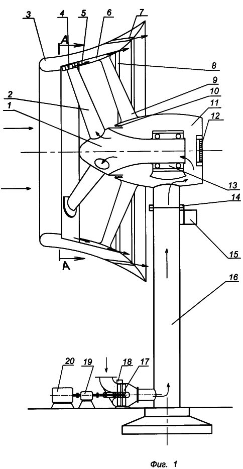
На фиг.1 изображена принципиальная конструктивная схема ветропневмотурбинной установки с диффузором, имеющим два вдува воздуха в пограничный слой на его внутренней стенке. На фиг.2 дана развертка сечения В-В периферийного устройства и каналов, подводящих вдуваемые струи к щели вдува. На фиг.3 дано сечение А-А для ветродвигателя с тремя лопастями. На фиг.4 дан разрез С-С периферийного устройства.
Ветропневмотурбинная установка состоит из следующих основных узлов: ветродвигателя 1, атмосферного диффузора 3 с двумя кольцевыми каналами 8 и 7 для вдува, полой мачты-пневмомагистрали 16, наземной воздушной турбины 17, вырабатывающей полезную мощность, электрогенератора 20. Ветродвигатель 1 (свободновращающееся ветроколесо) имеет полый ротор и полые лопасти 2, на периферии которых располагаются Т-образные периферийные устройства 4 для выхода воздуха. На внутренней поверхности диффузора 3 на определенном расстоянии от его входа выполняется кольцевая ниша 5, в которой вращаются периферийные устройства 4. Ротор 1 свободно вращается в подшипниковых опорах 13. Полые лопасти 2 аэродинамически соединены через полый ротор и пневмомагистраль 16 с воздушной наземной турбиной 17. Турбина 17 механически, возможно через редуктор 19, соединена с электрогенератором 20. Диффузор 3 конструктивно соединяется с гондолой 11 при помощи стоек 9 и имеет на внутренней поверхности два кольцевых канала: канал 7 для вдува в пограничный слой наружного ветрового потока и канал 8 для вдува воздуха, вышедшего в виде струи 30 из периферийного устройства 4 полой лопасти 2. Периферийное устройство 4 (фиг.2, 3, 4) выполнено в виде полого Т-образного козырька, внутри которого имеются изогнутые каналы (например, три канала 21, 22, 23), являющиеся продолжением внутреннего полого канала 24 лопасти 2. Каналы 21, 22, 23 направляют выходящий поток воздуха вдоль хорды 29 лопасти 2. Передняя часть 25 периферийного устройства 4 имеет обтекаемую аэродинамическую форму с плоскими в направлении длины лопасти 2 боковыми поверхностями 26. Кольцевой канал 6 в диффузоре 3 разделен внутренними профилированными лопатками 27 на отдельные межлопаточные каналы 28, имеющими увеличивающуюся в направлении течения площадь поперечного сечения. Угол выхода лопатки 27 может быть не равен нулю. Длина L межлопаточного канала 27 определяется следующими условиями: время пролета частицы воздуха по межлопаточному каналу 27 должно быть меньше интервала времени от момента ухода при вращении по окружности одного периферийного устройства 4 от входа в этот канал до момента появления в этом месте другого периферийного устройства 4. Между вращающимся ротором 1 и гондолой 11 находится лабиринт 10. Воздушная турбина 17 имеет поворотный регулируемый сопловой аппарат 18. В торце гондолы 11 располагаются регулируемые каналы 12 впуска воздуха в пневмомагистраль.
Ветропневмотурбинная установка работает следующим образом. При помощи гидро- или электромеханического привода 15 и поворотного устройства 14 ветроустановка ориентируется на направление ветра. Ветровой поток раскручивает ветродвигатель 1, вследствие чего развиваемая на его роторе полезная мощность расходуется на прокачку воздуха внутри полых лопастей 2. В результате, в пневмомагистрали 16 устанавливается давление ниже атмосферного, что дает возможность наземной воздушной турбине 17 работать за счет использования перепада давления между атмосферным давлением и давлением в пневмомагистрали 16, приводя во вращение электрогенератор 20. Воздух, прошедший через воздушную турбину 17, пневмомагистраль 16 и полые лопасти 2, выходит из периферийных устройств 4 с относительной скоростью Wc в виде струи 30 (изображенной в своем относительном движении) и, имея окружную составляющую скорости U, поступает в кольцевой канал 6 с абсолютной скоростью Сс, периодически проходя по межлопаточным каналам 28, выходя из которых этот поток воздуха создает кольцевой вдув на стенке диффузора. Длина межлопаточного канала 28 обеспечивает нахождение в нем не менее одной порции воздуха, вышедшей в виде струи 30 из периферийного устройства 4. Это исключает возвратное движение воздуха по межлопаточному каналу 28 из области повышенного давления при выходе из него в область пониженного давления при входе в него. Дополнительное наполнение межлопаточных каналов 28 набегающим потоком воздуха из диффузора обеспечивается за счет воздействия поверхности 26 периферийного устройства 4 на натекающий на его переднюю часть 25 поток воздуха, имеющий относительную скорость W1a (фиг.2). Сойдя с поверхности 26 с относительной скоростью W2a и получив переносную скорость Ua, этот поток воздуха входит в межлопаточный канал 28 с абсолютной скоростью Са. Вдув обтекающего диффузор наружного атмосферного воздуха в кольцевой канал 7, а затем в пограничный слой на стенке диффузора происходит за счет кинетической энергии этого наружного потока и разности давлений на внешней и внутренней поверхности диффузора. Регулирование работы ветропневмотурбинной установки осуществляется поворотом лопастей 2 для изменения угла установки (механизм поворота не показан), а также изменением расхода воздуха через воздушную турбину 17 при помощи механизма поворота ее соплового аппарата 18 и увеличением расхода воздуха через полые лопасти 2 при помощи открытия регулируемых каналов 12 в торце гондолы 11.
Возможность осуществления изобретения подтверждается использованием в качестве прототипа и аналога устройств, которые были ранее изготовлены и успешно функционировали. По патенту /1/ (прототип) в 1953 г. английской фирмой Enfild Cables Ltd была изготовлена ветроустановка с пневмопередачей, имеющая электрогенератор мощностью 100 кВт /3/. По схеме ветроустановки с диффузором (аналог) в 1996 г. в Новой Зеландии была смонтирована и пущена в работу ветроустановка Vortec – 7 с электрогенератором мощностью 1000 кВт /4/.
Источники информации
1. Патент Германии №900079, кл. F 03 D 11/02.
2. “Ветроэнергетика” под ред. Д. де Рензо. Пер. с англ. под ред. Я.И.Шефтера. – М.: Энергоатомиздат, 1982. – 272 с.
3. Wind – Generated Electricity. Prototype 100-kW Plant. “Engineering”. V.180, №4652, 1955. (March 25, 1955). – Р.371-374.
4. Bruce Cole. New turbine could offer low cost wind power. “Modem Rotor Systems”. August 1977. – P.27-30.
Формула изобретения
Ветропневмотурбинная установка с диффузором, имеющим два вдува, содержащая свободно вращающееся ветроколесо с полыми лопастями, воздушную турбину, расположенную на земле и вырабатывающую полезную мощность, пневмомагистраль, соединяющую полые лопасти ветроколеса и воздушную турбину, и атмосферный диффузор, при этом на внутренней стенке диффузора имеется кольцевая ниша, в которой вращаются периферийные устройства полых лопастей, и каналы для двух кольцевых вдувов в пограничный слой, возникающий на внутренней стенке диффузора наружного атмосферного потока воздуха и потока воздуха, вышедшего из периферийных устройств полых лопастей и прошедшего затем через первый кольцевой канал вдува, который расположен под внутренней поверхностью стенки диффузора и разделен изогнутыми лопатками на отдельные межлопаточные каналы, выходя из которых этот поток воздуха создает кольцевой вдув на стенке диффузора, состоящий из вращающихся по окружности струй.
РИСУНКИ
|
|