|
|
(21), (22) Заявка: 2003112909/03, 18.04.2003
(24) Дата начала отсчета срока действия патента:
18.04.2003
(43) Дата публикации заявки: 10.12.2004
(45) Опубликовано: 20.05.2005
(56) Список документов, цитированных в отчете о поиске:
RU 2119372 C1, 27.09.1998. SU 129588 A, 10.06.1960. SU 9720629 A, 07.11.1982. RU 2022999 C1, 15.11.1994. RU 2103501 C1, 27.01.1998. RU 2079328 C1, 20.05.1997. US 3432426 A, 11.03.1969.
Адрес для переписки:
450068, г.Уфа, ул. Вологодская, 21/1, кв.7, В.Ф. Шаякберову
|
(72) Автор(ы):
Рамазанов Н.Р. (RU), Мингулов Ш.Г. (RU), Гатауллин Ш.Г. (RU), Гепштейн Ф.С. (RU), Шаякберов В.Ф. (RU)
(73) Патентообладатель(и):
Общество с ограниченной ответственностью “Башминерал” (RU)
|
(54) СЕПАРАЦИОННАЯ УСТАНОВКА
(57) Реферат:
Изобретение относится к области оборудования для нефтедобывающей промышленности, а именно к установкам для разделения продукции нефтяных скважин на нефть и воду. Обеспечивает уменьшение работы устройства и возможность работы в зимних условиях без искусственного обогрева. Сущность изобретения: устройство содержит колонну с трубопроводами подвода водонефтяной эмульсии и отвода нефти и воды. Согласно изобретению устройство снабжено пакером в скважине, в которой расположена колонна. Трубопровод подвода водонефтяной эмульсии подсоединен тангенциально к верхней части колонны с возможностью закручивания водонефтяной эмульсии и ее разделения под действием центробежных сил на нефть и воду. Нижняя часть колонны открыта. Трубопровод отвода нефти расположен внутри колонны. Трубопровод отвода воды образован внутренней поверхностью скважины и наружной поверхностью колонны и подсоединен к устью скважины. 1 з.п. ф-лы, 1 ил.

Изобретение относится к области оборудования для нефтедобывающей промышленности, а именно к установкам для разделения продукции нефтяных скважин на нефть и воду.
Известна сепарационная установка, содержащая колонну с трубопроводами подвода водонефтяной эмульсии и отвода нефти и воды и газа, при этом колонна выполнена наклонной, подводящий трубопровод соединен с наклонной колонной на расстоянии, равном 0,2-0,25 длины колонны, а нижняя ее часть снабжена трубопроводом для сброса свободной воды, соединенным с газоотводящим коллектором, колонна расположена на поверхности (Авторское свидетельство СССР №1482932, МПК7 B 01 D 19/00, опубл. 23.06.1989 г.).
Недостатком данной установки являются большие размеры, необходимость искусственного обогрева при работе в зимних условиях, она способна разделять водонефтяную эмульсию на нефть и воду при сравнительно небольшом содержании воды.
Наиболее близким по технической сущности и достигаемому результату к заявляемому объекту является сепарационная установка, содержащая колонну с трубопроводами подвода водонефтяной эмульсии и отвода нефти и воды, при этом колонна выполнена наклонной и содержит нефтяную и водную секции, трубопровод подвода газожидкостной смеси оснащен успокоителем потока и газоотделителем, нефтяная секция в месте подвода газожидкостной смеси установлена под углом к водной секции, причем угол наклона первой больше угла наклона второй, трубопровод подвода газожидкостной смеси выполнен с возможностью двухпоточного ввода газожидкостной смеси в виде распределителя потоков, входные концы которого размещены в водной и нефтяной секциях, колонна расположена на поверхности (Патент РФ №2119372, МПК7 B 01 D 19/00, опубл. 27.09.1998 г.).
Недостатком данной установки являются большие размеры, необходимость искусственного обогрева при работе в зимних условиях.
Предлагаемое изобретение направлено на уменьшение размеров, обеспечение возможности работы в зимних условиях без искусственного обогрева.
Это достигается тем, что в сепарационной установке, содержащей колонну с трубопроводами подвода водонефтяной эмульсии и отвода нефти и воды, колонна расположена в скважине, трубопровод подвода водонефтяной эмульсии подсоединен тангенциально к верхней части колонны, нижняя часть колонны открыта, трубопровод отвода нефти, выполненный в виде трубы меньшего диаметра, чем колонна, расположен внутри колонны, причем оси колонны и трубопровода отвода нефти параллельны, а трубопровод отвода воды подсоединен к устью скважины. Кроме того, трубопровод отвода нефти может быть оснащен регулирующим устройством.
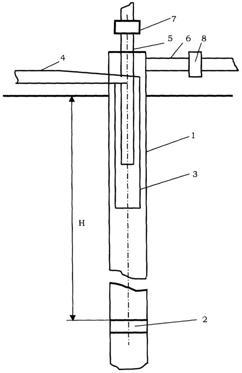
На чертеже изображена сепарационная установка.
Сепарационная установка находится в скважине 1 с пакером 2. Установка содержит колонну 3 с трубопроводами подвода водонефтяной эмульсии 4 и отвода нефти 5 и воды 6. Колонна 3 расположена в скважине 1, трубопровод подвода водонефтяной эмульсии 4 подсоединен тангенциально к верхней части колонны 3. Нижняя часть колонны 3 открыта. Трубопровод отвода нефти 5 расположен внутри колонны 3. Трубопровод отвода воды 6 подсоединен к устью скважины 1. В некоторых случаях трубопровод отвода нефти может быть оснащен регулирующим устройством 7. В некоторых случаях трубопровод отвода нефти может быть оснащен регулирующим устройством 7.
Сепарационная установка работает следующим образом.
Водонефтяная эмульсия по трубопроводу подвода 4 поступает в верхнюю часть колонны 3, расположенной в скважине 1. В колонне 3 эмульсия за счет тангенциального входа закручивается в кольцевой полости, образованной внутренней поверхностью колонны 3 и наружной поверхностью трубопровода отвода нефти 5. Под действием центробежных сил происходит разделение эмульсии на нефть и воду, причем нефть движется по наружной поверхности трубопровода отвода нефти 5. После прохождения разделенной на нефть и воду жидкости трубопровода отвода нефти 5 на входе в него образуется каверна, заполненная нефтью, которая начинает поступать во входное отверстие трубопровода отвода нефти 5. Более тяжелая вода движется далее вниз внутри колонны 3 и вытекает из нее в скважину 1. Затем вода начинает подниматься вверх по кольцевой полости, образованной внутренней поверхностью скважины 1 и наружной поверхностью колонны 3. В случае, если из трубопроводов отвода нефти 5 или воды 6 начинает вытекать недостаточно разделенная жидкость, то качество ее регулируется регулирующими устройствами 7 и 8 соответственно.
Таким образом, предлагаемое изобретение позволяет уменьшить размеры и обеспечить работу в зимних условиях без искусственного обогрева.
Формула изобретения
1. Сепарационная установка, содержащая колонну с трубопроводами подвода водонефтяной эмульсии и отвода нефти и воды, отличающаяся тем, что она снабжена пакером в скважине, в которой расположена колонна, а трубопровод подвода водонефтяной эмульсии подсоединен тангенциально к верхней части колонны с возможностью закручивания водонефтяной эмульсии и ее разделения под действием центробежных сил на нефть и воду, при этом нижняя часть колонны открыта, трубопровод отвода нефти расположен внутри колонны, а трубопровод отвода воды образован внутренней поверхностью скважины и наружной поверхностью колонны и подсоединен к устью скважины.
2. Сепарационная установка по п.1, отличающаяся тем, что оси колонны и трубопровода отвода нефти параллельны или совпадают.
РИСУНКИ
MM4A – Досрочное прекращение действия патента СССР или патента Российской Федерации на изобретение из-за неуплаты в установленный срок пошлины за поддержание патента в силе
Дата прекращения действия патента: 19.04.2007
Извещение опубликовано: 20.07.2008 БИ: 20/2008
|
|