|
|
(21), (22) Заявка: 2003119873/03, 04.07.2003
(24) Дата начала отсчета срока действия патента:
04.07.2003
(43) Дата публикации заявки: 20.12.2004
(45) Опубликовано: 20.05.2005
(56) Список документов, цитированных в отчете о поиске:
RU 2029740 C1, 27.02.1995. RU 2111181 C1, 20.05.1998. SU 391316 A, 03.12.1973. US 4199336 A, 22.04.1980. US 4698086 A, 06.10.1987.
Адрес для переписки:
141551, Московская обл., Солнечногорский р-н, п. Андреевка, ОАО “НПО Стеклопластик”
|
(72) Автор(ы):
Громков Б.К. (RU), Чебряков С.Г. (RU), Трофимов А.Н. (RU)
(73) Патентообладатель(и):
Открытое акционерное общество “НПО Стеклопластик” (RU)
|
(54) УСТРОЙСТВО ПОДАЧИ РАСПЛАВА ГОРНЫХ ПОРОД ИЛИ СТЕКЛА И ФОРМОВАНИЯ НЕПРЕРЫВНЫХ ВОЛОКОН
(57) Реферат:
Изобретение относится к устройствам получения непрерывного волокна, в частности к устройствам для подачи расплава горных пород или стекла из фидера стекловаренной печи к фильерным питателям, при формовании волокна. Техническим результатом изобретения является повышение эксплуатационной надежности в течение длительного времени со стабильными показателями по расходу стекломассы при оптимальном градиенте температур по элементам устройства. Устройство включает электрообогреваемый полый элемент, верхний и нижний токоподводы, пару верхних и нижних зажимов токоподводов, формующее устройство со стыковочным фланцем в верхней части корпуса. Расстояние от внешней кромки стыковочного фланца формующего устройства до внутренней кромки нижнего зажима токоподводов находится в пределах 2 – 25 мм. Устройство дополнительно может быть снабжено герметичной высокотемпературной прокладкой, установленной в зазоре между парой нижних и верхних зажимов токоподводов. 1 з.п. ф-лы, 2 ил.

Изобретение относится к устройствам получения непрерывного волокна, в частности к устройствам для подачи расплава горных пород или стекла из фидера печи к фильерным питателям, при формовании стекловолокна, и может быть использовано на предприятиях по производству базальтового волокна и стекловолокна.
Известно устройство выработки непрерывного волокна из базальтового сырья (патент РФ №2111181, кл. С 03 В 37/09,1966 г. – аналог), включающее обогреваемый фильерный питатель, систему стыковки питающей трубки и фильерного питателя и узел приемки волокна.
Однако данная конструкция не обладает достаточной эксплуатационной надежностью, не позволяющей эксплуатировать устройство длительный период времени со стабильными показателями по истечению базальтовой массы.
Наиболее близким к изобретению по технической сущности является питающее устройство для подачи расплава стекла (патент РФ №2029740, кл. С 03 В 7/22,1992 г. – прототип), включающее электрообогреваемый полый элемент, токоподводы, пару верхних и нижних зажимов токоподводов и формующее устройство со стыковым фланцем в верхней части корпуса.
Недостатком данного устройства является то, что оно не обладает достаточной надежностью и не позволяет эксплуатировать данное устройство в течение длительного времени, имея при этом стабильные показатели истечения расплава базальта.
Техническим результатом изобретения является повышение эксплуатационной надежности в течение длительного времени со стабильными показателями по расходу стекломассы при оптимальном градиенте температур по элементам устройства.
Технический результат достигается за счет того, что в устройстве подачи расплава горных пород или стекла и формирования непрерывных волокон, включающем электрообогреваемый полый элемент, токоподводы, пару верхних и нижних зажимов токоподводов и формующее устройство со стыковочным фланцем в верхней части корпуса, причем нижний токоподвод питающего устройства является элементом, контактирующим со стыковочным фланцем формующего устройства, а пара нижних зажимов токоподводов несет на себе функцию холодильника, обеспечивающего герметичность между нижним токоподводом и фланцем формующего устройства, причем расстояние от внешней кромки стыковочного фланца формующего устройства до внутренней кромки нижнего зажима токоподводов находится в пределах 2-25 мм, устройство дополнительно снабжено герметичной высокотемпературной прокладкой, установленной в зазоре между парой нижних и верхних зажимов токоподводов, причем верхний и нижний токоподводы, стыковочные верхние и нижние зажимы токоподводов, находящиеся в контакте с герметичной высокотемпературоной прокладкой, образуют замкнутое пространство, в котором находится электрообогреваемвй полый элемент.
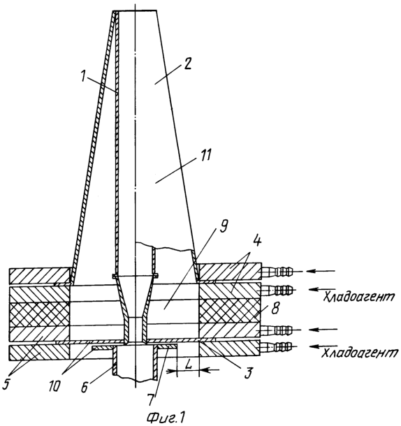
Устройство подачи расплава горных пород или стекла и формования непрерывных волокон представлено на фиг.1 и 2, где на фиг.1 – схема питающего устройства со стыковочным фланцем в верхней части фильерного питателя; на фиг.2 – то же, без стыковочного фланца.
Устройство включает:
1 – полый элемент;
2 – верхний токоподвод;
3 – нижний токоподвод;
4 – пара верхних зажимов токоподвода;
5 – пара нижних зажимов токоподвода;
6 – устройство формования непрерывного волокна;
7 – стыковочный фланец формующего устройства;
8 – герметичная прокладка;
9 – замкнутый контур;
10 – фланцевое соединение;
11 – питающее устройство.
Устройство работает следующим образом.
Расплав горных пород базальта поступает в электрообогреваемый полый элемент 1 (фиг.1), проходя через него дополнительно гомогенизируется, термически усредняется и поступает в формующее устройство 6, проходя через фланцевое соединение 10, причем герметичность фланцевого соединения 10 между нижним токоподводом 3 питающего устройства и стыковочным фланцем 7 формующего устройства 6 осуществляют за счет нижних зажимов 5 токоподвода 3, а расстояние L от внешней кромки стыковочного фланца формующего устройства 7 до внутренней кромки нижнего зажима токоподвода 5, находясь в пределах 2-25 мм, обеспечивает герметичность стыковочного узла с достаточной степенью надежности без возможности электрического контакта устройства подачи расплава и устройства формования непрерывного волокна.
В устройстве может быть дополнительно установлена высокотемпературная прокладка 8, обеспечивающая более надежную герметизацию вышеуказанных устройств.
Если расстояние от внешней кромки стыковочного фланца до внутренней кромки нижнего зажима токоподвода 2 мм, то возможен контакт питающего устройства и формующего, что приводит к разрушению вышеуказанного устройства, а если расстояние>25 мм, то возможен вариант разгерметизации стыковочного узла.
Формула изобретения
1. Устройство подачи расплава горных пород или стекла и формования непрерывных волокон, включающее электрообогреваемый полый элемент, токоподводы, пару верхних и пару нижних зажимов токоподводов и формующее устройство со стыковочным фланцем в верхней части корпуса, отличающееся тем, что нижний токоподвод питающего устройства является элементом, контактирующим со стыковочным фланцем формующего устройства, а пара нижних зажимов токоподводов несет на себе функцию холодильника, обеспечивающего герметичность между нижним токоподводом и фланцем формующего устройства, причем расстояние от внешней кромки стыковочного фланца формующего устройства до внутренней кромки нижнего зажима токоподводов находится в пределах 2÷25 мм.
2. Устройство подачи расплава горных пород или стекла и формования непрерывных волокон по п.1, отличающееся тем, что устройство дополнительно снабжено герметичной высокотемпературной прокладкой, установленной в зазоре между парой нижних и верхних зажимов токоподводов, причем верхний и нижний токоподводы, стыковочные верхние и нижние зажимы токоподводов, находящиеся в контакте с герметичной высокотемпературной прокладкой, образуют замкнутое пространство, в котором находится электрообогреваемый полый элемент.
РИСУНКИ
|
|