|
|
(21), (22) Заявка: 2002122354/15, 16.08.2002
(24) Дата начала отсчета срока действия патента:
16.08.2002
(43) Дата публикации заявки: 20.02.2004
(45) Опубликовано: 20.05.2005
(56) Список документов, цитированных в отчете о поиске:
RU 2183592 С2, 20.06.2002. SU 929599 A, 23.05.1982. SU 941315 A, 07.07.1982. SU 1463721 A1, 07.03.1989. Я.А.КАРЕЛИН и др. Очистка производственных сточных вод в аэротенках. – М.: Стройиздат, 1973, с.200-214.
Адрес для переписки:
354065, Краснодарский край, г. Сочи, ул. Чайковского, 47, ООО “Фирма “Экос”
|
(72) Автор(ы):
Куликов Н.И. (RU), Рождов И.И. (RU), Приходько Людмила Николаевна (UA)
(73) Патентообладатель(и):
ООО “Фирма “Экос” (RU)
|
(54) УСТАНОВКА БИОЛОГИЧЕСКОЙ ОЧИСТКИ СТОЧНЫХ ВОД
(57) Реферат:
Изобретение относится к устройствам биологической очистки бытовых и близких к ним по составу промышленных сточных вод и может быть использовано в коммуникационном хозяйстве и на промышленных предприятиях. Установка биологической очистки сточных вод включает резервуар, поделенный перегородками на ступени, секции, отсеки ступеней биореакторов, системы коммуникаций для подвода, распределения и отвода сточных вод, рециркуляции иловых смесей, подвода воздуха, тонкослойные пульсационные илоотделители, волокнистую насадку для удержания гидробионтов, коммуникации для выведения осадков сточных вод из очистной установки. Резервуар выполнен трехступенчатым с разновеликими ступенями. Вторая ступень вдвое больше первой, а третья ступень на треть больше первой. Первая и вторая ступени снабжены отсеками тонкослойных пульсационных илоотделителей. Размеры тонкослойного пульсационного илоотделителя в первой ступени в полтора раза меньше, чем во второй ступени. По форме первая ступень выполнена идеальным смесителем, а вторая и третья ступени в значительной степени вытеснителями. Насадка помещена во второй и третьей ступенях. Коммуникации для выведения осадков сточных вод за пределы установки предусмотрены исключительно в третьей ступени. Технический результат: увеличение эффективности удаления из сточных вод фосфора и азота, многократное уменьшение удельного объема емкостей, снижение энергоемкости и упрощение эксплуатации. 3 ил.

Изобретение относится к устройствам биологической очистки бытовых и близким к ним по составу промышленных сточных вод и может быть использовано в коммуникационном хозяйстве и на промышленных предприятиях.
Известны устройства для биологической очистки сточных вод [1], в которых сточная жидкость, освобожденная от крупных механических примесей прореживанием и отстаиванием в песколовках, направляется на обработку свободноплавающим активным илом, возвращаемым после последующего отстаивания иловой смеси на повторное использование. Известные устройства гарантируют удаление биологическим путем с удаляемыми осадками не более 30% фосфора, до 70% азота, требуют емкости резервуаров для очистки сточных вод до 1 м3/м3 сточных вод (относительно суточного расхода) и не менее 0,5 кВт-час электроэнергии на 1 м3 сточных вод. Такие параметры работы установок не удовлетворяют современным требованиям как по степени очистки, так и по капиталовложениям и эксплуатационным затратам.
Наиболее близким по технической сущности к устройству, которое заявляется, является установка для биохимической очистки сточных вод [2], включающая резервуар, поделенный вертикальными перегородками на секции и отсеки многоступенчатого биореактора, системы коммуникаций для подвода, распределения и отвода сточных вод, рециркуляции иловых смесей, подвода воздуха, оборудования для разделения разбавленных иловых смесей, волокнистую насадку для удерживания иммобилизованных гидробионтов, тонкослойные пульсационные илоотделители и приспособления к ним, обеспечивающие пульсацию уровня воды.
Установка обеспечивает некоторое уменьшение объема резервуара, но не позволяет повысить эффективность удаления азота и фосфора, упростить эксплуатацию и уменьшить удельные энергозатраты, существенно уменьшить удельный объем сооружений на единицу объема очищаемых сточных вод.
В основу изобретения поставлена задача усовершенствования установки для биохимической очистки сточных вод, в которой резервуар, поделенный перегородками на ступени, секции и отсеки, имеющий тонкослойные пульсационные илоотделители, волокнистую насадку для удерживания гидробионтов, системы коммуникаций для подвода, распределения и отвода сточных вод, рециркуляции иловых смесей, подвода воздуха и отвода накапливающегося избыточного осадка на сгущение и последующее обезвоживание, выполняется трехступенчатым с разновеликими ступенями, на первой и второй ступенях с тонкослойными пульсационными илоотделителями, в первой ступени идеальным смесителем, во второй и третьей ступенях – вытеснителями, с отводом осадка исключительно из третьей ступени, чем обеспечивается увеличение эффективности удаления из сточных вод фосфора и азота, многократное уменьшение удельного объема емкостей установки, снижение энергоемкости и упрощение эксплуатации.
Поставленная задача решается тем, что установка биологической очистки сточных вод в соответствии с изобретением включает резервуар, поделенный перегородками на ступени и секции, и отсеки ступеней биореакторов, системы коммуникаций для подвода, распределения и отвода сточных вод, рециркуляции иловых смесей, подвода воздуха, тонкослойные пульсационные илоотделители, волокнистую насадку для удержания гидробионтов, коммуникации для выведения осадков сточных вод из очистной установки. Резервуар выполнен трехступенчатым с разновеликими ступенями, причем вторая ступень вдвое больше первой, а третья ступень на треть больше первой; первая и вторая ступени снабжены отсеками тонкослойных пульсационных илоотделителей, при этом размеры тонкослойного пульсационного илоотделителя в первой ступени в полтора раза меньше, чем во второй ступени; по форме первая ступень выполнена идеальным смесителем, а вторая и третья ступени в значительной степени вытеснителями; насадка помещена во второй и третьей ступенях, а коммуникации для выведения осадков сточных вод за пределы установки предусмотрены исключительно в третьей ступени.
Проведенные патентные исследования показали, что ни в патентной, ни в научно-технической литературе нет сведений про установки биологической очистки сточных вод таким способом, какой охарактеризован в формуле изобретения, что дает основания утверждать, что предлагаемая установка отвечает критерию “новизна”.
Сравнительный анализ приспособлений, что используются в известных технических решениях и в том числе в прототипе, показал на существенные признаки, отличающие предлагаемое решение.
Преимущества, что достигаются, свидетельствуют о том, что задачи, которые решаются, выполнены на изобретательском уровне, поскольку оно не вытекает очевидно из известных в данной области техники решений и поэтому отвечает критерию патентоспособности “изобретательский уровень”.
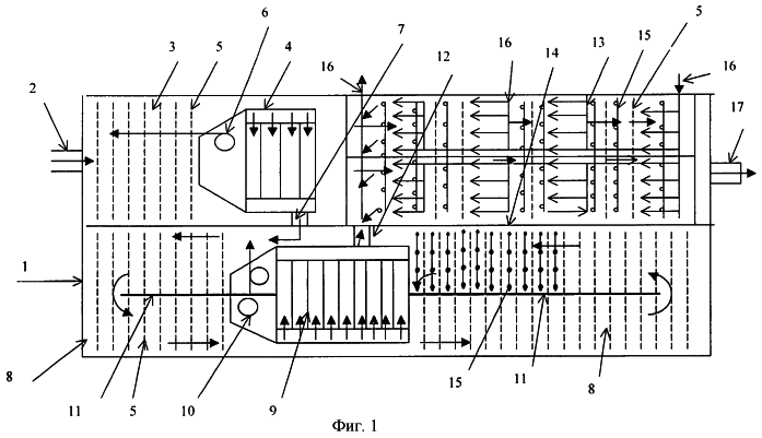
Предлагаемая установка поясняется чертежами, где на фиг.1 – очистная установка биологической очистки сточных вод, фиг.2 – зависимость содержания фосфора в сухом веществе ила от суточной нагрузки по БПКполн, фиг.3 – зависимость выноса взвешенных веществ ила от скорости протока сточных вод в тонкослойном пульсационном илоотделителе.
Установка биологической очистки сточных вод состоит из прямоугольного резервуара 1, лотка 2 впуска сточных вод в первую 3 ступень очистки сточных вод, снабженную отсеком с тонкослойным пульсационным илоотделителем 4. В первой 3 ступени биореакторов по днищу размещены барботеры 5 для аэрации иловой смеси. Из поддона тонкослойного пульсационного илоотделителя 4 ил отводится эрлифтом 6 к месту впуска сточных вод в ступень 3. Частично очищенная сточная жидкость из илоотделителя 4 по лотку 7 отводится во вторую 8 ступень. Вторая ступень 8 представляет собой двухкоридорный аэротенк. По днищу аэротенка расположены барботеры 5. В конце второго коридора аэротенка расположен тонкослойный пульсационный илоотделитель 9, разделяющий иловую смесь аэротенка на два потока. Один поток эрлифтом 10 перекачивает иловую смесь через перегородку 11 на вход первого коридора аэротенка к месту подвода лотком 7 сточной жидкости из первой 3 ступени биореакторов. Второй поток по лотку 12 отводится отводит сточную жидкость в третью 13 ступень, поделенную перегородкой 14 на две параллельно работающие секции. Третья ступень 13 биореакторов и второй коридор второй 8 ступени оснащены волокнистой насадкой 15 в виде поперечных завес на всю глубину воды в резервуаре.
По днищу резервуара 1 в третьей 13 ступени биореакторов смонтирована гидромеханизированная система коммуникаций 16 для выведения осадков сточных вод из резервуара 1 на сгущение и обезвоживание. По днищу резервуара 1 в третьей 13 ступени уложены барботеры 5 аэрации.
Установка биологической очистки сточных вод работает следующим образом.
Сточная жидкость поступает по лотку 2 в резервуар 1, в его первую 1 ступень, выполненную идеальным смесителем. Расположенный в первой 3 ступени тонкослойный пульсационный илоотделитель 4 разделяет взвешенные вещества сточных вод с нарастающим на них гетеротрофным бактериальным биоценозом от сточной жидкости и эрлифтом 6 возвращает непрерывно на смешение с потоком поступающей по лотку 2 сточной жидкостью. Воздух, подаваемый по барботерам 5 аэрации, постоянно перемешивает сточную жидкость и иловую смесь из эрлифта 6, одновременно внося кислород для потребностей окислительных процессов. Отделившаяся от основной массы взвешенных веществ в илоотделителе 4 сточная жидкость по лотку 7 перетекает во вторую 8 ступень биореакторов. Вторая 8 ступень также снабжена барботерами 5 аэрации и имеет тонкослойный пульсационный илоотделитель 9, обеспечивающий разделение сточной жидкости и свободноплавающего активного ила. При этом активный ил эрлифтом 10 через продольную вертикальную перегородку 11 подается к месту ввода во вторую 8 ступень сточной жидкости лотком 7, смесь активного ила и сточной жидкости непрерывно аэрируется и движется за счет струенаправляющих поверхностей ограждающей стены и продольной вертикальной перегородки 11 к входу в сборный лоток илоотделителя 9. Обработанная активным илом второй ступени 8 и прикрепленным на насадке 15 биоценозом сточная жидкость по лотку 12 самотеком перетекает в третью 13 ступень биореакторов. Третья 13 ступень поделена вертикальной перегородкой 14 на две параллельно работающие секции и оснащена поперечными завесами, выполненными из волокнистой насадки 15. Живущие на волокнистой насадке гидробионты (фильтраторы и седиминтаторы) выедают выносимый из второй 8 ступени активный ил, задерживаемый завесами из волокнистой насадки 15 за счет сил электростатического притяжения, минерализуют и в виде фекалий и псевдофекалий выбрасывают в очищаемую воду. Ввиду того, что между завесами имеются неаэрируемые зоны, фекалии и псевдофекалии оседают на дно. Поочередным задействованием гидромеханизированной системы коммуникаций 16 осадок из параллельно работающих секций выводится за пределы резервуара 1 на сгущение и обезвоживание. Очищенная сточная жидкость по лотку 17 отводится на обеззараживание.
Соотношение размеров трех ступеней относительно друг друга обусловлено следующими обстоятельствами. Экспериментально установлено (фиг.2), что с увеличением суточной нагрузки на биоценоз свободноплавающих микроорганизмов по количеству легкоусваиваемых органических веществ ферментная система гетеротрофных бактерий изменяется по составу, в ней возрастает содержание АТФ (аденозингрифосфорная кислота) и белковое вещество бактерий становится более насыщено фосфором. Уже при нагрузке 1 кг БПКп/кг беззольного вещества микроорганизмов в сутки содержание фосфора в белковой системе ила увеличивается до 30 мг фосфора на 1000 мг сухого вещества ила, в то время как у илов традиционных аэротенков, работающих с традиционными нагрузками 0,2-0,6 кг БПКп/кг беззольного вещества в сутки, содержание фосфора находится в пределах 10-12 мг Р/г сухого вещества.
Ввиду изложенного в первой ступени необходимо обеспечить время пребывания сточных вод и биомассу гетеротрофного ила, соответствующую нагрузке по органическим веществам на биомассу ила на уровне 1000 мг БПКп/г беззольного вещества в сутки. Величину биомассы ила в ступени обеспечивает тонкослойный пульсационный илоотделитель и производительность эрлифта, откачивающего ил из поддона илоуплотнителя. Безусловно, имеют значение и седиментационные свойства высоконагруженного гетеротрофного ила в первой ступени. Опыт эксплуатации экспериментальных очистных установок показал, что иловый индекс высоконагруженного гетеротрофного ила находится в пределах 90-100 мл/г. Следовательно, для поддержания в ступени биомассы ила в концентрации около 3 кг/м3 по сухому веществу, что соответствует возможности системы аэрации по внесению кислорода на окислительные процессы, учитывая более высокую окислительную мощность 1 кг беззольного вещества ила в единицу времени, почти вдвое превышающую окислительную мощность ила традиционных аэротенков, работающих с вышеуказанными традиционными нагрузками, потребуется рециркуляция эрлифтом не менее 50-60% расчетного расхода сточных вод. Если учесть, что в бытовых сточных водах около половины растворенных органических примесей являются легкоокисляемыми и могут быть утилизированы в первой ступени при удельных скоростях вдвое больших, чем во второй ступени, то при объеме второй ступени вдвое большем, чем первой ступени, и при равных концентрациях биомассы гидробионтов в этих ступенях нагрузка на ил второй ступени будет в 4 раза меньше, чем на ил в первой ступени, а необходимо иметь нагрузку меньше в 5 раз. Для снижения нагрузки следует либо увеличить биомассу ила во второй ступени либо увеличить объем ступени, что противоречит поставленной в изобретении задаче. Увеличение биомассы ила сверх 3 кг/м3 также нецелесообразно, поскольку резко ухудшается доля активно работающих микроорганизмов. Отсюда разницу в нагрузке на ил в 5 раз следует осуществлять за счет снижения биомассы бактерий в первой ступени. Кроме того, прирост ила в первой ступени целиком зависит от концентрации взвешенных веществ в поступающей на очистку сточной жидкости, поскольку гетеротрофные бактерии быстрорастущего ила растут исключительно на взвешенных веществах, но взвешенные вещества не утилизируют ввиду наличия более легко окисляемых веществ в растворенном виде. А прирастая на взвесях, они увеличивают вес взвесей, способствуют ввиду наличия слизей их биофлокуляции и хорошим седиментационным свойствам. Следовательно, вынос взвесей из илоотделителя первой ступени должен быть большим, чем из илоотделителя второй ступени, поскольку во второй ступени вследствие жизнедеятельности простейших и мелких животных третьего трофического уровня, а также отчасти деятельности гетеротрофных бактерий, выедающих трудноокисляемые вещества взвесей, концентрация взвешенных веществ должна снизится, хотя и незначительно. Седиментационные свойства илов первой и второй ступеней практически одинаковы, поэтому размеры модулей диктуются исключительно нагрузками на илы. А поскольку нагрузка на ил первой ступени должна быть не менее чем в 5 раз больше, чем на ил второй ступени, то модуль илоотделителя первой ступени должен быть уменьшен в полтора раза по сравнению с модулем илоотделителя второй ступени.
На фиг.3 показано влияние скорости протока очищаемой сточной жидкости между пластин тонкослойного модуля на вынос взвешенных веществ с осветляемой сточной жидкостью. При равенстве расходов сточной жидкости на илоотделителях первой и второй ступени вынос взвешенных веществ из илоотделителей первой ступени обязательно будет больше выноса взвешенных веществ из илоотделителей второй ступени, поэтому в первой ступени концентрация ила обязательно будет ниже, чем концентрация ила во второй ступени. А, следовательно, всегда будет соблюдаться соотношение нагрузок на ил первой и второй ступеней.
Первая ступень выполнена идеальным смесителем потому, что целесообразно при малой продолжительности пребывания сточных вод в ступени максимально быстро разбавить порцию поступающей воды, снизить возможно имеющуюся в ней токсичность и тем самым создать благоприятные условия для жизнедеятельности гетеротрофных бактерий. Вторая ступень, наоборот, должна быть выполнена максимально вытеснителем, так как в ней должны пройти и процессы денитрификации с задействованием гетеротрофных бактерий – денитрификаторов (в этой зоне в воде нужно поддерживать минимальную концентрацию растворенного кислорода), и процессы нитрификации с задействованием автотрофных бактерий (в этой зоне в воде необходимо поддерживать концентрацию растворенного кислорода не ниже 4 мг О2/л), и процессы выедания бактерий простейшими. Для этого вторая ступень поделена продольной перегородкой на длинный коридор с поперечной циркуляцией иловой смеси за счет специального расположения по дну барботеров аэрации и насадкой для удерживания нитрификаторов. В смесителе одновременно все требования условиям работы микроорганизмов различных направлений создать невозможно. Ни в первой, ни во второй ступенях биореакторов не предусмотрено выведение прирастающей биомассы илов на сгущение и обезвоживание, поскольку в иле содержится еще достаточно много органических веществ, зольность взвесей не превышает 30%, они загнивают в течение суток.
А между тем при переходе биомассы по трофическим уровням не происходит потери биогенных элементов, входящих в структуру белковых веществ микроорганизмов, потеря фосфора наблюдается при задействовании гидролитических бактерий, питающихся биоценозом активного ила в аэробных минерализаторах, либо в метантенках или других модификациях анаэробных биореакторов.
Насадка во второй ступени необходима для удерживания медленнорастущих нитрификаторов.
Третья ступень должна быть выполнена на треть больше первой и обязательно вытеснителем потому, что в ней нужно обеспечить задержание вынесенных из второй ступени взвешенных веществ активного ила, их минерализацию фильтраторами – седиментаторами и транспортирование фекалей и псевдофекалей этих гидробионтов на дно резервуара в третьей ступени.
Если третья ступень не будет вытеснителем, то не будет гарантии протекания последовательно всех трех этапов, неминерализованные частицы ила могут сразу подойти к лотку вывода очищенных сточных вод из третьей ступени, то есть это очевидное условие, а вот размер ступени и форма размещения волокнистой насадки, делающая ступень вытеснителем, обоснованы на основании апробирования большого количества вариантов технических решений размещения насадки и создания условий для активной жизнедеятельности гидробионтов – седиментаторов. Плотность посадки гидробионтов на волокнистой насадке, интенсивность циркуляции очищаемой сточной жидкости за счет организации воздушных потоков параллельно с завесами из насадки, количество завес соизмерялись с количеством покупающих со стоками за сутки взвешенных веществ, и это послужило основанием для выбора соотношения.
Упрощение эксплуатации очистной установки достигается тем, что осадок выводится только из одной ступени и уже не нуждается в дополнительной минерализации.
Снижение объемов емкостных сооружений достигается за счет использования трех ступеней и тонкослойных илоотделителей и исключения минерализатора осадков.
Снижение энергозатрат достигнуто за счет уменьшения потребности в воздухе ввиду отсутствия отдельного минерализатора осадков сточных вод.
Источники информации
1. Инженерное оборудование зданий и сооружений. Энциклопедия. Главный редактор Яковлев С.В. М.: Стройиздат, 1994, с.453-456.
2. Патент RU 2183592, МПК С 02 F 3/02, опубл. 2002.
Формула изобретения
Установка биологической очистки сточных вод, включающая резервуар, поделенный перегородками на ступени и секции, и отсеки ступеней биореакторов, системы коммуникаций для подвода, распределения и отвода сточных вод, рециркуляции иловых смесей, подвода воздуха, тонкослойные пульсационные илоотделители, волокнистую насадку для удержания гидробионтов, коммуникации для выведения осадков сточных вод из очистной установки, отличающаяся тем, что резервуар выполнен трехступенчатым с разновеликими ступенями, причем вторая ступень вдвое больше первой, а третья ступень на треть больше первой; первая и вторая ступени снабжены отсеками тонкослойных пульсационных илоотделителей, при этом размеры тонкослойного пульсационного илоотделителя в первой ступени в полтора раза меньше, чем во второй ступени; по форме первая ступень выполнена идеальным смесителем, а вторая и третья ступени в значительной степени вытеснителями; насадка помещена во второй и третьей ступенях; коммуникации для выведения осадков сточных вод за пределы установки предусмотрены исключительно в третьей ступени.
РИСУНКИ
MM4A Досрочное прекращение действия патента Российской Федерации на изобретение из-за неуплаты в установленный срок пошлины за поддержание патента в силе
Дата прекращения действия патента: 17.08.2005
Извещение опубликовано: 27.01.2007 БИ: 03/2007
|
|