|
(21), (22) Заявка: 2003113388/11, 06.05.2003
(24) Дата начала отсчета срока действия патента:
06.05.2003
(43) Дата публикации заявки: 27.11.2004
(45) Опубликовано: 20.05.2005
(56) Список документов, цитированных в отчете о поиске:
SU 1835384 А1, 23.08.1993. RU 2130877 C1, 27.05.1999. СА 1244505, 08.11.1988.
Адрес для переписки:
644021, г.Омск, ул. Богдана Хмельницкого, 226, Конструкторское бюро ФГУП ПО “Полет”, зам. ГДО главному конструктору В.В. Маркелову
|
(72) Автор(ы):
Зубарев А.Е. (RU), Иванов Н.Н. (RU), Касаткин Г.М. (RU), Катунский А.А. (RU), Кирилюк А.И. (RU), Подзоров В.Н. (RU), Санько Г.Т. (RU), Сеченов Ю.Н. (RU)
(73) Патентообладатель(и):
Федеральное государственное унитарное предприятие Производственное объединение “Полет” ( ФГУП ПО “Полет”) (RU)
|
(54) ТРАНСПОРТНО-ТЕХНОЛОГИЧЕСКОЕ КОЛЬЦО
(57) Реферат:
Изобретение относится к устройствам для транспортировки и испытания космических аппаратов. Транспортно-технологическое кольцо содержит шпангоут 1 с транспортировочными 2 и такелажными 3 узлами и соосно закреплено на верхней части вертикально установленного космического аппарата 4 со складными секциями 5 солнечных батарей. На шпангоуте 1 установлены складные штанги 6 c шарнирно связанными корневыми 7 и концевыми 10 секциями, расположенными в плане соответственно над шарнирно связанными корневыми 11 и концевыми 14 панелями складных секций 5 солнечных батарей и связанными с ними посредством разъемных фиксаторов и регулируемых пружин обезвешивания 18 и 19. При проведении наземных испытаний раскрытие или складывание секций солнечных батарей сопровождается эквидистантными им перемещениями складных штанг 6. Изобретение сокращает время наземной подготовки космического аппарата, уменьшает нагрузки на узлы крепления панелей солнечных батарей и деформаций каркасов солнечных батарей при транспортировке и расширяет функциональные возможности. 6 ил.

Предлагаемое изобретение относится к съемному технологическому оборудованию, а более конкретно к съемной технологической оснастке, используемой при транспортировке, перегрузке, кантовании и наземных испытаниях космических аппаратов.
Известно технологическое кольцо, снабженное такелажными узлами и закрепленное на транспортируемом изделии (см. “УДК. 621.9.114(03) “Контейнеры”, справочник, под общ. ред. В.А.Шкурина, Москва, Машиностроение, 1981 г., рис.52, л.65”).
Известно также транспортно-технологическое кольцо, содержащее шпангоут с выполненными на нем транспортировочными и такелажными узлами и соосно закрепленное на верхней части вертикально установленного космического аппарата, снабженного складными секциями солнечных батарей, каждая из которых состоит из привода раскрытия, корневой панели, шарнирно закрепленной на космическом аппарате и связанной посредством шарнира с концевой панелью, крепящейся к космическому аппарату посредством фиксирующих замков (см. “УДК. 628.428.2 “Космодром”, под общ. ред. А.П.Вольского, Москва, Воениздат, 1977 г., рис.2.4, л.59”). Такелажные узлы используются при проведении подъемно-перегрузочных операций. Транспортировочные узлы предназначены для закрепления космического аппарата при транспортировке последнего в транспортировочном контейнере.
Недостатком данного транспортно-технологического кольца является необходимость его демонтажа с космического аппарата для проведения испытаний механических систем космического аппарата на раскрытие и последующей его установки для проведения дальнейших подъемно-перегрузочных операций технологического цикла подготовки космического аппарата, что приводит к увеличению времени наземной подготовки последнего.
Для проведения же испытаний механических систем космического аппарата на раскрытие (складные секции солнечных батарей, антенны, штанги магнитометров и т.д.) требуется использовать стационарные (автономные) системы обезвешивания.
Кроме того, данное транспортно-технологическое кольцо не исключает возможность упругих перемещений панелей солнечных батарей в зачекованном (сложенных и консольно закрепленных на корпусе космического аппарата) положении в процессе транспортировки космического аппарата.
При закреплении панелей солнечных батарей на корпусе космического аппарата с помощью собственных замков и шарнирных устройств в процессе транспортировки не исключена возможность “раскачивания” панелей солнечных батарей, что может привести к появлению остаточных деформаций в элементах конструкции солнечных батарей, к изменению геометрических параметров солнечных батарей под действием многоцикловых нагрузок. Особенно это опасно при использовании каркасов солнечных батарей, изготовленных из композиционных материалов.
Кроме того, в процессе транспортировки космического аппарата с завода-изготовителя на технический комплекс узлы крепления солнечных батарей (шарнирные устройства, фиксирующие замки, элементы зачековки, фиксаторы и т.д.) длительное время нагружаются значительными многоцикловыми нагрузками, что отрицательно может сказаться на их последующем функционировании при раскрытии панелей солнечных батарей (и других механических устройств) в рабочее положение в условиях космического пространства.
Задачей (целью) предлагаемого изобретения являются повышение эксплуатационных характеристик (сокращение времени наземной подготовки космического аппарата, уменьшение нагрузок на узлы крепления панелей солнечных батарей к корпусу космического аппарата и деформаций каркасов солнечных батарей при транспортировке с завода-изготовителя) и расширение функциональных возможностей (исключение необходимости в использовании стационарной (автономной) системы обезвешивания механических систем космического аппарата при проведении их испытаний на раскрытие) транспортно-технологического кольца.
Поставленная задача (цель) достигается тем, что на шпангоуте устанавливаются складные штанги, каждая из которых состоит из корневой секции, шарнирно закрепленной на шпангоуте и связанной посредством шарниров с концевой секцией. Корневая секция каждой складной штанги располагается в плане над корневой панелью соответствующей складной секции солнечных батарей, а концевая секция каждой складной штанги располагается в плане над концевой панелью соответствующей складной секции солнечных батарей. Корневые и концевые секции складных штанг связываются соответственно с корневыми и концевыми панелями складных секций солнечных батарей посредством вертикально установленных разъемных фиксаторов и регулируемых пружин обезвешивания. Установка разъемных фиксаторов обеспечивает образование жесткой связи между корневыми и концевыми секциями складных штанг и соответствующими корневыми и концевыми панелями складных секций солнечных батарей. Тем самым корневые и концевые панели складных секций солнечных батарей дополнительно закрепляются на соответствующих секциях складных штанг и удерживаются на них посредством разъемных фиксаторов, которые воспринимают нагрузки от корневых и концевых панелей. Такое дополнительное крепление корневых и концевых панелей складных секций солнечных батарей приводит к увеличению жесткости установки и уменьшению деформаций (искривлений и прогибов) конструкции корневых и концевых панелей, а также к разгрузке фиксирующих замков и шарнирных устройств, удерживающих корневые и концевые панели складных секций солнечных батарей в зачекованном транспортном положении. В некоторых случаях становится возможным вообще исключить фиксирующие замки из силовой схемы крепления корневых и концевых панелей складных секций солнечных батарей при транспортировке путем их расфиксации.
Шарниры крепления корневых секций складных штанг к шпангоуту и шарниры взаимного крепления корневых и концевых секций складных штанг располагаются в плане соосно над соответствующими шарнирами крепления корневых панелей к космическому аппарату и соответствующими шарнирами взаимного крепления корневых и концевых панелей. Каждая из секций складных штанг крепится к соответствующему кронштейну, выполненному на шпангоуте. Проекции складных штанг на горизонтальную плоскость не выходят за предельные очертания космического аппарата.
Предлагаемое устройство поясняется на фиг.1-6.
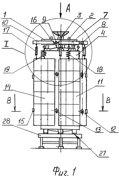
На фиг.1 представлен общий вид предложенного устройства в транспортном положении.
На фиг.2 изображен вид А согласно фиг.1.
На фиг.3 показан общий вид предложенного устройства при проведении испытаний механических систем космического аппарата на раскрытие.
На фиг.4 представлен вид Б согласно фиг.3.
На фиг.5 изображен разрез В-В согласно фиг.1.
На фиг.6 показан выносной элемент I согласно фиг.1.
Транспортно-технологическое кольцо содержит шпангоут 1 (фиг.1) с выполненными на нем транспортировочными 2 (фиг.2) и такелажными 3 узлами и соосно закреплено на верхней части вертикально установленного космического аппарата 4 (фиг.1), снабженного складными секциями 5 (фиг.3, 5) солнечных батарей и приводом их раскрытия (на фиг. условно не показан). На шпангоуте 1 установлены складные штанги 6 (фиг.2, 3), каждая из которых состоит из корневой секции 7 (фиг.2), закрепленной на шпангоуте 1 посредством шарнира 8 и связанной шарниром 9 с концевой секцией 10.
Каждая из складных секций 5 (фиг.3, 5) солнечных батарей состоит из корневой панели 11, закрепленной на космическом аппарате посредством шарниров 12 и связанной посредством шарниров 13 с концевой панелью 14, крепящейся к космическому аппарату 4, посредством фиксирующих замков 15.
Корневая секция 7 каждой складной штанги 6 расположена в плане (фиг.2) над корневой панелью 11 соответствующей складной секции 5 солнечных батарей, а концевая секция 10 каждой складной штанги 6 расположена в плане над концевой панелью 14, соответствующей складной секции 5 солнечных батарей.
Корневые 7 и концевые 10 секции складных штанг 6 связаны соответственно с корневыми 11 и концевыми 14 панелями складных секций 5 солнечных батарей посредством вертикально установленных разъемных фиксаторов 16 и 17 (фиг.1, 6), а также регулируемых пружин обезвешивания 18 и 19.
Шарниры 8 крепления корневых секций 7 складных штанг 6 к шпангоуту 1 и шарниры 9 взаимного крепления корневых 7 и концевых 8 секций складных штанг 6 расположены в плане (фиг.2) соосно над соответствующими шарнирами 12 крепления корневых панелей 11 к космическому аппарату 4 и соответствующими шарнирами 13 взаимного крепления корневых 11 и концевых 14 панелей.
Каждая из секций 7 и 10 складных штанг 6 крепится (элементы крепления на фиг. условно не показаны) к кронштейнам 20 и 21 (фиг.2) соответственно, выполненным на шпангоуте 1.
Проекции складных штанг 6 на горизонтальную плоскость не выходят (фиг.2) за предельные очертания космического аппарата 4.
Предлагаемое устройство функционирует следующим образом.
Установка предлагаемого транспортно-технологического кольца на космический аппарат 4 проводится в следующей последовательности.
Шпангоут 1 краном (на фиг. условно не показан) за такелажные узлы 3 устанавливается кронштейнами 22 (фиг.6) на опорные пяты 23, выполненные в верхней части космического аппарата 4, и закрепляется (элементы крепления на фиг. условно не показаны). При этом корневые 7 и концевые 10 секции складных штанг 6 закреплены к кронштейнам 20 и 21 соответственно (элементы крепления на фиг. условно не показаны), выполненным на наружной боковой поверхности 24 (фиг.2) шпангоута 1, а пружины обезвешивания 18 и 19 закреплены в нерабочем положении соответственно на кронштейнах корневых 7 и концевых 10 секций складных штанг 6 (элементы крепления и кронштейны на фиг. условно не показаны).
Затем пружины обезвешивания 18 и 19 открепляются от соответствующих кронштейнов, выполненных на корневых 7 и концевых 10 секциях складных штанг 6, и крепятся (элементы крепления на фиг. условно не показаны) к корневым 11 и концевым 14 (фиг.1, 6) панелям складных секций 5 солнечных батарей.
С помощью нивелира (на фиг. условно не показан) и регулируемых пружин обезвешивания 18 и 19 соответственно обеспечивается установка торцев 25 и 26 (фиг.3) соответственно корневых 11 и концевых 14 панелей складных секций 5 солнечных батарей в одну горизонтальную плоскость. После чего корневые 11 и концевые 14 панели фиксируются в данном положении посредством разъемных фиксаторов 16 и 17 соответственно (фиг.1, 6).
Тем самым устройство подготовлено к транспортировке с завода-изготовителя на технический комплекс.
Затем космический аппарат 4 краном (на фиг. условно не показан) устанавливается в транспортировочном контейнере (на фиг. условно не показан), где обеспечивается его крепление по нижнему торцу 27 (фиг.1) космического аппарата 4 и за транспортировочные узлы 2, выполненные на шпангоуте 1.
По прибытии на технический комплекс космический аппарат 4 выгружается краном (на фиг. условно не показан) из контейнера (контейнер на фиг. условно не показан), устанавливается на технологическую подставку 28 (фиг.1) и закрепляется на ней (элементы крепления на фиг. условно не показаны).
В дальнейшем проводятся испытания складных секций 5 солнечных батарей на раскрытие.
Для этого:
– демонтируются разъемные фиксаторы 16 и 17 (открепляются соответственно от корневых 11 и концевых 14 панелей складных секций 5 солнечных батарей);
– корневые 7 и концевые 10 секции складных штанг 6 открепляются соответственно от кронштейнов 20 и 21 шпангоута 1;
– посредством нивелира (на фиг. условно не показан) проверяется выставка торцов 25 и 26 соответственно корневых 11 и концевых 14 панелей складных секций 5 солнечных батарей в одну горизонтальную плоскость (при наличии отклонения от номинала выставка (горизонтирование) производится настройкой регулируемых пружин обезвешивания 18 и 19);
– производится поэтапное раскрытие (фиг.3, 4) концевых 14 и корневых 11 панелей складных секций 5 солнечных батарей (либо срабатыванием пружин раскрытия, либо с использованием электропривода, на фиг. условно не показанных).
При раскреплении складных секций 5 солнечных батарей корневые 11 и концевые 14 панели находятся в обезвешенном (фиг.3) состоянии за счет их крепления соответственно на регулируемых пружинах обезвешивания 18 и 19 к корневым 7 и концевым 10 секциям складных штанг 6 (тем самым имитируются условия невесомости).
При раскрытиии складных секций 5 солнечных батарей происходит эквидистантное им перемещение складных штанг 6 (фиг.4).
После проведения испытаний производится поэтапное складывание концевых 14 и “корневых 11 панелей (либо с использованием электропривода, либо, если используются пружины раскрытия, то вручную; электропривод и пружины раскрытия на фиг. условно не показаны) с эквидистантным складыванием концевых 10 и корневых 7 секций складных штанг 6.
Складные секции 5 солнечных батарей фиксируются к космическому аппарату 4 посредством механических замков 15.
Затем регулируемые пружины обезвешивания 18 и 19 открепляются соответственно от корневых 11 и концевых 14 панелей и крепятся соответственно к соответствующим кронштейнам, выполненным на корневых 7 и концевых 10 секциях складных штанг 6 (элементы крепления и кронштейны на фиг. условно не показаны).
Кронштейны 22 шпангоута 1 открепляются от опорных пят 23, выполненных в верхней части космического аппарата 4 (элементы крепления на фиг. условно не показаны) и транспортно-технологическое кольцо краном (на фиг. условно не показан) за такелажные узлы 3 снимается с космического аппарата 4.
Таким образом, предложенное устройство имеет существенные отличия от ранее известных транспортно-технологических колец и позволяет повысить их эксплуатационные характеристики и расширить их функциональные возможности.
Формула изобретения
Транспортно-технологическое кольцо, содержащее шпангоут с выполненными на нем транспортировочными и такелажными узлами и соосно закрепленное на верхней части вертикально установленного космического аппарата, снабженного складными секциями солнечных батарей, каждая из которых состоит из привода раскрытия, корневой панели, шарнирно закрепленной на космическом аппарате и связанной посредством шарниров с концевой панелью, крепящейся к космическому аппарату посредством фиксирующих замков, отличающееся тем, что на шпангоуте установлены складные штанги, каждая из которых состоит из корневой секции, шарнирно закрепленной на шпангоуте и связанной посредством шарнира с концевой секцией, при этом корневая секция каждой складной штанги расположена в плане над корневой панелью соответствующей складной секции солнечных батарей, а концевая секция каждой складной штанги расположена в плане над концевой панелью соответствующей складной секции солнечных батарей, причем корневые и концевые секции складных штанг связаны соответственно с корневыми и концевыми панелями соответствующих складных секций солнечных батарей посредством вертикально установленных разъемных фиксаторов и регулируемых пружин обезвешивания, а шарниры крепления корневых секций складных штанг к шпангоуту и шарниры взаимного крепления корневых и концевых секций складных штанг расположены в плане соосно над соответствующими шарнирами крепления корневых панелей к космическому аппарату и соответствующими шарнирами взаимного крепления корневых и концевых панелей, при этом каждая из секций складных штанг крепится к соответствующему кронштейну, выполненному на шпангоуте, а проекции складных штанг на горизонтальную плоскость не выходят за предельные очертания космического аппарата.
РИСУНКИ
MM4A Досрочное прекращение действия патента Российской Федерации на изобретение из-за неуплаты в установленный срок пошлины за поддержание патента в силе
Дата прекращения действия патента: 07.05.2005
Извещение опубликовано: 27.01.2007 БИ: 03/2007
NF4A Восстановление действия патента СССР или патента Российской Федерации на изобретение
Дата, с которой действие патента восстановлено: 20.06.2007
Извещение опубликовано: 20.06.2007 БИ: 17/2007
PD4A – Изменение наименования обладателя патента СССР или патента Российской Федерации на изобретение
(73) Новое наименование патентообладателя:
Федеральное государственное унитарное предприятие «Государственный космический научно производственный центр имени М.В. Хруничева» (RU)
Адрес для переписки:
644021, г. Омск, ул. Б.Хмельницкого, д. 226, «ПО «Полет» – филиал ФГУП «ГКНПЦ им. М.В. Хруничева», конструкторское бюро
Извещение опубликовано: 10.06.2009 БИ: 16/2009
|