|
(21), (22) Заявка: 2003115121/11, 21.05.2003
(24) Дата начала отсчета срока действия патента:
21.05.2003
(43) Дата публикации заявки: 20.11.2004
(45) Опубликовано: 20.05.2005
(56) Список документов, цитированных в отчете о поиске:
SU 1789370 A1, 23.01.1993. SU 1768416 A1, 15.10.1992. SU 1791187 A1, 30.01.1993. RU 2142375 C1, 10.12.1999.
Адрес для переписки:
454071, г.Челябинск, а/я 6504, Т.Н.Карпенко
|
(72) Автор(ы):
Андреев А.В. (RU)
(73) Патентообладатель(и):
Общество с ограниченной ответственностью Совместное российско-американское предприятие “Технология ХХI века” (RU)
|
(54) ЭЛЕКТРИЧЕСКИЙ РЕЛЬСОВЫЙ СТЫКОСОЕДИНИТЕЛЬ
(57) Реферат:
Изобретение относится к устройствам рельсовых цепей и предназначено для пропуска по рельсам сигнального и тягового токов на участках железных дорог с электрической тягой. Стыкосоединитель состоит из накладки и установленного в полость между накладкой и шейками рельсов упругого токопроводящего элемента. Последний изогнут с образованием одной или двух торцевых контактных поверхностей, направленных в сторону рельса. По крайней мере одна из указанных контактных поверхностей снабжена медным или медьсодержащим полозом. В токопроводящем элементе, который может быть выполнен из пружинной стали, предусмотрены отверстия под болт. Стыкосоединитель характеризуется малым переходным сопротивлением в стыке и обеспечивает надежный пропуск сигнального тока с минимальными потерями. 2 з.п. ф-лы, 2 ил.

Изобретение относится к области железнодорожного транспорта, в частности к устройствам рельсовых цепей, и предназначено для пропуска по рельсам сигнального и тягового токов на участках железных дорог с электрической тягой.
Известен электрический рельсовый стыкосоединитель, описанный в авторском свидетельстве №1791187 “Рельсовое стыковое соединение”, В 60 М 5/00, опубл. 30.01.93 г.
Данный электрический рельсовый стыкосоединитель содержит накладку и установленный в полость между накладкой и шейками рельсов упругий токопроводящий элемент, выполненный в виде плоской пружины с дугообразной средней частью, в которой имеются отверстие и паз для болтового соединения. Каждый токопроводящий элемент, покрытый электропроводным составом, концевыми частями взаимодействует с шейками рельсов, а средней частью – с накладкой.
По назначению электрический рельсовый стыкосоединитель служит для пропуска сигнального тока через рельсовый стык и уменьшения переходного сопротивления, позволяющего пропускать через рельсовый стык электрический сигнал без значительных потерь.
Недостатком данного технического решения является то, что контакт токопроводящего элемента с шейками рельсов и накладкой зависит от величины упругой осадки токопроводящего элемента. В процессе эксплуатации осадка (упругие свойства) пружинного токопроводящего элемента уменьшается, контакт между элементами стыкосоединителя ослабевает, что приводит к увеличению переходного сопротивления рельсового стыка и к потере тока, а это говорит о ненадежности данного стыкосоединителя.
При эксплуатации электрического рельсового стыка под действием возникающих в нем вибраций происходит трение между токопроводящим элементом, рельсами и накладкой, в результате чего тонкий слой электропроводного покрытия истирается, следовательно, увеличивается переходное сопротивление рельсового стыка, что приводит к потере тока и говорит о ненадежности электрического рельсового стыкосоединителя.
Известен электрический рельсовый стыкосоединитель, описанный в авторском свидетельстве №1768416 “Токопроводящий рельсовый соединитель”, В 60 М 5/00, опубл. 15.10.92 г., выбранный в качестве прототипа.
Данный электрический рельсовый стыкосоединитель содержит накладку и установленный в полость между накладкой и шейками стыкуемых рельсов токопроводящий элемент, боковые стенки которого выполнены из лепестков. При этом концы боковых стенок подогнуты внутрь и упираются в накладку, а плоская часть токопроводящего элемента касается шеек рельсов.
Для обеспечения надежного контакта между элементами стыкосоединителя в процессе эксплуатации возникает необходимость в регулярном подтягивании болтовых соединений, что в результате приводит к ухудшению упругих свойств токопроводящего элемента, а возможно и к изменению его первоначальной формы. Это связано с конструкцией токопроводящего элемента, а именно подогнутые во внутрь концы лепестков снижают жесткость стенок желоба и он легко поддается деформации, следовательно, контакт между элементами стыкосоединителя ослабевает, что приводит к увеличению переходного сопротивления рельсового стыка и к потерям тока, а это говорит о ненадежности данного стыкосоединителя.
Кроме того, большие потери тока связаны с тем, что и рельсы, и накладка, и токопроводящий элемент выполнены из стали, обладающей высоким электрическим сопротивлением, что приводит к потере тока и, следовательно, данный стыкосоединитель ненадежен в работе.
Технической задачей данного изобретения является создание электрического рельсового стыкосоединителя с малым переходным сопротивлением в стыке для обеспечения надежного пропуска сигнального тока с минимальными потерями.
Решением данной задачи является электрический рельсовый стыкосоединитель, состоящий из накладки и установленного в полость между накладкой и шейками рельсов упругого токопроводящего элемента, причем токопроводящий элемент изогнут с образованием одной или двух контактных продольных кромок, направленных в сторону рельса и, по крайней мере, одна из которых снабжена медным или медьсодержащим полозом.
В токопроводящем элементе, который может быть выполнен из пружинной стали, для фиксации токопроводящего элемента в заданном положении выполнены отверстия под болт, соосные с отверстиями в шейках рельсов и накладке.
Выполнение токопроводящего элемента с образованием одной или двух контактных продольных кромок, направленных в сторону рельса и, по крайней мере, одна из которых снабжена медным или медьсодержащим полозом, позволяет уменьшить переходное сопротивление рельсового стыка, то есть увеличить его токопроводность и обеспечить надежный электрический контакт между накладкой и рельсами следующим образом:
– форма токопроводящего элемента выбирается в зависимости от грузонапряженности участка пути. Для обеспечения надежной работы рельсового стыка на участках с малой грузонапряженностью железнодорожного пути и небольшой вибрацией достаточно установить пружинный электрический рельсовый стыкосоединитель, например, Г-образной формы, с одной контактной продольной кромкой, направленной в сторону рельса и снабженой медным или медьсодержащим полозом. На участках с большой грузонапряженностью, где возникают сильные вибрации, желательно установить пружинный электрический рельсовый стыкосоединитель, например, в виде желоба, имеющий две контактные продольные кромки, направленные в сторону рельса и, по крайней мере, одна из которых снабжена медным или медьсодержащим полозом;
– под действием вибрации и за счет шероховатости поверхности рельса происходит диффузия токопроводящего материала (меди или медьсодержащего сплава) с рабочей поверхности полоза на поверхность рельса, в результате чего переходное сопротивление рельсового стыка значительно уменьшается;
– так как полоз, выполненный из меди или медьсодержащего сплава, обладает высокой электрической проводимостью, то переходное сопротивление между соединяемыми рельсами уменьшается, следовательно, снижаются потери тока.
Таким образом, предлагаемый электрический рельсовый стыкосоединитель удовлетворяет предъявляемому к нему требованию по созданию электрического рельсового стыкосоединителя с малым переходным сопротивлением в стыке для обеспечения надежного пропуска сигнального тока с минимальными потерями.
При проведении поиска по источникам патентной и научно-технической информации не было обнаружено решений, содержащих совокупность предлагаемых признаков для решения поставленной задачи, что позволяет сделать вывод о соответствии заявляемого технического решения критериям “новизна” и “изобретательский уровень”.
Изобретение иллюстрируется чертежами, где схематично изображены:
на фиг.1 – электрический рельсовый стыкосоединитель в сборе,
на фиг.2 – вид сбоку токопроводящего элемента.
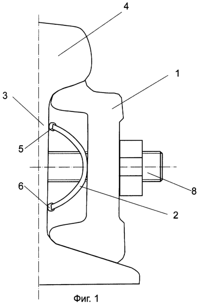
Электрический рельсовый стыкосоединитель содержит накладку 1 и упругий токопроводящий элемент 2, установленный между накладкой 1 и шейками 3 рельсов 4. Токопроводящий элемент 2 изогнут с образованием одной или двух контактных продольных кромок 5, по крайней мере, одна из которых снабжена медным или медьсодержащим полозом 6.
В токопроводящем элементе 2, выполненном из пружинной стали марки 40Х13, выполнены отверстия 7 под болт 8.
При монтаже электрического рельсового стыкосоединителя токопроводящий элемент 2, например, изогнутый в форме желоба (далее желоб 2) и имеющий две контактные продольные кромки 5, каждая из которых снабжена полозом 6, устанавливают в полость между накладкой 1 и шейками 3 рельсов 4 таким образом, чтобы его контактные продольные кромки 5 были направлены в сторону рельса 4. Протяженная средняя часть желоба 2, являющаяся его дном, направлена в сторону накладки 1. Затем в отверстия 7, соосные с соответствующими отверстиями в накладке 1 и шейках 3 рельсов 4, устанавливают болты 8, с помощью которых фиксируют желоб 2 в заданном положении. Устройство готово к эксплуатации.
Работа рельсового стыкового соединителя заключается в следующем.
При прохождении поезда ток проходит по рельсам 4. В месте стыка рельсов 4, где расположен желоб 2 с медными или медьсодержащими полозьями 5, обладающими высокой электропроводностью, ток через рельсовый стык проходит без значительных потерь по полозьям 5. Под действием вибрации и за счет шероховатости поверхности рельсов 4 происходит диффузия меди или медьсодержащего материала с рабочей поверхности полоза 5 на поверхность рельсов 4, в результате чего переходное сопротивление рельсового стыка уменьшается и ток через стык проходит по омедненной поверхности стального рельса 4 и полозьям 5 желоба 2 с минимальными потерями.
Предлагаемый электрический рельсовый стыкосоединитель конструктивно прост и надежен в эксплуатации.
Формула изобретения
1. Электрический рельсовый стыкосоединитель, состоящий из накладки и установленного в полость между накладкой и шейками рельсов упругого токопроводящего элемента, отличающийся тем, что токопроводящий элемент изогнут с образованием одной или двух торцевых контактных поверхностей, направленных в сторону рельса, по крайней мере одна из которых снабжена медным или медьсодержащим полозом.
2. Электрический рельсовый стыкосоединитель по п.1, отличающийся тем, что в токопроводящем элементе выполнены отверстия под болт.
3. Электрический рельсовый стыкосоединитель по п.1, отличающийся тем, что токопроводящий элемент выполнен из пружинной стали.
РИСУНКИ
MM4A Досрочное прекращение действия патента Российской Федерации на изобретение из-за неуплаты в установленный срок пошлины за поддержание патента в силе
Дата прекращения действия патента: 22.05.2005
Извещение опубликовано: 27.01.2007 БИ: 03/2007
|