|
|
(21), (22) Заявка: 2004101312/02, 15.01.2004
(24) Дата начала отсчета срока действия патента:
15.01.2004
(45) Опубликовано: 20.05.2005
(56) Список документов, цитированных в отчете о поиске:
SU 1493248 A1, 15.07.1989. SU 478709 A, 10.10.1975. SU 446408 A, 07.05.1975. SU 1220624 A, 30.03.1986. DE 4205265 C1, 26.08.1993.
Адрес для переписки:
302020, г.Орел, Наугорское ш., 29, ОрелГТУ
|
(72) Автор(ы):
Степанов Ю.С. (RU), Харламов Г.А. (RU), Тарапанов А.С. (RU), Афанасьев Б.И. (RU), Фирсов Ю.В. (RU), Кривцов В.И. (RU), Фомин Д.С. (RU)
(73) Патентообладатель(и):
Орловский государственный технический университет (ОрелГТУ) (RU)
|
(54) КОМБИНИРОВАННЫЙ ИГЛОШЛИФОВАЛЬНЫЙ ИНСТРУМЕНТ
(57) Реферат:
Изобретение относится к области машиностроения и может быть использовано при изготовлении инструмента для механической обработки с целью резания металла, удаления шлака, продуктов коррозии, прокатной окалины, заусенцев на фрезерных, многопозиционных и многооперационных станках. Инструмент включает сборный торцовый шлифовальный круг и торцовую иглофрезу, установленные на коаксиальных вращающихся независимо друг от друга в разных направлениях полом и центральном валах. Круг состоит из закрепленных на металлических пластинах абразивно-алмазных кольцевых сегментов, торообразной полой внутри упругой оболочки, закрепленной на ступице, и кольца. Такая конструкция позволяет расширить технологические возможности, повысить производительность и качество обработки с обеспечением восстановления первоначального положения торца шлифовального круга относительно режущего торца иглофрезы и бесприжогового прерывистого шлифования. 3 з.п. ф-лы, 10 ил.

Изобретение относится к инструментам для механической обработки с целью удаления с поверхности металлов шлака, продуктов коррозии, прокатной окалины, заусенцев, для резания металлов и предназначено для механизации снятия заусенцев, округления кромок и обработки плоскостей на фрезерных, многопозиционных и многооперационных станках.
Известно устройство для очистки поверхностей от продуктов коррозии, окалины и т.д., содержащее приводной диск с поочередно размещенными по его окружности пучками ворса и установленными в сквозных отверстиях диска абразивными цилиндрами [1].
Недостатками известного устройства является невозможность интенсифицировать процесс обработки и съема металла в виду того, что абразивные цилиндры вращаются только за счет сил трения, кроме того, по мере износа абразива цилиндры будут с меньшим усилием прижиматься к обрабатываемой поверхности из-за свойств прижимных пружин, причем способ и устройство не позволяют полностью использовать режущие свойства абразива, который требует очень большой скорости вращения (порядка нескольких тысяч оборотов при таких малых диаметрах цилиндров) диска, что трудно осуществить по динамическим соображениям, тем самым будет снижаться производительность и качество обработки.
Кроме того, при увеличении силы прижима устройства к обрабатываемой поверхности пучки ворса будут максимально прогибаться, не осуществляя резание металла.
Задача изобретения – расширение технологических возможностей инструмента, многократное восстановление первоначального положения рабочего торца шлифовального круга относительно режущего торца иглофрезы, обеспечение бесприжогового прерывистого шлифования в комбинации с предварительной получистовой иглообработкой, повышающей стойкость инструмента, производительность и качество обрабатываемой поверхности.
Поставленная задача решается с помощью применения предлагаемого комбинированного иглошлифовального инструмента, содержащею сборный торцовый шлифовальный круг с устройством его крепления на ступице и торцовую иглофрезу, при этом круг и иглофреза установлены на коаксиальных вращающихся независимо друг от друга в разных направлениях полом и центральном валах, причем круг состоит из абразивно-алмазных кольцевых сегментов, закрепленных на металлических пластинах, торообразной полой внутри упругой оболочки, закрепленной на ступице, и кольца.
Кроме того, по мере износа абразивно-алмазных кольцевых сегментов в торообразную полую внутри упругую оболочку закачивается сжатый воздух, восстанавливая первоначальное положение рабочего торца шлифовального круга относительно режущего торца иглофрезы.
При этом торцовая иглофреза выполнена из проволочного ворса в виде набора U-образных пучков, причем ветви ворса в каждом пучке размещены в смежных гофрах кольца, закрепленного на корпусе, причем уплотнение ворса для достижения требуемой жесткости осуществляется гайкой с внутренней конической поверхностью и винтом с наружной конической поверхностью.
Кроме того, как вариант, торцовая иглофреза выполнена из проволочного ворса в виде набора U-образных пучков, причем ветви ворса в каждом пучке размещены в смежных гофрах кольца, закрепленного на корпусе, при этом уплотнение ворса для достижения требуемой жесткости осуществляется хомутом в виде металлической ленты, концы которой стянуты болтом с гайкой.
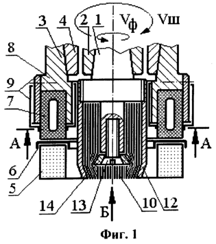
Сущность конструкции комбинированного инструмента поясняется чертежами. На фиг.1 представлен предлагаемый комбинированный иглошлифовальный инструмент, продольный разрез; на фиг.2 – сечение А – А фиг.1; на фиг.3 – вид снизу по Б фиг.1; на фиг.4 – предлагаемый комбинированный иглошлифовальный инструмент с максимально изношенными алмазно-абразивными брусками, продольный разрез; на фиг.5 – предлагаемый комбинированный иглошлифовальный инструмент, продольный разрез, второй вариант крепления и уплотнения ворса иглофрезы; на фиг.6 – сечение В-В фиг 5; на фиг.7 – общий вид иглофрезы по второму варианту крепления и уплотнения ворса; фиг.8 – продольный разрез иглофрезы, представленной на фиг.7; на фиг.9 – сечение Д-Д фиг.7; на фиг.10 – сечение E-E фиг.8.
Предлагаемый комбинированный иглошлифовальный инструмент состоит из двух режущих инструментов: иглофрезы 1, закрепляемой на центральном валу 2, и шлифовального круга 3, установленного на коаксиальном полом валу 4.
Шлифовальный круг 3 относится к сборным торцовым кругам, т.к. состоит из абразивно-алмазных кольцевых сегментов 5, закрепленных на металлических пластинах 6, например, путем приклеивания. Количество пластин 6 равно количеству сегментов 5, при этом профиль пластин определяется профилем кольцевых сегментов. Сами пластины крепятся путем вулканизации к торцу торообразной полой внутри упругой оболочки 7, закрепленной на ступице 8 также путем вулканизации. По мере износа абразивно-алмазных кольцевых сегментов 5 в торообразную полую внутри упругую оболочку 7 закачивается через штуцер и обратный клапан (не показаны) сжатый воздух, восстановливая первоначальное положение рабочих торцов сегментов 5 шлифовального круга 3 относительно режущего торца иглофрезы 1. Ограничителем при расширении упругой оболочки 7 является кольцо 9, состоящее из двух втулок, из которых одна закреплена на ступице 8 неподвижно, а вторая – свободно, позволяющих увеличить общую высоту кольца. Такое же свободно устанавливаемое кольцо имеется и с внутренней стороны упругой оболочки.
Торцовая иглофреза 1 выполнена из проволочного ворса в виде набора U-образных пучков 10, причем ветви ворса в каждом пучке размещены в смежных гофрах кольца 11, закрепленного на корпусе (фиг.9) иглофрезы [2].
Уплотнение ворса для достижения требуемой жесткости иглофрезы осуществляется гайкой 12 с внутренней конической поверхностью и винтом 13 с кольцом 14 с наружной конической поверхностью.
Кроме того, как вариант, уплотнение ворса для достижения требуемой жесткости может осуществляться хомутом 15 в виде металлической ленты, концы которой стянуты болтом 16 с гайкой 17.
Для повышения стойкости иглофрезы на упругие ветви ворса наносят износостойкое покрытие, например, из нитрида титана. После износа пучков ворса их заменяют.
Инструмент устанавливают, например, на фрезерный станок с модернизированной шпиндельной бабкой, у которой имеются коаксиальные вращающиеся независимо друг от друга в разных направлениях полый и центральный шпиндели.
Круг устанавливают на полом валу и приводят во вращение в одну сторону, торцовую иглофрезу – на центральном валу, приводят во вращение в другую сторону и комбинированный иглошлифовальный инструмент с необходимым натягом подводят режущей поверхностью к заготовке.
При этом в центре комбинированного инструмента часть упругоподвижных ветвей ворса отклоняется в процессе решения от вертикали, образует определенные углы резания и срезает материал с обрабатываемой поверхности в одном направлении.
По периферии инструмента абразивные сегменты с таким же натягом за счет прогиба пневматической упругой оболочки срезают микронеровности с обрабатываемой поверхности в другом направлении.
Таким образом, пневматическая подушка позволяет создавать тот или иной натяг, так необходимый при иглофрезеровании, и восстанавливать первоначальное положение рабочего торца шлифовального круга относительно режущего торца иглофрезы.
При этом прерывистая абразивная обработка отдельными сегментами позволяет снизить теплонапряженность процесса шлифования, ликвидировать прижоги и микротрещины, повысить режимы обработки.
Комбинированным иглошлифовальным инструментом на модернизированном вертикально-фрезерном станке мод. 6Р13 производили торцовое фрезерование с одновременным шлифованием плоской поверхности шириной 70 мм и длиной 600 мм; припуск на обработку 1,2 мм снимали на один проход.
Параметр шероховатости обрабатываемой поверхности Ra=0,63 мкм. Материал заготовки – сталь 45, с пределом прочности в=670 МПа. Станок оснащен двумя коаксиальными шпинделями, приводимыми во вращение индивидуальными электродвигателями, и устройством для активного контроля обрабатываемых заготовок.
Шлифовальный круг состоит из абразивных сегментов марки 24А25П25К8А с наружным диаметром 200 мм, иглофреза – наружный диаметр 100 мм, диаметр игл – 1 мм.
Обработка проводилась при следующих режимах резания. Частоту вращения круга принимали 3200 мин-1; (при этом скорость шлифования составила Vш=33,5 м/с), а – иглофрезы – 500 мин-1 (при этом – Vиф=157 м/мин). Продольная подача – 250 мм/мин. Охлаждающая жидкость – эмульсия.
Для обеспечения необходимого качества и размерной точности обработки потребовалось основного времени 0,8 мин, что в 2 раза быстрее, чем при обычном торцовом фрезеровании, и в 2,5 раза быстрее, чем при обычной абразивной обработке.
Применение данного комбинированного иглошлифовального инструмента позволяет увеличить производительность благодаря обеспечению бесприжогового прерывистого шлифования, исключить операцию чернового и получистового шлифования, улучшить шероховатость поверхности на 1-2 класса. При этом расход абразивного материала снижается в среднем на ~ 30%.
Источники информации
Формула изобретения
1. Комбинированный иглошлифовальный инструмент, содержащий сборный торцовый шлифовальный круг с устройством его крепления на ступице и торцовую иглофрезу, отличающийся тем, что круг и иглофреза установлены на коаксиальных вращающихся независимо друг от друга в разных направлениях полом и центральном валах, причем круг состоит из закрепленных на металлических пластинах абразивно-алмазных кольцевых сегментов, торообразной полой внутри упругой оболочки, закрепленной на ступице, и кольца.
2. Инструмент по п.1, отличающийся тем, что по мере износа абразивно-алмазных кольцевых сегментов в торообразную полую внутри упругую оболочку закачивают сжатый воздух для восстановления первоначального положения рабочего торца шлифовального круга относительно режущего торца иглофрезы.
3. Инструмент по п.1 или 2, отличающийся тем, что торцовая иглофреза выполнена из проволочного ворса в виде набора U-образных пучков, причем ветви ворса в каждом пучке размещены в смежных гофрах кольца, закрепленного на корпусе, при этом уплотнение ворса для достижения требуемой жесткости осуществлено гайкой с внутренней конической поверхностью и винтом с наружной конической поверхностью.
4. Инструмент по п.1 или 2, отличающийся тем, что торцовая иглофреза выполнена из проволочного ворса в виде набора U-образных пучков, причем ветви ворса в каждом пучке размещены в смежных гофрах кольца, закрепленного на корпусе, при этом уплотнение ворса для достижения требуемой жесткости осуществлено хомутом в виде металлической ленты, концы которой стянуты болтом с гайкой.
РИСУНКИ
MM4A – Досрочное прекращение действия патента СССР или патента Российской Федерации на изобретение из-за неуплаты в установленный срок пошлины за поддержание патента в силе
Дата прекращения действия патента: 16.01.2006
Извещение опубликовано: 20.09.2007 БИ: 26/2007
|
|