|
|
(21), (22) Заявка: 2003110825/02, 15.04.2003
(24) Дата начала отсчета срока действия патента:
15.04.2003
(43) Дата публикации заявки: 20.12.2004
(45) Опубликовано: 20.05.2005
(56) Список документов, цитированных в отчете о поиске:
EP 0919316 A1, 06.06.1999. RU 2176003 С2, 20.11.2001. US 4765098 A, 23.08.1988. SE 506306 C2, 01.12.1997.
Адрес для переписки:
672092, г.Чита, ул. Ленинградская, 34, Забайкальская железная дорога – филиал ОАО “РЖД”, НТП-ОПС, начальнику дороги В.Н.Хохрякову
|
(72) Автор(ы):
Черных А.П. (RU), Демченко А.П. (RU), Шилов В.В. (RU)
(73) Патентообладатель(и):
Открытое акционерное общество “Российские железные дороги” (ОАО “РЖД”) (RU)
|
(54) СТАНОК ДЛЯ РЕЗКИ РЕЛЬСОВ
(57) Реферат:
Станок предназначен для резки рельсов фрикционными пильными дисками. Он содержит несущую прямоугольную плиту, на которой смонтированы привод, рабочий орган в виде абразивного диска, узел закрепления станка на рельсе и рычаг ручного подвода абразивного диска 3 в зону резания. Приводной вал абразивного диска выполнен удлиненным и его концы соединены водилами с концами вала отбора мощности привода. Узел закрепления станка на рельсе выполнен в виде двух параллельно расположенных и жестко закрепленных на несущей плите Г-образных упоров с профильным пазом для навешивания на подошву рельса и одного винтового прижима, закрепленного посредством шарнира и взаимодействующего своим винтом с подошвой рельса. Изобретение позволяет путем повышения жесткости узла закрепления станка на рельсе значительно уменьшить величину вибрации во время работы. 3 ил.

Предлагаемое изобретение относится к области обработки металлов резанием, в частности к устройствам для распиливания рельсов фрикционными пильными дисками.
Известен станок для резки рельсов, содержащий привод, соединенный с валом рабочего органа в виде абразивного диска, узел закрепления станка на рельсе и рукоятки подвода абразивного диска в зону резания (патент США №4033074, US C1. 51/178).
В этом станке для резки рельсов узел закрепления станка на рельсе выполнен многоэлементным и с возможностью захвата за головку рельса, профильная площадь которой, а также консольная компоновка привода не позволяют обеспечить надлежащую жесткость конструкции, что приводит к повышенной вибрации станка во время его работы.
Известен станок для резки рельсов, содержащий привод, вал отбора мощности которого соединен гибкой бесконечной передачей с приводным валом рабочего органа в виде абразивного диска, приводной вал рабочего органа дополнительно соединен с валом отбора мощности привода посредством водила, один конец которого жестко закреплен на буксе приводного вала рабочего органа, а другой – жестко на буксе вала отбора мощности привода, рычаг ручного подвода абразивного диска в зону резания и узел закрепления станка на рельсе (патент ЕР №0919316, МПК В 23 D 45/00).
В данном станке для резки рельсов, являющемся наиболее близким к заявляемому станку по совокупности признаков, узел закрепления станка на рельсе выполнен также многозвенным и приспособленным для захвата за головку рельса, что приводит к повышенной вибрации станка во время работы, не позволяющей применить более мощный привод для повышения производительности станка.
Техническим результатом заявляемого станка является значительное уменьшение величины вибрации станка во время работы путем повышения конструктивной жесткости узла закрепления станка на рельсе и в целом всего станка.
Указанный технический результат достигается тем, что станок для резки рельсов, содержащий привод, вал отбора мощности которого соединен гибкой бесконечной передачей с приводным валом рабочего органа в виде абразивного диска, приводной вал рабочего органа дополнительно соединен с валом отбора мощности привода посредством водила, один конец которого жестко закреплен на буксе приводного вала рабочего органа, а другой – жестко на буксе вала отбора мощности привода, рычаг ручного подвода абразивного диска в зону резания и узел закрепления станка на рельсе, снабжен основанием в виде несущей прямоугольной плиты, на которой смонтированы привод с рабочим органом в виде абразивного диска, узел закрепления станка на рельсе и рычаг ручного подвода абразивного диска в зону резания, при этом приводной вал рабочего органа выполнен удлиненным и расположенным параллельно валу отбора мощности привода, вторые концы приводного вала рабочего органа и вала отбора мощности привода соединены вторым водилом, приводной вал рабочего органа соединен гибкой бесконечной передачей с валом отбора мощности привода первым концом, на втором конце приводного вала рабочего органа закреплен абразивный диск, узел закрепления станка на рельсе выполнен в виде двух параллельно расположенных и жестко закрепленных на несущей прямоугольной плите Г-образных упоров с профильным пазом, совпадающим с профилем подошвы рельса, и одного винтового прижима, шарнирно и посредством стержневого фиксатора закрепленного на несущей плите с противоположной стороны и между параллельно расположенных Г-образных упоров с возможностью взаимодействия своим винтом с подошвой рельса, рычаг ручного подвода абразивного диска в зону резания своим концом закреплен шарнирно на несущей плите и снабжен тягой, шарнирно закрепленной одним концом на рычаге, другим концом – на буксе приводного вала рабочего органа.
Обеспечение в данном станке базирования всех основных узлов станка на общем основании в виде несущей плиты и выполнение узла закрепления станка на рельсе, приспособленного для захвата за подошву рельса, позволяет обеспечить необходимую и достаточную жесткость станка, тем самым практически устранить вибрацию станка во время работы и создать возможность для применения более мощного привода, повышающего производительность станка.
Сопоставительный анализ с прототипом показывает, что предлагаемый станок для резки рельсов отличается тем, что станок снабжен основанием в виде несущей прямоугольной плиты, на которой смонтированы привод с рабочим органом в виде абразивного диска, узел закрепления станка на рельсе и рычаг ручного подвода абразивного диска в зону резания, при этом приводной вал рабочего органа выполнен удлиненным и расположенным параллельно валу отбора мощности привода, вторые концы приводного вала рабочего органа и вала отбора мощности привода соединены вторым водилом, приводной вал рабочего органа соединен гибкой бесконечной передачей с валом отбора мощности привода первым концом, на втором конце приводного вала рабочего органа закреплен абразивный диск, узел закрепления станка на рельсе выполнен в виде двух параллельно расположенных и жестко закрепленных на несущей прямоугольной плите Г-образных упоров с профильным пазом, совпадающим с профилем подошвы рельса, и одного винтового прижима, шарнирно и посредством стержневого фиксатора закрепленного на несущей плите с противоположной стороны и между параллельно расположенных Г-образных упоров с возможностью взаимодействия своим винтом с подошвой рельса, рычаг ручного подвода абразивного диска в зону резания своим концом закреплен шарнирно на несущей плите и снабжен тягой, шарнирно закрепленной одним концом на рычаге, другим концом – на буксе приводного вала рабочего органа. Такое отличие от прототипа дает возможность утверждать о соответствии предлагаемого решения критерию патентоспособности изобретения “новизна”. Сравнение предлагаемого устройства не только с прототипом, но и с другими техническими решениями в данной области техники не позволило выявить в них признаки, аналогичные отличительным признакам, что дает возможность сделать вывод о соответствии условию патентоспособности изобретения “изобретательский уровень”.
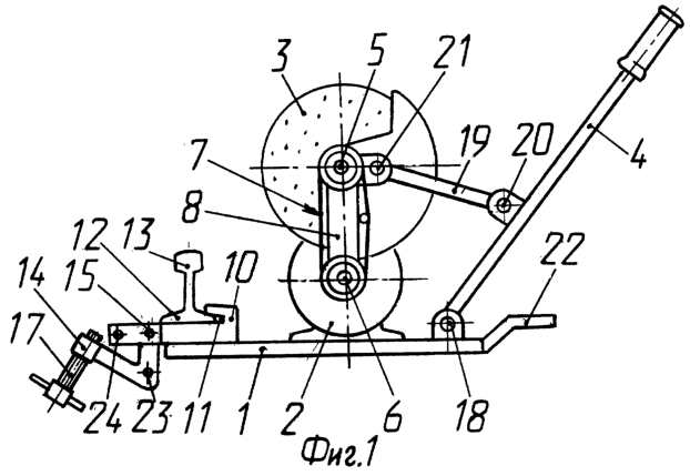
Сущность изобретения поясняется чертежом, где на фиг.1 представлен станок для резки рельсов, общий вид в исходном положении; на фиг.2 – то же, общий вид в конечном рабочем положении; на фиг.3 – вид А на фиг.2.
Станок для резки рельсов содержит основание в виде несущей прямоугольной плиты 1 (фиг.1, 2), на которой смонтированы привод 2, рабочий орган в виде абразивного диска 3, узел закрепления станка на рельсе и рычаг 4 ручного подвода абразивного диска 3 в зону резания. Приводной вал 5 рабочего органа выполнен удлиненным и расположенным параллельно валу отбора мощности привода 2. Первые концы вала 6 отбора мощности привода 2 и приводного вала 5 рабочего органа соединены гибкой бесконечной передачей 7, в частности цепной передачей, и дополнительно посредством водила 8, один конец которого жестко закреплен на буксе приводного вала 5 рабочего органа, а другой конец жестко закреплен на буксе вала 6 отбора мощности привода 1. Вторые концы приводного вала 5 и вала 6 отбора мощности привода 2 соединены вторым водилом 9 (фиг.3), один конец которого жестко закреплен на буксе приводного вала 5 рабочего органа, другой конец жестко закреплен на буксе вала 6 отбора мощности привода 2. Абразивный диск 3 закреплен на втором конце приводного вала 5 рабочего органа. Узел закрепления станка на рельсе выполнен в виде двух параллельно расположенных и жестко закрепленных на несущей плите 1 Г-образных упоров 10 с профильным пазом 11, совпадающим с профилем подошвы 12 рельса 13, и одного винтового прижима 14, закрепленного посредством шарнира 15 и стержневого фиксатора 16 на несущей плите 1 с противоположной стороны и между параллельно расположенных Г-образных упоров 10 с возможностью взаимодействия своим винтом 17 с подошвой 12 рельса 13. Рычаг 4 ручного подвода абразивного диска 3 в зону резания своим концом закреплен посредством шарнира 18 на несущей плите 1 и снабжен тягой 19, закрепленной одним концом посредством шарнира 20 на рычаге 4, другим концом – посредством шарнира 21 на буксе приводного вала 5 рабочего органа. Для переноски и установки станка на рабочую позицию на несущей плите 1 закреплены соответствующие ручки 22.
Станок для резки рельсов работает следующим образом.
Для постановки станка на рабочую позицию станок за ручки 22 подносят к рельсу и надвигают Г-образные упоры 10 профильными пазами 11 на подошву 12 рельса 13 (фиг.1), тем самым производят односторонний предварительный захват за подошву рельса. Затем, поворачивая на шарнире 15, переводят винтовой прижим 14 из откинутого нижнего положения в верхнее рабочее положение и это положение узла закрепления станка на рельсе фиксируют стержневым фиксатором 16, который вставляют в совпадающие по оси отверстия 23 и 24, выполненные соответственно в корпусе шарнира 15 и в корпусе винтового прижима 14. Ввертыванием винта 17 до упора в подошву 12 рельса 13 завершают двухсторонний захват подошвы 12 рельса 13 и прижим к нижней плоскости и верхней поверхности подошвы 12 рельса 13 всего узла закрепления станка на рельсе (фиг.2). Поскольку элементы узла закрепления станка на рельсе, т.е. Г-образные упоры 10 и винтовой прижим 14 охватывают подошву 12 рельса 13 с двух сторон поперечно по нижней плоскости, по боковому профилю и по верхней поверхности, то суммарная площадь их взаимодействия значительно превышает площадь взаимодействия с головкой рельса. Кроме того, поскольку Г-образные упоры 10 и винтовой прижим 14 жестко соединены с несущей плитой 1, на которой жестко смонтирован привод 2 и связанный с ним цепной передачей 7 и двумя водилами 8 и 9 рабочий орган в виде абразивного диска 3, то все это создает необходимую и достаточную жесткость всего станка, устраняющую его вибрацию во время работы. Операцию резания рельса производят подводом абразивного диска 3 в зону резания из исходного положения (фиг.1) вручную рычагом 4, поворачивая его на шарнире 18, при этом усилие от рычага 4 через тягу 19 передается на буксу абразивного диска 3, который, опускаясь на рельс, разрезает его.
Формула изобретения
Станок для резки рельсов, содержащий привод, вал отбора мощности которого соединен гибкой бесконечной передачей с приводным валом рабочего органа в виде абразивного диска, приводной вал рабочего органа дополнительно соединен с валом отбора мощности привода посредством водила, один конец которого жестко закреплен на буксе приводного вала рабочего органа, а другой – жестко на буксе вала отбора мощности привода, рычаг ручного подвода абразивного диска в зону резания и узел закрепления станка на рельсе, отличающийся тем, что станок снабжен основанием в виде несущей прямоугольной плиты, на которой смонтированы привод с рабочим органом в виде абразивного диска, узел закрепления станка на рельсе и рычаг ручного подвода абразивного диска в зону резания, при этом приводной вал рабочего органа выполнен удлиненным и расположенным параллельно валу отбора мощности привода, вторые концы приводного вала рабочего органа и вала отбора мощности привода соединены вторым водилом, приводной вал рабочего органа соединен гибкой бесконечной передачей с валом отбора мощности привода первым концом, на втором конце приводного вала рабочего органа закреплен абразивный диск, узел закрепления станка на рельсе выполнен в виде двух параллельно расположенных и жестко закрепленных на несущей прямоугольной плите Г-образных упоров с профильным пазом, совпадающим с профилем подошвы рельса, и одного винтового прижима, шарнирно и посредством стержневого фиксатора закрепленного на несущей плите с противоположной стороны и между параллельно расположенными Г-образными упорами с возможностью взаимодействия своим винтом с подошвой рельса, рычаг ручного подвода абразивного диска в зону резания своим концом закреплен шарнирно на несущей плите и снабжен тягой, шарнирно закрепленной одним концом на рычаге, другим концом – на буксе приводного вала рабочего органа.
РИСУНКИ
|
|