|
|
(21), (22) Заявка: 2003102226/09, 28.01.2003
(24) Дата начала отсчета срока действия патента:
28.01.2003
(30) Конвенционный приоритет:
11.02.2002 UA 2002021093
(43) Дата публикации заявки: 20.08.2004
(45) Опубликовано: 27.04.2005
(56) Список документов, цитированных в отчете о поиске:
JP 64-070804, 16.03.1989. RU 2022322 C1, 30.10.1994. JP 62-297911, 25.12.1987. US 5255711 А, 26.10.1993.
Адрес для переписки:
95050, Украина, АР Крым, г. Симферополь, а/я 1262, С.А. Ушакову
|
(72) Автор(ы):
Шумейко Владимир Михайлович (UA)
(73) Патентообладатель(и):
Шумейко Владимир Михайлович (UA)
|
(54) ПНЕВМОКЛАПАН РЕДУКЦИОННЫЙ
(57) Реферат:
Изобретение относится к пневмоавтоматике и предназначено для понижения и поддержания на заданном уровне давления сжатого воздуха в пневмоприводах транспортных и других машин и в баках топливной системы автотранспорта при перекачке топлива. Технический результат – повышение надежности работы, предотвращение возможности повышения выходного давления выше заданного, повышение эффективности сброса сжатого воздуха, уменьшение усилия уплотнения за счет обеспечения компенсации смещения мембраны. Пневмоклапан редукционный состоит из корпуса с расположенными в нем входным и выходным каналами, калиброванного отверстия во входном канале, предотвращающего возможность повышения выходного давления, подпружиненного ступенчатого дроссельного клапана, мембранного управляющего узла с жестко закрепленным на нем седлом и эластичным уплотнительным элементом, что сводит до минимума изменение эффективной площади мембраны за счет минимального прогиба, клапанного элемента, выполненного в виде сферической головки, для уменьшения усилия уплотнения, обеспечения компенсации смещения мембраны и эффективности сброса сжатого воздуха и фильтра, расположенного на входе калиброванного отверстия и препятствующего засорению данного отверстия. 2 з.п. ф-лы, 3 ил.

Изобретение относится к пневмоавтоматике и предназначено для понижения и поддержания на заданном уровне давления сжатого воздуха в пневмоприводах транспортных и других машин и в баках топливной системы автотранспорта при перекачке топлива.
Известен клапан для регулировки давления, нагруженный пружиной и имеющий механизм для компенсации смещения мембраны под воздействием пружины (см. пат. США №5255711, пр. 28.08.92, МКИ6: G 05 D, 16/02), представляющий собой механизм для управления давлением текучей среды, содержащий мембрану, одна поверхность которой подвергается воздействию того давления, которое требуется регулировать, пружину, обеспечивающую противодействие мембраны давлению, и устройство компенсации, изменяющие эффективный диаметр мембраны в определенной зависимости от ее положения на продольной оси, благодаря чему давление, действующее на мембрану, уравновешивается силой упругости пружины. Перемещение мембраны приводит в действие клапан, регулирующий давление в канале между мембраной и источником высокого давления текучей среды. Бистабильное устройство смещает клапан в открытое положение при падении давления и в закрытое положение при возрастании давления.
Недостатком данного клапана является сложность конструкции устройства, которое компенсирует смещение мембраны.
Ближайшим техническим решением изобретения является РЕДУКЦИОННЫЙ КЛАПАН (см. пат. Япония №4-45849, МКИ6: G 05 D 16/06, пр. 11.09.87), взятый за прототип. Общими с прототипом признаками являются: корпус с входным и выходным каналами, выпускное отверстие, седло клапана, взаимодействующий с седлом подпружиненный клапан, мембрана с нагрузочной пружиной.
Известный редукционный клапан имеет сложную конструкцию, низкую технологичность выполнения и допускает возможность повышения выходного давления сверх заданного. Эти недостатки определены наличием в корпусе подпружиненных подвижных элементов, в частности седло клапана, которые способствуют большому прогибу мембраны, что приводит к большим изменениям эффективной площади и, как следствие, к большим колебаниям выходного давления. А также выполнение конструкции подпружиненного дроссельного клапана не обеспечивает компенсацию смещения мембраны.
В основу изобретения поставлена задача разработки конструкции редукционного клапана, который обеспечивает надежность работы, предотвращение возможности повышения выходного давления выше заданного, повышение эффективности сброса сжатого воздуха, уменьшение усилия уплотнения за счет обеспечения компенсации смещения мембраны, то есть сведение до минимума изменения эффективной площади мембраны за счет ее минимального прогиба, обеспечивающего постоянное выходное давление, предотвращение засорения входного калиброванного отверстия.
Поставленные задачи решаются тем, что в редукционном пневмоклапане во входном канале выполнено калиброванное отверстие, причем между диаметром калиброванного отверстия на входе и диаметром отверстия клапана сброса использовано следующее соотношение:
3 dко dокс,
где 3 dко – диаметр калиброванного отверстия на входе;
dокс – диаметр отверстия клапана сброса,
клапанный элемент подпружиненного клапана выполнен в виде сферической головки, седло клапана сброса, взаимодействующее с клапанным элементом подпружиненного дроссельного клапана, изготовленного ступенчатым, выполнено жестко закрепленным с мембраной мембранного управляющего узла и эластичным уплотнительным элементом, на входе входного калиброванного отверстия установлен фильтр.
Между совокупностью признаков изобретения и техническим результатом, который достигается, существует следующая причинно-следственная связь: выполнение во входном канале калиброванного отверстия обеспечивает надежность работы и предотвращает возможность повышения выходного давления выше заданного, выполненный в виде сферической головки клапанный элемент способствует более эффективному сбросу сжатого воздуха и уменьшает усилие уплотнения для обеспечения компенсации смещения мембраны, жестко закрепленное с мембраной седло клапана сброса обеспечивает постоянное выходное давление за счет минимального прогиба мембраны, то есть сведение до минимума изменения эффективной площади мембраны, а установленный на входе калиброванного отверстия фильтр предотвращает засорение данного отверстия.
Изобретение, которое заявляется, иллюстрируется чертежом.
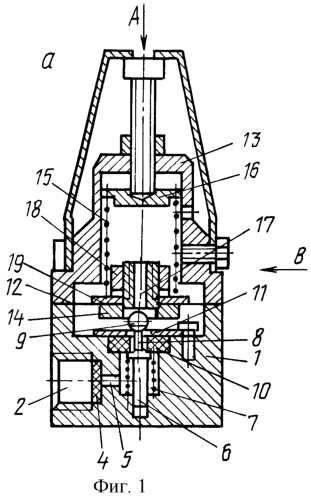
На фиг.1 а, б, в изображен клапан редукционный в продольном разрезе; на фиг.2 – вид А – проекция сверху; на фиг.3 – вид В – ломанный разрез.
Пневмоклапан редукционный состоит из корпуса 1, входного 2 и выходного 3 каналов, фильтра 4, расположенного перед входом калиброванного отверстия 5, дроссельного ступенчатого клапана 6, нагруженного пружиной 7, жестко соединенного штоком 8 с клапанным элементом 9 в виде сферической головки седла, выполненного жестко закрепленным с эластичным уплотнительным элементом 10, закрепленным шайбой 11, мембраны 12 мембранного управляющего узла, установленной между корпусом 1 и стаканом 13 с жестко закрепленным клапаном сброса 14, нагрузочной пружины 15, упирающейся в тарелку 16 стакана 13, отверстия 17 клапана сброса 14, гайки 18, прижимающей жесткий центр 19 с мембраной 12 к бурту клапана сброса 14.
Работа клапана редукционного осуществляется следующим образом.
Сжатый воздух, подаваемый во входной канал 2, проходит через фильтр 4 и калиброванное отверстие 5 и поступает к подпружиненному дроссельному ступенчатому клапану 6.
Под действием нагрузочной пружины 15 мембрана 12 мембранного управляющего узла прогибается в сторону подпружиненного дроссельного ступенчатого клапана 6 и отрывает его от эластичного уплотнительного элемента 10, образуя зазор между подпружиненным дроссельным ступенчатым клапаном 6 и эластичным уплотнительным элементом 10, что позволяет сжатому воздуху попадать в подмембранную полость и уравновешивать мембрану 12 мембранного управляющего узла, вследствие чего подпружиненный дроссельный клапан 6 за счет пружины 7 упирается в эластичный уплотнительный элемент 10 и перекрывает дальнейшую подачу сжатого воздуха в подмембранную полость и к выходному каналу 3. Иными словами, под действием нагрузочной пружины 15 на мембрану 12 мембранного управляющего узла, сжатый воздух из входного канала 2 через дроссельный клапан 6 подается в подмембранную полость и к выходному каналу 3.
При расходе воздуха происходит падение давления в подмембранной полости, и мембрана 12 мембранного управляющего узла под действием нагрузочной пружины 15, упирающейся в тарелку 16 стакана 13, прогибается в сторону подпружиненного дроссельного ступенчатого клапана 6 и клапанного элемента 9 в виде сферической головки, отрывает его от эластичного уплотнительного элемента 10, жестко закрепленного с седлом, и обеспечивает подачу сжатого воздуха в подмембранную полость и на выход из пневмоклапана, таким образом обеспечивая поддержание постоянного давления на выходе.
При повышении давления на выходе 3 выше давления настройки мембрана 12 мембранного управляющего узла прогибается в сторону пружины 15 и открывает отверстие 17 в клапане сброса 14, обеспечивая сброс избыточного давления воздуха в атмосферу.
Применение предлагаемого технического решения позволяет упростить конструкцию, повысить технологичность и надежность изделия, предотвратить возможность повышения выходного давления выше заданного за счет выполнения во входном канале калиброванного отверстия, обеспечить более эффективный сброс сжатого воздуха и уменьшить усилие уплотнения для обеспечения компенсации смещения мембраны посредством выполнения дроссельного клапана ступенчатым, а клапанного элемента в виде сферической головки, обеспечить постоянное выходное давление за счет жестко закрепленного с мембраной седла клапана, а также избежать засорения входного калиброванного отверстия путем установки на его входе фильтра.
Формула изобретения
1. Пневмоклапан редукционный, содержащий корпус с расположенными в нем входным и выходным каналами, подпружиненный дроссельный клапан, мембранный управляющий узел с нагрузочной пружиной, клапан сброса с отверстием сброса выходного давления в атмосферу, отличающийся тем, что входной канал корпуса снабжен калиброванным отверстием, подпружиненный дроссельный клапан с седлом, выполненным жестко закрепленным с эластичным уплотнительным элементом, жестко соединен штоком с клапанным элементом в виде сферической головки, с которой взаимодействует седло клапана сброса, выполненное жестко закрепленным с мембраной мембранного управляющего узла, причем между диаметром калиброванного отверстия на входе и диаметром отверстия клапана сброса использовано следующее соотношение;
3 dко dокс,
где 3 dко – диаметр калиброванного отверстия на входе;
dокс – диаметр отверстия клапана сброса.
2. Пневмоклапан редукционный по п.1, отличающийся тем, что подпружиненный дроссельный клапан выполнен ступенчатым.
3. Пневмоклапан редукционный по п.1, отличающийся тем, что калиброванное отверстие на входе снабжено фильтром.
РИСУНКИ
MM4A – Досрочное прекращение действия патента СССР или патента Российской Федерации на изобретение из-за неуплаты в установленный срок пошлины за поддержание патента в силе
Дата прекращения действия патента: 29.01.2007
Извещение опубликовано: 20.02.2008 БИ: 05/2008
|
|