|
|
(21), (22) Заявка: 2003127449/06, 11.09.2003
(24) Дата начала отсчета срока действия патента:
11.09.2003
(45) Опубликовано: 27.04.2005
(56) Список документов, цитированных в отчете о поиске:
US 4430867 А, 12.02.1984. SU 1768881 A1, 15.10.1992. RU 2064136 C1, 20.07.1996. SU 779751 A1, 17.11.1980. DE 20220632 U1, 19.02.2003.
Адрес для переписки:
119330, Москва, ул. Мосфильмовская, 37, корп.2, кв.7, пат.пов. А.И.Кузнецову
|
(72) Автор(ы):
Каллиопин А.К. (RU), Матвеенко А.М. (RU)
(73) Патентообладатель(и):
Московский авиационный институт (Государственный технический университет) (RU), Каллиопин Александр Константинович (RU), Матвеенко Александр Макарович (RU)
|
(54) СПОСОБ КОНДИЦИОНИРОВАНИЯ ВОЗДУХА
(57) Реферат:
Способ относится к кондиционированию воздуха и может быть использован в установках кондиционирования воздуха геромокабин самолетов, в которых воздух подвергается стерилизации. Способ кондиционирования воздуха включает сжатие атмосферного воздуха, предварительное охлаждение его воздухом, поступающим из атмосферы, последующее расширение сжатого воздуха в холодильной турбине с понижением температуры, подачу холодного воздуха после расширения в холодильной турбине в кондиционируемое пространство, в поток сжатого воздуха непосредственно перед его расширением в холодильной турбине подают жидкое бактерицидное вещество. Технический результат заключается в возможности с высокой эффективностью проводить стерилизацию воздуха, подаваемого в кондиционируемое пространство. 8 з.п. ф-лы, 1 ил.

Изобретение относится к кондиционированию воздуха, в частности к способам кондиционирования воздуха в геромокабинах (салонах) самолетов, в которых воздух подвергается стерилизации (дезинфекции).
Известен способ кондиционирования воздуха, включающий сжатие атмосферного воздуха в компрессоре двигателя, отбор сжатого воздуха от компрессора в систему кондиционирования, последующее охлаждение его в воздухо-воздушном теплообменнике продувочным воздухом, поступающим из атмосферы, расширение сжатого воздуха в холодильной турбине с понижением температуры, подачу холодного воздуха после холодильной турбины в гермокабину самолета (Системы оборудования летательных аппаратов. Под редакцией Матвеенко А.М. и Бекасова В.И. М.: Машиностроение, 1995, с.129-134).
Известен также способ кондиционирования воздуха путем сжатия атмосферного воздуха, предварительного охлаждения его воздухом, поступающим из атмосферы, последующего расширения сжатого воздуха в холодильной турбине с понижением температуры, подачи холодного воздуха после расширения в холодильной турбине в кондиционируемое пространство (DE 2336500 С3, 06.02.1975).
В этих технических решениях осуществляется только фильтрация рециркуляционного воздуха кабины от пыли и углекислоты и поглощение запаха.
Известен способ кондиционирования воздуха (прототип), включающий сжатие атмосферного воздуха, предварительное охлаждение его воздухом, поступающим из атмосферы, последующее расширение сжатого воздуха в холодильной турбине с понижением температуры, подачу холодного воздуха после расширения в холодильной турбине в кондиционируемое пространство (US 44430867 А, 14.02.1984, U.S.C1. 62/402).
Однако в известном способе кондиционирования производится очистка рециркуляционного воздуха путем фильтрации от пыли и углекислоты и не предусмотрена стерилизация (дезинфекция) воздуха, поступающего в кондиционируемое пространство.
Задача настоящего изобретения заключается в разработке способа, который позволяет с высокой эффективностью и малыми затратами осуществлять непрерывную или периодическую стерилизацию подаваемого в кондиционируемое пространство воздуха и, следовательно, проводить дезинфекцию кондиционируемого пространства.
Указанный технический результат достигается тем, что в известном способе кондиционирования воздуха, включающем сжатие атмосферного воздуха, предварительное охлаждение его воздухом, поступающим из атмосферы, последующее расширение сжатого воздуха в холодильной турбине с понижением температуры, подачу холодного воздуха после расширения в холодильной турбине в кондиционируемое пространство, согласно изобретению, в поток сжатого воздуха непосредственно перед его расширением в холодильной турбине подают жидкое бактерицидное вещество.
Предусмотрено, что жидкое бактерицидное вещество дозируют в процессе его подачи в поток сжатого воздуха.
Наряду с этим жидкое бактерицидное вещество подают в поток сжатого воздуха периодически.
Предусмотрено также, что в поток сжатого воздуха непосредственно перед его расширением в холодильной турбине дополнительно подают жидкое ароматическое средство или жидкое усыпляющее вещество.
Кроме того, температуру воздуха на выходе из холодильной турбины могут поддерживать выше температуры образования кристаллов льда в потоке.
Кроме того, предусмотрено, что для поддержания заданного значения температуры воздуха на выходе из холодильной турбины определенное количество воздуха после сжатия направляют на смешение с потоком воздуха перед его расширением в холодильной турбине.
Целесообразно поток воздуха после прохождения в кондиционируемом пространстве разделить на два потока, первый из которых отводят в атмосферу, а второй поток воздуха направляют на рециркуляцию.
Также предусмотрено, что рециркуляционный поток могут отводить в атмосферу.
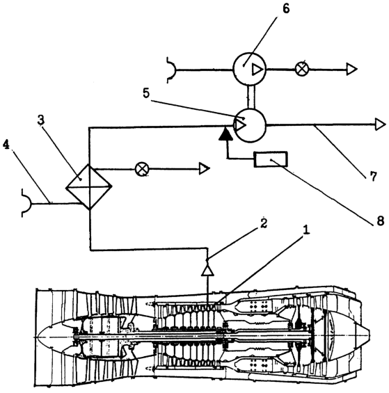
На чертеже приведена схема системы кондиционирования воздуха в герметической кабине (салоне) самолета с отбором воздуха от компрессора турбореактивного двигателя, которая реализует предлагаемый способ.
Система включает в себя компрессор (1), магистраль высокого давления (2), воздухо-воздушный теплообменник (3) с воздухозаборным каналом продувочного воздуха (4), холодильную турбину (5) с тормозным турбокомпрессором (6) на валу, магистраль (7) холодного воздуха, емкость (8) с жидким бактерицидным веществом и байпасный (перепускной) трубопровод (9) с установленной в нем регулирующей заслонкой (10).
Способ кондиционирования воздуха осуществляется следующим образом.
Атмосферный воздух сжимается с повышением температуры в компрессоре (1) турбореактивного двигателя и по магистрали (2) высокого давления подается в воздухо-воздушный теплообменник (3), в котором охлаждается продувочным воздухом. Продувочный (охлаждающий) воздух поступает из атмосферы через воздухозаборный канал (4) и затем, пройдя воздухо-воздушный теплообменник (ВВТ), выбрасывается в окружающую среду (атмосферу). Предварительно охлажденный в ВВТ сжатый воздух направляется на расширение в холодильную турбину (5). В процессе расширения происходит понижение температуры воздуха и отдача механической энергии тормозному турбокомпрессору (6), кинематически связанному валом с ротором холодильной турбины. После турбины (6) холодный воздух по магистрали (7) подается в кондиционируемое помещение, например, в кабину экипажа и пассажирские салоны самолета. Из емкости (8) в поток сжатого воздуха непосредственно перед его расширением в холодильной турбине подают постоянно или периодически жидкое бактерицидное вещество, которое в проточной части холодильной турбины, в частности, на лопатках ротора турбины, превращается в мелкодисперсное состояние и вместе с потоком холодного воздуха поступает в кондиционируемое помещение для его обеззараживания. Жидкое бактерицидное вещество дозируют в процессе его подачи в поток сжатого воздуха. Предусмотрено, что в поток сжатого воздуха непосредственно перед его расширением в холодильной турбине могут дополнительно подавать жидкое ароматическое средство или жидкое усыпляющее вещество (например, наркотическое вещество, анестетик и др.). Усыпляющее вещество используют для предотвращения возможности проведения террористических актов, захвата заложников, самолета и т.д. Температуру воздуха на выходе из холодильной турбины поддерживают выше температуры образования кристаллов льда в потоке. Также предусмотрено, что для поддержания заданного значения температуры воздуха на выходе из холодильной турбины, определенное количество воздуха после сжатия по байпасному трубопроводу (9) через регулирующую заслонку (10) направляют на смешение с потоком воздуха перед его расширением в холодильной турбине (5). Целесообразно, для сокращения расхода дезинфицирующего вещества и уменьшения потребления энергии, поток воздуха после прохождения в кондиционируемом пространстве разделить на два потока, первый из которых отводят в атмосферу, например, через регулятор давления в кабине, а второй поток воздуха направляют на рециркуляцию, которая осуществляется вентилятором, установленным в рециркуляционном контуре. Также предусмотрено, что с целью повышения эффективности проведения дезинфекции путем интенсификации воздухообмена в кондиционируемом пространстве, рециркуляционный поток могут отводить в атмосферу из рециркуляционного конура через клапан, установленный за вентилятором.
Кроме того, предусмотрено, что в поток сжатого воздуха непосредственно перед его расширением в холодильной турбине дополнительно может подаваться жидкое усыпляющее вещество.
Достижение указанного технического результата при использовании предлагаемого способа обусловлено возможностью проведения непрерывной или периодической стерилизации кондиционируемого пространства во время работы системы с минимальными затратами.
Формула изобретения
1. Способ кондиционирования воздуха, включающий сжатие атмосферного воздуха, предварительное охлаждение его воздухом, поступающим из атмосферы, последующее расширение сжатого воздуха в холодильной турбине с понижением температуры, подачу холодного воздуха после расширения в холодильной турбине в кондиционируемое пространство, отличающийся тем, что в поток сжатого воздуха непосредственно перед его расширением в холодильной турбине подают жидкое бактерицидное вещество.
2. Способ по п.1, отличающийся тем, что жидкое бактерицидное вещество дозируют в процессе его подачи в поток сжатого воздуха.
3. Способ по п.2, отличающийся тем, что жидкое бактерицидное вещество подают в поток сжатого воздуха периодически.
4. Способ по п.1, или 2, или 3, отличающийся тем, что в поток сжатого воздуха непосредственно перед его расширением в холодильной турбине дополнительно подают жидкое ароматическое средство.
5. Способ по п.1, или 2, или 3, отличающийся тем, что в поток сжатого воздуха непосредственно перед его расширением в холодильной турбине дополнительно подают жидкое усыпляющее вещество.
6. Способ по п.1, или 2, или 3, или 4, или 5, отличающийся тем, что температуру воздуха на выходе из холодильной турбины поддерживают выше температуры образования кристаллов льда в потоке.
7. Способ по п.6, отличающийся тем, что для поддержания заданного значения температуры воздуха на выходе из холодильной турбины определенное количество воздуха после сжатия направляют на смешение с потоком воздуха перед его расширением в холодильной турбине.
8. Способ по пп. 1-7, отличающийся тем, что поток воздуха после прохождения в кондиционируемом пространстве делят на два потока, первый из которых отводят в атмосферу, а второй поток воздуха направляют на рециркуляцию.
9. Способ по п.8, отличающийся тем, что рециркуляционный поток отводят в атмосферу.
РИСУНКИ
MM4A Досрочное прекращение действия патента Российской Федерации на изобретение из-за неуплаты в установленный срок пошлины за поддержание патента в силе
Дата прекращения действия патента: 12.09.2005
Извещение опубликовано: 27.01.2007 БИ: 03/2007
|
|