|
|
(21), (22) Заявка: 2002102729/06, 23.06.2000
(24) Дата начала отсчета срока действия патента:
23.06.2000
(30) Конвенционный приоритет:
02.07.1999 IT BS99U000058
(43) Дата публикации заявки: 10.09.2003
(45) Опубликовано: 27.04.2005
(56) Список документов, цитированных в отчете о поиске:
US 5525771 А, 11.06.1996. ЕР 0902238 А, 17.03.1999. US 3971904 A, 24.07.1976. SU 1326841 A1, 30.07.1987. SU 399685 A, 03.10.1973. SU 1617263 A1, 30.12.1990. RU 2056590 C1, 20.03.1996. RU 2022211 С1, 30.10.1994.
(85) Дата перевода заявки PCT на национальную фазу:
04.02.2002
(86) Заявка PCT:
EP 00/05833 (23.06.2000)
(87) Публикация PCT:
WO 01/02776 (11.01.2001)
Адрес для переписки:
103735, Москва, ул. Ильинка, 5/2, ООО “Союзпатент”, пат.пов. О.Ф.Ивановой
|
(72) Автор(ы):
ЛАМБЕРТИ Сильвано (IT)
(73) Патентообладатель(и):
САБАФ С.П.А., (IT)
|
(54) ЭЛЕКТРИЧЕСКИЙ ВЫКЛЮЧАТЕЛЬ ДЛЯ ГАЗОВЫХ КРАНОВ И КРАН ДЛЯ ПОДАЧИ ГАЗА НА ГАЗОВЫЕ ГОРЕЛКИ
(57) Реферат:
Изобретение предназначено для электрического выключателя устройства воспламенения газовых горелок, который может быть установлен на кран подачи газа, причем указанный кран подачи газа содержит шток маневрирования, который может свободно перемещаться и поворачиваться вокруг собственной оси в корпусе крана для управления подачей газа, причем электрический выключатель содержит коробку, которая может быть закреплена на корпусе крана и в которой установлен первый контакт с возможностью соединения со вторым контактом для замыкания или размыкания электрической цепи устройства воспламенения. Вышеуказанный выключатель содержит планку управления, способную свободно перемещаться в коробке и закрепленную на штоке таким образом, что она перемещается в двух направлениях перемещения указанного штока, но не вращается вместе со штоком. Кроме этого планка управления устанавливает два контакта в электрическое соединение в точке, соответствующей, по меньшей мере, одному положению штока, причем в остальных случаях указанные два контакта отделены друг от друга. Такое выполнение электрического выключателя позволит сделать его простым в изготовлении, а также надежным и эффективным при частом использовании, а также сделать компактным и простым при установке крана для подачи газа в газовые горелки. 9 ил.

Область техники
Настоящее изобретение относится к электрическому выключателю для устройств воспламенения газовых горелок, которые могут быть объединены с корпусом крана для подачи газа.
В вариантах воплощения кухонных конфорок плит с газовыми горелками, появившихся в последнее время, используются электрические устройства воспламенения газа, например, искрового или накального типа, которые соединены с каждой горелкой, при этом пользователь включает устройство воспламенения газа одновременно с включением крана подачи газа выбранной горелки.
Предпосылки изобретения
Краны подачи газа, фактически, управляются штоком маневрирования, который установлен таким образом, что может свободно скользить вдоль и поворачиваться вокруг своей собственной оси по отношению к корпусу крана, что позволяет подавать необходимое пользователю количество газа, при нажатии его по направлению к корпусу крана и повороте по отношению к последнему. В электрическую цепь устройства воспламенения газа включен выключатель, который соединен со штоком маневрирования крана подачи газа так, что давление, прикладываемое пользователем к штоку для подачи газа, приводит к замыканию выключателя и одновременному включению устройства воспламенения, в то время как освобождение указанного штока приводит к размыканию указанного выключателя.
Такие выключатели устройства воспламенения газовой горелки обычно состоят из коробки, установленной на корпусе крана, двух электрических контактов, расположенных на некотором расстоянии друг от друга, и включенных в цепь устройства воспламенения, и подвижного элемента, предназначенного для замыкания цепи, который установлен таким образом, что может свободно скользить в коробке, под воздействием штока маневрирования или самого крана.
В особенно распространенной конструкции выключателя коробка, которая может быть установлена на корпусе крана, и подвижный элемент, который имеет возможность перемещения по отношению к коробке, имеют круглое отверстие, в которое при сборке устанавливают шток маневрирования крана. Кроме того, внутри коробки установлены друг над другом два электрических контакта соответствующей формы, которые расположены на некотором расстоянии друг от друга, когда на них не воздействует внешняя сила. При нажатии для подачи газа шток маневрирования посредством прижимного элемента вызывает смещение подвижного элемента по направлению внутрь коробки таким образом что подвижный элемент в свою очередь толкает, упруго деформируя, один из двух электрических контактов по направлению друг к другу для замыкания цепи устройства воспламенения. При освобождении ручки маневрирования одна или большее количество возвратных пружин, воздействующих на подвижный корпус внутри коробки, выталкивает указанный подвижный элемент так, что возвращает его в исходное положение, разрывая, таким образом, цепь.
Хотя упомянутый выключатель достаточно прост при сборке на штоке, для правильной работы схемы в нем должно быть установлено упругое средство возврата подвижного элемента в исходное положение. Это в определенной степени усложняет конструкцию выключателя и может привести к его отказу из-за возможной остаточной деформации пружины, которая из-за этого перестает правильно выполнять свою функцию возврата.
Кроме того, компоновка и взаимное соединение двух контактов за счет упругой деформации одного из них при приложении усилия подвижного элемента может вызвать с течением времени постоянную деформацию, из-за которой эти два контакта остаются в постоянно замкнутом состоянии, и, следовательно, цепь устройства воспламенения будет постоянно замкнутой. В другом известном варианте выполнения выключатель содержит наружную коробку, которая установлена на корпусе крана подачи, и планку управления, то есть, подвижный элемент, который свободно входит внутрь корпуса. На один из концов планки управления можно нажимать с помощью ручки или кольца, соединенных со штоком маневрирования крана подачи, в то время как на другом конце установлен электропроводный элемент. Внутри коробки электрические контакты отделены друг от друга, и замыкание цепи устройства воспламенения происходит путем перемещения планки управления, когда электропроводный элемент планки управления соединяется с двумя электрическими контактами. При освобождении штока маневрирования упругое средство, соединенное с коробкой, выталкивает планку управления в исходное положение, разрывая, таким образом, соединение между контактами и размыкая, таким образом, цепь устройства воспламенения.
Наличие возвратной пружины в этом типе выключателя также приводит к проблемам, связанным с конструктивной сложностью, и со временем к ухудшению работы выключателя; то есть, проблемам, которые аналогичны проблемам варианта воплощения описанного выше.
Кроме того, установка планки управления внутри наружной коробки требует исключительно точного соблюдения размеров для предотвращения возможного несовпадения между концевой частью планки, на который установлен электрический проводник, и двумя разделяемыми контактами. Такое несовпадение может привести к невозможности соединения контактов и, таким образом, замыкания цепи устройства воспламенения.
Наиболее близким техническим решением по совокупности существенных признаков и достигаемому результату заявленной группе электрическому выключателю для газовых кранов и крану для подачи газа на газовые горелки является патент US 5525771. В известном патенте раскрыты как электрический выключатель для крана подачи газа, так и соответствующий кран для подачи газа. Известный электрический выключатель содержит шток маневрирования, свободно перемещающийся вдоль собственной оси и вокруг нее внутри корпуса крана для управления подачей газа, коробку, установленную на корпусе крана. В указанной коробке установлен первый контакт с возможностью соединения со вторым контактом для замыкания или размыкания электрической цепи устройства воспламенения. В известном выключателе “кулачкообразный” ротор, связанный с движущимся штоком крана для подачи газа, позволяет замыкание электрической цепи устройства воспламенения газовой горелки только тогда, когда шток повернут в определенное угловое положение по отношению к выключателю, в противном случае электрическая цепь остается разомкнутой.
Описание изобретения
Настоящее изобретение направлено на решение проблем известного уровня техники посредством создания электрического выключателя для газовых кранов, который является простым в изготовлении, а также надежным и эффективным при частом использовании.
Кроме того, настоящее изобретение направлено на создание крана для подачи газа в газовые горелки, который является компактным, простым при установке и не требует каких-либо конструктивных мер для предотвращения несовпадений между частями.
Поставленная задача решается тем, что в электрическом выключателе для устройства воспламенения газовой горелки, который может быть установлен на кран подачи газа, причем кран подачи газа содержит шток маневрирования, свободно перемещающийся вдоль собственной оси и вокруг нее внутри корпуса крана для управления подачей газа, содержащем коробку, которая установлена на корпусе крана и в которой установлен первый контакт с возможностью соединения со вторым контактом для замыкания или размыкания электрической цепи устройства воспламенения, согласно изобретению электрический выключатель содержит планку управления, способную свободно перемещаться в указанной коробке, и которая закреплена на штоке так, что имеет возможность перемещения, но не вращения вместе со штоком в двух направлениях перемещения указанного штока, причем планка управления приспособлена для установления двух контактов в электрическое соединение в соответствии с, по меньшей мере, одним положением штока, причем два контакта в других случаях отделены друг от друга.
Электрический выключатель устройства воспламенения для газовых горелок, в соответствии с настоящим изобретением, может быть соединен с краном подачи газа такого типа, который содержит шток маневрирования, который может свободно скользить и поворачиваться вокруг собственной оси в корпусе крана для управления подачей газа. Выключатель содержит наружную коробку, которая может быть закреплена на корпусе крана, в которой, в свою очередь, установлены первый контакт и второй контакт, и которые могут соединяться вместе так, чтобы электрическая цепь устройства воспламенения могла замыкаться или размыкаться. Выключатель также содержит планку управления, которая может свободно перемещаться внутри коробки и которая установлена на штоке маневрирования так, что может перемещаться, но не может поворачиваться одновременно со штоком в двух направлениях перемещения самого штока. Планка управления может электрически замыкать два контакта, по меньшей мере, в одном положении штока, причем эти два контакта в других положениях являются разомкнутыми.
В соответствии с предпочтительным аспектом настоящего изобретения, по меньшей мере, один из двух контактов плотно прижат к другому контакту, и планка управления содержит, по меньшей мере, одну изолирующую часть, которая может быть установлена между двумя электрическими контактами для разрыва цепи устройства воспламенения в соответствии с одним положением или большим количеством положений штока маневрирования.
В соответствии с дополнительным аспектом настоящего изобретения, планка управления содержит, по меньшей мере, одну изолирующую часть, и, по меньшей мере, одну замыкающую часть, предназначенную для замыкания контактов, причем замыкающая часть установлена между контактами, когда шток находится, по меньшей мере, в одном первом положении подачи газа, причем контакты в других случаях разделены посредством изолирующей части.
В соответствии с дополнительным аспектом настоящего изобретения, по меньшей мере, один из контактов электрически соединен с замыканием с другим контактом и замыкающая часть планки управления содержит, по меньшей мере, одно соединительное окно для указанных контактов.
В соответствии с дополнительным аспектом настоящего изобретения замыкающая часть содержит, по меньшей мере, один электропроводный элемент.
В соответствии с дополнительным аспектом настоящего изобретения выключатель содержит первое фиксирующее с защелкиванием средство, выполненное как единая деталь с планкой управления, предназначенное для закрепления планки на штоке маневрирования таким образом, что планка имеет возможность свободно вращаться, но не может перемещаться по отношению к штоку.
В соответствии с дополнительным аспектом настоящего изобретения выключатель содержит второе фиксирующее с защелкиванием средство, выполненное как единая деталь с коробкой, предназначенное для фиксирования последней на корпусе крана.
В соответствии с дополнительным аспектом настоящего изобретения коробка содержит первый элемент, на котором сформировано средство крепления на корпусе крана, и второй элемент, который является взаимодополняющим по отношению к первому элементу, причем указанные первый и второй элементы имеют такую форму, что они имеют возможность соединения вместе с защелкиванием и формируют внутренне пространство, предназначенное для установки контактов, и в котором установлена с возможностью перемещения планка управления.
Поставленная задача решается также тем, что кран для подачи газа на газовые горелки, согласно изобретению, содержит электрический выключатель, выполненный в соответствии с любым из заявленных пунктов.
Краткое описание чертежей
Предпочтительный вариант выполнения настоящего изобретения будет описан ниже только в виде примера, со ссылкой на прилагаемые чертежи, на которых:
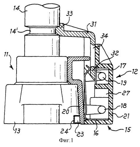
фиг.1 изображает часть корпуса крана и поперечное сечение выключателя, установленного на кране, в разомкнутом положении;
фиг.2 изображает вид, аналогичный представленному на фиг.1, но с выключателем в замкнутом положении;
фиг.3 изображает частичное поперечное сечение сборки, представленной на фиг.1;
фиг.4 и 5 изображают, соответственно, виды подвижного контакта и неподвижного контакта выключателя;
фиг.6 изображает вид в перспективе планки, которая установлена между штоком крана и выключателем для управления последним;
фиг.7 изображает вид в перспективе элементов корпуса выключателя и соединенной с ним планки управления;
фиг.8 изображает соединение множества последовательно установленных выключателей для множества газовых кранов кухонной плиты; и
фиг.9a-9d изображают другой предпочтительный вариант выполнения настоящего изобретения.
Варианты выполнения настоящего изобретения
Как показано на чертежах, газовый кран обозначен цифрой 11 и электрический выключатель цифрой 12. На чертеже изображена часть корпуса 13 газового крана, в котором установлен шток 14 маневрирования, который может выполнять осевое движение и вращательное движение по отношению к его собственной оси и конструкция которого позволяет управлять задвижкой (не показана) для того, чтобы открывать/закрывать подачу газа в горелку.
Выключатель 12, в свою очередь, содержит коробку 15, установленную непосредственно на корпусе 13 крана 11 на одной из его сторон вблизи от штока 14 маневрирования крана, и планку 31 управления, установленную на коробке 15 таким образом, что она может свободно входить в указанную коробку 15. Предпочтительно, коробка 15 выключателя содержит фиксирующее средство, которое имеет такую форму, что позволяет упруго закрывать и закреплять коробку 15 выключателя на корпусе 13 крана. Однако может использоваться другое средство, которое, в любом случае, позволяет жестко закреплять коробку 15 на корпусе 13.
Планка 31 управления, как будет подробно описано ниже, установлена таким образом, что она может перемещаться в обоих направлениях, совместно со штоком 14 маневрирования газового крана.
В коробке 15 выключателя установлены первый контакт 16 и второй контакт 17, которые могут соединяться друг с другом и каждый из которых соединен с соответствующим электрическим проводником 18, 19 электрической цепи, по которой подается питание на воспламеняющее устройство газовой горелки. Вышеописанное воспламеняющее устройство (не показано) может, например, быть искрового или накального типа.
В изображенном варианте воплощения в качестве примера коробка 15 выключателя состоит из первого элемента 20 и второго элемента 21, которые изготовлены из изоляционного пластмассового материала. Эти два элемента выполнены взаимодополняющими и имеют соответствующую форму, которая позволяет защелкивать их друг с другом так, что формируется коробка 15.
В частности, первый элемент 20 имеет второе фиксирующее средство в виде С-образной упругой части 22, которая охватывает корпус 13 крана для закрепления на последнем, и, кроме того, содержит выступ 23, который, входя в соответствующую выемку 24, сформированную в корпусе 13 крана, предотвращает относительное вращение между корпусом 13 и элементом 20. Второй элемент 21 закреплен на первом элементе 20 так, что формируется коробка 15 посредством защелкивающихся соединительных зубцов 25. Внутренняя форма элементов 20, 21 выполнена таким образом, что формируется гнездо 26, в котором установлены и закреплены электрические контакты 16, 17. В частности, электрические контакты 16, 17 установлены, соответственно, внутри гнезд 27, 28 коробки 15 так, что обеспечивается их электрическое соединение с электропроводными выводами цепи воспламеняющего устройства.
В соответствии с вариантом воплощения, изображенным на чертежах, один из контактов 16 содержит упругую лапку 16′, расположенную на его концевой части, которая является подвижной по отношению к контакту 17, позволяя замыкать или разрывать цепь воспламеняющего устройства. Лапка 16′ имеет такую форму и установлена в коробке 15 таким образом, что она прижимается за счет собственной упругости к другому контакту 17.
В альтернативных вариантах воплощения, которые не показаны на чертежах, контакт 16 может прижиматься для электрического соединения к контакту 17 с помощью, например, прижимной пружины.
Каждый из двух контактов 16, 17 имеет пластинчатую часть (фиг.4 и 5), в которой сформирована прорезь 29 с расширением на входе 30 для установки соответствующего электрического проводника цепи воспламеняющего устройства. Вырезы 29 контактов 16, 17 выполнены с соответствующим уменьшением толщины, что позволяет производить быструю установку проводников выключателя без необходимости предварительной зачистки изоляции проводников. Фактически, перед соединением с защелкиванием двух элементов 20 и 21, которые формируют коробку 15, каждый проводник цепи подачи питания на воспламеняющее устройство с усилием вставляют в соответствующую прорезь 29 так, что при этом разрезается оболочка проводника и создается электрическое соединение между проводником и контактом. Последующее соединение с защелкиванием двух элементов 20, 21 удерживает проводники 18, 19 и контакты 16, 17 в требуемом положении.
Выключатель работает посредством планки 31 управления, которая свободно входит в коробку 15 и которая установлена таким образом, что может перемещаться в обоих направлениях скольжения штока 14 маневрирования вместе с самим штоком 14 маневрирования, причем она не вращается вместе с последним. Фактически, для того, чтобы подать требуемое количество газа на соответствующую горелку, пользователь должен нажать и повернуть шток 14 маневрирования газового крана по отношению к корпусу горелки 13.
Для обеспечения указанного крепления с возможностью перемещения планки 31 вместе со штоком 14, в соответствии с особым аспектом настоящего изобретения, на концевой части планки 31 сформировано первое фиксирующее средство в виде С-образного кольца 33, которое может упруго деформироваться и которое соединяется с защелкиванием в соответствующей канавке, сформированной на боковой поверхности штока 14, таким образом, что планка 31 может скользить в фиксированном положении относительно самого штока 14, но не может вращаться вместе с ним. Планка 31 управления имеет фасонный рычаг, который входит в соответствующее отверстие коробки 15 и который может свободно перемещаться в гнезде 26 в области, соответствующей частям соединения двух контактов 16, 17. Фасонный рычаг установлен, в частности, между двумя контактами 16, 17, в соответствии с их соединяемыми частями.
Указанный фасонный рычаг дополнительно содержит часть 34, предназначенную для замыкания контактов, состоящую из окна соответствующего размера, которое позволяет двум контактам 16, 17 замыкаться друг с другом, и часть 32, выполненную из изолирующего материала.
Когда при перемещении штока 14 маневрирования крана планка 31 управления перемещается вдоль оси, фасонный рычаг смещается по отношению к двум контактам 16, 17, таким образом, что перед соединяющимися частями двух контактов 16, 17 располагается часть 34, предназначенная для замыкания, или изолирующая часть 32, соответственно. Благодаря упругим характеристикам лапки 16′ контакта 16, когда часть 34, предназначенная для замыкания, устанавливается между двумя контактами 16, 17, между их соединяющимися частями, лапка 16′ прижимается к контакту 17 благодаря собственной упругости и, таким образом, соединяет цепь воспламеняющего устройства. Когда, в другом случае, между указанными контактами 16, 17 устанавливается изолирующая часть 32 планки 31 для разрыва соединения, лапка 16′ упруго деформируется в ограниченной степени, соответствующей толщине фасонного рычага, так, что она удерживается самой изолирующей частью 32.
Упругая деформация лапки 16′, в частности, является незначительной, поскольку изолирующая часть 32, которая устанавливается между двумя соединяющимися частями контактов 16 и 17, может иметь исключительно ограниченную толщину. В соответствии с альтернативным вариантом воплощения (не показан), часть 34, предназначенная для замыкания планки 31, может состоять из элемента, выполненного из электропроводного материала, который обеспечивает соединение контактов 16, 17, когда она (часть) устанавливается между последними.
Когда кран закрыт, и, таким образом, горелка выключена, шток 14 маневрирования находится в отведенном положении (то есть, по направлению от корпуса 13 крана), планка 31 управления выключателя 12 установлена так, что ее изолирующая часть 32 находится между гибкой лапкой 16′ и контактом 17. В этом случае, поскольку электрическое соединение между двумя контактами 16 и 17 отсутствует, цепь воспламеняющего устройства разомкнута (см. фиг.1).
Для того чтобы открыть кран 11 и пустить газ к горелке, шток 14 маневрирования последовательно смещают вдоль оси вперед и поворачивают вокруг его собственной оси. При осевом смещении штока 14, благодаря установке с возможностью перемещения в двух направлениях планки 31 и штока 14, планка 31 управления выключателя одновременно входит в коробку 15 выключателя до тех пор, пока окно 34 не займет положение, соответствующее соединению частей лапки 16′ и контакта 17.
Таким образом, лапка 16′ контакта 16 может прижиматься к контакту 17 для замыкания электрической цепи, подающей питание на устройство воспламенения, как показано на фиг.2. При дальнейшем повороте штока при одновременном прижиме его к корпусу 13 крана происходит подача газа из крана в горелку, где на газ воздействуют искры, создаваемые устройством электрического воспламенения, благодаря чему начинается горение.
Поворот штока 14 маневрирования крана не вызывает какого-либо поворота планки 31 управления.
Когда горение становится стабильным, шток 14 маневрирования отпускают, и благодаря соответствующему упругому средству, которое обычно установлено в кранах для газовых горелок, он возвращается, по существу, в исходное положение или в промежуточное положение, которое позволяет производить регулирование потока газа с помощью поворота самого штока 14 без прерывания потока газа. Освобождение и последующее осевое перемещение вдоль оси штока 14 в направлении, противоположном направлению его первоначального прижима, вызывает перемещение планки 31 управления в направлении противоположном исходному направлению. Это перемещение, в свою очередь, вызывает перемещение изолирующей части 32 по отношению к контактам 16, 17, и, следовательно, устанавливает указанную часть 32 между соединяющимися частями двух контактов 16, 17 так, что разрывается цепь воспламеняющего устройства.
Для возврата планки 31 управления в исходное положение, при котором цепь разомкнута, не требуется применения какого-либо упругого элемента или пружины, так как планка закреплена на штоке 14 маневрирования с возможностью перемещения вдоль оси в обоих направлениях при выполнении движений штока для управления краном подачи газа. Такое решение, в котором используется наличное упругое возвратное средство штока 14 маневрирования, позволяет упростить конструкцию выключателя, в которой не требуется использовать возвратные пружины для возврата планки 31 и гнездо для указанной пружины, одновременно делает выключатель более надежным, благодаря тому, что отсутствует риск того, что планка 31 останется постоянно в положении, соответствующем замыканию электрической цепи.
Кроме того, разрыв и замыкание контактов 16, 17 посредством соответствующей установки планки 31 управления, на которой сформирована часть для замыкания цепи, не создает каких-либо особых проблем при изготовлении выключателя с точки зрения возможного несовмещения частей, которые должны соединяться вместе. Установка планки 31 между соединяющимися частями контактов 16, 17 так, что она может свободно перемещаться, позволяет, кроме того, предотвратить возможное окисление указанных контактов 16, 17.
Наконец, когда кран закрывают, восстанавливается исходное положение, соответствующее изображению на фиг.1.
На фиг.9a-9d изображен дополнительный вариант воплощения настоящего изобретения, причем на них использованы те же номера ссылок, что и на фиг.1-8 для обозначения одних и тех же деталей. В частности, на фиг.9а изображен общий вид в перспективе выключателя в собранном состоянии, на фиг.9b и 9с изображены альтернативные варианты воплощения контактов, и на фиг.9d изображен вид планки 31 управления выключателя.
В частности, планка 31 управления выключателя, изображенная на фиг.9d, содержит изолирующий элемент 32, который соответствует отверстию 34′, который заменяет его и одновременно выполняет ту же функцию, что и окно 34 в варианте воплощения, изображенном на фиг.6.
При этом, как очевидно следует из описания, использование планки 31, которая перемещается в обоих направлениях перемещения совместно со штоком 14 газового крана, для управления выключателем электрического устройства воспламенения газовых горелок позволяет упростить структуру выключателя и одновременно повысить его надежность.
Кроме того, данный принцип замыкания и размыкания контактов 16, 17, в котором используется временное размещение изолирующих частей между контактами 16, 17, позволяет изготовить выключатель, который обеспечивает эффективную работу и практически не имеет проблем, связанных с несовпадением деталей.
Формула изобретения
1. Электрический выключатель для устройства воспламенения газовой горелки, который может быть установлен на кран подачи газа, причем кран подачи газа содержит шток (14) маневрирования, свободно перемещающийся вдоль собственной оси и вокруг нее внутри корпуса (13) крана для управления подачей газа, электрический выключатель содержит коробку (15), которая установлена на корпусе (13) крана и в которой установлен первый контакт (16) с возможностью соединения со вторым контактом (17) для замыкания или размыкания электрической цепи устройства воспламенения, отличающийся тем, что электрический выключатель содержит планку (31) управления, способную свободно перемещаться в указанной коробке (15) и которая закреплена на штоке (14) так, что имеет возможность перемещения, но не вращения вместе со штоком (14) в двух направлениях перемещения указанного штока (14), причем планка (31) управления приспособлена для установления двух контактов (16, 17) в электрическое соединение в соответствии с, по меньшей мере, одним положением штока (14), причем два контакта (16, 17) в других случаях отделены друг от друга.
2. Выключатель по п.1, отличающийся тем, что, по меньшей мере, один из контактов (16) прижат к другому контакту (17) и планка (31) управления содержит, по меньшей мере, одну изолирующую часть (32), которая может быть установлена между двумя контактами (16, 17) для разрыва цепи устройства воспламенения в одном или больше положении штока (14).
3. Выключатель по п.2, отличающийся тем, что планка (31) управления содержит, по меньшей мере, одну изолирующую часть (32) и, по меньшей мере, одну замыкающую часть (34), предназначенную для замыкания контактов (16, 17), причем замыкающая часть (34) установлена между контактами (16, 17), когда шток (14) находится, по меньшей мере, в одном первом положении подачи газа, причем контакты (16, 17) в других случаях разделены посредством изолирующей части (32).
4. Выключатель по п.3, отличающийся тем, что, по меньшей мере, один из контактов (16) электрически соединен с замыканием с другим контактом (17) и замыкающая часть (34) планки (31) управления содержит, по меньшей мере, одно соединительное окно для указанных контактов (16, 17).
5. Выключатель по п.3, отличающийся тем, что замыкающая часть (34) содержит, по меньшей мере, один электропроводный элемент.
6. Выключатель по любому из предыдущих пунктов, отличающийся тем, что содержит первое фиксирующее с защелкиванием средство, выполненное как единая деталь с планкой (31) управления, предназначенное для закрепления планки (31) на штоке (14) маневрирования таким образом, что планка (31) имеет возможность свободно вращаться, но не может перемещаться по отношению к штоку (14).
7. Выключатель по любому из предыдущих пунктов, отличающийся тем, что содержит второе фиксирующее с защелкиванием средство, выполненное как единая деталь с коробкой (15), предназначенное для фиксирования последней на корпусе (13) крана.
8. Выключатель по любому из предыдущих пунктов, отличающийся тем, что коробка (15) содержит первый элемент (20), на котором сформировано средство крепления на корпусе (13) крана, и второй элемент (21), который является взаимодополняющим по отношению к первому элементу (20), причем указанные первый и второй элементы (20, 21) имеют такую форму, что они имеют возможность соединения вместе с защелкиванием и формируют внутреннее пространство, предназначенное для установки контактов (16, 17) и в котором установлена с возможностью перемещения планка (31) управления.
9. Кран для подачи газа на газовые горелки, содержащий электрический выключатель в соответствии с любым из предыдущих пунктов 1-8.
РИСУНКИ
|
|