|
|
(21), (22) Заявка: 2002128629/09, 22.01.2002
(24) Дата начала отсчета срока действия патента:
22.01.2002
(30) Конвенционный приоритет:
06.08.2001 JP 2001-238216
(43) Дата публикации заявки: 27.02.2004
(45) Опубликовано: 10.04.2005
(56) Список документов, цитированных в отчете о поиске:
JP 04-051464 A, 19.02.1992. RU 2107359 C1, 20.03.1998. GB 2305139, 02.04.1997. US 3865924 A, 11.02.1975. US 5932365 A, 03.08.1999.
(85) Дата перевода заявки PCT на национальную фазу:
23.10.2002
(86) Заявка PCT:
JP 02/00426 (22.01.2002)
(87) Публикация PCT:
WO 02/05999 (01.08.2002)
Адрес для переписки:
129010, Москва, ул. Большая Спасская, 25, стр.3, ООО “Юридическая фирма Городисский и Партнеры”, Е.В.Томской
|
(72) Автор(ы):
СИОЯ Масахару (JP)
(73) Патентообладатель(и):
КАСИО КОМПЬЮТЕР КО., ЛТД (JP)
|
(54) УСТРОЙСТВО ДЛЯ УДАЛЕНИЯ ПОБОЧНЫХ ПРОДУКТОВ И ТОПЛИВНЫЙ ЭЛЕМЕНТ, СОЕДИНЕННЫЙ С МОДУЛЕМ ДЛЯ ВЫРАБОТКИ ЭЛЕКТРОЭНЕРГИИ
(57) Реферат:
Изобретение относится к устройству для удаления побочных продуктов, используемому в системе электропитания. Техническим результатом изобретения является получение достаточного количества энергии дешевым способом и без возможного выброса побочного продукта наружу. Согласно изобретению устройство для удаления побочных продуктов содержит заправляемую абсорбентом часть в топливном блоке, избирательно абсорбирующую диоксид углерода, содержащийся в первом газе, включающем водород и диоксид углерода, подаваемом из модуля для выработки энергии, для риформинга топлива для выработки энергии в первом газе и для генерирования электрической энергии из водорода, при этом заправляемая абсорбентом часть обеспечивает подачу второго газа, концентрация диоксида углерода в котором снижена за счет абсорбции в модуле для выработки энергии, причем топливный блок включает заправляемую топливом часть, имеющую заправленное в нее топливо для выработки энергии, представляющее собой жидкость или газ, содержащий водород. 5 н. и 19 з.п. ф-лы, 147 ил.

Область техники, к которой относится изобретение
Настоящее изобретение относится к устройству для удаления побочных продуктов, используемому в системе электропитания, а более конкретно – к устройству для удаления побочных продуктов, используемому в портативной системе электропитания с высокой эффективностью использования энергии.
Предшествующий уровень техники
Химические источники тока различных типов используются во всех областях применения в быту и промышленности. Например, первичный источник тока, такой, как сухой щелочной элемент или сухой марганцевый элемент, часто используется в часах, кино- и фотокамерах, игрушках и портативных акустических устройствах, и для такого источника тока характерны большой – с глобальной точки зрения – объем производства, дешевизна и общедоступность.
Вторичный источник тока, такой, как свинцовая аккумуляторная батарея, никель-кадмиевая аккумуляторная батарея, никель-водородная аккумуляторная батарея, литиевая ионная батарея, часто используется в мобильных телефонах или средствах типа персональных цифровых секретарей (ПЦС, называемых также “электронными секретарями” или “электронными помощниками”), которые широко применяются в выпускаемых в последние годы портативных устройствах, таких, как цифровая видеокамера или цифровая фотокамера, и для такого источника тока характерна большая экономическая эффективность, так как его можно повторно заряжать и разряжать. Среди вторичных источников тока свинцовая аккумуляторная батарея используется в качестве источника питания для запуска двигателей автомобилей или морских судов или в качестве аварийного источника питания в промышленном оборудовании или медицинском оборудовании, и т.п.
В последние годы, с ростом интереса к вопросам охраны окружающей среды или проблемам энергетики, внимательно изучались проблемы, касающиеся отработанных материалов, образующихся после использования химических источников тока, таких, как описанные выше, или касающиеся эффективности преобразования энергии.
Как отмечалось выше, первичный источник тока как изделие имеет небольшую цену и общедоступен, вследствие чего существует много устройств, в которых этот источник тока используется в качестве источника питания. Далее следует отметить, что, как правило, после того, как первичный источник тока разряжается, восстановить емкость батареи нельзя, а именно, ее можно использовать лишь один раз (то есть, так называемая батарея одноразового использования). Следовательно, количество отработанных материалов за год превышает несколько миллионов тонн. По этому поводу имеется статистическая информация, согласно которой доля общего количества химических источников тока, собранных для регенерации, составляет лишь примерно 20%, а остальные примерно 80% выбрасывают на открытые свалки или подвергают захоронению в землю. Таким образом, существует опасность нарушения природных условий и нанесения непоправимого ущерба естественной среде тяжелыми металлами, такими, как ртуть или индий, входящими в состав таких не утилизируемых батарей.
Оценивая химическую батарею с точки зрения эффективности использования энергетического ресурса, необходимо отметить, что, поскольку энергия, затрачиваемая на производство первичного источника тока, примерно в 300 раз превышает энергию разряда, коэффициент использования энергии оказывается меньше 1%. Даже в случае вторичного источника тока, который можно повторно заряжать и разряжать и который является экономически эффективным, если вторичный источник тока заряжают от бытового источника питания (обычной розетки) и т.п., эффективность использования энергии падает до примерно 12%, что обусловлено эффективностью выработки энергии на электростанции или потерями при передаче. Следовательно, не приходится говорить о том, что энергетический ресурс используется с необходимой эффективностью.
Таким образом, за последние годы привлекли к себе внимание различные типы новых систем электропитания или систем для выработки энергии (которые в дальнейшем будут именоваться обобщенным названием “система электропитания”), содержащих топливную батарею, которая оказывает незначительное влияние на окружающую среду и выполнена с возможностью реализации исключительно высокой эффективности использования энергии, в частности, составляющей, например, 30-40%. Кроме того, проводятся обширные исследования и разработки с целью практического применения источника питания возбуждения для автомобилей или системы электропитания для промышленного применения, комбинированной системы, вырабатывающей энергию, для бытового применения, и др., или замены химического источника тока.
Вместе с тем, существуют различные проблемы, связанные с созданием элемента для выработки энергии, топливного элемента и т.п., обладающего очень высокой эффективностью использования энергии, имеющего меньшие размеры и меньший вес, а также с его применением в качестве портативной или независимой системы электропитания, например, для последующей замены химического источника тока.
Фактически, в системе электропитания, где происходит выделение водорода из сплава, который абсорбирует водород и вырабатывает электроэнергию с помощью этого водорода, существует проблема, заключающаяся в том, что способность к выработке энергии или количество энергии, вырабатываемой на единицу объема абсорбента водорода, является небольшим. Кроме того, существует проблема, заключающаяся в том, что в ранее разработанной системе для выработки энергии посредством прямой подачи топлива, которая подает органическое химическое топливо прямо в топливный элемент, количество энергии и энергоемкость батареи являются небольшими.
С одной стороны, система, вырабатывающая энергию посредством топливного риформинга, подает водород в топливный элемент из блока топливного риформинга, который вырабатывает водород из органического химического топлива, например, метилового спирта или газообразного метана. Система, вырабатывающая энергию посредством топливного риформинга, обладает преимуществом, заключающимся в том, что количество энергии на единицу емкости топливного бака является большим по сравнению с системой, вырабатывающей энергию посредством прямой подачи топлива, или системой, вырабатывающей энергию посредством сплава, поглощающего водород. Необходимо отметить, что в системе, вырабатывающей энергию посредством топливного риформинга и объединяющей в себе блок парового риформинга и кислородно-водородный топливный элемент, помимо газообразного водорода образуется побочный продукт, такой, как газообразный диоксид углерода. Также существует проблема, заключающаяся в том, что эффективность выработки энергии уменьшается, поскольку концентрация газообразного водорода, которая влияет на выработку энергии, будет небольшой в случае, когда в топливный элемент просто подается смешанный газ на основе газообразного водорода и газообразного диоксида углерода. Кроме того, существует проблема, заключающаяся в том, что смешанный газ может содержать небольшое количество вирулентного монооксида углерода.
Помимо этого, вследствие объема самого блока топливного риформинга, система, вырабатывающая энергию, известная в данной области техники, не может обеспечить получение энергии, достаточной для использования ее в качестве портативной или автономной системы электропитания.
Поэтому настоящее изобретение обладает преимуществом, позволяющим получать достаточное количество энергии и эффективность использования энергии дешевым способом и без возможного выброса побочного продукта наружу.
Краткое изложение сущности изобретения
В соответствии с одним аспектом настоящего изобретения, устройство для удаления побочных продуктов, используемое в системе для выработки энергии, содержит, по меньшей мере, один из следующих конструктивных элементов:
(а) топливный блок, снабженный заправляемой топливом частью, содержащей заправленное в нее топливо для выработки энергии, представляющее собой жидкость или газ, содержащий водород, и
(б) модуль для выработки энергии, который выполнен с возможностью подсоединения к топливному блоку или отсоединения от него, причем модуль включает часть для риформинга, которая преобразует топливо для выработки энергии в первый газ, содержащий газообразный водород и диоксид углерода в качестве основных компонентов, и топливный элемент, который вырабатывает электроэнергию путем использования газообразного водорода, содержащегося в первом газе,
при этом устройство для удаления побочных продуктов дополнительно содержит содержащую абсорбент часть, которая избирательно абсорбирует диоксид углерода, содержащийся в первом газе, подаваемом из части для риформинга, и подает второй газ, концентрация диоксида углерода в котором снижена за счет первого газа, в топливный элемент.
Таким образом, в устройстве для удаления побочных продуктов, топливо для выработки энергии, включающее элементарный водород и заправляемое в заправляемую топливом часть, преобразуется в смешанный газ (первый газ), состоящий из водорода (Н2) и диоксида углерода (СО2), прежде всего с помощью части для риформинга. Первый газ преобразуется во второй газ на основе газообразного водорода путем абсорбирования и удаления газообразного диоксида углерода с помощью содержащей абсорбент части. Второй газ подается в водородно-кислородный топливный элемент (далее в тексте – топливный элемент). Второй газ имеет большую концентрацию газообразного водорода для выработки энергии, значительно увеличивая тем самым эффективность выработки энергии топливным элементом по сравнению со случаем, когда элемент для выработки энергии не содержит содержащей абсорбент части. В результате, создается возможность применения топливного элемента в качестве портативной или автономной системы электропитания, которая имеет большой коэффициент использования энергии и большое количество энергии, а также является легко управляемой.
В соответствии с другим аспектом настоящего изобретения, топливный блок, используемый в системе электропитания, содержит
заправляемую топливом часть, которая выполнена с возможностью соединения с топливным блоком и содержит топливо, подаваемое в часть для риформинга, образующую водород и диоксид углерода из топлива, и емкость которой уменьшается по мере образования диоксида углерода в части для риформинга, и
часть для абсорбирования диоксида углерода, которая абсорбирует диоксид углерода, образующийся в части для риформинга, и емкость которой увеличивается по мере образования диоксида углерода в части для риформинга.
Часть для абсорбирования диоксида углерода расширяется, когда она абсорбирует диоксид углерода, для обеспечения большой концентрации водорода, подаваемого в топливный элемент. Вместе с тем, нет необходимости делать топливный блок больше в заправляемой топливом части, емкость которой уменьшается по мере образования диоксида углерода в части для риформинга. В результате, можно получить портативную систему для выработки энергии.
В соответствии с дополнительным аспектом настоящего изобретения, топливный блок, используемый в системе электропитания, содержит
заправляемую топливом часть, которая содержит топливо, подаваемое в часть для риформинга, образующую смешанный газ, содержащий водород и первый побочный продукт, из топлива, и емкость которой уменьшается по мере образования первого побочного продукта в части для риформинга,
часть для абсорбирования первого побочного продукта, которая образует второй побочный продукт путем абсорбирования первого побочного продукта и емкость которой увеличивается по мере образования первого побочного продукта в части для риформинга, и
часть для абсорбирования второго побочного продукта, которая абсорбирует водород, подаваемый из части для риформинга, и второй побочный продукт, подаваемый из части для абсорбирования первого побочного продукта.
Часть для абсорбирования первого побочного продукта и часть для абсорбирования второго побочного продукта поглощают первый побочный продукт и второй побочный продукт, соответственно, обеспечивая тем самым большую концентрацию водорода, подаваемого в топливный элемент.
В соответствии с дополнительным аспектом настоящего изобретения, топливный блок, используемый в системе электропитания, содержит
заправляемую топливом часть, которая содержит топливо, подаваемое в часть для риформинга, образующую смешанный газ, включающий водород и первый побочный продукт, из топлива, и емкость которой уменьшается по мере образования первого побочного продукта в части для риформинга,
часть для абсорбирования первого побочного продукта, которая абсорбирует первый побочный продукт из смешанного газа и емкость которой увеличивается по мере образования первого побочного продукта в части для риформинга, и
часть для абсорбирования второго побочного продукта, которая собирает второй побочный продукт из топливного элемента, который вырабатывает энергию путем использования водорода, получаемого из первого побочного продукта, а также образует второй побочный продукт, и емкость которой увеличивается по мере выработки энергии в топливном элементе.
Следовательно, побочные продукты, образующиеся при выработке энергии, можно накапливать внутри системы. В результате, можно управлять влиянием на окружающую среду во время выработки энергии, а также обеспечивать большую концентрацию водорода, подаваемого в топливный элемент, осуществляя тем самым эффективную выработку энергии.
Краткое описание чертежей
На фиг. 1А и 1В представлены перспективные изображения, показывающие применение системы электропитания в соответствии с настоящим изобретением,
на фиг. 2А–2С представлены блок-схемы, показывающие основные конструкции системы электропитания в соответствии с настоящим изобретением,
на фиг. 3 представлена блок-схема, показывающая первый вариант осуществления модуля для выработки энергии, используемого в системе электропитания в соответствии с настоящим изобретением,
на фиг. 4 представлена блок-схема, показывающая конструкцию части для выработки энергии системы электропитания в соответствии с данным вариантом осуществления,
на фиг. 5 представлено изображение, условно показывающее первый пример конструкции части субблока питания, применимой к модулю для выработки энергии в соответствии с данным вариантом осуществления,
на фиг. 6А и 6В представлены изображения, условно показывающие второй пример конструкции части субблока питания, применимой к модулю для выработки энергии в соответствии с данным вариантом осуществления,
на фиг. 7А–7С представлены изображения, условно показывающие третий пример конструкции части субблока питания, применимой к модулю для выработки энергии в соответствии с данным вариантом осуществления,
на фиг. 8А–8С представлены изображения, условно показывающие четвертый пример конструкции части субблока питания, применимой к модулю для выработки энергии в соответствии с данным вариантом осуществления,
на фиг. 9А и 9В представлены изображения, условно показывающие пятый пример конструкции части субблока питания, применимой к модулю для выработки энергии в соответствии с данным вариантом осуществления,
на фиг. 10 представлено изображение, условно показывающее шестой пример конструкции части субблока питания, применимой к модулю для выработки энергии в соответствии с данным вариантом осуществления,
на фиг. 11А и 11В представлены изображения, условно показывающие седьмой пример конструкции части субблока питания, применимой к модулю для выработки энергии в соответствии с данным вариантом осуществления,
на фиг. 12 представлено условное изображение, показывающее восьмой пример конструкции части субблока питания, применимой к модулю для выработки энергии в соответствии с данным вариантом осуществления,
на фиг. 13 представлено условное изображение, показывающее рабочее состояние (часть 1) в другом примере восьмого примера конструкции части субблока питания, применимой к модулю для выработки энергии в соответствии с данным вариантом осуществления,
на фиг. 14 представлено условное изображение, показывающее рабочее состояние (часть 2) в другом примере восьмого примера конструкции части субблока питания, применимой к модулю для выработки энергии в соответствии с данным вариантом осуществления,
на фиг. 15 представлено условное изображение, показывающее рабочее состояние (часть 3) в другом примере восьмого примера конструкции части субблока питания, применимой к модулю для выработки энергии в соответствии с данным вариантом осуществления,
на фиг. 16 представлено условное изображение, показывающее рабочее состояние (часть 1) в еще одном примере восьмого примера конструкции части субблока питания, применимой к модулю для выработки энергии в соответствии с данным вариантом осуществления,
на фиг. 17 представлено условное изображение, показывающее рабочее состояние (часть 2) в еще одном примере восьмого примера конструкции части субблока питания, применимой к модулю для выработки энергии в соответствии с данным вариантом осуществления,
на фиг. 18 представлено условное изображение, показывающее рабочее состояние (часть 3) в еще одном примере восьмого примера конструкции части субблока питания, применимой к модулю для выработки энергии в соответствии с данным вариантом осуществления,
на фиг. 19 представлено условное изображение, показывающее первый пример конструкции части для выработки энергии, применимой к модулю для выработки энергии в соответствии с данным вариантом осуществления,
на фиг. 20А и 20В представлены перспективные изображения, иллюстрирующие процесс образования водорода в части для топливного риформинга, применимой к части для выработки энергии в соответствии с данным вариантом осуществления,
на фиг. 21А и 21В представлены изображения, условно показывающие второй пример конструкции части для выработки энергии, применимой к модулю для выработки энергии в соответствии с данным вариантом осуществления,
на фиг. 22А–22D представлены условные изображения, показывающие третий пример конструкции части для выработки энергии, применимой к модулю для выработки энергии в соответствии с данным вариантом осуществления,
на фиг. 23А и 23В представлены изображения, условно показывающие четвертый пример конструкции части для выработки энергии, применимой к модулю для выработки энергии в соответствии с данным вариантом осуществления,
на фиг. 24А и 24В представлены изображения, условно показывающие пятый пример конструкции части для выработки энергии, применимой к модулю для выработки энергии в соответствии с данным вариантом осуществления,
на фиг. 25А и 25В представлены изображения, условно показывающие шестой пример конструкции части для выработки энергии, применимой к модулю для выработки энергии в соответствии с данным вариантом осуществления,
на фиг. 26 представлена блок-схема, показывающая основную конструкцию конкретного примера модуля для выработки энергии, применимого к системе электропитания в соответствии с данным вариантом осуществления,
на фиг. 27 представлен алгоритм, условно иллюстрирующий работу системы электропитания в соответствии с данным вариантом осуществления,
на фиг. 28 представлено изображение, иллюстрирующее работу в начальном режиме (режим ожидания) системы электропитания в соответствии с данным вариантом осуществления,
на фиг. 29 представлено изображение, иллюстрирующее работу в режиме запуска системы электропитания в соответствии с данным вариантом осуществления,
на фиг. 30 представлено изображение, иллюстрирующее работу в установившемся состоянии (установившийся режим) системы электропитания в соответствии с данным вариантом осуществления,
на фиг. 31 представлено изображение, иллюстрирующее работу в режиме остановки системы электропитания в соответствии с данным вариантом осуществления,
на фиг. 32 представлена блок-схема, показывающая второй вариант осуществления модуля для выработки энергии, применимого к системе электропитания в соответствии с настоящим изобретением,
на фиг. 33 представлено условное изображение, показывающее схему электрических соединений между системой электропитания (модулем для выработки энергии), соответствующей данному варианту осуществления, и устройством,
на фиг. 34 представлен алгоритм, условно иллюстрирующий работу системы электропитания, соответствующей второму варианту осуществления,
на фиг. 35 представлено концептуальное изображение работы, иллюстрирующее работу в начальном режиме (режим ожидания) системы электропитания в соответствии с данным вариантом осуществления,
на фиг. 36 представлено концептуальное изображение работы, иллюстрирующее работу в режиме запуска (часть 1) системы электропитания в соответствии с данным вариантом осуществления,
на фиг. 37 представлено концептуальное изображение работы, иллюстрирующее работу в режиме запуска (часть 2) системы электропитания в соответствии с данным вариантом осуществления,
на фиг. 38 представлено концептуальное изображение работы, иллюстрирующее работу в установившемся режиме (часть 1) системы электропитания в соответствии с данным вариантом осуществления,
на фиг. 39 представлено концептуальное изображение режима работы, иллюстрирующее работу в установившемся режиме (часть 2) системы электропитания в соответствии с данным вариантом осуществления,
на фиг. 40 представлено концептуальное изображение режима работы, иллюстрирующее работу в режиме остановки (часть 1) системы электропитания в соответствии с данным вариантом осуществления,
на фиг. 41 представлено концептуальное изображение режима работы, иллюстрирующее работу в режиме остановки (часть 2) системы электропитания в соответствии с данным вариантом осуществления,
на фиг. 42 представлено концептуальное изображение работы, иллюстрирующее работу в режиме остановки (часть 3) системы электропитания в соответствии с данным вариантом осуществления,
на фиг. 43 представлена блок-схема, показывающая третий вариант осуществления модуля для выработки энергии, применимого к системе электропитания в соответствии с настоящим изобретением,
на фиг. 44 представлена блок-схема, показывающая четвертый вариант осуществления модуля для выработки энергии, применимого к системе электропитания в соответствии с настоящим изобретением,
на фиг. 45А и 45В представлены изображения, условно показывающие первый пример конструкции части субблока питания, применимой к модулю для выработки энергии в соответствии с данным вариантом осуществления,
на фиг. 46А и 46В представлены изображения, условно показывающие второй пример конструкции части субблока питания, применимой к модулю для выработки энергии в соответствии с данным вариантом осуществления,
на фиг. 47 представлена блок-схема, иллюстрирующая конкретный вариант осуществления средства сбора побочного продукта, которое применимо к системе электропитания в соответствии с настоящим изобретением,
на фиг. 48А–48С представлены изображения, иллюстрирующие работу в режиме удержания побочного продукта средством сбора побочного продукта в соответствии с одним вариантом осуществления настоящего изобретения,
на фиг. 49 представлена блок-схема, иллюстрирующая другой вариант осуществления средства сбора побочного продукта, которое применимо к системе электропитания в соответствии с настоящим изобретением,
на фиг. 50А–50С представлены условные изображения конструкций, показывающие примеры внешней формы топливного блока, изображенного на фиг. 49,
на фиг. 51 представлено условное изображение конструкции, показывающее еще один вариант осуществления средства сбора побочного продукта, которое изображено на фиг. 50А–50С, в части для размещения,
на фиг. 52 представлена блок-схема, показывающая еще один вариант осуществления средства сбора побочного продукта, которое применимо к системе электропитания в соответствии с настоящим изобретением,
на фиг. 53 представлена блок-схема, показывающая еще один вариант осуществления средства сбора побочного продукта, которое применимо к системе электропитания в соответствии с настоящим изобретением,
на фиг. 54А–54С представлены условные изображения конструкций, показывающие пример внешней формы топливного блока, изображенного на фиг. 53,
на фиг. 55 представлена блок-схема, показывающая дополнительный конкретный вариант осуществления средства сбора побочного продукта, которое применимо к системе электропитания в соответствии с настоящим изобретением,
на фиг. 56 представлена блок-схема, показывающая еще один дополнительный конкретный вариант осуществления средства сбора побочного продукта, которое применимо к системе электропитания в соответствии с настоящим изобретением,
на фиг. 57 представлена блок-схема, показывающая еще один дополнительный вариант осуществления средства сбора побочного продукта, которое применимо к системе электропитания в соответствии с настоящим изобретением, и
на фиг. 58 представлена блок-схема, показывающая другой вариант осуществления средства сбора побочного продукта, которое применимо к системе электропитания в соответствии с настоящим изобретением.
На фиг. 59 представлена блок-схема, показывающая конкретный вариант осуществления средства для обнаружения остаточного количества, которое применимо к системе электропитания в соответствии с настоящим изобретением,
на фиг. 60 представлено изображение, иллюстрирующее работу в режиме запуска системы электропитания в соответствии с конкретным вариантом осуществления,
на фиг. 61 представлено изображение, иллюстрирующее работу в установившемся режиме (установившийся режим) системы электропитания в соответствии с данным вариантом осуществления,
на фиг. 62 представлено концептуальное изображение работы, иллюстрирующее работу в режиме остановки (часть 1) системы электропитания в соответствии с данным вариантом осуществления,
на фиг. 63 представлена блок-схема, показывающая первый вариант осуществления модуля для выработки энергии, применимого к системе электропитания в соответствии с настоящим изобретением,
на фиг. 64 представлен алгоритм, условно иллюстрирующий работу системы электропитания,
на фиг. 65 представлено изображение характеристики, которое иллюстрирует изменения во времени выходного напряжения системы электропитания в соответствии с данным вариантом осуществления,
на фиг. 66 представлена блок-схема, показывающая второй вариант осуществления модуля для выработки энергии, применимого к системе электропитания в соответствии с настоящим изобретением,
на фиг. 67 представлена блок-схема, показывающая третий вариант осуществления модуля для выработки энергии, применимого к системе электропитания в соответствии с настоящим изобретением,
на фиг. 68 представлена блок-схема, показывающая вариант осуществления средства сбора побочного продукта, которое применимо к системе электропитания в соответствии с настоящим изобретением,
на фиг. 69 представлена блок-схема, показывающая вариант осуществления средства для стабилизации топлива, которое применимо к системе электропитания в соответствии с настоящим изобретением,
на фиг. 70 представлена блок-схема, показывающая вариант осуществления средства для стабилизации топлива, которое применимо к системе электропитания в соответствии с настоящим изобретением,
на фиг. 71 представлено концептуальное изображение работы, иллюстрирующее работу в режиме запуска системы электропитания в соответствии с данным вариантом осуществления,
на фиг. 72 представлено концептуальное изображение работы, иллюстрирующее работу в режиме остановки системы электропитания в соответствии с данным вариантом осуществления,
на фиг. 73А–73F представлены изображения, условно показывающие примеры внешних форм, применимых к системе электропитания в соответствии с данным вариантом осуществления,
на фиг. 74А–74С представлены изображения, условно показывающие взаимосвязь соответствия между внешними видами, которые может иметь система электропитания согласно настоящему изобретению, и внешними видами химического источника тока общего назначения,
на фиг. 75А–75Н представлены изображения, условно показывающие внешние формы топливного блока и части держателя в системе электропитания в соответствии с первым вариантом осуществления настоящего изобретения,
на фиг. 76А и 76В представлены изображения, условно показывающие подсоединяемую и отсоединяемую конструкцию модуля для выработки энергии и топливного блока в системе электропитания в соответствии с данным вариантом осуществления,
на фиг. 77А–77G представлены изображения, условно показывающие топливный блок системы электропитания в соответствии со вторым вариантом осуществления настоящего изобретения, а также внешние формы этого топливного блока,
на фиг. 78А и 78В представлены изображения, условно показывающие подсоединяемую и отсоединяемую конструкцию модуля для выработки энергии и топливного блока в системе электропитания в соответствии с данным вариантом осуществления,
на фиг. 79А–79F представлены изображения, условно показывающие топливный блок системы электропитания в соответствии с третьим вариантом осуществления настоящего изобретения, а также внешние формы этого топливного блока,
на фиг. 80А–80C представлены изображения, условно показывающие подсоединяемую и отсоединяемую конструкцию модуля для выработки энергии и топливного блока в системе электропитания в соответствии с данным вариантом осуществления,
на фиг. 81А–81F представлены изображения, условно показывающие топливный блок системы электропитания в соответствии с четвертым вариантом осуществления настоящего изобретения, а также внешние формы этого топливного блока,
на фиг. 82А–82C представлены изображения, условно показывающие подсоединяемую и отсоединяемую конструкцию модуля для выработки энергии и топливного блока в системе электропитания в соответствии с данным вариантом осуществления,
на фиг. 83 представлено перспективное изображение, показывающее пример конструкции всей системы электропитания в соответствии с настоящим изобретением,
на фиг. 84 представлено перспективное изображение, показывающее пример конструкции части для топливного риформинга, которая применима к данному примеру конструкции системы, и
на фиг. 85 представлено перспективное изображение, показывающее другой пример конструкции части для топливного риформинга, которая применима к данному примеру конструкции системы.
Наилучший способ осуществления изобретения
Ниже, со ссылками на прилагаемые чертежи, приводится описание конкретных вариантов осуществления системы электропитания в соответствии с настоящим изобретением.
Прежде всего, в общих чертах и со ссылкой на чертежи будет приведено описание аппаратуры, к которой применима система электропитания, соответствующая настоящему изобретению.
На фиг. 1А и 1В представлены концептуальные изображения, показывающие соответствующее согласование системы электропитания в соответствии с настоящим изобретением.
Например, как показано на фиг. 1А и 1В, часть системы 301 электропитания в соответствии с настоящим изобретением или всю эту систему можно произвольно подсоединять к существующему электрическому или электронному устройству У (на фиг. 1А и 1В показан персональный цифровой секретарь, который в нижеследующем тексте будет в общем случае именоваться “устройством”) или отсоединять от этого устройства (см. стрелку С1), которое работает от первичного источника тока общего назначения или вторичного источника тока, а также от некоторого специального электрического или электронного устройства.
Системе 301 электропитания придана конфигурация, обеспечивающая возможность независимой переноски (портативность) части системы или всей системы. Для системы 301 электропитания предусмотрены электроды, в число которых входит положительный электрод и отрицательный электрод для подачи электроэнергии в устройство У в предварительно определенном положении (например, в положении, эквивалентном первичному источнику тока общего назначения или вторичному источнику тока, как будет описано ниже).
Далее будет описана основная конструкция системы электропитания в соответствии с настоящим изобретением.
На фиг. 2А–2С представлены блок-схемы, показывающие основные конструкции системы электропитания в соответствии с настоящим изобретением.
Как показано на фиг. 2А, система 301 электропитания, соответствующая настоящему изобретению, в основном включает: топливный блок 20, в который заправляют топливо ТПЛ для выработки энергии, представляющее собой жидкое топливо и/или газообразное топливо; модуль 10 для выработки энергии, предназначенный для выработки электроэнергии ЭЭ (далее в тексте – выработки энергии) в соответствии с состоянием возбуждения (состоянием нагрузки) устройства У, на основе, по меньшей мере, топлива ТПЛ для выработки энергии, подаваемого из топливного блока 20; и сопрягающую часть 30 (далее в тексте сокращенно именуемая “СОПР-частью”), снабженную каналом подачи топлива и т.п., предназначенным для подачи топлива ТПЛ для выработки энергии, заправленного в топливный блок 20, в модуль 10 для выработки энергии. Соответствующим составным частям приданы конфигурации, обеспечивающие возможность их соединения друг с другом и отделения друг от друга (подсоединения и отсоединения) в произвольной последовательности, или обеспечивающие возможность выполнения их как единого целого. При этом, как показано на фиг. 2А, СОПР-части 30 можно придать конструкцию, независимую от топливного блока 20 и модуля 10 для выработки энергии, или конструкцию, составляющую единое целое либо с топливным блоком 20, либо с модулем 10 для выработки энергии, как показано на фиг. 2В и 2С. В альтернативном варианте, СОПР-части 30 можно придать конфигурацию, обеспечивающую разделение с возможностью объединения как с топливным блоком 20, так и с модулем 10 для выработки энергии.
Далее будет приведено описание конструкции каждого блока.
[Первый вариант осуществления]
(А) Модуль 10 для выработки энергии
На фиг. 3 представлена блок-схема, показывающая первый вариант осуществления модуля для выработки энергии, применимого к системе электропитания в соответствии с настоящим изобретением, а на фиг. 4 представлена блок-схема, показывающая конструкцию системы электропитания в соответствии с этим вариантом осуществления.
Как показано на фиг. 3, модуль 10А для выработки энергии, соответствующий этому варианту осуществления, постоянно автономно вырабатывает предварительно определенную электроэнергию (вторую электроэнергию) посредством использования топлива для выработки энергии, подаваемого из топливного блока 20А через СОПР-часть 30А, и выдает ее в качестве электроэнергии возбуждения (электроэнергии контроллера) для контроллера К, который входит в состав устройства У, соединенного, по меньшей мере, с системой 301 электропитания, и управляет возбуждением нагрузки Н (элемента или модуля, выполняющего функции разных типов для устройства У). Предусмотрена часть 11 субблока питания (второе средство электропитания) для выдачи энергии в качестве рабочей энергии для описываемой ниже части 13, управляющей работой, которая расположена в модуле 10А для выработки энергии. Кроме того, модуль 10А для выработки энергии включает: часть 13, управляющую работой, которая работает за счет использования электроэнергии, подаваемой из части 11 субблока питания, и управляет рабочим состоянием всей системы 301 электропитания; часть 12 для выработки энергии (первое средство электропитания), которая имеет нагреватель (нагревающее средство), предусмотренный внутри нее в соответствии с потребностями, вырабатывает предварительно определенную электроэнергию (первую электроэнергию) за счет использования топлива для выработки энергии, подаваемого из топливного блока 20А через СОПР-часть 30А, или заданного компонента топлива, выделяемого из топлива для выработки энергии, и выдает эту энергию, по меньшей мере, в качестве электроэнергии возбуждения нагрузки с целью выполнения функций различных типов (нагрузки Н) устройства У, соединенного с системой 301 электропитания; часть 14, управляющую выдачей, которая управляет, по меньшей мере, количеством топлива для выработки энергии, подаваемого в часть 12 для выработки энергии, и/или управляет температурой нагревателя части 12 для выработки энергии на основании сигнала управления работой из части 13, управляющей работой; часть 15, управляющую запуском, по меньшей мере, для управления части 12 для выработки энергии таким образом, что осуществляется ее перевод из режима ожидания в рабочий режим (активация), обеспечивающий выработку энергии, на основании сигнала управления работой из части 13, управляющей работой; и часть 16, контролирующую напряжение (часть, обнаруживающую напряжение), для обнаружения изменения составляющей напряжения электроэнергии (электроэнергии контроллера или электроэнергии возбуждения нагрузки), выдаваемой из модуля 10А для выработки электроэнергии (части 11 субблока питания и части 12 для выработки энергии) в устройство У.
Как показано на фиг. 4, часть 12 для выработки энергии включает: часть 210а для топливного риформинга (блок топливного риформинга), предназначенную для выделения предварительного определенного компонента (водорода) топлива, содержащегося в топливе ТПЛ для выработки энергии, с помощью предварительно определенной реакции риформинга, проводимой применительно к топливу ТПЛ для выработки энергии, подаваемому из топливного блока 20; и часть 210b топливного элемента для выработки предварительно определенной электроэнергии для возбуждения устройства У и/или нагрузки Н посредством электрохимической реакции, в процессе которой используется компонент топлива, выделяемый с помощью части 210а для топливного риформинга.
Часть 210а для топливного риформинга (блок топливного риформинга) включает: часть 210Х для проведения реакции парового риформинга, получающую топливо, образованное из спирта и воды в топливном блоке 20, из части 14а, управляющей топливом, части 14, управляющей выдачей, и вызывающую образование водорода, диоксида углерода в качестве побочного продукта, а также малого количества монооксида углерода; часть 210Y для проведения реакции конверсии водяного газа, вызывающую реакцию монооксида углерода, подаваемого из части 210Х для проведения реакции парового риформинга, с водой, подаваемой из части 14а, управляющей топливом, и/или части 210b топливного элемента, и образование диоксида углерода и водорода; и часть 210Z для проведения выбранной реакции окисления, вызывающую реакцию монооксида углерода, который не прореагировал в части 210Y для проведения реакции конверсии водяного газа, с кислородом, и образование диоксида водорода. Следовательно, часть 210а для топливного риформинга подает в часть 210b топливного элемента водород, полученный путем топливного риформинга, заправленного в топливный блок 20, и осуществляет детоксикацию применительно к малому количеству образовавшегося монооксида углерода. То есть, часть 210b топливного элемента вырабатывает питающую электроэнергию, состоящую из электроэнергии контроллера и электроэнергии возбуждения нагрузки, за счет использования газообразного водорода с высокой плотностью, образовавшегося в части 210Х для проведения реакции парового риформинга и части 210Y для проведения реакции конверсии водяного газа.
В данном случае, часть 13, управляющая работой, часть 14, управляющая выдачей, часть 15, управляющая запуском, и часть 16, контролирующая напряжение, в соответствии с этим вариантом осуществления представляют собой средства, управляющие системой, в настоящем изобретении. Кроме того, система 301 электропитания и устройство У в соответствии с этим вариантом осуществления выполнены таким образом, что питающая электроэнергия, выдаваемая из описываемой ниже части 12 для выработки энергии, обычно подается в контроллер К и на нагрузку Н устройства У через один вывод ЭЛ электрода.
Следовательно, системе 301 электропитания, соответствующей этому варианту осуществления, придана конфигурация, обеспечивающая выдачу предварительно определенной электроэнергии (электроэнергии возбуждения нагрузки), соответствующей устройству У, соединенному с системой 301 электропитания, и независимой от подачи топлива или управления извне системы (т.е. извне модуля 10 для выработки энергии, топливного блока 20 и СОПР-части 30).
<Часть 11 субблока питания>
Как показано на фиг. 3, части 11 субблока питания, применимой к модулю для выработки энергии в соответствии с этим вариантом осуществления, придана конфигурация, обеспечивающая всегда автономную выработку предварительно определенной электроэнергии (второй электроэнергии), необходимой для работы в режиме запуска системы 301 электропитания, за счет использования физической или химической энергии и т.п. топлива ТПЛ для выработки энергии, подаваемого из топливного блока 20А. Эта электроэнергия состоит в основном из электроэнергии ЭЭ1 и электроэнергии ЭЭ2. Энергия ЭЭ1 постоянно подается в качестве электроэнергии возбуждения (электроэнергии контроллера) для контроллера К, который включен в состав устройства У и управляет состоянием возбуждения функций различных типов (нагрузки Н), и рабочей электроэнергии части 13, управляющей работой, которая управляет рабочим состоянием всего модуля 10А для выработки энергии. Энергия ЭЭ2 подается в качестве электроэнергии (напряжения и электрического тока) запуска, по меньшей мере, в часть 14, управляющую выдачей (в зависимости от конструкций сказанное можно отнести и к части 12 для регулирования энергии), и часть 15, управляющую запуском, во время запуска модуля 10А для выработки энергии.
В качестве конкретной конструкции части 11 субблока питания, можно с успехом применить, например, конструкцию, в которой используется химическая реакция (топливного элемента) с потреблением топлива ТПЛ для выработки энергии, подаваемого из топливного блока 20А, или конструкцию, в которой используется тепловая энергия (выработка энергии за счет разности температур), обуславливаемая реакцией каталитического горения и т.п. Кроме того, можно применить: конструкцию, в которой используется воздействие динамического преобразования энергии (выработка энергии посредством газовой турбины) и т.п., обеспечивающее вращение электрогенератора за счет использования давления заправленного топлива ТПЛ для выработки энергии, заключенного в топливном блоке 20А, или давления газа, создаваемого за счет испарения топлива, и выработку электроэнергии; конструкцию, которая захватывает электроны, образующиеся за счет метаболизма (фотосинтеза, дыхания и т.п.), вызываемого микробами, источником питания для которых является топливо ТПЛ для выработки энергии, и осуществляет прямое его преобразование в электроэнергию (выработку биохимической энергии); конструкцию, которая преобразует энергию колебаний, вырабатываемую за счет энергии жидкости топлива ТПЛ для выработки энергии, на основе давления заправленного топлива или давления газа, в электроэнергию за счет использования принципа электромагнитной индукции (выработки энергии колебаний); конструкцию, в которой используется разряд из блока средств накопления и хранения электроэнергии, таких, как вторичный источник тока (зарядный блок) или конденсатор; конструкцию, которая накапливает и сохраняет электроэнергию, вырабатываемую каждой составной частью, осуществляющей вышеупомянутую выработку энергии и подачу ее в средства накопления и хранения электроэнергии (например, во вторичный источник тока, конденсатор), и излучает (разряжает) энергию; а также другие конструкции.
Далее будет приведено подробное описание каждого конкретного примера со ссылками на прилагаемые чертежи.
(Первый пример конструкции части субблока питания)
На фиг. 5 представлено изображение, показывающее первый пример конструкции части субблока питания, применимой к модулю для выработки энергии в соответствии с этим вариантом осуществления. В нижеследующем тексте, надлежащее описание примера будет приведено в связи с конструкцией вышеописанной системы электропитания (фиг. 3).
В первом примере конструкции часть субблока питания имеет конструкцию протонообменного мембранного топливного элемента, являющегося воспроизведением системы с прямой подачей топлива, при наличии которой используется топливо ТПЛ для выработки энергии, подаваемое прямо из топливного блока 20А, а электроэнергия (вторая электроэнергия) вырабатывается посредством электрохимической реакции.
Как показано на фиг. 5, часть 11А субблока питания, соответствующая этому примеру конструкции, в основном включает: топливный электрод (катод) 111, представляющий собой угольный электрод, к которому прилипают мелкие частицы предварительно определенного катализатора; воздушный электрод (анод) 112, представляющий собой угольный электрод, к которому прилипают мелкие частицы предварительно определенного катализатора; ионопроницаемую мембрану (ионообменную мембрану) 113, расположенную между топливным электродом 111 и воздушным электродом 112. В данном случае, топливо для выработки энергии (например, вещество на основе спирта, такое, как смесь метилового спирта и воды), заправленное в топливный блок 20А, подается прямо на топливный электрод 111, а газообразный кислород (О2), находящийся в воздухе, подается на воздушный электрод 112.
В качестве примера электрохимической реакции, происходящей в части 11А субблока питания (топливном элементе), в частности, при прямой подаче метилового спирта (СН3ОН) и воды (Н2О) посредством топливного электрода 111, описываемой нижеследующим химическим уравнением (1), можно отметить, что за счет катализа отделяется электрон (е–) и образуется ион водорода (протон; Н+), который проходит на сторону воздушного электрода 112 сквозь ионопроницаемую мембрану 113. После этого, электрон (е–) захватывается угольным электродом, представляющим собой топливный электрод 111, и подается на нагрузку 114 (предварительно определенные конструкции внутри и снаружи системы электропитания; в данном случае, это может быть контроллер К устройства У, часть 13, управляющая работой, часть 12 для выработки энергии, часть 14, управляющая выдачей, и т.п.). Следует отметить, что небольшое количество диоксида углерода (СО2), образующегося помимо иона водорода посредством катализа, испускается в воздух, например, со стороны топливного электрода 111.
СН3ОН + Н2О 6Н+ + 6е– + СО2 |
(1) |
С другой стороны, когда воздух (кислород О2) подается на воздушный электрод 112, электрон (е–), который прошел нагрузку 114 за счет катализа, ион водорода (Н+), который прошел ионопроницаемую мембрану 113, и газообразный кислород (О2), присутствующий в воздухе, реагируют друг с другом, и образуется вода (Н2О).
6Н+ + (3/2)О2 + 6е– 3Н2О |
(2) |
Такая серия электрохимических реакций (описываемых химическими уравнениями (1) и (2)) происходит в окружающей среде, имеющей относительно низкую температуру, которая примерно равна комнатной температуре. В этом случае, путем сбора воды (Н2О) в качестве побочного продукта, образующегося у воздушного электрода 112, и подачи необходимого количества воды на сторону топливного электрода 111, эту воду можно повторно использовать в качестве исходного материала для катализа, описываемого с помощью химического уравнения (1), и можно намного уменьшить количество воды (Н2О), заранее запасенное (заправленное) в топливном блоке 20А. Следовательно, можно значительно уменьшить емкость топливного блока 20А, а часть 11 субблока питания можно непрерывно эксплуатировать в течение длительного периода времени для подачи предварительно определенной электроэнергии. Следует отметить, что пояснение конструкции средства сбора побочного продукта, которое обеспечивает сбор и повторное использование такого побочного продукта, как вода (Н2О), образующаяся у воздушного электрода 112, будет приведено ниже наряду с пояснением аналогичной конструкции части 12 для выработки энергии, описываемой ниже.
Применяя топливный элемент, имеющий такую конструкцию, к части субблока питания, а также учитывая, что, по сравнению с другими системами (например, описываемым ниже топливным элементом, предусматривающим топливный риформинг), не требуется периферийная конструкция, можно упростить и минимизировать конструкцию части 11А субблока питания, а также осуществить автоматическую подачу предварительно определенного количества топлива для выработки энергии в часть 11А субблока питания (на топливный электрод 111) за счет явления капиллярности через топливопроводную трубку, предусмотренную для СОПР-части 30А, посредством очень простой операции, например, соединения топливного блока 20А с модулем 10А для выработки энергии, тем самым обеспечивая начало и продолжение работы в режиме выработки энергии на основе химических уравнений (1) и (2).
Следовательно, предварительно определенная электроэнергия всегда автономно вырабатывается частью 11А субблока питания столько времени, сколько продолжается подача топлива для выработки энергии из топливного блока 20А, и эту электроэнергию можно подавать в качестве электроэнергии контроллера устройства У и рабочей электроэнергии части 13, управляющей работой, а также в качестве электроэнергии запуска для части 12 для выработки энергии или части 14, управляющей выдачей. Кроме того, в топливном элементе можно реализовать исключительно высокую эффективность выработки энергии, поскольку электроэнергия вырабатывается за счет прямого использования электрохимической реакции с потреблением топлива для выработки энергии. Кроме того, можно эффективно использовать топливо для выработки энергии и минимизировать модуль для выработки энергии, включая часть субблока питания. Более того, поскольку не создаются колебания или шумы, эту конструкцию можно использовать для экстенсивных устройств, аналогичных первичному химическому источнику тока общего назначения или вторичному источнику тока.
Что касается топливного элемента, рассматриваемого в этом примере конструкции, то, хотя описание приведено лишь в связи с применением метилового спирта в качестве топлива для выработки энергии, подаваемого из топливного блока 20А, изобретение не сводится к этой реализации, и удовлетворительным может оказаться любое из жидкого топлива, сжиженного топлива и газового топлива, включающего, по меньшей мере, элементарный водород. В частности, можно использовать жидкое топливо на спиртовой основе, такое, как метиловый спирт, этиловый спирт или бутиловый спирт, сжиженное топливо, представляющее собой углеводород, такой, как простой диметиловый эфир, изобутилен, природный газ (сжиженный природный газ, СжПГ), или газообразное топливо, такое, как газообразный водород. В частности, можно с успехом применять такое топливо, которое находится в газообразном состоянии в предварительно определенных условиях окружающей среды, таких, как обычная температура или нормальное давление, при подаче из топливного блока 20А в часть 11 субблока питания.
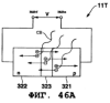
(Второй пример конструкции части субблока питания)
На фиг. 6А и 6В представлены изображения, показывающие второй пример конструкции части субблока питания, применимой к модулю для выработки энергии в соответствии с этим вариантом осуществления.
Во втором примере конструкции, часть субблока питания имеет конструкцию устройства для выработки энергии, которое приводит в действие двигатель с приводом давления (газовую турбину) посредством энергии давления (давления заправки или давления газа) топлива для выработки энергии, заключенного в топливном блоке 20А, и преобразует энергию возбуждения в электроэнергию.
Как показано на фиг. 6А и 6В, часть 11В субблока питания, соответствующая этому примеру конструкции, включает: подвижную крыльчатку 122а, которой придана такая конфигурация, что множество лопаток изогнуты в предварительно определенном окружном направлении, расположены в этом окружном направлении таким образом, что проходят, по существу, радиально, и выполнены с возможностью вращения; электрогенератор 125, который соединен непосредственно с центром вращения подвижной крыльчатки 122а и преобразует энергию вращения этой подвижной крыльчатки 122а в электроэнергию на основе известного принципа электромагнитной индукции или пьезоэлектрического преобразования; неподвижную крыльчатку 122b, которой придана такая конфигурация, что множество лопаток изогнуты в направлении, противоположном направлению изгиба подвижной крыльчатки 122а, вдоль внешней периферийной стороны подвижной крыльчатки 122а, расположены, по существу, радиально и неподвижны относительно подвижной крыльчатки 122а; часть 123, управляющую всасыванием, для управления подачей испаренного топлива для выработки энергии (топливного газа) в газовую турбину 122, содержащую подвижную крыльчатку 122а и неподвижную крыльчатку 122b; и часть 124, управляющую выпуском, для управления выпуском топлива для выработки энергии после прохождения через газовую турбину 122. В данном случае, применительно к конструкции части 11В субблока питания, состоящей из газовой турбины 122, части 123, управляющей всасыванием, и части 124, управляющей выпуском, следует отметить, что часть 11В субблока питания может быть встроена и выполнена, например, в небольшом пространстве на одной кремниевой микросхеме 121 способом микрообработки и другим способом, опыт применения которых накоплен в технологии изготовления полупроводников и т.п. и совокупность которых представляет собой так называемую технологию изготовления микромашин. Хотя подвижная крыльчатка 122а и неподвижная крыльчатка 122b и показаны на фиг. 6А открытыми для удобства пояснения конструкции газовой турбины 122, на самом деле они закрыты крышкой, предусмотренной в верхней части, за исключением центра подвижной крыльчатки 122а, как показано на фиг. 6В.
В такой части 11В субблока питания, которая показана, например, на фиг. 6В, когда топливный газ под высоким давлением, полученный путем испарения жидкого топлива, заправленного в топливный блок 20, всасывается (см. стрелки С2) со стороны неподвижной крыльчатки 122b по направлению к стороне подвижной крыльчатки 122а газовой турбины 122 с помощью части 123, управляющей всасыванием, создается вихревой поток топлива вдоль направления изгиба неподвижной крыльчатки 122b, и подвижная крыльчатка 122а вращается в предварительно определенном направлении за счет этого вихревого потока, тем самым приводя в движение электрогенератор 125. В результате, энергия давления топливного газа преобразуется в электроэнергию посредством газовой турбины 122 и электрогенератора 125.
То есть, топливо для выработки энергии, подаваемое в часть 11В субблока питания, соответствующую этому примеру конструкции, всасывается в состоянии газа, находящегося под высоким давлением, по меньшей мере, когда часть 123, управляющая всасыванием, открыта, и топливо всасывается в газовую турбину 122, а подвижная крыльчатка 122а вращается в предварительно определенном направлении с предварительно определенной скоростью вращения (или количеством оборотов) за счет текучести газа, основанной на большой разности давлений, создаваемой, когда часть 124, управляющая выпуском, открыта и газ, находящийся в газовой турбине 122, испускается по направлению к стороне, где понижено давление воздуха, например, внешнего воздуха, имеющего обычное давление, тем самым вырабатывая предварительно определенную электроэнергию в электрогенераторе 125.
Топливный газ, который оказывает влияние на вращение подвижной крыльчатки 122а и давление которого уменьшилось (потому что израсходована энергия давления), испускается наружу из части 11В субблока питания через часть 124, управляющую выпуском. Необходимо отметить, что, хотя описание приведено лишь в связи с конструкцией, предусматривающей прямой выпуск топливного газа (выпускаемого газа), испускаемого из части 11 субблока питания, наружу из системы 301 электропитания, настоящее изобретение не сводится к этой реализации, и в модуле 10А электропитания, показанном на фиг. 3, можно использовать конструкцию, предусматривающую повторное использование топливного газа в качестве топлива для выработки энергии в части 12 электропитания, что будет пояснено при описании следующего варианта осуществления.
Следовательно, в части 11В субблока питания, соответствующей этому примеру конструкции, топливо ТПЛ для выработки энергии (топливный газ), подаваемое из топливного блока 20А, не обязательно должно обладать горючестью (или воспламеняемостью), и в конструкции, предусматривающей прямой выпуск топливного газа, используемого для выработки электроэнергии, наружу из системы 301 электропитания, в частности, желательно, чтобы топливо для выработки энергии обладало негорючестью, стойкостью к воспламенению и было нетоксичным, поскольку необходимо учитывать испускание топлива ТПЛ для выработки энергии в качестве выпускаемого газа. В связи с этим, обработку, придающую стойкость к воспламенению, или детоксикацию необходимо проводить до испускания выпускаемого газа наружу, если топливо для выработки энергии состоит из вещества, обладающего воспламеняемостью или включающего токсичный компонент.
Что касается части 11В субблока питания, соответствующей этому примеру конструкции, то необходимо отметить, что в конструкции, предусматривающей выработку электроэнергии на основе энергии давления топливного газа, топливный газ лишь проходит через часть 11В субблока питания (газовую турбину 122), а побочный продукт (например, вода) не образуется, как это происходит посредством электрохимической реакции в топливном элементе. Таким образом, когда в качестве топлива для выработки энергии применяется вещество, обладающее негорючестью или стойкостью к воспламенению, но не обладающее токсичностью, или когда имеется конструкция, предусматривающая обработку, придающую стойкость к воспламенению, или обработку, обеспечивающую детоксикацию, перед испусканием топлива для выработки энергии наружу из системы 301 электропитания, то даже в случае, если это топливо для выработки энергии является веществом, не обладающим стойкостью к воспламенению или обладающим токсичностью, необязательно предусматривать средства для сбора выпускаемого газа.
Применяя устройство для выработки энергии, имеющее такую конструкцию, для части субблока питания, аналогичной первому примеру конструкции, можно автоматически подавать находящееся под высоким давлением топливо ТПЛ для выработки энергии (топливный газ) в часть 11В субблока питания (газовую турбину 122) через СОПР-часть 30А посредством лишь очень простой операции, т.е. соединения топливного блока 20А с модулем 10А для выработки энергии, после чего можно начинать и продолжать работу в режиме выработки энергии. Кроме того, с помощью части 11В субблока питания всегда можно автономно вырабатывать предварительно определенную электроэнергию столько времени, сколько продолжается подача топлива ТПЛ для выработки энергии, в результате чего также можно подавать эту электроэнергию в предварительно определенные конструкции, находящиеся внутри и снаружи системы 301 электропитания.
(Третий пример конструкции части субблока питания)
На фиг. 7А–7С представлены изображения, показывающие третий пример конструкции части субблока питания, применимой к модулю для выработки энергии в соответствии с этим вариантом осуществления.
В третьем примере конструкции, часть субблока питания имеет конструкцию устройства для выработки энергии, которое приводит в действие двигатель с приводом давления (роторно-поршневой двигатель) посредством энергии давления (давления заправки или давления газа) топлива ТПЛ для выработки энергии, заправленного в топливный блок 20А, и преобразует энергию возбуждения в электроэнергию.
Как показано на чертежах, часть 11С субблока питания, соответствующая третьему примеру конструкции, включает: корпус 131, имеющий рабочее пространство 131а, поперечное сечение которого является, по существу, эллиптическим; ротор 132, который вращается вокруг центрального вала 133, проходящего вдоль внутренней стенки рабочего пространства 131а, и имеет, по существу, треугольное поперечное сечение; и электрогенератор (не показан), соединенный непосредственно с центральным валом 133. В данном случае, применительно к конструкции части 11С субблока питания, следует отметить, что часть 11С субблока питания может быть встроена и выполнена, например, в небольшом пространстве, размеры которого имеют порядок миллиметров, за счет применения технологии изготовления микромашин, аналогично каждому варианту осуществления.
В части 11С субблока питания, имеющей такую конструкцию, рабочее пространство 131а поддерживается, по существу, при обычной температуре. Когда топливо в жидкой форме заправляют в рабочее пространство 131а из впускного отверстия 134а, это топливо испаряется и расширяется, и за счет управления давлением на стороне выпускного отверстия 134b для достижения низкого давления, например, атмосферного давления, создается разность давлений в соответствующих камерах, образуемых внутренней стенкой рабочего пространства 131а и ротором 132. Как показано на фиг. 7А–7С, внутренняя периферия ротора 132 вращается относительно внешней периферии центрального вала 133, находясь под давлением топливного газа, создаваемым за счет прохождения испаренного топливного газа от впускного отверстия 134а к выпускному отверстию 134b (стрелки С3). В результате, энергия давления топливного газа преобразуется в энергию вращения центрального вала 133, а потом преобразуется в электроэнергию с помощью электрогенератора, соединенного с центральным валом 133.
В данном случае, поскольку для этого примера конструкции характерно применение электрогенератора, можно применить электрогенератор, в котором используется известный принцип, например, электромагнитной индукции или пьезоэлектрического преобразования, аналогично второму примеру конструкции.
Поскольку в этом примере конструкции также используется конструкция, предусматривающая выработку электроэнергии на основе энергии давления топливного газа, то необходимо отметить, что топливный газ лишь проходит сквозь часть 11С субблока питания (рабочее пространство 131а в корпусе 131), обеспечивая выработку электроэнергии, поэтому топливный газ в качестве газа для выработки энергии не обязательно должен обладать горючестью (или воспламеняемостью). Можно с успехом применять такой топливный газ, поскольку он представляет собой вещество, ставшее топливным газом высокого давления, который испаряется и расширяется до достижения предварительно определенного кубического объема, по меньшей мере, в предварительно определенных условиях окружающей среды, таких, как обычная температура или обычное давление, при подаче в часть 11С субблока питания.
Применяя устройство для выработки энергии, имеющее такую конструкцию, для части субблока питания, аналогичной каждому варианту осуществления, можно автоматически подавать находящееся под высоким давлением топливо ТПЛ для выработки энергии (топливный газ) в часть 11С субблока питания (рабочее пространство 131а) через СОПР-часть 30А посредством очень простой операции, т.е. соединения топливного блока 20А с модулем 10А для выработки энергии, после чего можно начинать и продолжать работу в режиме выработки энергии. Кроме того, с помощью части 11С субблока питания всегда можно автономно вырабатывать предварительно определенную электроэнергию столько времени, сколько продолжается подача топлива ТПЛ для выработки энергии, в результате чего также можно подавать эту электроэнергию в предварительно определенные конструкции, находящиеся внутри и снаружи системы 301 электропитания.
(Четвертый пример конструкции части субблока питания)
На фиг. 8А–8С представлены изображения, показывающие четвертый пример конструкции части субблока питания, применимой к модулю для выработки энергии в соответствии с этим вариантом осуществления.
В четвертом примере конструкции, часть субблока питания имеет конструкцию устройства для выработки энергии, которое вырабатывает электроэнергию путем выработки энергии за счет термоэлектрического преобразования с использованием разности температур, создаваемой благодаря выработке тепловой энергии на основе реакции каталитического горения топлива ТПЛ для выработки энергии, заправленного в топливный блок 20А.
Как показано на фиг. 8А, часть 11D субблока питания, соответствующая четвертому примеру конструкции, имеет конструкцию электрогенератора, работа которого основана на разности температур, которая в основном включает: часть 141, обеспечивающую каталитическое горение, для выработки тепловой энергии за счет каталитического горения топлива ТПЛ для выработки энергии; часть 142, поддерживающую фиксированную температуру, для поддержания, по существу, фиксированной температуры; и элемент 143 для термоэлектрического преобразования, подсоединенный между концевыми блоками, обеспечивающими первую и вторую температуры, при этом часть 141, обеспечивающая каталитическое горение, определяется как концевой блок, обеспечивающий первую температуру, а часть 142, поддерживающая фиксированную температуру, определяется как концевой блок, обеспечивающий вторую температуру. В данном случае, как показано на фиг. 8В, элемент 143 для термоэлектрического преобразования имеет конструкцию, которая оканчивается полупроводниками или металлами двух типов (что для удобства будет интерпретировано в нижеследующем тексте формулировкой “металл и т.п.”), МА и МВ, соединенными друг с другом (например, металл и т.п. МВ соединен с обоими концами металла и т.п. МА), а соответствующие соединительные части СЧ1 и СЧ2 соответственно соединены с частью 141, обеспечивающей каталитическое горение (концевым блоком, обеспечивающим первую температуру) и частью 142, поддерживающей фиксированную температуру (концевым блоком, обеспечивающим вторую температуру). Часть 142, поддерживающая фиксированную температуру, имеет, например, конструкцию, которая постоянно подвергается воздействию внешнего воздуха, проходящего через часть, в которой имеется отверстие, и т.п., предусмотренную для устройства У, к которому подсоединена система 301 электропитания, и поддерживает, по существу, фиксированную температуру. По поводу конструкции части 11D электропитания, представляющей собой изображенный электрогенератор, работа которого основана на разности температур, следует отметить, что, аналогично каждому варианту осуществления, часть 11D электропитания может быть встроена и выполнена, например, в малом пространстве за счет применения технологии изготовления микромашин.
В части 11D субблока питания, имеющей такую конструкцию, которая показана на фиг. 8С, когда топливо ТПЛ для выработки энергии (горючий газ), заправленное в топливный блок 20А, подают в часть 141, обеспечивающую каталитическое горение, через СОПР-часть 30А, вырабатывается тепло за счет реакции каталитического горения, и температура части 141, обеспечивающей каталитическое горение (т.е. концевого блока, обеспечивающего первую температуру), увеличивается. С другой стороны, поскольку части 142, поддерживающей фиксированную температуру, придана конфигурация, обеспечивающая поддержание ее температуры, по существу, постоянной, создается разность температур между частью 141, обеспечивающей каталитическое горение, и частью 142, поддерживающей фиксированную температуру. Тогда за счет эффекта Зеебека, основанного на этой разности температур, создается предварительно определенная электродвижущая сила и в элементе 143 для термоэлектрического преобразования вырабатывается электроэнергия.
Конкретно, в случаях, когда температура в концевом блоке, обеспечивающем первую температуру (т.е. в соединительной части СЧ1), определяется как Та и температура в концевом блоке, обеспечивающем вторую температуру (т.е. в соединительной части СЧ2), определяется как Тb (
Следовательно, применяя устройство для выработки энергии, имеющее такую конструкцию, для части субблока питания, аналогичной каждому примеру конструкции, можно автоматически подавать топливо для выработки энергии (жидкое топливо или сжиженное топливо или газообразное топливо) в часть 11D субблока питания (часть 141, обеспечивающую каталитическое горение) через СОПР-часть 30А посредством очень простой операции, т.е. соединения топливного блока 20А с модулем 10А для выработки энергии, в результате чего вырабатывается тепловая энергия, обусловленная реакцией каталитического горения, и можно начинать и продолжать работу в режиме выработки энергии с помощью электрогенератора, работа которого основана на разности температур. Кроме того, с помощью части 11D субблока питания всегда можно автономно вырабатывать предварительно определенную электроэнергию столько времени, сколько продолжается подача топлива ТПЛ для выработки энергии, в результате чего также можно подавать эту электроэнергию в предварительно определенные конструкции, находящиеся внутри и снаружи системы 301 электропитания.
Хотя в этом примере конструкции описание приведено применительно к электрогенератору, работа которого основана на разности температур и который вырабатывает электроэнергию посредством эффекта Зеебека, который основан на разности температур между частью 141, обеспечивающей каталитическое горение, и частью 142, поддерживающей фиксированную температуру, настоящее изобретение не сводится к этой реализации, и можно использовать конструкцию, при наличии которой электроэнергия вырабатывается на основе явления термоэлектронной эмиссии, в процессе которой свободные электроны испускаются из поверхности металла за счет нагрева этого металла.
(Пятый пример конструкции части субблока питания)
На фиг. 9А и 9В представлены изображения, показывающие пятый пример конструкции части субблока питания, применимой к модулю для выработки энергии в соответствии с этим вариантом осуществления.
В пятом примере конструкции часть субблока питания имеет конструкцию устройства для выработки энергии, которое вырабатывает электроэнергию путем выработки энергии за счет термоэлектрического преобразования с использованием разности температур, создаваемой, когда топливо ТПЛ для выработки энергии (топливный газ), заправленное в топливный блок 20А, поглощает тепловую энергию на основе реакции испарения.
Как показано на фиг. 9А, часть 11Е субблока питания, соответствующая пятому примеру конструкции, имеет конструкцию электрогенератора, работа которого основана на разности температур, которая в основном включает: часть 151, поддерживающую нагревание и охлаждение, для поддержания нагревания и охлаждения, обеспечиваемого путем абсорбирования тепловой энергии при испарении топлива ТПЛ для выработки энергии (в частности, сжиженного топлива); часть 152, поддерживающую фиксированную температуру, для поддержания, по существу, фиксированной температуры; и элемент 153 для термоэлектрического преобразования, подсоединенный между концевыми блоками, обеспечивающими первую и вторую температуры, при этом часть 151, поддерживающая нагревание и охлаждение, определяется как концевой блок, обеспечивающий первую температуру, а часть 152, поддерживающая фиксированную температуру, определяется как концевой блок, обеспечивающий вторую температуру. В данном случае, элемент 153 для термоэлектрического преобразования имеет конструкцию, эквивалентную той, которая показана в четвертом примере конструкции (см. фиг. 8В). Кроме того, части 152, поддерживающей фиксированную температуру, придана конфигурация, обеспечивающая поддержание, по существу, фиксированной температуры за счет введения в контакт с другими зонами внутри и снаружи системы 301 электропитания, или за счет воздействия со стороны этих зон. Кроме того, относительно конструкции части 11Е электропитания, представляющей собой изображенный на чертежах электрогенератор, работа которого основана на разности температур, следует отметить, что, аналогично каждому примеру конструкции, часть 11Е электропитания может быть встроена и выполнена, например, в малом пространстве.
В части 11Е субблока питания, имеющей такую конструкцию, которая показана на фиг. 9В, когда топливо ТПЛ для выработки энергии (сжиженное топливо), заправленное в топливный блок 20А с соблюдением условия предварительно определенного давления, подается в часть 11Е субблока питания через СОПР-часть 30А и передается во внешнюю среду, соответствующую предварительно определенным условиям, таким, как обычная температура или обычное давление, это топливо ТПЛ для выработки энергии испаряется. В этот момент, тепловая энергия поглощается из внешней среды, и температура части 151, поддерживающей нагревание и охлаждение, уменьшается. С другой стороны, поскольку части 152, поддерживающей фиксированную температуру, придана конфигурация, обеспечивающая поддержание ее температуры, по существу, постоянной, создается разность температур между частью 151, поддерживающей нагревание и охлаждение, и частью 152, поддерживающей фиксированную температуру. Тогда за счет эффекта Зеебека, основанного на этой разности температур, создается предварительно определенная электродвижущая сила и в элементе 153 для термоэлектрического преобразования вырабатывается электроэнергия аналогично четвертому примеру конструкции.
Следовательно, применяя устройство для выработки энергии, имеющее такую конструкцию, для части субблока питания, аналогичной каждому примеру конструкции, можно автоматически подавать топливо ТПЛ для выработки энергии (сжиженное топливо) в часть 11Е субблока питания через СОПР-часть 30А посредством очень простой операции, т.е. соединения топливного блока 20А с модулем 10А для выработки энергии, в результате чего происходит абсорбирование тепловой энергии, обусловленное реакцией испарения, с достижением нагревания и охлаждения, и можно начинать и продолжать работу в режиме выработки энергии с помощью электрогенератора, работа которого основана на разности температур. Кроме того, с помощью части 11Е субблока питания всегда можно автономно вырабатывать предварительно определенную электроэнергию столько времени, сколько продолжается подача топлива ТПЛ для выработки энергии, в результате чего можно подавать эту электроэнергию в предварительно определенные конструкции, находящиеся внутри и снаружи системы 301 электропитания.
Хотя в этом примере конструкции описание приведено применительно к электрогенератору, работа которого основана на разности температур и который вырабатывает электроэнергию посредством эффекта Зеебека, который основан на разности температур между частью 151, поддерживающей нагревание и охлаждение, и частью 152, поддерживающей фиксированную температуру, настоящее изобретение не сводится к этой реализации, и можно использовать конструкцию, при наличии которой электроэнергия вырабатывается на основе явления термоэлектронной эмиссии.
(Шестой пример конструкции части субблока питания)
На фиг. 10 представлено изображение, показывающее шестой пример конструкции части субблока питания, применимой к модулю для выработки энергии в соответствии с этим вариантом осуществления.
В шестом примере конструкции часть субблока питания имеет конструкцию устройства для выработки энергии, которое вырабатывает электроэнергию за счет использования биохимической реакции в отношении топлива для выработки энергии, заправленного в топливный блок 20А.
Как показано на фиг. 10, часть 11F субблока питания, соответствующая шестому примеру конструкции, имеет конструкцию, которая в основном включает: резервуар 161 для биокультуры, в котором хранятся микробы или биокатализатор (которые в нижеследующем тексте будут иметь общее название “микробы и т.п.” для удобства) БИО, источником питания для которых, способствующим их росту, является топливо для выработки энергии; а также электрод 161а стороны анода и электрод 161b стороны катода, предусмотренные в резервуаре 161 для биокультуры. При такой конструкции, путем подачи топлива ТПЛ для выработки энергии из топливного блока 20А через СОПР-часть 30А, в резервуаре 161 для биокультуры реализуется метаболизм и т.п. (биохимическая реакция) путем всасывания микробами и т.п. БИО, и образуется электрон (е–). Захватывая этот электрон посредством электрода 161а стороны анода, можно получать предварительно определенную электроэнергию с выходных выводов ВЫВа и ВЫВb.
Следовательно, применяя устройство для выработки энергии, имеющее такую конструкцию, для части субблока питания, аналогичной каждому примеру конструкции, можно автоматически подавать топливо ТПЛ для выработки энергии, которое может быть источником питания для микробов и т.п. БИО, в часть 11F субблока питания через СОПР-часть 30А посредством лишь очень простой операции, т.е. соединения топливного блока 20А с модулем 10А для выработки энергии, вследствие чего начинается операция выработки энергии за счет биохимической реакции микробов и т.п. БИО. Кроме того, с помощью части 11F субблока питания всегда можно автономно вырабатывать предварительно определенную электроэнергию столько времени, сколько продолжается подача топлива для выработки энергии, в результате чего можно подавать эту электроэнергию в предварительно определенные конструкции, находящиеся внутри и снаружи системы 301 электропитания.
При биохимической реакции, проводимой в случае выработки электроэнергии путем использования фотосинтеза посредством микробов и т.п. БИО, можно непрерывно и автономно вырабатывать и подавать предварительно определенную электроэнергию, воспользовавшись, например, конструкцией, в которую внешний свет и т.п. может попадать через часть, в которой имеется отверстие, и т.п., предусмотренную для устройства У, к которому подсоединена система 301 электропитания.
(Седьмой пример конструкции части субблока питания)
На фиг. 11А и 11В представлены изображения, показывающие седьмой пример конструкции части субблока питания, применимой к модулю для выработки энергии в соответствии с этим вариантом осуществления.
В седьмом примере конструкции часть субблока питания имеет конструкцию устройства для выработки энергии, которое преобразует энергию колебаний, вырабатываемую за счет движения текучей среды топлива для выработки энергии, подаваемого из топливного блока 20А, в электроэнергию.
Как показано на фиг. 11А, часть 11G субблока питания, соответствующая седьмому примеру конструкции, имеет конструкцию как у электрогенератора колебаний, которая в основном включает: цилиндрический генератор 171 колебаний, которому придана такая конфигурация, при которой сторона, на которой находится, по меньшей мере, один его конец, может совершать колебания, когда топливо для выработки энергии, представляющее собой жидкость или газ, проходит в предварительно определенном направлении, причем этот генератор колебаний имеет электромагнитную катушку 173, предусмотренную на его колеблющемся конце 171а; и статор 172, который вставлен в этот генератор колебаний, имеет постоянный магнит 174, предусмотренный напротив электромагнитной катушки 173, и не создает колебания применительно к прохождению топлива для выработки энергии. При такой конструкции, как показано на фиг. 11В, за счет подачи топлива ТПЛ для выработки энергии из топливного блока 20А через СОПР-часть 30А, генератор 171 колебаний (колеблющийся конец 171а) создает колебания с обеспечением предварительно определенного количества колебаний относительно статора 172 в направлении (показанном стрелкой С4), по существу, перпендикулярном направлению прохождения топлива ТПЛ для выработки энергии. За счет этих колебаний изменяется относительное взаиморасположение постоянного магнита 174 и электромагнитной катушки 173, и поэтому создается электромагнитная индукция, вследствие чего электромагнитная катушка 173 обеспечивает получение предварительно определенной электроэнергии.
Следовательно, применяя устройство для выработки энергии, имеющее такую конструкцию, для части субблока питания, аналогичной каждому примеру конструкции, можно автоматически подавать топливо ТПЛ для выработки энергии в часть 11G субблока питания через СОПР-часть 30А посредством очень простой операции, т.е. соединения топливного блока 20А с модулем 10А для выработки энергии, вследствие чего начинается работа в режиме выработки энергии за счет преобразования энергии колебаний генератора 171 колебаний, обусловленной движением текучей среды. Кроме того, можно непрерывно и автономно вырабатывать предварительно определенную электроэнергию столько времени, сколько продолжается подача топлива ТПЛ для выработки энергии, в результате чего можно подавать эту электроэнергию в предварительно определенные конструкции, находящиеся внутри и снаружи системы 301 электропитания.
Каждый пример конструкции лишь иллюстрирует вариант части 11 субблока питания, применимой к модулю 10А для выработки энергии, и такой пример не следует считать ограничивающим конструкцию системы электропитания в соответствии с настоящим изобретением. Иначе говоря, часть субблока, используемая в настоящем изобретении, может иметь любую другую конструкцию, обеспечивающую возможность выработки электроэнергии внутри части 11 субблока питания на основании воздействия, предусматривающего преобразование энергии, такого, как воздействие электрохимической реакции, электромагнитной индукции, выработки тепла или разности температур, обусловленной эндотермической реакцией, когда происходит прямая (непосредственная) подача жидкого топлива или сжиженного топлива или газообразного топлива, заправленного в топливный блок 20А. Например, возможна комбинация двигателя с приводом за счет давления газа, который не является газовой турбиной или роторно-поршневым двигателем, и электрогенератора, предусматривающего использование электромагнитной индукции или пьезоэлектрического преобразования. В альтернативном варианте, который будет описан ниже, возможно применение конструкции, в которой, помимо устройства для выработки энергии, эквивалентного каждой части 11 субблока питания, предусмотрено средство конденсации электроэнергии (конденсирующее устройство), в котором электроэнергия (вторая электроэнергия), вырабатываемая частью 11 субблока питания, частично накапливается, а потом ее можно подавать в качестве электроэнергии запуска в часть 12 для выработки энергии или часть 14, управляющую выдачей, при запуске системы 301 электропитания (части 12 для выработки энергии).
(Восьмой пример конструкции части субблока питания)
На фиг. 12, фиг. 13–15 и фиг. 16–18 представлены условные изображения конструкций, показывающие восьмой пример конструкции и рабочее состояние части субблока питания, применимой к модулю для выработки энергии в соответствии с этим вариантом осуществления, а стрелки вдоль обмоток на чертежах показывают направления, в которых протекает электрический ток.
Как показано на фиг. 12, части 11Н субблока питания, соответствующей восьмому примеру конструкции, придана такая конфигурация, при которой она в основном включает: устройство 181 для выработки энергии (например, часть субблока питания, описанную в каждом примере конструкции), выполненное с возможностью автономной выработки электроэнергии (второй электроэнергии), когда топливо ТПЛ для выработки энергии (жидкое топливо или сжиженное топливо или газообразное топливо), заправленное в топливный блок 20А, подается непосредственно по топливопроводной трубке, обеспечиваемой для СОПР-части 30, за счет явления капиллярности; часть 182 для накопления и сохранения заряда, которая накапливает и сохраняет некоторую долю электроэнергии, вырабатываемой устройством 181 для выработки энергии, и представляет собой вторичный источник тока, конденсатор и т.п.; и переключатель 183 для переключения и задания режима зарядки и разрядки электроэнергии для части 182 для накопления и сохранения заряда, на основе сигнала управления работой, подаваемого из части 13, управляющей работой.
В такой конструкции, электроэнергия, вырабатываемая устройством 181 для выработки энергии, к которому прикладывается постоянное возбуждение во время продолжения подачи топлива для выработки энергии из топливного блока, выдается в качестве электроэнергии контроллера устройства У и рабочей электроэнергии части 13, управляющей работой, и некоторая доля этой электроэнергии надлежащим образом сохраняется в части 182 для накопления и сохранения заряда посредством переключателя 183. После этого, например, когда часть 13, управляющая работой, обеспечивает начало возбуждения устройства У (нагрузки Н), обнаруживая изменение напряжения питающей электроэнергии с помощью части 16, контролирующей напряжение, состояние соединения переключателя 183 переключается на основе сигнала управления работой, выдаваемого из части 13, управляющей работой, и электроэнергия, сохраненная в части 182 для накопления и сохранения заряда, подается в качестве электродвижущей силы в часть 12 для выработки энергии или часть 14, управляющую выдачей.
В данном случае, когда заряд в части 182 для накопления сохранения заряда, потребляемый частью 12 для выработки энергии или частью 14, управляющей выдачей, уменьшается до некоторой степени, поскольку возбуждение устройства У происходит в течение длительного периода времени, возможно осуществление управления таким образом, что часть 182 для накопления и сохранения заряда не сможет полностью разрядиться, посредством переключения части 12 для выработки энергии на подачу электроэнергии в устройство У и часть 182 для накопления и сохранения заряда. Кроме того, устройство 181 для выработки энергии может непрерывно заряжать часть 182 для накопления и сохранения заряда, и при этом часть 12 для выработки энергии подает электроэнергию в устройство У. Следует также отметить, что во втором варианте осуществления, когда техническое решение, соответствующее этому примеру конструкции, применяется в качестве части 11 электропитания, часть 13, управляющая работой, обеспечивает возбуждение устройства У (нагрузки Н) и выдает сигнал управления работой для переключения состояния соединения переключателя 183 путем приема через часть ЭЛх, содержащую электрические выводы, информации о возбуждении нагрузки, которая выдается из контроллера К устройства У и указывает, что нагрузка Н активирована из отключенного состояния и переключена во включенное состояние.
Следовательно, в соответствии с частью субблока питания, имеющей такую конструкцию, даже если электроэнергия, вырабатываемая в единицу времени устройством 181 для выработки энергии, оказывается пониженной (слабая электрическая сила), можно подавать в часть 12 для выработки электроэнергии или часть 14, управляющую выдачей, электроэнергию, имеющую достаточно высокую электроэнергетическую характеристику возбуждения, путем мгновенного разряда электроэнергии, накопленной в части 182 для накопления и сохранения заряда. Таким образом, поскольку способность к выработке электроэнергии устройства 181 для выработки электроэнергии может быть задана достаточно низкой, то можно минимизировать часть 11 субблока питания.
По поводу части субблока питания, соответствующей этому примеру конструкции, необходимо отметить, что, как показано на фиг. 13–15, возможно применение конструкции, в которой устройство 181 для выработки энергии отсутствует, а предусмотрена только часть 182 для накопления и сохранения разряда, представляющая собой предварительно заряженный конденсатор.
На фиг. 13–15 показано, что часть 182 для накопления и сохранения разряда имеет функцию подачи электроэнергии в часть 14, управляющую выдачей, посредством переключателя 183а в соответствии с потребностями, в дополнение к функции, обеспечивающей возможность постоянной подачи электроэнергии контроллера, предназначенной для контроллера К, и электроэнергии возбуждения нагрузки, предназначенной для нагрузки Н, от вывода ЭЛ(+) положительного электрода и вывода ЭЛ(-) отрицательного электрода в устройство У.
Контроллер К имеет функцию замыкания переключателя электропитания, ПЭП, с целью подачи электроэнергии на нагрузку Н при запуске устройства У за счет действия оператора устройства У или по какой-либо иной причине.
Часть 13, управляющая работой, имеет функцию обнаружения состояния сохранения электрического заряда в части 182 для накопления и сохранения заряда. Часть 13, управляющая работой, замыкает переключатель 183а, возбуждает часть 14, управляющую выдачей, и запускает часть 12 для выработки энергии только тогда, когда величина сохраненного электрического заряда в части 182 для накопления и сохранения заряда недостаточна, безотносительно состояния возбуждения нагрузки Н.
В такой конструкции, на фиг. 13 показана ситуация, в которой переключатель ПЭП разомкнут, так как нагрузка Н устройства У не возбуждена и находится в режиме ожидания, а часть 182 для накопления и сохранения заряда подает электроэнергию в контроллер К. В этот момент, поскольку часть 182 для накопления и сохранения заряда сохраняет электрический заряд, который достаточен для подачи предварительно определенного количества электроэнергии, часть 13, управляющая работой, размыкает переключатель 183а.
На фиг. 14 показана ситуация, в которой режим ожидания задается аналогично, но часть 13, управляющая работой, обнаруживает, что величина заряда части 182 для накопления и сохранения заряда уменьшается до уровня, который ниже предварительно определенной величины, и замыкает переключатель 183а. Часть 14, управляющая выдачей, начинает возбуждение с помощью электроэнергии из части 182 для накопления и сохранения заряда и подает предварительно определенное количество топлива и т.п. из топливного блока 20 в часть 12 для выработки энергии. Часть 14, управляющая выдачей, также подает электроэнергию в часть 12 для выработки энергии таким образом, что нагреватель части 12 для выработки энергии достигает предварительно определенной температуры в предварительно определенное время. В результате, часть 12 для выработки энергии вырабатывает электроэнергию, часть 182 для накопления и сохранения заряда входит в режим зарядки с целью накопления и сохранения электрического заряда путем использования этой электроэнергии и поддерживает режим разрядки до достижения энергии ожидания, чтобы продолжить возбуждение контроллера К. Затем из этого состояния, в котором предварительно определенная величина электрического заряда накапливается и сохраняется в части 182 для накопления и сохранения заряда, часть 13, управляющая работой, переключает переключатель 183а в разомкнутое состояние, показанное на фиг. 13.
На фиг. 15 показан случай, когда переключатель ПЭП замкнут контроллером К, обнаружившим, что устройство У запущено действием оператора устройства У или по какой-либо иной причине. Когда часть 13, управляющая работой, обнаруживает, что величина заряда, накопленного и сохраненного в части 182 для накопления и сохранения заряда, уменьшается до уровня, который ниже предварительно определенной величины, за счет потребления электроэнергии в нагрузке Н и контроллере К устройства У, эта часть 13, управляющая работой, замыкает переключатель 183а, который функционирует как часть, управляющая запуском, а часть 14, управляющая выдачей, возбуждает часть 12 для выработки энергии, обеспечивая выработку энергии и тем самым заряжая часть 182 для накопления и сохранения заряда. Затем, когда электрический заряд достаточной величины накапливается в части 182 для накопления и сохранения заряда, часть 13, управляющая работой, обнаруживает это состояние и размыкает переключатель 183а, чтобы остановить выработку энергии в части 12 для выработки энергии и возбуждение части 13, управляющей работой.
Пороговую величину, соответствующую величине заряда в части 182 для накопления и сохранения заряда, когда часть 13, управляющая работой, обнаружила, что нужно замкнуть переключатель 183а, и пороговую величину, соответствующую величине заряда в части 182 для накопления и сохранения заряда, когда часть, управляющая работой, обнаружила, что нужно разомкнуть переключатель 183а, можно задать, по существу, равными друг другу, но пороговую величину для размыкания переключателя 183а можно задать и большей.
В системе электропитания, имеющей такую конструкцию, конструкция и функционирование этой системы отличаются от вышеописанной системы электропитания, показанной на фиг. 12, тем, что: сама система электропитания не имеет функции выработки электроэнергии; часть 12 для выработки энергии вырабатывает электроэнергию в соответствии с состоянием зарядки части 182 для накопления и хранения заряда, безотносительно состояния возбуждения нагрузки Н; часть 13, управляющая работой, обнаруживает состояние зарядки части 182 для накопления и хранения заряда, и затем управляет переключателем 183а; а часть 182 для накопления и хранения заряда подает электроэнергию в устройство У. Кроме того, поскольку система электропитания имеет такую конструкцию, достаточно хорошо уже то, что часть 12 для выработки энергии управляет выработкой энергии и останавливает выработку энергии только при наличии состояния накопления электрического заряда в части 182 для накопления и хранения заряда, не получая при этом информацию о возбуждении нагрузки из контроллера К устройства У. Следовательно, для введения информации о возбуждении нагрузки больше не нужна часть ЭЛх, содержащая электрические выводы, и можно применить конструкцию с двумя выводами электродов, что дает преимущество, заключающееся в совместимости с любым другим источником тока общего назначения. Кроме того, поскольку часть 182 для накопления и хранения заряда в качестве части субблока питания не потребляет находящееся в топливном блоке 20 топливо для выработки электроэнергии, когда работа части 12 для выработки энергии приостановлена, то имеется преимущество также в том, что не происходит бесполезное расходование топлива, находящегося в топливном блоке 20. Более того, имеется преимущество также в том, что устройство У не должно включать схему для предоставления информации о возбуждении нагрузки из контроллера К в систему электропитания.
Далее, со ссылками на фиг. 16–18, будет приведено описание еще одной системы электропитания, имеющей часть субблока питания, относящуюся к тому типу, который обеспечивает накопление и хранение заряда.
На фиг. 16–18 показана часть 182 для накопления и сохранения заряда, которая имеет функцию подачи электроэнергии в часть 14, управляющую выдачей, через переключатель 183b в соответствии с потребностями, чтобы осуществить возбуждение части 12 для выработки энергии, в дополнение к функции непрерывной подачи электроэнергии контроллера, предназначенной для контроллера К, от вывода ЭЛ(+) положительного электрода и вывода ЭЛ(-) отрицательного электрода в устройство У.
Контроллер К имеет функцию замыкания переключателя ПЭП с целью подачи электроэнергии на нагрузку Н при активации устройства У за счет действия оператора устройства У или по какой-либо иной причине.
Часть 13, управляющая работой, имеет функцию обнаружения состояния сохранения электрического заряда в части 182 для накопления и сохранения заряда. Часть 13, управляющая работой, замыкает переключатель 183а и возбуждает часть 14, управляющую выдачей, заставляя часть 12 для выработки энергии вырабатывать энергию только тогда, когда величина сохраненного электрического заряда в части 182 для накопления и сохранения заряда недостаточна, безотносительно состояния возбуждения нагрузки Н. Кроме того, часть 182 для накопления и сохранения заряда замыкает переключатель 183с и выдает электроэнергию, вырабатываемую в части 12 для выработки энергии, вместе с электроэнергией части 182 для накопления и сохранения заряда в качестве электроэнергии контроллера, предназначенной для контроллера К, и электроэнергии возбуждения нагрузки, предназначенной для нагрузки Н.
На фиг. 16 в такой конструкции показан случай, когда часть 13, управляющая работой, размыкает переключатель 183 (переключатель 183b и переключатель 183с) и останавливает возбуждение части 12 для выработки энергии и части 14, управляющей выдачей, а часть 182 для накопления и сохранения заряда подает электроэнергию в контроллер К, когда устройство У находится в режиме ожидания и часть 13, управляющая работой, определяет, что часть 182 для накопления и сохранения заряда имеет достаточно сохраненной в ней электроэнергии.
На фиг. 17 показана ситуация, в которой, когда устройство У находится в режиме ожидания и часть 13, управляющая работой, определяет, что электрический заряд, сохраненный в части 182 для накопления и сохранения заряда, уменьшился до предварительно определенной величины, и это уменьшение происходит медленно, так как возбуждение нагрузки Н отсутствует, часть 13, управляющая работой, замыкает переключатель 183b и переключатель 183с для подачи электроэнергии возбуждения из части 182 для накопления и сохранения заряда в часть 14, управляющую выдачей, вследствие чего часть 14, управляющая выдачей, и часть 12 для выработки энергии получают возбуждение, а электрический заряд накапливается и сохраняется в части 182 для накопления и сохранения заряда за счет электроэнергии, вырабатываемой в части 12 для выработки энергии. В этот момент, часть 14, управляющая выдачей, начинает возбуждение с помощью электроэнергии из части 182 для накопления и сохранения заряда, подает предварительно определенное количество топлива и т.п. из топливного блока 20 в часть 12 для выработки энергии, а также подает электроэнергию в часть 12 для выработки энергии с тем, чтобы нагреватель части 12 для выработки энергии мог достичь предварительно определенной температуры в предварительно определенное время. Часть 182 для накопления и сохранения заряда постоянно подает электроэнергию в контроллер К. Затем, когда предварительно определенная величина электрического заряда накапливается и сохраняется в части 182 для накопления и сохранения заряда, часть 13, управляющая работой, из этого состояния, как показано на фиг. 16, размыкает переключатель 183 (переключатель 183b и переключатель 183с).
На фиг. 18 показан случай, в котором, при возбуждении нагрузки Н посредством замыкания переключателя ПЭП контроллером К, когда часть 13, управляющая работой, обнаруживает, что электрический заряд, накопленный и сохраненный в части 182 для накопления и сохранения заряда, уменьшается до предварительно определенной величины, и это уменьшение происходит быстро, так как осуществляется возбуждение нагрузки Н, эта часть 13, управляющая работой, замыкает переключатель 183b и возбуждает часть 14, управляющую выдачей, заставляя часть 12 для выработки энергии вырабатывать энергию, и эта часть 13, управляющая работой, также замыкает переключатель 183с и выдает электроэнергию, вырабатываемую в части 12 для выработки энергии, вместе с электроэнергией из части 182 для накопления и сохранения заряда в качестве энергии контроллера, предназначенной для контроллера К, и энергии возбуждения нагрузки, предназначенной для нагрузки Н. Количество электроэнергии, вырабатываемой в единицу времени в части 12 для выработки энергии, можно задать большим, чем количество, соответствующее показанному на фиг. 17 сохранению (накоплению) электрического заряда в устройстве 182 для накопления и сохранения заряда.
<Часть 12 для выработки энергии>
Часть 12 для выработки энергии, применимая к модулю для выработки энергии в соответствии с этим конкретным вариантом осуществления имеет, как показано на фиг. 3, конструкцию, обеспечивающую выработку предварительно определенной электроэнергии (первой электроэнергии), необходимой для возбуждения устройства У (нагрузки Н), за счет использования физической или химической энергии топлива ТПЛ для выработки энергии, подаваемого из топливного блока 20, на основе управления запуском с помощью части 13, управляющей работой. Что касается конкретной конструкции части 12 для выработки энергии, то возможно применение различных типов согласования, например, с помощью электрохимической реакции с использованием топлива ТПЛ для выработки энергии, подаваемого из топливного блока 20 (топливного элемента), с помощью тепловой энергии, обусловленной реакцией горения (выработка энергии за счет разности температур), с помощью воздействия, обеспечивающего динамическое преобразование энергии и т.п. для выработки электроэнергии посредством вращения электрогенератора с использованием энергии давления, обуславливаемой реакцией горения и т.п. (выработка энергии посредством двигателя внутреннего сгорания или внешнего сгорания), или за счет преобразования энергии текучей среды или тепловой энергии топлива ТПЛ для выработки энергии в электроэнергию путем использования принципа электромагнитной индукции и т.п. (электрогенератора, работа которого основана на механизме работы электромагнитной текучей среды, электрогенератора, работа которого основана на термоакустическом эффекте, и т.п.).
В данном случае, поскольку электроэнергия (первая электроэнергия), вырабатываемая частью 12 для выработки энергии, является основным источником питания для возбуждения различных функций (нагрузки Н) всего устройства У в целом, характеристику энергии возбуждения задают высокой. Следовательно, когда часть 11 субблока питания (часть 182 для накопления и сохранения заряда) подает электроэнергию контроллера устройства У или рабочую электроэнергию и т.п. для части 13, управляющей работой, части 14, управляющей выдачей, и части 12 для выработки энергии, а часть 12 для выработки энергии подает электроэнергию возбуждения нагрузки, предназначенную для нагрузки Н, электроэнергия, подаваемая из части 11 субблока питания (вторая электроэнергия), отличается от электроэнергии, подаваемой из части 12 для выработки энергии, по свойствам.
Далее, со ссылками на чертежи, будет приведено краткое описание каждого конкретного примера.
(Первый пример конструкции части для выработки энергии)
На фиг. 19 представлено изображение, показывающее первый пример конструкции части для выработки энергии, применимой к модулю для выработки энергии в соответствии с конкретным вариантом осуществления, а на фиг. 20А и 20В представлены изображения, иллюстрирующие процесс образования водорода в части для топливного риформинга, применимой к части для выработки энергии в соответствии с этим примером конструкции. В данном случае, описание будет приведено с соответствующими ссылками на конструкцию системы электропитания (фиг. 3).
В первом примере конструкции, часть для выработки энергии имеет конструкцию протонообменного мембранного топливного элемента, являющегося воспроизведением системы для топливного риформинга, при наличии которой используется топливо ТПЛ для выработки энергии, подаваемое из топливного блока 20А через часть 14, управляющую выдачей, а электроэнергия вырабатывается посредством электрохимической реакции.
Как показано на фиг. 19, части 12А для выработки энергии придана такая конфигурация, при которой она в основном включает: часть 210а для топливного риформинга (блок топливного риформинга) для выделения предварительно определенного компонента (водорода) топлива, содержащегося в топливе ТПЛ для выработки энергии, за счет использования предварительно определенной реакции риформинга, проводимой применительно к топливу ТПЛ для выработки энергии, подаваемому из топливного блока 20А; и часть 210b топливного элемента для выработки предварительно определенной электроэнергии (первой электроэнергии) для возбуждения нагрузки 214 (устройства У или нагрузки Н) посредством электрохимической реакции с использованием компонента топлива, выделяемого частью 210а для топливного риформинга.
Как показано на фиг. 20А, часть 210Х для проведения реакции парового риформинга, относящаяся к части 210а для топливного риформинга, в общем случае выделяет компонент топлива, присутствующий в топливе ТПЛ для выработки энергии, подаваемом из топливного блока 20А с помощью части 14, осуществляющей управление, на протяжении каждого процесса, включающего реакции испарения и парового риформинга. Например, в случае образования газообразного водорода (Н2) при использовании смеси метилового спирта (СН3ОН) и воды (Н2О) в качестве топлива ТПЛ для выработки энергии, на этапе испарения сначала испаряют метиловый спирт (СН3ОН) и воду (Н2О) путем осаждения метилового спирта и воды в качестве жидкого топлива в атмосфере с соблюдением условия, согласно которому поддерживают температуру, примерно равную температуре кипения с помощью нагревателя, управляемого частью 14, управляющей выдачей.
Затем, в процессе парового риформинга путем осаждения в атмосфере с соблюдением условия, согласно которому поддерживают температуру примерно 300° для испаряемых метилового спирта (СН3ОН) и воды (Н2О) с помощью нагревателя, поглощается тепловая энергия в количестве 49 кДж/моль, и образуется водород (Н2) и небольшое количество диоксида углерода (СО2), как показывает химическое уравнение (3). В процессе парового риформинга может образовываться небольшое количество монооксида углерода (СО) в качестве побочного продукта, помимо водорода (Н2) и диоксида углерода (СО2).
СН3ОН+Н2О 3Н2+СО2 |
(3) |
В данном случае, как показано на фиг. 20В, в конце части 210Х для проведения реакции парового риформинга можно предусмотреть часть 210Y, содержащую выбранный катализатор окисления и предназначенную для удаления монооксида углерода (СО), образующегося в качестве побочного продукта при реакции риформинга паров, с тем, чтобы можно было превращать монооксид углерода (СО) в диоксид углерода (СО2) и водород (Н2) посредством соответствующих процессов, включающих реакцию конверсии водяного газа и выбранную реакцию окисления, тем самым подавляя испускание вредных веществ. В частности, в процессе реакции конверсии водяного газа, проходящей в части 210Y, содержащей выбранный катализатор окисления, тепловая энергия в количестве 40,2 кДж/моль вырабатывается за счет проведения реакции воды (Н2О, в форме паров) с монооксидом углерода, вследствие чего образуются диоксид углерода (СО2) и водород (Н2), как показывает химическое уравнение (4).
СО+Н2О СО2+Н2 |
(4) |
Кроме того, в конце части 210Y, содержащей выбранный катализатор окисления, можно предусмотреть часть 210Z для проведения выбранной реакции окисления. В процессе выбранной реакции окисления, тепловая энергия в количестве 283,5 кДж/моль вырабатывается за счет проведения реакции кислорода (О2) с монооксидом углерода, который не преобразовался в диоксид углерода (СО2) и водород (Н2) посредством реакции конверсии водяного газа, и образуется диоксид углерода (СО2), как показывает химическое уравнение (5). Эту часть 210Z для проведения выбранной реакции окисления можно предусмотреть и в конце части 210Х для проведения реакции парового риформинга.
СО+(1/2)О2 СО2 |
(5) |
Небольшая часть продукта (в основном, диоксида углерода), отличная от водорода, образующегося при проведении серии реакций, испускается в воздух через выпускное отверстие (не показано); пояснение этого будет приведено ниже в примере конструкции, предусмотренном для модуля 10А для выработки энергии.
Пояснение конкретной конструкции части для топливного риформинга, имеющей такую функцию, а также других конструкций, будет приведено ниже в следующем примере конструкции.
Как показано на фиг. 19, аналогично топливному элементу с прямой подачей топлива, применимому к части 11 субблока питания, часть 210b топливного элемента в основном включает: топливный электрод (катод) 211, представляющий собой угольный электрод, к которому прилипают мелкие частицы катализатора, например, платины, палладия, платины-рутения; воздушный электрод (анод) 212, представляющий собой угольный электрод, к которому прилипают мелкие частицы катализатора, например, платины; пленкообразную ионопроницаемую мембрану (ионообменную мембрану), расположенную между топливным электродом 211 и воздушным электродом 212. В данном случае, газообразный водород (Н2), выделяемый частью 210а для топливного риформинга, подается на топливный электрод 211 из топлива ТПЛ для выработки энергии, подаваемым количеством которого управляет часть 14, управляющая выдачей, и при этом газообразный кислород (О2), находящийся в воздухе, подается на воздушный электрод 112. В результате, за счет электрохимической реакции осуществляется выработка энергии, и электроэнергия, которая может быть предварительно определенной электроэнергией возбуждения (напряжением или электрическим током) подается на нагрузку 214 (нагрузку Н устройства У). Далее, в соответствии с потребностями, некоторая доля электроэнергии, вырабатываемой в части 210b топливного элемента, подается в часть 14а, управляющую топливом, и/или часть 14е, управляющую нагревателем.
В частности, в качестве примера электрохимической реакции, проходящей в части 12 для выработки энергии в этом примере конструкции, можно отметить, что, если газообразный водород (Н2) подается на топливный электрод 211, то за счет катализа на топливном электроде 211 отделяется электрон (е–) и образуется ион водорода (протон; Н+), который проходит на сторону воздушного электрода 212 сквозь ионопроницаемую мембрану 213, и этот электрон (е–) захватывается угольным электродом, представляющим собой топливный электрод 211, и подается на нагрузку 214, как показывает химическое уравнение (6).
3Н2 6Н++6е– |
(6) |
Когда воздух подается на воздушный электрод 212, электрон (е–), который прошел через нагрузку 214 за счет катализа на воздушном электроде 212, ион водорода (Н+), который прошел сквозь ионопроницаемую мембрану 213, и газообразный кислород (О2), присутствующий в воздухе, реагируют друг с другом, и за счет этого образуется вода (Н2О), как показывает химическое уравнение (7).
6Н++(3/2)О2+6е– 3Н2О |
(7) |
Такая серия электрохимических реакций (отображенных химическими уравнениями (6) и (7)) происходит в окружающей среде относительно низкой температуры, составляющей примерно 60-80° С, а побочным продуктом, образующимся помимо выработки электроэнергии (электроэнергии возбуждения нагрузки), в основном является лишь вода (Н2О). В этом случае, путем сбора воды (Н2О) в качестве побочного продукта, образующегося у воздушного электрода 212, и подачи необходимого количества воды в часть 210а для топливного риформинга, можно повторно использовать воду для реакции топливного риформинга или реакции конверсии водяного газа топлива ТПЛ для выработки энергии, и можно намного уменьшить количество воды (Н2О), заранее запасенное (заправленное) в топливном блоке 20А для проведения реакции топливного риформинга, а также можно значительно уменьшить емкость средства для сбора побочных продуктов, которое предусмотрено в топливном блоке 20А и собирает побочные продукты. Следует отметить, что конструкция средства для сбора побочных продуктов, предназначенного для сбора и повторного использования такого побочного продукта, как вода (Н2О), образующаяся у воздушного электрода 212, будет описана ниже наряду с пояснением средства для сбора побочных продуктов, находящегося в части 11 субблока питания.
Электроэнергия, вырабатываемая за счет электрохимической реакции и подаваемая на нагрузку 214, зависит от количества газообразного водорода (Н2), подаваемого в часть 12А для выработки энергии (топливный электрод 211 части 210b топливного элемента). Электроэнергию, подаваемую в устройство У, можно произвольным образом регулировать путем управления количеством топлива ТПЛ для выработки энергии (по существу, газообразного водорода), подаваемого в часть 12 для выработки энергии через часть 14, управляющую выдачей; например, эту электроэнергию можно задать таким образом, что она будет эквивалентна энергии химических источников тока общего назначения.
Применяя топливный элемент, работа которого основана на топливном риформинге, имеющий такую конструкцию, в части для выработки энергии и учитывая, что возможна эффективная выработка произвольной электроэнергии путем управления количеством топлива ТПЛ для выработки энергии, подаваемого с помощью части 14, управляющей выдачей, можно реализовать работу в подходящем режиме выработки энергии в соответствии с состоянием возбуждения устройства У (нагрузки Н) на основе информации о возбуждении нагрузки. Кроме того, применяя такую конструкцию топливного элемента и учитывая, что посредством электрохимической реакции возможно получение электроэнергии прямо из топлива ТПЛ для выработки энергии, можно реализовать очень высокую эффективность выработки энергии, а также можно эффективно использовать топливо ТПЛ для выработки энергии или можно минимизировать модуль 10А для выработки энергии, включая часть 12 для выработки энергии.
Аналогично описанию части 11А субблока питания (см. первый пример ее конструкции), следует отметить, что, хотя описание приведено лишь в связи с применением метилового спирта в качестве топлива ТПЛ для выработки энергии, настоящее изобретение не сводится к этой реализации, и удовлетворительным может оказаться любое из жидкого топлива, сжиженного топлива и газового топлива, включающего, по меньшей мере, элементарный водород. Следовательно, возможно успешное применение жидкого топлива на спиртовой основе, такого, как метиловый спирт, этиловый спирт или бутиловый спирт, сжиженного топлива, представляющего собой углеводород, который может испаряться при обычной температуре, такого, как простой диметиловый эфир, изобутилен или природный газ, газообразное топливо, такое, как газообразный водород, и т.п.
Необходимо отметить, что в случае использования сжиженного водорода или газообразного водорода как такового в качестве топлива ТПЛ для выработки энергии, возможно использование конструкции, посредством которой топливо ТПЛ для выработки энергии, подаваемым количеством которого управляет лишь часть 14, управляющая выдачей, подается прямо в часть 210b топливного элемента, а часть 210а для топливного риформинга, такая, как описанная в этом примере конструкция, оказывается ненужной. Кроме того, хотя топливный элемент, предусматривающий топливный риформинг, был описан только как конструкция части 12 для выработки энергии, настоящее изобретение не сводится к этой реализации. Аналогично описанию части 11А субблока питания (см. первый пример ее конструкции), следует отметить, что можно применять топливный элемент с прямой подачей топлива, хотя его эффективность выработки электроэнергии является низкой, и что для выработки электроэнергии можно использовать жидкое топливо, сжиженное топливо, газообразное топливо и т.п.
(Второй пример конструкции части для выработки энергии)
На фиг. 21А и 21В представлены изображения, показывающие второй пример конструкции части для выработки энергии, применимой к модулю для выработки энергии в соответствии с этим вариантом осуществления.
Во втором примере конструкции, часть для выработки энергии имеет конструкцию устройства для выработки энергии, которое использует топливо ТПЛ для выработки энергии, подаваемое из топливного блока 20А с помощью части 14, управляющей выдачей, приводит в действие газовую турбину внутреннего сгорания (двигатель внутреннего сгорания) посредством энергии давления, обусловленной реакцией горения, и преобразует энергию возбуждения в электроэнергию.
Как показано на фиг. 21А и 21В, часть 12В для выработки энергии, соответствующая этому примеру конструкции, в основном включает: подвижную крыльчатку 222, которой придана такая конфигурация, при которой множество лопаток изогнуты в предварительно определенном направлении по окружности, а также лопатки всасывания, 222вс, и лопатки выпуска, 222вып, которые расположены на окружности таким образом, что проходят, по существу, радиально и соединены друг с другом соосно, а также имеют возможность вращения; неподвижную крыльчатку 223, которая состоит из лопаток всасывания, 223вс, и лопаток выпуска, 223вып, и которой придана такая конфигурация, при которой множество лопаток изогнуты в направлении, противоположном направлению изгиба подвижной крыльчатки 222 (лопаток всасывания, 222вс, и лопаток выпуска, 222вып), вдоль внешней периферийной стороны подвижной крыльчатки 222, расположены, по существу, радиально и неподвижно относительно подвижной крыльчатки 222; камеру 224 сгорания, предназначенную для сжигания топлива ТПЛ для выработки энергии (топливного газа), всасываемого посредством подвижной крыльчатки 222 в предварительно определенный момент времени; часть 225 зажигания, предназначенную для зажигания топливного газа, всасываемого в камеру 224 сгорания; электрогенератор 228, который соединен непосредственно с центром вращения подвижной крыльчатки 222 и преобразует энергию вращения этой подвижной крыльчатки 222 в электроэнергию на основе известного принципа электромагнитной индукции или пьезоэлектрического преобразования; часть 226, управляющую всасыванием, для управления подачей (всасыванием) испаренного топливного газа в газовую турбину внутреннего сгорания, содержащую подвижную крыльчатку 222 и неподвижную крыльчатку 223; и часть 227, управляющую выпуском, для управления выпуском топливного газа (выпускаемого газа) после его использования в газовой турбине. Относительно конструкции части 12 для выработки энергии, включающей газовую турбину, часть 226, управляющую всасыванием, и часть 227, управляющую выпуском, следует отметить, что часть 12 для выработки энергии может быть встроена и выполнена в небольшом пространстве, размеры которого имеют порядок миллиметров, например, на кремниевом кристалле 221 по технологии изготовления микромашин аналогично части 11 субблока питания. Для удобства пояснения конструкции газовой турбины внутреннего сгорания, лопатки всасывания, 222вс и 223вс, показаны на фиг. 21А открытыми.
В такой части 12В для выработки энергии, которая показана, например, на фиг. 21В, когда топливный газ, всасываемый со стороны лопаток всасывания, 222вс и 223вс, газовой турбины внутреннего сгорания с помощью части 226, управляющей всасыванием, зажигается посредством части 225 зажигания в камере 224 сгорания в предварительно определенный момент времени, сгорает и испускается со стороны выпускаемых лопаток 222вып и 223вып (стрелки С5), создается вихревой поток топливного газа вдоль направления изгиба неподвижной крыльчатки 222 и подвижной крыльчатки 223, и за счет этого вихревого потока автоматически осуществляется всасывание и выпуск топливного газа. Кроме того, подвижная крыльчатка 222 непрерывно вращается в предварительно определенном направлении, тем самым приводя в движение электрогенератор 125. В результате, энергия топлива, получаемая с помощью топливного газа, преобразуется в электроэнергию посредством газовой турбины внутреннего сгорания и электрогенератора 228.
Поскольку часть 12В, соответствующая этому примеру конструкции, имеет конструкцию, обеспечивающую выработку энергии путем использования энергии сгорания топливного газа, топливо ТПЛ для выработки энергии (топливный газ), подаваемое из топливного блока 20А, должно обладать, по меньшей мере, воспламеняемостью или горючестью. Например, можно с успехом применять жидкое топливо на спиртовой основе, такое, как метиловый спирт, этиловый спирт или бутиловый спирт, сжиженное топливо, представляющее собой углеводород, который испаряется при обычной температуре, такой, как простой диметиловый эфир, изобутилен или природный газ, или газообразное топливо, такое, как газообразный водород.
В случае применения конструкции, предусматривающей прямой выпуск топливного газа (выпускаемого газа) наружу из системы 301 электропитания, следует отметить, что обработку, придающую стойкость к воспламенению, или детоксикацию необходимо проводить до испускания выпускаемого газа наружу, или необходимо предусмотреть средства для сбора выпускаемого газа, если этот выпускаемый газ содержит горючий или токсичный компонент.
Применяя газовую турбину внутреннего сгорания, имеющую такую конструкцию, для части для выработки энергии, с учетом того, что возможна выработка произвольной электроэнергии с помощью простого способа управления, предназначенного для регулирования количества подаваемого топлива ТПЛ для выработки энергии, можно обеспечить работу в подходящем режиме выработки энергии для создания состояния возбуждения устройства У. Кроме того, применяя такую конструкцию в качестве газовой турбины внутреннего сгорания, изготовленной способами микрообработки, можно вырабатывать энергию с относительно высокой эффективностью выработки энергии, а также можно минимизировать модуль 10А для выработки энергии, включая часть 12 для выработки энергии, при одновременном эффективном использовании топлива ТПЛ для выработки энергии.
(Третий пример конструкции части для выработки энергии)
На фиг. 22А–22D представлены изображения, иллюстрирующие работу применительно к третьему примеру конструкции части для выработки энергии, применимой к модулю для выработки энергии в соответствии с этим вариантом осуществления.
В третьем примере конструкции, часть для выработки энергии имеет конструкцию устройства для выработки энергии, которое использует топливо ТПЛ для выработки энергии, подаваемое из топливного блока 20А с помощью части 14, управляющей выдачей, приводит в действие роторно-поршневой двигатель (двигатель внутреннего сгорания) посредством энергии давления, получаемой за счет реакции горения, и преобразует энергию возбуждения в электроэнергию.
Как показано на этих чертежах, часть 12С для выработки энергии, соответствующая третьему примеру конструкции, включает: корпус 231, имеющий рабочее пространство 231а, поперечное сечение которого является, по существу, эллиптическим; ротор 232, который вращается, сохраняя эксцентриситет относительно внутренней стенки рабочего пространства 231а, и имеет, по существу, треугольное поперечное сечение; известный роторно-поршневой двигатель, имеющий часть 234 зажигания, которая обеспечивает зажигание и сгорание сжатого топливного газа; и электрогенератор (не показан), соединенный непосредственно с центральным валом 233. Что касается конструкции части 12С для выработки энергии, включающей в себя роторно-поршневой двигатель, которая аналогична каждому примеру конструкции, следует отметить, что эта часть 12С для выработки энергии может быть встроена и выполнена, например, в небольшом пространстве за счет применения технологии изготовления микромашин.
В части 12С для выработки энергии, имеющей такую конструкцию, путем повторения каждого такта всасывания, сжатия, сгорания (взрыва) и выпуска, осуществляемого посредством вращения ротора 232, энергия давления, обуславливаемая сгоранием топливного газа, преобразуется в энергию вращения, и эта преобразованная энергия передается в электрогенератор. То есть, в такте всасывания, как показано на фиг. 22А, топливный газ всасывается из впускного отверстия 235а и заправляется в предварительно определенную рабочую камеру РК, образуемую внутренней стенкой рабочего пространства 231а и ротором 232. Затем, после сжатия топливного газа в рабочей камере РК для достижения высокого давления в такте сжатия, как показано на фиг. 22В, топливный газ зажигается и сгорает (взрывается) под воздействием части 234 зажигания в предварительно определенный момент времени в такте сгорания, как показано на фиг. 22С, и выпускаемый газ после сгорания испускается из рабочей камеры РК через выпускное отверстие 235b в такте выпуска, как показано на фиг. 22D. В этой серии тактов приведения в действие, вращение ротора 232 в предварительно определенном направлении (стрелки С6) поддерживается энергией давления, обусловленной зажиганием и сгоранием топливного газа в такте сгорания, и передача энергии вращения на центральный вал 233 продолжается. В результате, энергия сгорания, полученная топливным газом, преобразуется в энергию вращения центрального вала 233, а потом преобразуется в электроэнергию с помощью электрогенератора (не показан), соединенного с центральным валом 233.
По поводу конструкции электрогенератора в этом примере, следует отметить, что можно применить известный электрогенератор, в котором используется электромагнитная индукция или пьезоэлектрическое преобразование, аналогично второму примеру конструкции.
Кроме того, поскольку в этом примере конструкции тоже используется конструкция, предусматривающая выработку электроэнергии на основе энергии сгорания топливного газа, топливо ТПЛ для выработки энергии (топливный газ) должно обладать, по меньшей мере, воспламеняемостью или горючестью. Помимо этого, в случае применения этой конструкции для непосредственного испускания топливного газа после сгорания (т.е. выпускаемого газа) наружу из системы 301 электропитания, можно понять, что обработку, придающую стойкость к воспламенению, или детоксикацию необходимо проводить до испускания выпускаемого газа наружу, или необходимо предусмотреть средства для сбора выпускаемого газа, если этот выпускаемый газ содержит горючий или токсичный компонент.
Применяя роторно-поршневой двигатель, имеющий такую конструкцию, для части для выработки энергии, аналогичной каждому примеру конструкции, с учетом того, что возможна выработка произвольной электроэнергии с помощью простого способа управления, предназначенного для регулирования количества подаваемого топлива ТПЛ для выработки энергии, можно обеспечить подходящую операцию выработки энергии для создания состояния возбуждения устройства. Кроме того, применяя такую конструкцию в качестве роторного двигателя, изготовленного способами микрообработки, можно минимизировать модуль 10А для выработки энергии, включая часть 12 для выработки энергии, при одновременной выработке электроэнергии с помощью относительно простой конструкции, которая работает, создавая меньшие колебания.
(Четвертый пример конструкции
части для выработки энергии)
На фиг. 23А и 23В представлены условные изображения, показывающие четвертый пример конструкции части для выработки энергии, применимой к модулю для выработки энергии в соответствии с вариантом осуществления. В данном случае, иллюстрируются только базовые конструкции (двухпоршневого типа и вытеснительного типа) известного двигателя Стирлинга, и будет приведено простое описание их работы.
В четвертом примере конструкции, часть для выработки энергии имеет конструкцию устройства для выработки энергии, которое использует топливо ТПЛ для выработки энергии, подаваемое из топливного блока 20А с помощью части 14, управляющей выдачей, приводит в действие двигатель Стирлинга (двигатель внешнего сгорания) посредством энергии, полученной за счет реакции сгорания, и преобразует энергию возбуждения в электроэнергию.
Как показано на фиг. 23А, в части 12D для выработки энергии, соответствующей четвертому примеру конструкции, двигатель Стирлинга двухпоршневого типа в основном включает: цилиндр 241а высокотемпературной стороны (расширения) и цилиндр 242а низкотемпературной стороны (сжатия), которые выполнены с обеспечением возможности возвратно-поступательного перемещения рабочего газа; поршень 241b высокотемпературной стороны и поршень 242b низкотемпературной стороны, которые предусмотрены в этих цилиндрах 241а и 242а и соединены с коленчатым валом 243 с обеспечением возможности возвратно-поступательного перемещения с разностью фаз 90° ; нагреватель 244 для нагревания цилиндра 241а высокотемпературной стороны; блок 245 охлаждения, предназначенный для охлаждения цилиндра 242а низкотемпературной стороны; известный двигатель Стирлинга, снабженный маховиком 246, соединенным с осью коленчатого вала 243; и электрогенератор (не показан), непосредственно соединенный с коленчатым валом 243.
В части 12D для выработки энергии, имеющей такую конструкцию, цилиндр 241а высокотемпературной стороны поддерживается постоянно нагретым с помощью тепловой энергии, обусловленной сгоранием топливного газа, тогда как цилиндр 242а низкотемпературной стороны поддерживается постоянно охлажденным за счет введения его в контакт с другими зонами внутри и снаружи системы 301 электропитания, или за счет воздействия таких зон, например, посредством внешнего воздуха, и каждый такт изохорического нагревания, изотермического расширения, изохорического охлаждения и изотермического сжатия повторяется. В результате, кинетическая энергия возвратно-поступательного перемещения поршня 241b высокотемпературной стороны и поршня 242b низкотемпературной стороны преобразуется в энергию вращения коленчатого вала 243 и передается в электрогенератор.
То есть, в процессе изохорического нагревания, когда происходит тепловое расширение рабочего газа, а поршень 241b высокотемпературной стороны начинает перемещаться вниз, в цилиндре 242а низкотемпературной стороны, имеющем малую емкость, которая представляет собой пространство, сообщающееся с цилиндром 241а высокотемпературной стороны, поршень 242b низкотемпературной стороны перемещается вверх за счет уменьшения давления, обусловленного резким опусканием поршня 241b высокотемпературной стороны, а охлажденный рабочий газ цилиндра 242а низкотемпературной стороны проходит в цилиндр 241а высокотемпературной стороны. После этого, в такте изотермического расширения, охлажденный рабочий газ, который попал в цилиндр 241а высокотемпературной стороны, претерпевает достаточное термическое расширение и увеличивает давление в пространстве, заключенном в цилиндре 241а высокотемпературной стороны и цилиндре 242а низкотемпературной стороны, таким образом, поршень 241b высокотемпературной стороны и поршень 242b низкотемпературной стороны перемещаются вниз.
Затем, в такте изохорического охлаждения, пространство в цилиндре 242а низкотемпературной стороны увеличивается за счет резкого опускания поршня 242b низкотемпературной стороны, а пространство в цилиндре 241а высокотемпературной стороны из-за этого уменьшается. Кроме того, поршень 241b высокотемпературной стороны перемещается вверх, а рабочий газ из цилиндра 241а высокотемпературной стороны проходит в цилиндр 242а низкотемпературной стороны и охлаждается. Затем, в такте изотермического сжатия, охлажденный рабочий газ, заполнивший пространство внутри цилиндра 242а низкотемпературной стороны, сжимается, и в обоих непрерывных пространствах, в цилиндре 242а низкотемпературной стороны и цилиндре 241а высокотемпературной стороны, уменьшается давление. Кроме того, оба поршня, поршень 241b высокотемпературной стороны и поршень 242b низкотемпературной стороны, перемещаются вверх, и рабочий газ сжимается. В этой серии тактов приведения в действие, вращение коленчатого вала 243 в предварительно определенном направлении (стрелки С7) поддерживается за счет нагревания и охлаждения топливного газа, вызывающего возвратно-поступательное перемещение поршней. В результате, энергия давления рабочего газа преобразуется в энергию вращения коленчатого вала 243, а потом преобразуется в электроэнергию с помощью электрогенератора (не показан), соединенного с коленчатым валом 243.
С другой стороны, в части 12D для выработки энергии, соответствующей четвертому примеру конструкции, как показано на фиг. 23В, двигателю Стирлинга вытеснительного типа придана такая конфигурация, при которой он в основном включает: цилиндр 241с, имеющий высокотемпературное пространство и низкотемпературное пространство, которые разделены вытеснительным поршнем 241d, который предусмотрен в цилиндре 241с и которому придана конфигурация, обеспечивающая возможность возвратно-поступательного перемещения; силовой поршень 242d, который совершает возвратно-поступательное перемещение в соответствии с изменением давления в цилиндре 241с; коленчатый вал 243, с которым вытеснительный поршень 241d и силовой поршень 242d соединены с обеспечением разности фаз 90° ; нагреватель 244 для нагревания одной торцевой стороны (стороны высокотемпературного пространства) цилиндра 241с; блок 245 охлаждения, предназначенный для охлаждения другой торцевой стороны (стороны низкотемпературного пространства) цилиндра 241с; известный двигатель Стирлинга, снабженный маховиком 246, соединенным с осевым центром коленчатого вала 243; и электрогенератор (не показан), непосредственно соединенный с коленчатым валом 243.
В части 12D для выработки энергии, имеющей такую конструкцию, высокотемпературная сторона цилиндра 241с поддерживается постоянно нагретой с помощью тепловой энергии, обусловленной сгоранием топливного газа, тогда как низкотемпературная сторона того же цилиндра поддерживается постоянно охлажденной. Кроме того, путем повторения каждого из тактов изохорического нагревания, изотермического расширения, изохорического охлаждения и изотермического сжатия, кинетическая энергия осуществляемого с разностью фаз 90° возвратно-поступательного перемещения вытеснительного поршня 241d и силового поршня 242d преобразуется в энергию вращения коленчатого вала 243 и передается в электрогенератор.
То есть, в такте изохорического нагревания, когда под влиянием нагревателя 244 происходит тепловое расширение рабочего газа, а вытеснительный поршень 241d начинает перемещаться вверх, рабочий газ, находящийся на стороне низкотемпературного пространства, проходит на сторону высокотемпературного пространства и нагревается. После этого, в такте изотермического расширения, нагнетаемый рабочий газ, находящийся на стороне высокотемпературного пространства, претерпевает термическое расширение, и давление увеличивается. В результате, силовой поршень 242d перемещается вверх. Затем, в такте изохорического охлаждения, когда вытеснительный поршень 241d перемещается вниз за счет притока рабочего газа, изотермически расширенного с помощью нагревателя 244, на сторону низкотемпературного пространства, рабочий газ, находящийся на стороне высокотемпературного пространства, проходит на сторону низкотемпературного пространства и охлаждается. После этого, в такте изотермического сжатия, рабочий газ, охлажденный в цилиндре 241с на стороне низкотемпературного пространства, сжимается, и давление на стороне низкотемпературного пространства уменьшается, что приводит к резкому опусканию силового поршня 242d. В этой серии тактов приведения в действие, вращение коленчатого вала 243 в предварительно определенном направлении (стрелки С7) поддерживается за счет нагревания и охлаждения рабочего газа и соответствующего возвратно-поступательного перемещения поршней. В результате, энергия давления рабочего газа преобразуется в энергию вращения коленчатого вала 243, а потом преобразуется в электроэнергию с помощью электрогенератора (не показан), соединенного с коленчатым валом 243.
В данном случае, применительно к конструкции электрогенератора, как и в описании второго и третьего примеров конструкции, следует отметить, что можно применять известный электрогенератор, в котором используется электромагнитная индукция или пьезоэлектрическое преобразование. Далее, по поводу конструкции части 12D, оснащенной двигателем Стирлинга, показанным на фиг. 23А и 23В, следует отметить, что эта часть для выработки энергии также может быть встроена и выполнена в небольшом пространстве, аналогично каждому примеру конструкции. Кроме того, в этом примере конструкции, поскольку используется конструкция для выработки энергии на основе тепловой энергии, обусловленной сгоранием топливного газа, топливо для выработки энергии (топливный газ) должно обладать, по меньшей мере, воспламеняемостью или горючестью.
Применяя двигатель Стирлинга, имеющий такую конструкцию, для части для выработки энергии, аналогичной третьему примеру конструкции, можно вырабатывать произвольную электроэнергию с помощью простого способа управления, предназначенного для регулирования количества подаваемого топлива ТПЛ для выработки энергии, и поэтому можно обеспечить работу в подходящем режиме выработки энергии для создания состояния возбуждения устройства У (нагрузки Н). Кроме того, применяя такую конструкцию в качестве минимизированного двигателя Стирлинга, можно минимизировать модуль 10А для выработки энергии, включая часть 12 для выработки энергии, при одновременной выработке электроэнергии с помощью относительно простой конструкции, которая работает, создавая меньшие колебания.
Между прочим, хотя устройство для выработки энергии, оснащенное турбиной внутреннего сгорания, роторно-поршневым двигателем и двигателем Стирлинга, описано в примерах конструкции со второго по четвертый в качестве устройства для выработки энергии, осуществляющего преобразование изменения давления газа, основанного на реакции сгорания топлива ТПЛ для выработки энергии, в электроэнергию с промежуточной стадией получения энергии вращения, настоящее изобретение не сводится только к этой реализации. Возможно осуществление комбинированного использования различных типов двигателя внутреннего сгорания или двигателя внешнего сгорания, такого, как двигатель импульсного сгорания, и электрогенератора с использованием известного принципа электромагнитной индукции или пьезоэлектрического преобразования.
(Пятый пример конструкции части для выработки энергии)
На фиг. 24А и 24В представлены условные изображения конструкции, показывающие пятый пример конструкции части для выработки энергии, применимой к модулю для выработки энергии в соответствии с этим вариантом осуществления.
В пятом примере конструкции, часть для выработки энергии имеет конструкцию устройства для выработки энергии, которое использует топливо ТПЛ для выработки энергии, подаваемое из топливного блока 20А с помощью части 14, управляющей выдачей, и вырабатывает электроэнергию путем выработки энергии за счет термоэлектрического преобразования с использованием разности температур, создаваемой путем выработки тепловой энергии на основе реакции сгорания (реакции окисления).
Как показано на фиг. 24А, часть 12Е для выработки энергии, соответствующая пятому примеру конструкции, имеет конструкцию электрогенератора, работа которого основана на разности температур, которая в основном включает: нагреватель 251, использующий тепло выпускаемого газа, для выработки тепловой энергии за счет реакции горения (реакции окисления) топлива ТПЛ для выработки энергии; часть 252, поддерживающую фиксированную температуру, для поддержания, по существу, фиксированной температуры; и элемент 253 для термоэлектрического преобразования, подсоединенный между концевыми блоками, обеспечивающими первую и вторую температуры, при этом нагреватель 151, использующий тепло выпускаемого газа, определяется как концевой блок, обеспечивающий первую температуру, а часть 252, поддерживающая фиксированную температуру, определяется как концевой блок, обеспечивающий вторую температуру. В данном случае, элемент 253 для термоэлектрического преобразования имеет конструкцию, эквивалентную той, которая показана на фиг. 8В. Нагреватель 251, использующий тепло выпускаемого газа, непрерывно поддерживает реакцию горения для поддержания высокой температуры посредством приема топлива ТПЛ для выработки энергии, при этом части 252, поддерживающей фиксированную температуру, придана конфигурация, обеспечивающая поддержание, по существу, фиксированной температуры (например, обычной температуры или низкой температуры) за счет введения в контакт с другими зонами внутри и снаружи системы 301 электропитания, или за счет воздействия со стороны этих зон. Относительно конструкции части 12Е для выработки энергии, представляющей собой изображенный на чертежах электрогенератор, работа которого основана на разности температур, следует отметить, что, аналогично каждому примеру конструкции, часть 12Е для выработки энергии может быть встроена и выполнена, например, в небольшом пространстве.
В части 12Е для выработки энергии, имеющей такую конструкцию, которая показана на фиг. 24В, когда топливо ТПЛ для выработки энергии, заправленное в топливный блок 20А с помощью части 14, управляющей выдачей, реакция горения (окисления) протекает в соответствии с количеством подаваемого топлива для выработки энергии, и вырабатывается тепло, вследствие чего повышается температура нагревателя 251, использующего тепло выпускаемого газа. С другой стороны, поскольку температура части 252, поддерживающей фиксированную температуру, определена как задаваемая, по существу, постоянной, создается разность температур между нагревателем 251, использующим тепло выпускаемого газа, и частью 252, поддерживающей фиксированную температуру. Тогда за счет эффекта Зеебека, основанного на этой разности температур, создается предварительно определенная электродвижущая сила и в элементе 253 для термоэлектрического преобразования вырабатывается электроэнергия.
Аналогично каждому примеру конструкции, применяя электрогенератор, работа которого основана на разности температур, имеющий такую конструкцию, можно вырабатывать произвольную электроэнергию с помощью простого способа управления, предназначенного для регулирования количества подаваемого топлива ТПЛ для выработки энергии, и поэтому можно обеспечить работу в подходящем режиме выработки энергии для создания состояния возбуждения устройства У (нагрузки Н). Кроме того, применяя такую конструкцию в качестве электрогенератора, работа которого основана на разности температур и который изготовлен способом микрообработки, можно минимизировать модуль 10А для выработки энергии, включая часть 12 для выработки энергии, при одновременной выработке электроэнергии с помощью относительно простой конструкции, которая работает, создавая меньшие колебания.
Хотя описание приведено применительно к электрогенератору, работа которого основана на разности температур и который вырабатывает электроэнергию посредством эффекта Зеебека, основанного на разности температур между нагревателем 251, использующим тепло выпускаемого газа, и частью 122, поддерживающей фиксированную температуру, настоящее изобретение не сводится к этой реализации, и можно использовать конструкцию, при наличии которой электроэнергия вырабатывается на основе явления термоэлектронной эмиссии.
(Шестой пример конструкции части для выработки энергии)
На фиг. 25А и 25В представлены условные изображения конструкции, показывающие шестой пример конструкции части для выработки энергии, применимой к модулю для выработки энергии в соответствии с этим конкретным вариантом осуществления.
В шестом примере конструкции, часть для выработки электроэнергии имеет конструкцию устройства для выработки энергии, которое использует топливо ТПЛ, подаваемое из топливного блока 20А с помощью части 14, управляющей выдачей, и вырабатывает электроэнергию (электродвижущую силу) на основе принципа магнитогидродинамики.
Как показано на фиг. 25А, часть 12F для выработки энергии, соответствующая шестому примеру конструкции, имеет конструкцию, которая в основном включает: магнитогидродинамический (МГД) электрогенератор, в основном имеющий пару электродов ЭЛa и ЭЛb, которые образуют проточный канал, по которому топливо ТПЛ для выработки энергии, представляющее собой электропроводную текучую среду, проходит в форме предварительно определенного потока, и расположены друг против друга; средства ГМП, генерирующие магнитное поле, имеющие неодимный постоянный магнит на основе Nd-Fe-B, который создает магнитное поле, имеющее предварительно определенную напряженность в направлении, перпендикулярном как противоположному направлению электродов ЭЛa и ЭЛb, так и направлению проточного канала топлива ТПЛ для выработки энергии; и выходные выводы ВЫВс и ВЫВd, по отдельности соединенные с соответствующими электродами ЭЛa и ЭЛb. В данном случае, топливо ТПЛ для выработки энергии представляет собой электропроводную текучую среду (рабочую текучую среду), такую, как плазма, жидкий металл, жидкость, содержащую электропроводные вещества, или газ, а проточный канал топлива сформирован таким образом, что топливо ТПЛ для выработки энергии может проходить в направлении (стрелка С8), параллельном электродам ЭЛa и ЭЛb. Следует отметить, что часть 12F для выработки энергии, соответствующая этому примеру конструкции, также может быть встроена и выполнена в небольшом пространстве посредством технологии производства микромашин, аналогично каждому примеру конструкции.
В части 12F для выработки энергии, имеющей такую конструкцию, как показанная на фиг. 25В, за счет создания магнитного поля В, вертикального к направлению проточного канала топлива для выработки энергии, с помощью средств ГМП, генерирующих магнитное поле, и за счет движения топлива (электропроводной текучей среды) ТПЛ для выработки энергии с потоком u в направлении проточного канала, индуцируется электродвижущая сила u· B, основанная на законе Фарадея (законе электромагнитной индукции), когда топливо ТПЛ для выработки энергии проходит поперек магнитного поля, и при этом энтальпия, которую имеет топливо ТПЛ для выработки энергии, преобразуется в электроэнергию, и обеспечивается прохождение электрического тока к нагрузке (не показана), подсоединенной между выходными выводами ВЫВс и ВЫВd. В результате, тепловая энергия, которой обладает топливо ТПЛ для выработки энергии, преобразуется непосредственно в электроэнергию.
В случае применения конструкции, предназначенной для прямого испускания топлива (электропроводной текучей среды) FL для выработки энергии, которое проходит по проточному каналу из МГД электрогенератора наружу из системы 301 электропитания, необходимо отметить, что обработку, придающую стойкость к воспламенению, или обработку, обеспечивающую детоксикацию, следует проводить до испускания топлива ТПЛ для выработки энергии наружу, или нужно предусматривать средство для сбора топлива ТПЛ для выработки энергии, если это топливо ТПЛ для выработки энергии содержит горючий или токсичный компонент.
Применяя МГД электрогенератор, имеющий такую конструкцию, к части для выработки энергии, и учитывая, что возможна выработка произвольной электроэнергии простым способом управления, предназначенным для регулирования количества топлива ТПЛ для выработки энергии, подаваемого по каналу прохождения, можно обеспечить подходящую операцию выработки энергии в соответствии с состоянием возбуждения устройства У. Кроме того, применяя такую конструкцию, как МГД электрогенератор, изготовленный методами микрообработки, можно минимизировать модуль 10А для выработки энергии, получая при этом очень простую конструкцию, не требующую приведения деталей в действие.
Каждый пример конструкции является просто примером части 12 для выработки энергии, применимой к модулю 10А для выработки энергии, и его не следует считать ограничивающим конструкцию системы электропитания в соответствии с настоящим изобретением. Иначе говоря, часть 12 для выработки энергии, применимая к настоящему изобретению, может иметь любую другую конструкцию, обеспечивающую возможность выработки электроэнергии на основе электрохимической реакции или выработки тепла, разности температур, обуславливаемой эндоэргической реакцией, реакцией преобразования энергии давления или тепловой энергии, электромагнитной индукцией и т.п. в части 12 для выработки энергии, когда в эту часть осуществляется прямая или косвенная подача жидкого топлива или сжиженного топлива или газообразного топлива, заправленного в топливный блок 20А. Например, возможно успешное применение комбинации средств для выработки внешнего усилия, в которых используется термоакустический эффект, и электрогенератора, в котором используется электромагнитная индукция или пьезоэлектрическое преобразование.
Среди соответствующих примеров конструкции, описанных выше, конфигурация части 12 для выработки энергии, к которой применимы примеры конструкции с первого по пятый, предназначена для использования электроэнергии (второй электроэнергии), подаваемой из части 11 субблока питания в качестве электроэнергии запуска для работы в режиме зажигания с потреблением тепловой энергии за счет проведения реакции сгорания и т.п. топлива ТПЛ для выработки энергии, подаваемого в часть 12 для выработки энергии, как показано на фиг. 3.
<Часть 13, управляющая работой>
Как показано на фиг 3, часть 13, управляющая работой, применимая к модулю для выработки энергии в соответствии с этим вариантом осуществления, работает за счет использования рабочей электроэнергии (второй электроэнергии), подаваемой из вышеописанной части 11 субблока питания, вырабатывает и выдает сигнал управления работой на основе различных видов информации, полученной внутри и снаружи системы 301 электропитания, а именно, информации (в частности, обнаруженного напряжения из части 16, контролирующей напряжение), касающейся изменения составляющей напряжения (выходного напряжения) питающей электроэнергии, которая изменяется в соответствии с состоянием возбуждения устройства У (нагрузки Н), подсоединенного к системе 301 электропитания, и управляет рабочим состоянием нижеописанной части 12 для выработки энергии.
Таким образом, часть 13, управляющая работой, приводится в действие электроэнергией, вырабатываемой частью 11 субблока питания, когда часть 12 для выработки энергии не работает. Когда в результате изменения напряжения управляемой электроэнергии, подаваемой в устройство У, обнаруживается информация команды запуска для нагрузки Н, часть 13, управляющая работой, выдает в нижеописанную часть 15, управляющую запуском, сигнал управления работой для запуска части 14, управляющей выдачей (т.е. для управления запуском). Кроме того, если часть 12 для выработки энергии находится в режиме работы, то, когда в результате изменения напряжения управляемой электроэнергии, подаваемой в устройство У (контроллер К), обнаруживается информация, свидетельствующая о наличии разности между электроэнергией, необходимой для возбуждения нагрузки Н, и электроэнергией, выдаваемой на нагрузку Н из части 12 для выработки энергии, часть 13, управляющая работой, выдает в часть 14, управляющую выдачей, сигнал управления работой для регулирования количества вырабатываемой электроэнергии (объема выработки энергии) в части 12 для выработки энергии. Таким образом, электроэнергия возбуждения нагрузки, подаваемая в устройство У (на нагрузку Н) может иметь необходимое значение, соответствующее состоянию возбуждения нагрузки Н (управление с обратной связью).
С другой стороны, если часть 12 для выработки энергии находится в рабочем режиме, то, когда, безотносительно осуществления управления с обратной связью, в течение предварительно определенного времени непрерывно обнаруживается состояние, в котором изменение напряжения электроэнергии возбуждения, подаваемой в устройство У (на нагрузку Н), отклоняется от предварительно определенного диапазона напряжения, связанного с управлением с обратной связью, и становится избыточным, часть 13, управляющая работой, выдает в часть 15, управляющую запуском, сигнал управления работой для остановки работы части 14, управляющей выдачей (управление аварийной остановкой).
Кроме того, если часть 12 для выработки энергии находится в режиме работы, то, когда в результате изменения напряжения управляемой электроэнергии, подаваемой в устройство У, обнаруживается информация команды остановки возбуждения, часть 13, управляющая работой, выдает в часть 15, управляющую запуском, сигнал управления работой для остановки возбуждения части 14, управляющей выдачей (управление обычной остановкой).
Как будет описано ниже, в случае применения конструкций, устанавливающих электрическое соединение с устройством У (нагрузкой Н) путем использования лишь положительного и отрицательного электродов выводов в качестве внешних элементов системы 301 электропитания аналогично химическому источнику тока общего назначения, состояние возбуждения нагрузки Н можно обнаруживать посредством подачи питающей электроэнергии, состоящей из электроэнергии контроллера или электроэнергии возбуждения, в устройство У через положительный и отрицательный электроды и непрерывного оперативного контроля флуктуации составляющей напряжения питающей электроэнергии с использованием части 16, контролирующей напряжение. Кроме того, если устройство У имеет конструкцию, выполненную с возможностью выдачи информации о возбуждении нагрузки, касающуюся состояния возбуждения устройства У (нагрузки Н) и получаемую из контроллера К, то, помимо положительного и отрицательного электродов выводов, систему 301 электропитания можно снабдить выводом, предназначенным для ввода информации о возбуждении нагрузки.
<Часть 14, управляющая выдачей>
Как показано на фиг. 3, часть 14, управляющая выдачей, применимая к модулю для выработки энергии в соответствии с этим вариантом осуществления, работает за счет использования электроэнергии (электроэнергии запуска), подаваемой из части 11 субблока питания непосредственно или через часть 15, управляющую запуском, на основе сигнала управления работой, выдаваемого из части 13, управляющей работой, управляет рабочим состоянием (работой в состоянии запуска, работой в установившемся режиме, работой в режиме остановки, количеством вырабатываемой электроэнергии (объемом выработки энергии)) в части 12 для выработки энергии.
Конкретно, часть 14, управляющая выдачей, включает, например, средство регулирования расхода (часть 14а, управляющую топливом) для регулирования величины расхода или объема выпуска топлива для выработки энергии, средство регулирования расхода (часть 14b, управляющую воздухом) для регулирования расхода или объема выпуска кислорода для выработки энергии, средство регулирования температуры нагревателя (часть 14е, управляющую нагревателем) для регулирования температуры нагревателя, предусмотренного для части 12 для выработки энергии, и т.п. В части 12 для выработки энергии, показанной в каждом примере конструкции, часть 14, управляющая выдачей, управляет средствами регулирования расхода и средством регулирования температуры нагревателя на основе сигнала управления работой, предназначенного для подачи топлива для выработки энергии (жидкого топлива, сжиженного топлива, газообразного топлива) в том количестве, которое необходимо для выработки и выдачи электроэнергии возбуждения нагрузки и представляющей собой предварительно определенную электроэнергию, и для оптимизации температуры нагревателя для проведения реакций различных типов в части 12 для выработки энергии, и т.п.
На фиг. 26 представлена блок-схема, показывающая основную конструкцию одного примера модуля для выработки энергии, применимого к системе электропитания в соответствии с этим вариантом осуществления.
В этом варианте осуществления, когда в качестве части 12 для выработки энергии применяется конструкция топливного элемента типа блока топливного риформинга (см. фиг. 19), можно предусмотреть в качестве части 14, управляющей выдачей, как показано на фиг. 26, часть 14а, управляющую топливом, для управления количеством топлива для выработки энергии (газообразного водорода, подаваемого в часть 210b топливного элемента), подаваемого в часть 12А для выработки энергии на основе сигнала управления работой, поступающего из части 13, управляющей работой, и часть 14b, управляющую воздухом, для управления количеством воздуха (газообразного кислорода, подаваемого в часть 210b топливного элемента), подаваемого в часть 12А для выработки энергии.
В этом случае, часть 14а, управляющая топливом, осуществляет управление подводом из топливного блока 20А топлива для выработки энергии, воды и т.п. для выработки газообразного водорода (Н2) в количестве, необходимом для выработки предварительно определенной электроэнергии (первой электроэнергии), преобразования этого топлива и воды в газообразный водород (Н2) с помощью части 210а для топливного риформинга, и подачи полученного газа на топливный электрод 211 части 210b топливного элемента. Кроме того, часть 14b, управляющая воздухом, осуществляет управление подводом из атмосферы необходимого количества газообразного кислорода (О2) в соответствии с электрохимической реакцией (см. химические уравнения (6) и (7)), при которой потребляется газообразный водород, и последующей подачи полученного кислорода на воздушный электрод 212 части 210b топливного элемента. Путем регулирования количеств газообразного водорода (Н2) и газообразного кислорода (О2), подаваемых в часть 12 для выработки энергии с помощью такой части 14а, управляющей топливом, и части 14b, управляющей воздухом, можно управлять стадиями проведения электрохимической реакции, происходящей в части 12 для выработки энергии (в части 210b топливного элемента), и можно управлять количеством электроэнергии, вырабатываемой в качестве электроэнергии возбуждения нагрузки, или выходным напряжением.
В данном случае, часть 14b, управляющую воздухом, можно настроить на постоянную подачу воздуха, когда часть 12 для выработки энергии находится в режиме работы, не предусматривающем управление количеством газообразного кислорода, подаваемым на воздушный электрод 212 части 12 для выработки энергии, поскольку часть 14b, управляющая воздухом, может подавать воздух в соответствии с максимальным потреблением кислорода в единицу времени в части 12 для выработки энергии. То есть, в конструкции модуля 10А для выработки энергии, показанной на фиг. 26, части 14, управляющей выдачей, можно придать конфигурацию, обеспечивающую управление стадиями проведения электрохимической реакции посредством только части 14а, управляющей топливом. Кроме того, вместо части 14b, управляющей воздухом, можно предусмотреть отверстие (щель) для воздуха, в результате чего воздух (кислород) в количестве, превышающем минимальное используемое для электрохимической реакции в части 12 для выработки энергии, можно постоянно подавать через это отверстие для воздуха.
<Часть 15, управляющая запуском>
Как показано на фиг. 3, часть 15, управляющая запуском, применимая к модулю для выработки энергии в соответствии с этим вариантом осуществления, работает за счет использования электроэнергии, подаваемой из части 11 субблока питания, и осуществляет управление запуском, переводя часть 12 для выработки энергии из режима ожидания в режим работы, обеспечивающий выработку энергии посредством подачи электроэнергии (электроэнергии запуска), по меньшей мере, в часть 14, управляющую выдачей (в зависимости от конструкций, сказанное можно отнести и к части 12 для выработки энергии), на основе сигнала управления работой, выдаваемого из части 13, управляющей работой.
Конкретно, в конструкции, показанной на фиг. 26, если часть 12А для выработки энергии (часть 210b топливного элемента) не активирована, то, когда часть 15, управляющая запуском, принимает сигнал управления работой, предназначенный для запуска части 12А для выработки энергии, из части 13, управляющей работой, электроэнергия запуска, выдаваемая из части 11 субблока питания, подается в часть 14а, управляющую топливом, части 14, управляющей выдачей, и электроэнергия запуска, выдаваемая из части 11 субблока питания, подается в часть 14е, управляющую нагревателем, части 14, управляющей выдачей. В результате, часть 14а, управляющая топливом, управляет количеством топлива и т.п., подаваемого в часть 210а для топливного риформинга (или как в часть 210а для топливного риформинга, так и в часть 210b топливного элемента), а часть 14е, управляющая нагревателем, регулирует количество электроэнергии, подаваемой в нагреватель части 210а для топливного риформинга (или как в нагреватель части 210а для топливного риформинга, так и в нагреватель части 210b топливного элемента), тем самым управляя температурой нагревателя. Часть 210а для топливного риформинга подает газообразный водород (Н2), преобразованный из находящегося в ней топлива и т.п., на топливный электрод части 210b топливного элемента, а часть 14b, управляющая воздухом, подает газообразный кислород (О2) на воздушный электрод. После этого часть 210b топливного элемента автоматически запускается и переводится в режим работы (установившийся режим) для выработки предварительно определенной электроэнергии (первой электроэнергии).
При возбуждении части 12А для выработки энергии, если часть 15, управляющая запуском, принимает сигнал управления работой, предназначенный для остановки части 12 для выработки энергии (части 210b топливного элемента), из части 13, управляющей работой, то это останавливает подачу газообразного водорода (Н2) и газообразного кислорода (О2) в часть 210b топливного элемента посредством управления, по меньшей мере, частью 14а, управляющей топливом, частью 14b, управляющей воздухом, и частью 14е, управляющей нагревателем. Таким образом, выработка электроэнергии (выработка энергии) для части 210b топливного элемента останавливается, вследствие чего часть 210b топливного элемента переводится в режим ожидания, в котором работают только часть 11 субблока питания и часть 13, управляющая работой, нижеописанная часть 16, контролирующая напряжение, и контроллер К устройства У, которые получают электроэнергию (рабочую электроэнергию, электроэнергию контроллера) от части 11 субблока питания.
Необходимо отметить, что, хотя описание приведено для случая, в котором топливный элемент типа блока топливного риформинга применяется в качестве части 12 для выработки энергии, а управление рабочим состоянием (работой в режиме запуска, работой в режиме остановки) части 12А для выработки энергии осуществляется путем управления подачей электроэнергии запуска в часть 14, управляющую выдачей (часть 14а, управляющую топливом, и часть 14b, управляющую воздухом), и в часть 12А для выработки энергии посредством части 15, управляющей запуском, для управления подачей или отключением подачи топлива для выработки энергии и воздуха в часть 12А для выработки энергии, рабочим состоянием части 12А для выработки энергии можно управлять, по существу тем же образом даже в случае, если для части 12 для выработки энергии применяются другие примеры конструкции (например, устройство для выработки энергии, снабженное двигателем внутреннего сгорания, двигателем внешнего сгорания, и т.п.). Кроме того, когда в качестве части 12 для выработки энергии применяют топливный элемент с прямой подачей топлива, выполненный с возможностью выработки энергии при комнатной температуре, нагреватель в части 12 для выработки энергии, часть 210а для топливного риформинга или часть 14е, управляющая нагревателем, больше не нужны, и количеством электроэнергии, вырабатываемой частью 12 для выработки энергии, можно управлять, управляя лишь подачей и отключением подачи топлива для выработки энергии. Следовательно, часть 15, управляющая запуском, может управлять подачей электроэнергии запуска только в часть 14а, управляющую топливом, части 14, управляющей выдачей.
Кроме того, хотя электроэнергия из части 11 субблока питания подается в часть 15, управляющую запуском, и часть 14, управляющую выдачей (часть 14а, управляющую топливом, в конструкции, показанной на фиг. 26), в качестве рабочей электроэнергии или электроэнергии запуска в конструкции, показанной на фиг. 3, если электроэнергия, подаваемая из части 11 субблока питания, может не возместить электроэнергию, потребляемую частью 14, осуществляющей управление на выходе, и т.п., во время работы в установившемся режиме части 12 для выработки энергии, электроэнергию можно восполнить путем выдачи некоторой доли электроэнергии, вырабатываемой в части 12 для выработки электроэнергии, в часть 14, управляющую выдачей, и т.п., в дополнение к электроэнергии из части 11 субблока питания (см. пунктирные стрелки на фиг. 3 и 26).
В этот момент, в системе электропитания, часть 14, управляющая выдачей, управляет подаваемым в часть 12 для выработки энергии общим количеством топлива для выработки энергии, соответствующего увеличенной доле электроэнергии, расходуемой самой частью 14, управляющей выдачей, и топлива для выработки энергии, соответствующего электроэнергии, подаваемой в устройство У, чтобы исключить дефицит электроэнергии, подаваемой в устройство У (на нагрузку Н) в качестве электроэнергии возбуждения нагрузки. Таким образом, в конструкции, показанной на фиг. 26, часть 14а, управляющая топливом, управляет подачей общего количества электроэнергии, полученной при выработке энергии, на топливный электрод 211 части 210b топливного элемента через часть 210а для топливного риформинга, а часть 14b, управляющая воздухом, осуществляет управление подачей воздуха, удовлетворяющее потребность в количестве воздуха, необходимом для выработки достаточной электроэнергии (выработки энергии) в части 210b топливного элемента, на воздушный электрод 212 части 210b топливного элемента.
<Часть 16, контролирующая напряжение>
Как показано на фиг. 3 и 4, часть 16, контролирующая напряжение, применимая к модулю для выработки энергии в соответствии с данным вариантом осуществления, обнаруживает составляющую напряжения, смещенную в соответствии с состоянием возбуждения (увеличением или уменьшением емкости) устройства У, приводимого в действие выходной электроэнергией, которая вырабатывается в части 12 для выработки энергии и выдается посредством вывода ЭЛ электрода (в частности, вывода положительного электрода и вывода отрицательного электрода, или любого другого вывода), предусмотренного в системе электропитания, а именно, питающей электроэнергией, подаваемой в устройство У, соединенное с выводом ЭЛ электрода, и выдает составляющую в часть 13, управляющую работой.
В частности, когда возбуждение нагрузки Н в устройстве У не осуществляется, часть 16, контролирующая напряжение, обнаруживает изменение составляющей напряжения электроэнергии контроллера, которая вырабатывается частью 11 субблока питания и подается в устройство У (контроллер К) через вывод ЭЛ электрода. С другой стороны, когда возбуждение нагрузки Н в устройстве У осуществляется, часть 16, контролирующая напряжение, обнаруживает изменение составляющей напряжения электроэнергии возбуждения нагрузки, которая вырабатывается частью 12 для выработки энергии и подается в устройство У (на нагрузку Н) через вывод ЭЛ электрода. В результате, часть 13, управляющая работой, осуществляет управление запуском, которое будет описано ниже, для системы электропитания, и поэтому целью обнаружения напряжения (оперативного контроля напряжения), осуществляемого частью 16, контролирующей напряжение, является каждая из электроэнергии контроллера и электроэнергии возбуждения нагрузки, которые вырабатываются частью 11 субблока питания или частью 12 для выработки энергии и подаются в устройство У.
(В) Топливный блок 20А
Топливный блок 20А, применяемый для системы электропитания в соответствии с настоящим изобретением, представляет собой, например, высокогерметичный контейнер для хранения топлива, в который залито и заправлено топливо ТПЛ для выработки энергии, представляющее собой жидкое топливо, сжиженное топливо или газообразное топливо, содержащее водород в составных компонентах топлива. Как показано на фиг. 3, топливный блок 20А имеет конструкцию, соединенную с модулем 10А для выработки энергии посредством СОПР-части 30А с возможностью соединения и разъединения, или конструкцию, выполненную как единое целое с модулем. Топливо ТПЛ для выработки энергии, заправленное в топливный блок 20А, подается в модуль 10А для выработки энергии по каналу подачи топлива, предусмотренному для нижеописанной СОПР-части 30А, причем в количестве, необходимом для выработки электроэнергии (первой электроэнергии) в соответствии состоянием возбуждения устройства У, топливо ТПЛ для выработки энергии подается в часть 12 для выработки энергии с помощью части 14, управляющей выдачей, в любой заданный момент времени.
В случае применения, например, в части 11 субблока питания конструкции для выработки электроэнергии (второй электроэнергии) путем использования некоторой доли топлива ТПЛ для выработки энергии, заправленного в топливный блок 20А, как описано выше, и использования электрохимической реакции, реакции каталитического горения или динамического воздействия преобразования энергии и т.п., в часть 11 субблока питания через СОПР-часть 30А постоянно подается, по меньшей мере, минимальное количество топлива для выработки энергии, необходимое для выработки электроэнергии, которая может быть электроэнергией контроллера устройства У и рабочей энергией части 13, управляющей работой.
В частности, в случае применения, например, в системе 301 электропитания конструкции в которой модуль 10А для выработки энергии и топливный блок 20А можно беспрепятственно соединять и разъединять, топливо ТПЛ для выработки энергии подается в модуль 10А для выработки энергии только тогда, когда топливный блок 20А соединен с модулем 10А для выработки энергии. В этом случае, когда топливный блок 20А не соединен с модулем 10А для выработки энергии, топливный блок 20А снабжен, например, средством предотвращения утечки топлива, имеющим управляющий клапан и т.п., который закрывается давлением заправки топлива, поддерживаемым внутри топливного блока 20А, или физическим давлением пружины и т.п. с целью предотвращения утечки топлива ТПЛ для выработки энергии, заправленного внутрь блока, наружу из топливного блока 20А. Когда топливный блок 20А соединен с модулем 10А выработки энергии через СОПР-часть 30А, средство (средство отключения предотвращения утечки), которое предусмотрено для СОПР-части 30А и отключает функцию предотвращения утечки топлива, вследствие такого соединения вступает в контакт с топливным блоком 20А или нагнетает давление в нем, вследствие чего закрытое состояние управляющего клапана отключается, и топливо ТПЛ для выработки энергии, заправленное в топливный блок 20А, подается в модуль 10А для выработки энергии, например, через СОПР-часть 30А.
В топливном блоке 20А, имеющем такую конструкцию, когда этот топливный блок 20А отделяют от модуля 10А для выработки энергии до полного расходования топлива ТПЛ для выработки энергии, заправленного в топливный блок 20А, можно предотвратить утечку топлива ТПЛ для выработки энергии, повторно активируя функцию предотвращения утечки средства предотвращения утечки топлива (например, за счет перевода этого средства предотвращения утечки топлива в состояние, в котором контакт отсутствует, чтобы заставить управляющий клапан снова закрыться), так что возможна независимая установка топливного блока 20А.
В предпочтительном варианте, топливный блок 20А должен выполнять функцию контейнера для хранения топлива и должен быть выполнен из материала, который существует в природе главным образом в конкретных условиях окружающей среды и может быть преобразован в вещества, существующие в природе, или вещества, не вызывающие загрязнение окружающей среды.
Таким образом, топливный блок 20А может быть изготовлен из полимерного материала (пластика) и т.п., имеющего характеристики, допускающие реакции разложения разных типов, посредством которых этот материал может быть преобразован в вещества, не вредные для окружающей среды (в вещества, которые существуют главным образом в природе и составляют его основу, например, в воду и диоксид углерода и т.п.), под воздействием микробов или фермента в грунте, солнечного излучения, дождевой воды, атмосферного воздуха и т.п. даже в случае, если весь топливный блок 20А или его часть выбрасывают на открытую свалку или подвергают захоронению в грунте; в число характеристик разложения могут входить, например, способность к биологическому разложению, фотолитическая способность, способность к разложению посредством окисления, и т.п.
Топливный блок 20А может состоять из материала, посредством которого не образуются вредные вещества, такие, как хлорированное органическое соединение (диоксиновой группы, например, полихлорированный дибензо-n-диоксин, полихлорированный дибензофуран), газообразный хлористый водород или тяжелый металл, или загрязнители окружающей среды, или подавляется образование вредных веществ даже в случае, если проводится обработка, предусматривающая искусственное нагревание или сжигание, или обработка каким-либо веществом или химическая обработка. Необходимо отметить, что материал (например, полимерный материал), из которого состоит топливный блок 20А, по меньшей мере, в течение короткого времени не может разлагаться из-за контакта с заправленным топливом ТПЛ для выработки энергии и, по меньшей мере, в течение короткого времени не ухудшает качество топлива ТПЛ для выработки энергии до такой степени, что его нельзя использовать в качестве топлива. Кроме того, топливный блок 20А, состоящий из полимерного материала, имеет достаточный предел прочности, чтобы выдержать воздействие внешнего физического напряжения.
Как описано выше, учитывая, что норма сбора химических источников тока для рециркуляции составляет лишь приблизительно 20%, а остальные 80% выбрасываются на открытые свалки или подвергаются захоронению в грунте, желательно применять материал, обладающий способностью к разложению, а в частности, биологически разлагаемый пластик, в качестве материала топливного блока 20А. В частности, можно с успехом применять полимерный материал, содержащий органическое соединение, являющееся продуктом химического синтеза и синтезированное из нефти или растительного сырья (полимера молочной кислоты, сложного алифатического полиэфира, сложного сополиэфира и т.п.), сложный микробный биополиэфир, естественный продукт, в котором используется полимерный материал, включая крахмал, целлюлозу, хитин, хитозан и т.п., экстрагированный из растительного сырья, такого, как кукуруза, сахарный тростник или сырье других растений.
По поводу топлива ТПЛ для выработки энергии, используемого в системе 301 электропитания в соответствии с этим вариантом осуществления, необходимо отметить предпочтения, заключающиеся в том, что: топливо не может быть веществом, загрязняющим окружающую среду, так как даже в случае, если топливный блок 20А, в который заправлено топливо ТПЛ для выработки энергии, выбрасывают на открытую свалку или подвергают захоронению в грунте, происходит утечка в воздух, грунт или воду; электроэнергию можно вырабатывать с высокой эффективностью преобразования энергии в части 12 для выработки энергии; и именно вещество топлива обеспечивает возможность поддержания стабильного состояния жидкости или состояния воздуха при предварительно определенных условиях заправки (температуре и т.п.), а также возможность подачи в модуль 10А для выработки энергии. В частности, возможно весьма успешное применение жидкого топлива на спиртовой основе, такого, как метиловый спирт, упомянутый выше, этиловый спирт или бутиловый спирт, сжиженного топлива, состоящего из углеводорода, такого, как простой диметиловый эфир, изобутан или природный газ, которые находятся в газообразном состоянии при обычной температуре и обычном давлении, или газообразного топлива, такого, как газообразный водород. Кроме того, как будет описано ниже, безопасность системы электропитания можно повысить, снабжая конструкцию, например, средством стабилизации топлива, предназначенным для стабилизации состояния заправки топлива для выработки энергии в топливном блоке.
В соответствии с топливным блоком 20А, имеющим такую конструкцию, и топливом ТПЛ для выработки энергии, имеющим такую структуру, даже если всю систему 301 электропитания или ее часть в соответствии с этим конкретным вариантом осуществления естественным образом выбрасывают на открытую свалку или подвергают искусственному захоронению в грунте, сжигают или подвергают химической обработке, то можно в значительной степени подавить загрязнение воздуха, снижение качества грунта или воды, влияющее на окружающую среду, или выработку гормона, вредного для окружающей среды, тем самым внося вклад в предотвращение нарушения природных условий, пресечение разрушения естественной окружающей среды и предотвращение негативного влияния на людей.
В случае выполнения топливного блока 20А с обеспечением возможности соединения с модулем 10А для выработки энергии и разъединения с этим модулем без каких-либо ограничений, следует отметить, что когда остающееся количество заправленного топлива ТПЛ для выработки энергии уменьшается или это топливо кончается, можно пополнить топливо ТПЛ для выработки энергии путем заливки или можно заменить топливный блок 20А или повторно использовать его (после регенерации). Следовательно, это может внести вклад в значительное уменьшение количества выбрасываемых топливных блоков 20А или модулей 10А для выработки электропитания. Кроме того, поскольку можно провести замену и подсоединить новый топливный блок 20А к одиночному модулю 10А для выработки энергии, а этот модуль можно подсоединить к устройству У и использовать, то возможно создание системы электропитания, которую легко использовать в качестве химического источника тока общего назначения.
В случае выработки электроэнергии в части 11 субблока питания и части 12 для выработки энергии модуля 10А для выработки энергии, даже если помимо выработки энергии образуется побочный продукт, который негативно влияет на окружающую среду, или если он, возможно, оказывает свое влияние на функции (системы), например, может вызывать неверное функционирование устройства У, то можно применить конструкцию, при наличии которой в топливном блоке 20А предусмотрено средство для удержания побочного продукта, собираемого средством сбора побочного продукта. В этом случае, когда топливный блок 20А отсоединен от модуля 10А для выработки энергии, можно применить конструкцию, имеющую, например, поглощающий полимер, способный поглощать, или как поглощать, так и удерживать, или связывать побочный продукт, чтобы предотвратить утечку побочного продукта, временно собранного и удерживаемого в топливном блоке 20А (в средстве сбора и/или удержания), наружу из топливного блока 20А, или управляющий клапан, который закрывается под воздействием физического давления, например, пружины. Конструкция средства сбора и/или удержания побочного продукта, будет описана вместе со средством сбора побочного продукта.
(С) СОПР-часть 30
СОПР-часть 30, применяемая к системе электропитания в соответствии с настоящим изобретением, расположена между модулем 10 для выработки энергии и топливным блоком 20. Как показано на фиг. 3, СОПР-часть 30А, применяемая в качестве примера, имеет функцию физического соединения модуля 10А для выработки энергии и топливного блока 20А друг с другом, а также подачи топлива ТПЛ для выработки энергии, заправленного в топливный блок 20А в предварительно определенном состоянии, в модуль 10А для выработки энергии по каналу подачи топлива. Как описано выше, нужно отметить, что в случае применения, например, в системе 301 электропитания конструкции, в которой обеспечивается возможность соединения и разъединения модуля 10А для выработки энергии и топливного блока 20А без каких-либо ограничений, СОПР-часть 30А включает средство для отключения предотвращения утечки (трубку 411 подачи топлива), предназначенное для отключения функции предотвращения утечки средства для предотвращения утечки (клапана 24А подачи топлива), предусмотренного в топливном блоке 20А в дополнение к каналу подачи топлива, как показано на фиг. 83. Клапан 24А подачи топлива настроен таким образом, что он открывается путем нажатия вниз к трубке 411 подачи топлива. Кроме того, в случае применения конструкции, в которой также предусмотрено средство сбора побочного продукта, предназначенное для сбора побочного продукта, образующегося в части 11 субблока питания и части 12 для выработки энергии модуля 10А для выработки энергии, СОПР-части 30А придают конфигурацию, предусматривающую наличие трубки 416 для подвода воды, т.е. для подачи побочного продукта в топливный блок 20А.
В частности, СОПР-часть 30А подает в модуль 10А для выработки энергии (часть 11 субблока питания и часть 12 для выработки энергии) топливо ТПЛ для выработки энергии, заправленное в топливный блок 20А в предварительно определенных условиях (температуры, давления и других) в виде жидкого топлива, сжиженного топлива или газообразного топлива (топливного газа), полученного путем испарения топлива, через канал подачи топлива. Следовательно, в системе электропитания, в которой модуль 10А для выработки энергии и топливный блок 20А объединены друг с другом посредством СОПР-части 30А, топливо ТПЛ для выработки энергии, заправленное в топливный блок 20А, можно по каналу подачи топлива постоянно подавать в модуль 10А для выработки энергии. С другой стороны, в системе электропитания, в которой можно соединять модуль 10А для выработки энергии и топливный блок 20А посредством СОПР-части 30А без каких-либо ограничений, функция предотвращения утечки средства для предотвращения утечки топлива, предназначенного для топливного блока 20А, отключается средством для отключения предотвращения утечки, когда топливный блок 20А соединен с модулем 10А для выработки энергии, и можно подавать топливо ТПЛ для выработки энергии в модуль 10А для выработки энергии по каналу подачи топлива.
Таким образом, в системе электропитания, в которой модуль 10А для выработки энергии и топливный блок 20А объединены друг с другом посредством СОПР-части 30А, топливо ТПЛ для выработки энергии постоянно подается в модуль 10А, независимо от подсоединения системы электропитания к устройству У или отсоединения ее от него. Следовательно, когда электроэнергия вырабатывается частью 11 субблока питания, топливо для выработки энергии может не расходоваться эффективно в некоторых случаях. Так, например, перед использованием системы электропитания (перед подсоединением ее к устройству) эффективное потребление топлива для выработки энергии можно реализовать путем применения конструкции, в которой канал подачи топлива СОПР-части 30А поддерживается в перекрытом (защищенном) состоянии, при этом перекрытое состояние отключается, когда используется система электропитания, а управление каналом подачи топлива осуществляется таким образом, что происходит необратимый переход (т.е. обеспечивается возможность прохождения топлива по каналу подачи) в состояние разрешенной подачи топлива.
<Краткое описание всей работы в целом согласно
первому варианту осуществления>
Далее, со ссылками на чертежи, будет приведено краткое описание всей работы системы электропитания, имеющей вышеописанную конструкцию, в целом.
На фиг. 27 представлен алгоритм, условно иллюстрирующий работу системы электропитания в соответствии с этим вариантом осуществления. На фиг. 28 представлено изображение, иллюстрирующее состояние при работе в начальном режиме (режиме ожидания) системы электропитания в соответствии с этим вариантом осуществления. На фиг. 29 представлено изображение, иллюстрирующее состояние при работе в режиме запуска системы электропитания в соответствии с этим вариантом осуществления. На фиг. 30 представлено изображение, иллюстрирующее состояние при работе в установившемся режиме системы электропитания в соответствии с этим вариантом осуществления. На фиг. 31 представлено изображение, иллюстрирующее состояние при работе в режиме остановки системы электропитания в соответствии с этим вариантом осуществления. Необходимо отметить, что работа будет описана посредством ссылок на конструкцию системы электропитания (фиг. 3 и 4).
Как показано на фиг. 27, управление системой 301 электропитания, имеющей конструкцию в соответствии с этим вариантом осуществления, проводится в основном для осуществления: работы в начальном режиме (этапы Э101 и Э102) для подачи топлива ТПЛ для выработки энергии, заправленного в топливный блок 20А, в модуль 10А для выработки энергии, постоянной и непрерывной выработки электроэнергии (второй электроэнергии), которая может быть рабочей электроэнергией и электроэнергией контроллера в части 11 субблока питания, и выдачи этой электроэнергии в устройство У (контроллер К) через выводы ЭЛ электродов (в частности вывод ЭЛ(+) положительного электрода и вывод ЭЛ(-) отрицательного электрода, показанные на фиг. 28 – 31); работы в режиме запуска (этапы Э103 – Э106) для подачи топлива ТПЛ для выработки энергии, заправленного в топливный блок 20А, в часть 12 для выработки энергии на основе возбуждения нагрузки Н (переходящей из режима отсутствия возбуждения в режим возбуждения) в устройстве У, выработки электроэнергии (первой электроэнергии), которая может быть электроэнергией возбуждения нагрузки, и выдачи этой энергии в устройство У (на нагрузку Н) через выводы ЭЛ (ЭЛ(+) и ЭЛ(-)) электродов; работы в установившемся режиме (этапы Э107-Э110) для регулирования количества топлива ТПЛ для выработки энергии, подаваемого в часть 12 для выработки энергии, на основе изменения состояния возбуждения нагрузки Н, и выработки и выдачи электроэнергии (первой электроэнергии), имеющей составляющую напряжения, соответствующую состоянию возбуждения нагрузки; и работы в режиме остановки (этапы Э111-Э114) для отключения подачи топлива ТПЛ для выработки энергии в часть 12 для выработки энергии на основе отключения нагрузки Н (т.е. перевода ее из режима возбуждения в режим отсутствия возбуждения) и остановки выработки электроэнергии (первой электроэнергии).
Ниже приводится подробное описание каждой операции со ссылками на фиг. 28–31.
(А) Работа в начальном режиме согласно
первому варианту осуществления
Прежде всего необходимо отметить, что, при работе в начальном режиме, в системе электропитания, в которой модуль 10А для выработки энергии и топливный блок 20А объединены друг с другом посредством СОПР-части 30, например, за счет отключения состояния перекрытия канала подачи топлива СОПР-части 30 в момент подсоединения к устройству У, как показано на фиг. 28, топливо для выработки энергии, заправленное в топливный блок 20А, перемещается в канале подачи топлива вследствие явления капиллярности, характерного для канала подачи топлива, и автоматически подается в часть 11 субблока питания модуля 10А для выработки энергии (этап Э101). После этого, в части 11 субблока питания, по меньшей мере, электроэнергия (вторая электроэнергия) ЭЭ1, которая может быть рабочей электроэнергией части 13, управляющей работой, и электроэнергией возбуждения (электроэнергией контроллера), предназначенной для контроллера К, включенного в состав устройства У, автономно вырабатывается и выдается, а потом непрерывно подается как в часть 13, управляющую работой, так и в контроллер К (этап Э102).
С другой стороны, в системе электропитания, в которой модуль 10А для выработки энергии и топливный блок 20А можно соединять и разъединять без каких-либо ограничений, за счет соединения модуля 10А для выработки энергии с топливным блоком 20А посредством СОПР-части 30, как показано на фиг. 28, отключают функцию предотвращения утечки, которой обладает средство для предотвращения утечки топлива, предусмотренное для топливного блока 20А, и поэтому топливо для выработки энергии, заправленное в топливный блок 20А, перемещается в канале подачи топлива вследствие явления капиллярности, характерного для канала подачи топлива, и автоматически подается в часть 11 субблока питания модуля 10А для выработки энергии (этап Э101). В части 11 субблока питания, электроэнергия (вторая электроэнергия) ЭЭ1, которая может быть рабочей электроэнергией и электроэнергией контроллера, автономно вырабатывается и выдается, а потом непрерывно подается в часть 13, управляющую работой, часть 16, контролирующую напряжение, и в контроллер К (этап Э102).
Во всех случаях, только электроэнергия, которая может быть рабочей электроэнергией части 13, управляющей работой, и части 16, контролирующей напряжение, выдается все то время, в течение которого система электропитания соединена с устройством У.
Соединяя топливный блок 20А с модулем 10А для выработки энергии посредством СОПР-части 30, осуществляют переход в режим ожидания, в котором работают только часть 13, управляющая работой, часть 16, контролирующая напряжение, и контроллер К устройства У. В этом режиме ожидания, питающая электроэнергия (электроэнергия контроллера, т.е. некоторая доля электроэнергии ЭЭ1), подаваемая в устройство У (контроллер К) через вывод ЭЛ(+) положительного электрода и вывод ЭЛ(-) отрицательного электрода, незначительно расходуется частью 13, управляющей работой, частью 16, контролирующей напряжение, и контроллером К устройства У. Часть 16, контролирующая напряжение, в любой заданный момент времени обнаруживает напряжение Vdd, которое несколько падает вследствие потребления, а часть 13, управляющая работой, оперативно контролирует изменение напряжения Vdd. Кроме того, контроллер К управляет состоянием возбуждения нагрузки Н устройства У.
(В) Работа в режиме запуска согласно
первому варианту осуществления
После этого, при работе в режиме запуска, как показано на фиг. 29, когда контроллер К управляет переключателем ПЭП для подачи электроэнергии на нагрузку Н, находящуюся в проводящем состоянии за счет обеспечения возбуждения нагрузки Н, например, вследствие срабатывания (замыкания) переключателя ПЭП электропитания и т.п. под воздействием пользователя устройства У, некоторая доля питающей электроэнергии (электроэнергии контроллера), подаваемая в контроллер У, подается на нагрузку Н в режиме ожидания, что приводит к внезапному падению напряжения Vdd питающей электроэнергии.
После обнаружения внезапного изменения напряжения Vdd с помощью части 16, контролирующей напряжение (этап Э103), часть 13, управляющая работой, выдает в часть 15, управляющую запуском, сигнал управления работой, предназначенный для начала работы в режиме выработки энергии (запуска) в части для выработки энергии (этап Э104). За счет подачи некоторой доли электроэнергии (электроэнергии ЭЭ2), вырабатываемой частью 11 субблока питания, в часть 14, управляющую выдачей (или и в часть 14, управляющую выдачей, и в часть 12 для выработки энергии), в качестве электроэнергии запуска на основе сигнала управления работой, поступающего из части 13, управляющей работой (этап Э105), часть 15, управляющая запуском, подает топливо ТПЛ для выработки энергии, заправленное в топливный блок 20А, в часть 12 для выработки энергии через часть 14, управляющую выдачей, и выдает электроэнергию (первую электроэнергию), которая может быть электроэнергией возбуждения нагрузки. Электроэнергия возбуждения нагрузки выдается в качестве питающей электроэнергии вместе с электроэнергией контроллера, вырабатываемой частью 11 субблока питания, через вывод ЭЛ(+) положительного электрода и вывод ЭЛ(-) отрицательного электрода и подается в контроллер К и на нагрузку Н устройства У (этап Э106).
Следовательно, когда электроэнергия возбуждения, вырабатываемая частью 12 для выработки энергии, подается в устройство У, напряжение Vdd питающей электроэнергии постепенно увеличивается из состояния падения напряжения и достигает напряжения, подходящего для запуска нагрузки Н. То есть, если вести речь о возбуждении нагрузки Н, то автоматически подается топливо ТПЛ для выработки энергии, и часть 12 для выработки энергии начинает операцию выработки энергии. Кроме того, электроэнергия возбуждения нагрузки, имеющая предварительно определенное напряжение, автономно подается в устройство У (на нагрузку Н). Поэтому можно обеспечить необходимое возбуждение нагрузки Н с одновременной реализацией характеристики электроэнергии, по существу, эквивалентной характеристике электроэнергии химического источника тока общего назначения.
(С) Работа в установившемся режиме согласно
первому варианту осуществления
После этого, при работе в установившемся режиме, как показано на фиг. 30, часть 13, управляющая работой, оперативно контролирует изменение напряжения Vdd (по существу, изменение напряжения электроэнергии возбуждения нагрузки) питающей электроэнергии, подаваемой в устройство У, посредством части 16, контролирующей напряжение, в любой заданный момент времени (этап Э107). Если часть 13, управляющая работой, обнаруживает такое изменение напряжения Vdd, что напряжение питающей электроэнергии отклоняется от диапазона напряжения (например, от диапазона флуктуации выходного напряжения в химическом источнике тока общего назначения), основанного на предварительно заданном значении, часть 13, управляющая работой, выдает в часть 14, управляющую выдачей, сигнал управления работой, предназначенный для управления количеством электроэнергии (объемом выработки энергии), вырабатываемой в части 12 для выработки энергии, таким образом, что эта электроэнергия увеличивается или уменьшается, в результате чего напряжение Vdd можно задавать в пределах диапазона напряжения (этап Э108).
Часть 14, управляющая выдачей, регулирует количество топлива ТПЛ для выработки энергии, подаваемое в часть 12 для выработки энергии, на основе сигнала управления работой, поступающего из части 13, управляющей работой (этап Э109), и осуществляет управление с обратной связью таким образом, что напряжение Vdd питающей электроэнергии (электроэнергии возбуждения нагрузки), подаваемой в устройство У, оказывается в пределах предварительно определенного диапазона напряжения (этап Э110). В результате, даже если состояние возбуждения нагрузки Н (состояние нагрузки) на стороне устройства У изменяется, обеспечивается возможность управления таким образом, что напряжение питающей электроэнергии может попадать в подходящий диапазон напряжения, соответствующий состоянию возбуждения нагрузки Н, и поэтому можно подавать электроэнергию в соответствии с энергопотреблением устройства У (нагрузки Н).
(D) Работа в режиме остановки согласно
первому варианту осуществления
После этого, при работе в установившемся режиме, когда устройство У переходит из включенного состояния в отключенное состояние в процессе управления с обратной связью по питающей электроэнергии, или когда по какой-либо причине происходит аномальная работа устройства У или системы 301 электропитания, часть 13, управляющая работой, в течение предварительно определенного времени непрерывно обнаруживает состояние, в котором напряжение Vdd питающей электроэнергии (электроэнергии возбуждения нагрузки), подаваемой в устройство У, отклоняется от предварительно определенного диапазона напряжения, с помощью части 16, контролирующей напряжение. Когда определяется, что с изменением времени условия для этого диапазона напряжения соблюдаются (этап Э111), часть 13, управляющая работой, осуществляет обработку для обнаруженного состояния, вырабатывая ошибку напряжения питающей электроэнергии, и выдает в часть 14, управляющую выдачей, сигнал управления работой, предназначенный для остановки выработки электроэнергии в части 12 для выработки энергии (этап Э112). На основе сигнала управления работой, поступающего из части 13, управляющей работой, часть 14, управляющая выдачей, отключает подачу топлива ТПЛ для выработки энергии в часть 12 для выработки энергии и останавливает нагревание нагревателя для проведения эндоэргической реакции для образования водорода (этап Э113). В результате, работа в режиме выработки энергии в части 12 для выработки энергии останавливается, и останавливается подача электроэнергии (электроэнергии возбуждения нагрузки), не являющейся электроэнергией контроллера, в устройство У (этап Э114).
То есть, например, если нагрузку Н отключают путем такого управления переключателем нагрузки, ПН, через который электроэнергия подается на нагрузку Н, то осуществляется перевод в отключенное состояние с помощью контроллера К, когда пользователь устройства У манипулирует переключателем ПЭП электропитания и т.п. (размыкает его), или если действие нагрузки прекращается (заканчивается), когда систему 301 электропитания извлекают из устройства У, напряжение питающей электроэнергии может значительно отклоняться от предварительно определенного диапазона напряжения даже после осуществления управления с обратной связью для задания напряжения питающей электроэнергии в пределах диапазона напряжения во время работы в установившемся режиме. Следовательно, когда часть 13, управляющая работой, в течение предварительно определенного времени обнаруживает такое состояние, эта часть 13, управляющая работой, определяет, что нагрузка Н устройства У отключена или ее действие прекратилось, и останавливает работу в режиме выработки энергии в части 12 для выработки энергии. В результате, поскольку в связи с отключением и т.п. нагрузки Н в устройстве У подача топлива ТПЛ для выработки энергии отключается, а также автоматически отключается часть 12 для выработки энергии, эта часть 12 для выработки энергии вырабатывает электроэнергию только тогда, когда осуществляется нормальное возбуждение устройства У и можно в течение длительного времени поддерживать электродвижущую силу и одновременно эффективно использовать топливо для выработки энергии.
Как описано выше в отношении системы электропитания, соответствующей этому конкретному варианту осуществления, поскольку возможно осуществление управления подачей и остановкой подачи электроэнергии, которая может быть предварительно определенной электроэнергией возбуждения нагрузки, и управления для регулирования количества вырабатываемой электроэнергии в соответствии с состоянием возбуждения нагрузки (устройства или т.п.), соединенной с системой электропитания, без осуществления подачи топлива или т.п. извне системы электропитания, можно эффективно расходовать топливо для выработки энергии. Следовательно, возможна реализация системы электропитания, которая причиняет меньший ущерб окружающей среде и обладает очень высокой эффективностью использования энергии, с одновременной реализацией электрической характеристики, которая, по существу, эквивалентна электрической характеристике химического источника тока общего назначения.
Кроме того, система электропитания в соответствии с этим вариантом осуществления, имеет уменьшенные размеры и массу вследствие встраивания и выполнения модуля для выработки энергии в небольшом пространстве посредством использования технологии производства микромашин, и выполнена таким образом, что имеет форму и размеры, по существу, совпадающие с формой и размерами химического источника тока общего назначения, например, батарейки типоразмера АА, удовлетворяющей таким стандартам, как Японские промышленные стандарты (ЯПС). В результате, обеспечивается возможность достижения высокой совместимости с химическим источником тока общего назначения как по внешней форме, так и по электрической характеристике (электрической вольтамперной характеристике), а также возможность дополнительного облегчения популяризации предлагаемого технического решения на рынках сбыта существующих источников тока. Следовательно, взамен существующего химического источника тока, создающего массу проблем, например, касающихся окружающей среды или эффективного использования энергии, можно легко использовать систему электропитания, в которой применяется устройство для выработки энергии, которое позволяет в значительной степени подавить выброс вредного вещества из топливного элемента или т.п. и которое позволяет достичь высокой эффективности использования энергии, вследствие чего возможно эффективное использование энергоресурса с одновременным подавлением (вредного) влияния на окружающую среду.
[Второй вариант осуществления]
Далее, со ссылками на чертежи, будет приведено описание второго варианта осуществления модуля для выработки энергии, применимого к системе электропитания в соответствии с настоящим изобретением.
На фиг. 32 представлена блок-схема, показывающая второй вариант осуществления модуля для выработки энергии, применимого к системе электропитания в соответствии с настоящим изобретением, а на фиг. 33 представлено изображение, условно показывающее схему электрических соединений между системой электропитания (модулем для выработки энергии), соответствующей этому конкретному варианту осуществления, и каким-либо устройством. В нижеследующем тексте теми же позициями обозначены конструкции, аналогичные конструкциям в первом варианте осуществления, что позволяет упростить или опустить их пояснение.
Как показано на фиг. 32, модуль 10В для выработки энергии, соответствующий этому варианту осуществления, в основном включает: часть 11 субблока питания (второе средство электропитания), имеющую функции, аналогичные функциям в первом варианте осуществления (см. фиг. 3); часть 12 для выработки энергии (первое средство электропитания); часть 13, управляющую работой; часть 14, управляющую выдачей; часть 15, управляющую запуском; часть 16, контролирующую напряжение; и часть ЭЛх, содержащую электрические выводы, предназначенную для предоставления предварительно определенной информации, касающейся контроллера К, включенного в состав устройства У, с которым соединена система электропитания. В этом варианте осуществления, системе электропитания придана конфигурация, обеспечивающая управление состоянием выработки энергии в модуле 10В для выработки энергии (в частности, в части 12 для выработки энергии) на основе, по меньшей мере, информации о возбуждении нагрузки (запроса об электроэнергии), которая предоставляется из контроллера К, включенного в состав устройства У, через часть ЭЛх, содержащую электрические выводы, и соответствует состоянию возбуждения нагрузки Н.
В этом варианте осуществления, контроллер К устройства У, соединенного с системой электропитания, предоставляет системе электропитания информацию о возбуждении нагрузки (запрос об электроэнергии) в соответствии с состоянием возбуждения нагрузки Н и выполняет функцию средства для управления возбуждением нагрузки, предназначенного для управления состоянием возбуждения нагрузки в соответствии с информацией о выработке энергии (информацией, касающейся составляющих напряжения, информацией об окончании работы в режиме запуска и информацией о прекращении работы), характеризующей состояние выработки энергии системы электропитания, на основе запроса об электроэнергии.
В системе электропитания, соответствующей этому варианту осуществления, как показано на фиг. 33, питающая электроэнергия, состоящая из электроэнергии контроллера и электроэнергии возбуждения нагрузки, выдаваемых каждой из части 11 субблока питания и части 12 для выработки энергии, аналогичным образом подается совместно в контроллер К и на нагрузку Н устройства У через одиночный вывод ЭЛ электрода, и составляющая напряжения этой питающей электроэнергии (по существу, электроэнергии возбуждения нагрузки) обнаруживается частью 16, контролирующей напряжение, в каждый заданный момент и контролируется частью 13, управляющей работой.
<Краткое описание всей работы в целом согласно
второму варианту осуществления>
Далее, со ссылками на чертежи, будет приведено краткое описание всей работы системы электропитания в целом.
На фиг. 34 представлен алгоритм, условно иллюстрирующий работу системы электропитания в соответствии со вторым вариантом осуществления. На фиг. 35 представлено изображение, иллюстрирующее состояние при работе в начальном режиме (режиме ожидания) системы электропитания в соответствии с этим вариантом осуществления. На фиг. 36 представлено изображение, иллюстрирующее состояние при работе в режиме запуска системы электропитания в соответствии с этим вариантом осуществления. На фиг. 38 и 39 представлены изображения, иллюстрирующие состояние при работе в установившемся режиме системы электропитания в соответствии с этим вариантом осуществления. На фиг. 40–42 представлены изображения, иллюстрирующие состояние при работе в режиме остановки системы электропитания в соответствии с этим вариантом осуществления. Здесь нужно отметить, что работа будет описана посредством ссылок на конструкцию системы электропитания (фиг. 32 и 33).
В этом варианте осуществления, после того, как из контроллера К, включенного в состав устройства У, через часть ЭЛх, содержащую электрические выводы, а не через вывод ЭЛ(+) положительного электрода и вывод ЭЛ(-) отрицательного электрода, получена информация о возбуждении нагрузки, касающаяся управления возбуждением нагрузки, часть 13, управляющая работой, предусмотренная для модуля 10В для выработки энергии, проводит серию этапов управления работой, описанных ниже. Помимо всей работы в целом, описываемой ниже для этого варианта осуществления, одновременно и параллельно может проводиться вся работа в целом или ее часть для первого варианта осуществления.
То есть, как показано на фиг. 34, аналогично первому варианту осуществления, управление системой 301 электропитания, имеющей конструкцию в соответствии с этим вариантом осуществления, проводится в основном для выполнения: работы в начальном режиме (этапы Э201 и Э202) для постоянной и непрерывной выработки и выдачи электроэнергии, которая может быть рабочей электроэнергией, предназначенной для части 13, управляющей работой, и электроэнергией возбуждения, предназначенной для контроллера К (электроэнергией контроллера), частью 11 субблока питания; работы в режиме запуска (этапы Э203–Э206) для выработки и выдачи электроэнергии, которая может быть электроэнергией возбуждения нагрузки, путем подачи электроэнергии запуска в часть 12 для выработки энергии и часть 14, управляющую выдачей, на основе возбуждения нагрузки Н; работы в установившемся режиме (этапы Э207–Э210) для выработки и выдачи электроэнергии (электроэнергии возбуждения нагрузки) в соответствии с состоянием возбуждения нагрузки путем регулирования количества топлива ТПЛ для выработки энергии, подаваемого в часть 12 для выработки энергии на основе изменения состояния возбуждения нагрузки Н; и работы в режиме остановки (этапы Э211–Э2114) для прекращения выработки электроэнергии, которая может быть электроэнергией возбуждения нагрузки, путем отключения подачи топлива ТПЛ для выработки энергии в часть 12 для выработки энергии на основе отключения нагрузки Н.
(А) Работа в начальном режиме согласно
второму варианту осуществления
Прежде всего необходимо отметить, что, при работе в начальном режиме, как показано на фиг. 35, аналогично первому варианту осуществления, топливо для выработки энергии, заправленное в топливный блок 20В, автоматически подается в часть 11 субблока питания модуля 10В для выработки энергии по каналу подачи топлива, предусмотренному для СОПР-части 30В (этап Э201), и электроэнергия (вторая электроэнергия), которая может быть рабочей электроэнергией и электроэнергией контроллера, автономно вырабатывается и выдается частью 11 субблока питания. Кроме того, рабочая электроэнергия непрерывно подается в часть 13, управляющую работой, а система электропитания соединена с устройством У. В результате, электроэнергия контроллера подается в качестве питающей электроэнергии (напряжения Vs) в контроллер К, встроенный в устройство У, через вывод ЭЛ(+) положительного электрода и вывод ЭЛ(-) отрицательного электрода, предусмотренных для системы электропитания (этап Э102). В результате этого происходит перевод в режим ожидания, в котором работают только часть 13, управляющая работой, модуля 10В для выработки энергии и контроллер К устройства У. В режиме ожидания, часть 13, управляющая работой, постоянно осуществляет оперативный контроль информации о возбуждении нагрузки (см. описываемые ниже различные типы запросов об электроэнергии), предоставляемой из контроллера К устройства У через часть ЭЛх, содержащую электрические выводы, в соответствии с состоянием возбуждения нагрузки.
(В) Работа в режиме запуска согласно
второму варианту осуществления
При работе в режиме запуска, как показано на фиг. 36, например, когда пользователь устройства У вызывает срабатывание (замыкание) переключателя ПЭП электропитания и т.п., предусмотренного для устройства У, сначала, в качестве информации о возбуждении нагрузки, из контроллера К через часть ЭЛх, содержащую электрические выводы, в часть 13, управляющую работой, модуля 10В для выработки энергии выдается сигнал запроса об электроэнергии, посредством которого запрашивают о подаче электроэнергии (первой электроэнергии), которая может быть электроэнергией возбуждения нагрузки. После получения информации о возбуждении нагрузки из контроллера К (этап Э203), часть 13, управляющая работой, выдает в часть 15, управляющую запуском, сигнал управления работой, предназначенный для начала работы в режиме выработки энергии (запуска) в части 12 для выработки энергии (этап Э204). На основе сигнала управления работой, поступающего из части 13, управляющей работой, часть 15, управляющая запуском, подает топливо ТПЛ для выработки энергии, заправленное в топливный блок 20В, в часть 12 для выработки энергии через часть 14, управляющую выдачей, и выдает электроэнергию (первую электроэнергию), которая может быть электроэнергией возбуждения нагрузки, путем подачи некоторой доли электроэнергии (электроэнергии ЭЭ2), вырабатываемой частью 11 субблока питания, в качестве электроэнергии запуска в часть 14, управляющую выдачей (или и в часть 14, управляющую выдачей, и в часть 12 для выработки энергии) (этап Э205). Электроэнергия возбуждения нагрузки подается в устройство У в качестве питающей электроэнергии вместе с электроэнергией контроллера, вырабатываемой частью 11 субблока питания, через вывод ЭЛ(+) положительного электрода и вывод ЭЛ(-) отрицательного электрода (этап Э206). В этот момент питающая электроэнергия, подаваемая в устройство, изменяется таким образом, что происходит постепенное увеличение напряжения со значения Vs в режиме ожидания.
Необходимо отметить, что при работе в режиме запуска, как показано на фиг. 36, когда происходит выдача сигнала управления работой, предназначенного для запуска части 12 для выработки энергии на этапе Э204, часть 13, управляющая работой, обнаруживает изменение напряжения питающей электроэнергии (по существу, электроэнергии возбуждения нагрузки), которая вырабатывается и выдается частью 12 для выработки энергии и подается в устройство У через часть 16, контролирующую напряжение, в любой заданный момент времени путем управления переключателем оперативного контроля, ПОК, с переводом его в проводящее состояние для подсоединения части 16, контролирующей напряжение, между выводом ЭЛ(+) положительного электрода и выводом ЭЛ(-) отрицательного электрода. Затем, как показано на фиг. 37, часть 13, управляющая работой, предоставляет через часть ЭЛх, содержащую электрические выводы, в контроллер К, включенный в состав устройства У, сами данные напряжения питающей электроэнергии, обнаруживаемые частью 16, контролирующей напряжение, в любой заданный момент времени, или сигнал окончания работы в режиме запуска, характеризующий, в качестве информации о работе в режиме выработки энергии, тот факт, что на основе запроса о подаче электроэнергии достигнуто предварительно определенное напряжение Va. После того, как напряжение питающей электроэнергии, подаваемой через вывод ЭЛ(+) положительного электрода и вывод ЭЛ(-)отрицательного электрода, достигло значения Vа, подходящего для осуществления возбуждения нагрузки Н, контроллер К управляет переключателем ПН таким образом, что тот переводится в проводящее (замкнутое) состояние и обеспечивает подачу питающей электроэнергии (электроэнергии возбуждения нагрузки) из системы электропитания для осуществления возбуждения нагрузки Н на основе предоставляемой из части 13, управляющей работой, информации о работе в режиме выработки энергии.
(С) Работа в установившемся режиме согласно
второму варианту осуществления
При работе в установившемся режиме, как показано на фиг. 38, аналогично этапам Э107–Э110, описанным в связи с первым вариантом осуществления, часть 13, управляющая работой, оперативно контролирует изменение напряжения Vа питающей электроэнергии (по существу, изменение напряжения электроэнергии возбуждения нагрузки), подаваемой в устройство У, посредством части 16, контролирующей напряжение, в любой заданный момент времени, и осуществляет управление с обратной связью таким образом, что напряжение питающей электроэнергии может оказаться в пределах диапазона напряжения, основанного на предварительно заданном значении.
При такой работе в установившемся режиме, когда управление нагрузкой Н осуществляется таким образом, что она переходит в новое состояние возбуждения, это состояние обнаруживается контроллером К устройства У, как показано на фиг. 39, в часть 13, управляющую работой, через часть ЭЛх, содержащую электрические выводы, в качестве информации о возбуждении нагрузки выдается сигнал запроса об изменении электроэнергии, посредством которого запрашивают о подаче новой электроэнергии (например, питающей электроэнергии, имеющей напряжение Vb) в соответствии с состоянием возбуждения нагрузки Н. После получения информации о возбуждении нагрузки, часть 13, управляющая работой, выдает в часть 14, управляющую выдачей, сигнал управления работой, предназначенный для задания электроэнергии, вырабатываемой частью 12 для выработки энергии, по отношению к части 15, управляющей запуском, таким образом, что электроэнергия возбуждения нагрузки оказывается соответствующей новому состоянию возбуждения нагрузки Н (этап Э208).
На основе сигнала управления работой, поступающего из части 13, управляющей работой, часть 14, управляющая выдачей, регулирует количество топлива ТПЛ для выработки электроэнергии, подаваемого в часть 12 для выработки энергии, или время нагревания и температуру нагревания нагревателя (этап Э209), а также осуществляет управление таким образом, что питающая электроэнергия, подаваемая в устройство У (электроэнергия возбуждения нагрузки), может иметь напряжение, соответствующее новому состоянию возбуждения нагрузки Н (этап Э210). То есть, часть 13, управляющая работой, изменяет заданное значение для установки диапазона напряжения, касающегося управления с обратной связью, делая это значение равным напряжению Vb, на основе сигнала запроса об изменении электроэнергии, получив этот сигнал запроса об изменении электроэнергии, и управляет объемом выработки энергии в части 12 для выработки энергии таким образом, что обеспечивается возможность выработки электроэнергии возбуждения нагрузки, имеющей напряжение, соответствующее измененному диапазону напряжения. В результате, поскольку подходящая электроэнергия подается в соответствии с состоянием возбуждения нагрузки Н (состоянием нагрузки) на стороне устройства У, обеспечивается возможность подачи электроэнергии, соответствующей энергопотреблению устройства У (нагрузки Н), и возможность успешного возбуждения нагрузки Н. Кроме того, поскольку можно подавлять большое изменение напряжения питающей электроэнергии, обуславливаемое изменением состояния возбуждения нагрузки Н, то можно не допустить неправильное функционирование и т.п. в устройстве У.
(D) Работа в режиме остановки согласно
второму варианту осуществления
При работе в установившемся режиме, как показано на фиг. 40, аналогично этапам Э111–Э114, описанным в связи с первым вариантом осуществления, в результате изменения состояния устройства У с переходом его из включенного состояния в отключенное состояние (например, путем управления переключателем ПН, предназначенным для подачи электроэнергии возбуждения нагрузки на нагрузку Н, таким образом, что эта подача прерывается) в процессе управления с обратной связью по питающей электроэнергии, или в результате того, что по какой-либо причине происходит аномальная работа устройства У или системы 301 электропитания, когда в течение предварительно определенного времени непрерывно обнаруживается состояние, в котором напряжение Vа питающей электроэнергии отклоняется от предварительно определенного диапазона напряжения, часть 13, управляющая работой, осуществляет обработку этого обнаруженного состояния как отказа напряжения и выдает сигнал управления работой в часть 14, управляющую выдачей. Тем самым, часть 13, управляющая работой, например, отключает подачу топлива ТПЛ для выработки энергии и осуществляет управление для остановки работы в режиме выработки энергии в части 12 для выработки энергии (работа в режиме автоматического отключения подачи энергии (или просто автоматического отключения)).
Далее, при работе в установившемся режиме, как показано на фиг. 41, если нагрузку Н отключают путем такого управления переключателем ПН, через который электроэнергия подается на нагрузку Н, то осуществляется перевод в отключенное состояние с помощью контроллера К, когда пользователь устройства У манипулирует переключателем ПЭП электропитания и т.п. (размыкает его), или если действие нагрузки прекращается (заканчивается), когда систему 301 электропитания извлекают из устройства У, то возбуждение нагрузки Н прекращается, и это состояние обнаруживает контроллер К устройства У, при этом в часть 13, управляющую работой, через часть ЭЛх, содержащую электрические выводы, выдается, в качестве информации о возбуждении нагрузки, сигнал запроса об остановке подачи электроэнергии, посредством которого запрашивают остановку подачи питающей электроэнергии (электроэнергии возбуждения нагрузки) из системы электропитания. После получения информации о возбуждении нагрузки из контроллера К (этап Э211), часть 13, управляющая работой, выдает в часть 14, управляющую выдачей, сигнал управления работой, предназначенный для остановки выработки электроэнергии в части 12 для выработки энергии (этап Э212). На основе сигнала управления работой, поступающего из части 13, управляющей работой, часть 14, управляющая выдачей, отключает подачу топлива ТПЛ для выработки энергии в часть 12 для выработки энергии и останавливает нагревание нагревателя для проведения эндоэргической реакции для образования водорода (этап Э213). Вследствие этого, часть 14, управляющая выдачей, останавливает работу в режиме выработки энергии в части 12 для выработки энергии и прекращает подачу электроэнергии (электроэнергии возбуждения нагрузки), не являющейся электроэнергией контроллера, в устройство У (этап Э214).
Затем, при работе в режиме остановки, показанной на фиг. 40 или 41, когда часть 13, управляющая работой, обнаруживает отключение части 12 для выработки энергии, сопровождая это, например, выдачей сигнала управления работой, предназначенного для остановки выработки электроэнергии в части 12 для выработки энергии, или обнаружением изменения напряжения питающей электроэнергии (по существу, электроэнергии возбуждения нагрузки), которая уменьшается за счет отключения части 12 для выработки энергии, осуществляемого посредством части 16, контролирующей напряжение, в любой заданный момент времени, как показано на фиг. 42, часть 13, управляющая работой, электрически отсоединяет часть 16, контролирующую напряжение, от положения подключения между выводом ЭЛ(+) положительного электрода и выводом ЭЛ(-) отрицательного электрода, а в качестве информации о работе в режиме выработки энергии предоставляет через часть ЭЛх, содержащую электрические выводы, в контроллер К устройства У сигнал уведомления об отключении подачи энергии (сигнал уведомления об автоматическом отключении), указывающий на остановку работы в режиме выработки энергии в части 12 для выработки энергии, или сигнал об остановке работы. В результате, в связи с остановкой возбуждения нагрузки Н в устройстве У, отключается подача топлива для выработки энергии и автоматически отключается часть 12 для выработки энергии. Тогда останавливается подача электроэнергии возбуждения в устройство У, и система 301 вместе с устройством У снова входят в режим ожидания.
Как описано выше в отношении системы электропитания, соответствующей этому варианту осуществления, и аналогично первому варианту осуществления, возможно осуществление управления подачей и остановкой подачи электроэнергии, которая может быть предварительно определенной электроэнергией возбуждения нагрузки, и возможно осуществление управления регулированием количества вырабатываемой электроэнергии в соответствии с состоянием возбуждения устройства (нагрузки), соединенного (соединенной) с системой электропитания, и, в частности, часть 12 для выработки энергии может вести работу в режиме выработки энергии только в период того рабочего режима, в котором возможно нормальное возбуждение устройства У. Следовательно, эффективно расходовать топливо и поддерживать электродвижущую силу можно в течение длительного времени. Поэтому возможна разработка такой системы электропитания, которая дает возможность реализовать электрическую характеристику, по существу, эквивалентную электрической характеристике химического источника тока общего назначения, менее вредна для окружающей среды и обладает высокой эффективностью использования энергии.
Хотя описание этого конкретного варианта осуществления приведено лишь с осуществляемой в двух направлениях передачей информации, при которой информация о возбуждении нагрузки предоставляется из устройства У в систему электропитания, а информация о работе в режиме выработки энергии предоставляется из системы электропитания в устройство У, настоящее изобретение не сводится к этой реализации. Электроэнергию возбуждения нагрузки, соответствующую состоянию возбуждения нагрузки, можно вырабатывать и выдавать в систему электропитания (модуль для выработки энергии), путем осуществляемого, по меньшей мере, в одном направлении предоставления информации, при котором информация о возбуждении нагрузки предоставляется из устройства У в систему электропитания.
[Третий вариант осуществления]
Далее, со ссылками на чертежи, будет приведено описание третьего варианта осуществления модуля для выработки энергии, применимого к системе электропитания в соответствии с настоящим изобретением.
На фиг. 43 представлена блок-схема, показывающая третий вариант осуществления модуля для выработки энергии, применимого к системе электропитания в соответствии с настоящим изобретением. Аналогично второму варианту осуществления, хотя в нижеследующем тексте будет приведено описание применительно к конструкции, в которой происходит передача предварительно определенной информации между системой электропитания и устройством, с которым эта система электропитания соединена через часть ЭЛх, содержащую электрические выводы, необходимо отметить, что можно предусмотреть конструкцию, в которой система электропитания соединена с устройством У только посредством выводов электродов (вывода положительного электрода и вывода отрицательного электрода), и никакой передачи специальной информации между системой электропитания и устройством нет, подобно первому варианту осуществления. Кроме того, теми же самыми позициями обозначены элементы, эквивалентные элементам в первом и втором вариантах осуществления, что позволяет упростить или опустить их пояснение.
Описание модулей 10А и 10В для выработки энергии, соответствующих первому и второму вариантам осуществления, приведено применительно к конструкции, предусматривающей непосредственный выпуск топлива ТПЛ для выработки энергии, используемого в части 11 субблока питания, наружу из системы 301 электропитания в виде выпускаемого газа или сбор топлива ТПЛ для выработки энергии с помощью средства сбора побочного продукта. Однако, если в модуле 10С для выработки энергии, соответствующем этому варианту осуществления, содержится заданный компонент топлива, такой, как водород или соединение водорода, то независимо от того, обуславливает или не обуславливает работа в режиме выработки энергии в части 11 субблока питания изменение этого компонента как составной части топлива ТПЛ для выработки энергии, это топливо ТПЛ для выработки энергии, используемое в части 11 субблока питания, используется повторно непосредственно как топливо для выработки энергии в части 12 для выработки энергии, или используется повторно за счет экстрагирования заданного компонента топлива.
В частности, как показано на фиг. 43, модуль 10С, соответствующий этому варианту осуществления, включает: часть 11 субблока питания, имеющую конструкцию и функции, аналогичные ее конструкции и функциям во втором варианте осуществления (см. фиг. 32); часть 12 для выработки энергии; часть 13, управляющую работой; часть 14, управляющую выдачей; часть 15, управляющую запуском; часть 16, контролирующую напряжение; и часть ЭЛх, содержащую электрические выводы. В частности, модулю 10С для выработки энергии придана такая конфигурация, при которой все топливо или часть топлива для выработки энергии (которое в нижеследующем тексте для удобства будет называться “выпускаемым топливным газом”), которое используется для выработки электроэнергии в части 11 субблока питания, можно подавать в часть 12 для выработки энергии с помощью части 14, управляющей выдачей, не выпуская топливо наружу из модуля 10С для выработки энергии.
Часть 11 субблока питания, применяемая для этого варианта осуществления, имеет конструкцию, выполненную с возможностью выработки и выдачи предварительно определенной электроэнергии (второй электроэнергии) без потребления и преобразования компонента топлива, присутствующего в топливе ТПЛ для выработки энергии, подаваемом из топливного блока 20 через СОПР-часть 30 (см., например, устройство для выработки энергии, показанное во втором, третьем, пятом или седьмом примере конструкции в первом варианте осуществления), или конструкцию, обуславливающую образование выпускаемого топливного газа, содержащего компонент топлива, который можно использовать для работы в режиме выработки энергии в части 12 для выработки энергии даже в случае, если этот компонент топлива, присутствующий в топливе ТПЛ для выработки энергии, потребляется и расходуется (см., например, устройство для выработки энергии, показанное в четвертом или шестом примере конструкции в первом варианте осуществления).
В случае применения устройства для выработки энергии, показанного в примерах конструкции с первого по шестой в первом варианте осуществления, в качестве части 12 для выработки энергии, следует отметить, что, в качестве топлива ТПЛ для выработки энергии, заправляемого в топливный блок 20В, применяется топливное вещество, обладающее воспламеняемостью или горючестью, например, жидкое топливо на спиртовой основе, такое, как метиловый спирт, этиловый спирт или бутиловый спирт, сжиженное топливо, представляющее собой углеводород, такой, как простой диметиловый эфир, изобутилен, природный газ, или газообразное топливо, такое, как газообразный водород.
То есть, жидкое топливо или сжиженное топливо является жидкостью во время заправки в топливный блок 20 в предварительно определенных условиях заправки (температура, давления и другие). При переходе к нормальным условиям окружающей среды, таким, как нормальная температура и нормальное давление, происходящем во время подачи в часть 11 субблока питания, такое топливо испаряется, становясь топливным газом, имеющим высокое давление. Кроме того, когда газообразное топливо, подлежащее заправке в топливный бак 20, сжимают под воздействием предварительно определенного давления, а потом подают в часть 11 субблока питания, оно становится топливным газом, имеющим высокое давление, соответствующее давлению заправки. Следовательно, после выработки электроэнергии (второй электроэнергии) из такого топлива ТПЛ для выработки энергии за счет использования, например, энергии давления топливного газа в части 11 субблока питания, возможна выработка электроэнергии (первой электроэнергии) посредством электрохимической реакции, реакции сгорания и т.п. с использованием выпускаемого топливного газа, поступающего из части 11 субблока питания, в части 12 для выработки энергии.
[Четвертый вариант осуществления]
Далее, со ссылками на чертежи, будет приведено описание четвертого варианта осуществления модуля для выработки энергии, применимого к системе электропитания в соответствии с настоящим изобретением.
На фиг. 44 представлена блок-схема, показывающая четвертый вариант осуществления модуля для выработки энергии, применимого к системе электропитания в соответствии с настоящим изобретением. Хотя в нижеследующем тексте будет приведено описание применительно к конструкции, в которой происходит передача предварительно определенной информации между системой электропитания и устройством, с которым эта система электропитания соединена, аналогично второму и третьему вариантам осуществления, можно предусмотреть конструкцию (конструкцию, описанную в связи с первым вариантом осуществления), в которой никакой передачи специальной информации между системой электропитания и устройством не происходит. Кроме того, теми же самыми позициями обозначены элементы, эквивалентные элементам в вариантах осуществления с первого по третий, что позволяет упростить или опустить их пояснение.
Что касается модулей 10А и 10В для выработки энергии, соответствующих вариантам осуществления с первого по третий, то их описание приведено для конструкции, применяемой в качестве части 11 субблока питания, в которой предварительно определенная электроэнергия (вторая электроэнергия) постоянно автономно вырабатывается с использованием топлива ТПЛ для выработки энергии, подаваемого из топливных блоков 20А и 20В. Однако модуль для выработки энергии, соответствующий этому варианту осуществления, имеет конструкцию, в которой часть 11 субблока питания постоянно автономно вырабатывает предварительно определенную электроэнергию без использования топлива ТПЛ для выработки энергии, заправленного в топливный блок.
В частности, как показано на фиг. 44, модуль 10D, соответствующий этому варианту осуществления, включает: часть 12 для выработки энергии, имеющую конструкцию и функции, аналогичные ее конструкции и функциям во втором варианте осуществления (см. фиг. 32); часть 13, управляющую работой; часть 14, управляющую выдачей; часть 15, управляющую запуском; часть 16, контролирующую напряжение; и часть ЭЛх, содержащую электрические выводы, а также имеет часть 11 субблока питания, предназначенную для постоянной автономной выработки предварительно определенной электроэнергии (второй электроэнергии) без использования топлива ТПЛ для выработки энергии, заправленного в топливный блок.
В качестве конкретной конструкции части 11 субблока питания, можно применить, например, конструкцию, в которой используется термоэлектрическое преобразование, основанное на разности температур окружающей среды системы 301 электропитания (выработка энергии за счет разности температур), а также конструкцию, в которой используется фотоэлектрическое преобразование, основанное на энергии света, поступающей снаружи системы 301 электропитания (выработка энергии за счет фотоэлектрического эффекта).
Далее, со ссылками на чертежи, будет приведено описание примера части 11 субблока питания.
(Первый пример конструкции части субблока питания
бестопливного типа)
На фиг. 45А и 45В представлены условные изображения конструкции, показывающие первый пример конструкции части субблока питания, применимой к модулю для выработки энергии в соответствии с этим вариантом осуществления.
В первом примере конструкции, часть 11S субблока питания имеет конструкцию устройства для выработки энергии, которое вырабатывает энергию путем выработки энергии за счет термоэлектрического преобразования с использованием разности температур между окружающей средой внутри и снаружи системы 301 электропитания.
Как показано на фиг. 45А, часть 11S субблока питания, соответствующая этому примеру конструкции, имеет, например, конструкцию электрогенератора, работа которого основана на разности температур, которая включает: часть 311, поддерживающую первую температуру и предназначенную для одной концевой стороны системы 301 электропитания; часть 312, поддерживающую вторую температуру и предназначенную для другой концевой стороны системы 301 электропитания; элемент 313 для термоэлектрического преобразования, одна концевая сторона которого соединена со стороной 311 части, поддерживающей первую температуру, другой конец соединен со стороной 312 части, поддерживающей вторую температуру. В данном случае, части 311 и 312, поддерживающие первую и вторую температуры, выполнены таким образом, что количества вырабатываемого ими тепла изменяются в любой заданный момент времени в соответствии с состоянием температуры окружающей среды внутри и снаружи системы 301 электропитания, а положения, в которых они установлены, задаются таким образом, что температуры в частях 311 и 312, поддерживающих первую и вторую температуры, отличаются друг от друга.
В частности, например, возможно применение конструкции, в которой любая из частей 311 и 312, поддерживающих первую и вторую температуры, постоянно подвергается воздействию наружного воздуха или атмосферы посредством части, в которой имеется отверстие, и т.п. (не показана), предназначенной для устройства У, к которому подсоединена система 301 электропитания, так что в ней можно поддерживать фиксированную температуру. Кроме того, элемент 313 для термоэлектрического преобразования имеет конструкцию, эквивалентную конструкции, показанной в четвертом примере конструкции (см. фиг. 8В) в первом варианте осуществления. Относительно конструкции части 11S электропитания, представляющей собой изображенный электрогенератор, работа которого основана на разности температур, следует отметить, что эта часть 11S субблока питания также может быть встроена и выполнена в небольшом пространстве путем применения технологии производства микромашин в этом варианте осуществления, аналогично конструкции, упомянутой в вышеописанных вариантах осуществления.
В части 11S субблока питания, имеющей такую конструкцию, которая показана на фиг. 45В, когда между частями 311 и 312, поддерживающими первую и вторую температуры, создается градиент температуры со смещением распределения температуры в окружающей среде системы 301 электропитания, в элементе 313 для термоэлектрического преобразования, за счет эффекта Зеебека, создается предварительно определенная электродвижущая сила, соответствующая тепловой энергии, полученной вследствие этого градиента температуры, и поэтому вырабатывается электроэнергия.
Следовательно, применяя устройство для выработки энергии, имеющее такую конструкцию, для части субблока питания, можно с помощью такой части 11S электропитания постоянно автономно вырабатывать предварительно определенную электроэнергию столько времени, сколько существует смещение распределения температуры в окружающей среде системы 301 электропитания, а эту электроэнергию можно подавать в каждую конструкцию внутри и снаружи системы 301 электропитания. Кроме того, в соответствии с этой конструкцией, поскольку все топливо ТПЛ для выработки энергии, заправленное в топливный блок 20А, можно использовать для выработки электроэнергии (первой электроэнергии) в части 12 для выработки энергии, оказывается возможным эффективное использование топлива для выработки энергии, и оказывается возможной подача полученной электроэнергии в качестве электроэнергии возбуждения нагрузки в устройство У в течение длительного периода времени.
Хотя в этом примере конструкции приведено описание применительно к электрогенератору, работа которого основана на разности температур и который вырабатывает электроэнергию в связи с появлением смещения распределения температуры в окружающей среде, вызванного эффектом Зеебека, настоящее изобретение не сводится к этой реализации, и можно использовать конструкцию, при наличии которой электроэнергия вырабатывается на основе явления термоэлектронной эмиссии, в процессе которой свободные электроны испускаются с поверхности металла за счет нагрева этого металла.
(Второй пример конструкции части субблока питания
бестопливного типа)
На фиг. 46А и 46В представлены условные изображения конструкции, показывающие второй пример конструкции части 11Т субблока питания, применимой к модулю для выработки энергии в соответствии с данным вариантом осуществления.
Во втором примере конструкции, часть субблока питания имеет конструкцию устройства для выработки энергии, которое вырабатывает электроэнергию путем выработки энергии за счет фотоэлектрического преобразования с использованием энергии света, поступающей снаружи системы 301 электропитания.
Как показано на фиг. 46А, часть 11Т субблока питания, соответствующая второму примеру конструкции, представляет собой, например, известный элемент для фотоэлектрического преобразования (называемый также фотоэлектрическим элементом или солнечным элементом), имеющий полупроводник 321 p-типа и полупроводник 322 n-типа, соединенные друг с другом.
Когда такой элемент для фотоэлектрического преобразования облучают светом СВ (энергией света), имеющим предварительно определенную длину волны, вблизи части 323 p-n-перехода за счет фотоэффекта образуются пары “электрон – положительная дырка”, и электроны (-), поляризованные электрическим полем в элементе для фотоэлектрического преобразования, дрейфуют в полупроводник 322 n-типа, тогда как положительные дырки (+) дрейфуют в полупроводник 321 p-типа, и при этом между электродами (между выходными выводами ВЫВе и ВЫВf), соответственно образованными полупроводником p-типа и полупроводником n-типа, создается электродвижущая сила.
В данном случае следует отметить, что, поскольку пространство для размещения источника тока (или блока электропитания) в существующем устройстве предусмотрено в таком положении на стороне задней поверхности и т.п. устройства, куда энергии света (в частности, солнечного луча или искусственного света) трудно попасть, или это пространство таково, что его полностью занимает источник тока, когда его устанавливают в устройстве, существует вероятность того, что в часть субблока питания не попадет достаточно света. Следовательно, в случае, если система 301 электропитания, для которой применяется часть 11Т субблока питания, соответствующая этому примеру конструкции, подсоединена к устройству У, как показано на фиг. 46В, необходимо применять такую конструкцию, в которую минимальная энергия света (свет СВ, имеющий минимальную длину волны), необходимая для выработки предварительно определенной электроэнергии в части 11Т субблока питания, может попадать за счет того, что в конструкции устройства У заранее предусмотрена часть или части ОТВ, в которых имеются отверстия, или за счет того, что конструкция предусматривает наличие прозрачного или полупрозрачного элемента в корпусе устройства У, так что, по меньшей мере, часть 11 субблока питания или модуль 10С для выработки энергии может быть открыт для воздействия света.
Следовательно, применяя устройство для выработки энергии, имеющее такую конструкцию, для части субблока питания, можно с помощью такой части 11Т электропитания постоянно автономно вырабатывать предварительно определенную электроэнергию и подавать ее в каждую конструкцию системы 301 электропитания столько времени, сколько устройство У используется в окружающей среде, куда можно подводить предварительно определенную энергию света, например, в окружающей среде снаружи или внутри помещения. Кроме того, поскольку все топливо ТПЛ для выработки энергии, заправленное в топливный блок 20, можно использовать для выработки электроэнергии (первой электроэнергии) в части 12 для выработки энергии, оказывается возможным эффективное использование топлива для выработки энергии.
Хотя для этого примера конструкции, изображенного на фиг. 46В, описание приведено применительно к базовой конструкции элемента для фотоэлектрического преобразования (называемого также фотоэлектрическим элементом или солнечным элементом), настоящее изобретение не сводится к этой реализации, и можно применять конструкцию, основанную на другой конфигурации или другом принципе, обеспечивающим и повышенную эффективность использования энергии.
<Средство сбора побочного продукта>
Далее, со ссылками на чертежи, будет приведено описание средства сбора побочного продукта, которое применимо к системе электропитания в соответствии с каждым вариантом осуществления.
На фиг. 47 представлена блок-схема, иллюстрирующая первый вариант осуществления средства сбора побочного продукта, применимого к системе электропитания в соответствии с настоящим изобретением. В данном случае, аналогично вариантам осуществления со второго по четвертый, хотя в нижеследующем тексте будет приведено описание применительно к конструкции, в которой происходит передача предварительно определенной информации между системой электропитания и устройством, с которым эта система электропитания соединена, можно использовать конструкцию (конструкцию, поясненную в связи с первым конкретным вариантом осуществления), в которой никакой передачи специальной информации между системой электропитания и устройством не происходит. Кроме того, теми же самыми позициями обозначены элементы, эквивалентные элементам в каждом варианте осуществления, что позволяет упростить или опустить их пояснение.
В каждом из вариантов осуществления, когда в качестве части 12 для выработки энергии или части 11 субблока питания применяется конструкция для выработки предварительно определенной энергии (часть для выработки энергии или часть субблока питания, показанная в каждом из примеров конструкции) за счет электрохимической реакции или реакции сгорания с использованием топлива ТПЛ, заправленного в топливный блок 20Е, иногда, помимо выработки энергии, возможен выпуск побочного продукта. Поскольку такой побочный продукт может содержать вещество, которое может вызвать нарушение природных условий, когда его выпускают в окружающую среду, или вещество, которое в некоторых случаях может стать фактором, вызывающим неправильную работу устройства, к которому подсоединена система электропитания, предпочтительно применять конструкцию, включающую такое средство сбора побочного продукта, как описанное ниже, поскольку выпуск такого побочного продукта нужно подавлять настолько, насколько это возможно.
В модуле 10Е для выработки энергии, при наличии топливного блока 20Е и СОПР-части 30Е, имеющих конструкцию и функции, аналогичные конструкции и функциям в каждом из вариантов осуществления, как показано на фиг. 47, средство сбора побочного продукта, применимое к системе электропитания в соответствии с настоящим изобретением, имеет конфигурацию, при которой, например, в модуле 10Е для выработки энергии предусмотрена отделяющая часть 17 для сбора всего или части побочного продукта, образующегося во время выработки электроэнергии в части 12 для выработки энергии, а в топливном блоке 20Е предусмотрена заправляемая побочным продуктом часть 403. Ниже приводится описание только того случая, в котором происходит сбор побочного продукта, образующегося в части 12 для выработки энергии, поэтому такую конструкцию можно аналогичным образом применить к части 11 субблока питания.
Отделяющая часть 17 имеет конструкцию, показанную в каждом из вариантов осуществления. В части 12 для выработки энергии (нижеизложенное можно отнести и к части 11 субблока питания), предназначенной для выработки электроэнергии, которая может быть электроэнергией возбуждения нагрузки (характеризующейся напряжением и электрическим током) применительно к устройству У, к которому подсоединена система 301 электропитания, отделяющая часть 17 для сбора отделяет побочный продукт, образующийся во время выработки электроэнергии, или заданный компонент, присутствующий в этом побочном продукте, и подает его в заправляемую побочным продуктом часть 403, предусмотренную в топливном блоке 20Е, через канал сбора побочного продукта, находящийся в СОПР-части 30Е.
В части 12 для выработки энергии (нижеизложенное можно отнести и к части 11 субблока питания), к которой применим каждый из вариантов осуществления, побочным продуктом, образующимся во время выработки электроэнергии, является вода (Н2О) и другие продукты, а отделяющая часть 17 собирает их все или их часть или только заданный компонент и подает в канал сбора побочного продукта. Если собранный побочный продукт находится в жидком состоянии, можно использовать явление капиллярности с целью автоматической подачи побочного продукта из отделяющей части 17 в заправляемую побочным продуктом часть 403 путем образования такого канала сбора побочного продукта, в котором возможно непрерывное изменение внутреннего диаметра.
Кроме того, заправляемая побочным продуктом часть 403 выполнена в виде внутреннего элемента или части топливного блока 20Е и имеет конфигурацию, обеспечивающую возможность подачи и удержания побочного продукта, собираемого отделяющей частью 17, только тогда, когда топливный блок 20Е соединен с модулем 10Е для выработки энергии. То есть, в системе электропитания, конфигурация которой обеспечивает возможность подсоединения топливного блока 20Е к модулю 10Е для выработки энергии и отсоединения этого блока от этого модуля без каких-либо ограничений, в случае отсоединения топливного блока 20Е от модуля 10Е для выработки энергии, собираемый и удерживаемый побочный продукт или заданный компонент можно фиксированным или необратимым образом удерживать в заправляемой побочным продуктом части 403, вследствие чего этот побочный продукт или заданный компонент не может вытечь или выйти наружу из топливного блока 20Е.
Необходимо отметить, что в случаях, когда за счет выработки энергии в части 12 для выработки энергии в качестве побочного продукта образуется вода (Н2О), оксид азота (NOx) или оксид серы (SOx), поскольку вода (Н2О) находится в жидком состоянии при обычной температуре и при обычном давлении, побочный продукт можно подавать в заправляемую побочным продуктом часть 403 через канал сбора побочного продукта. Вместе с тем, в случае такого побочного продукта, как оксид азота (NOx) или оксид серы (SOx), образование которого в небольших количествах вполне может иметь место, температура испарения которого ниже обычной температуры при обычном давлении, и который находятся в газообразном состоянии, следует отметить, что, поскольку существует вероятность, что его кубический объем вырастет и превысит емкость заправляемой побочным продуктом части 403, то можно сжижать этот побочный продукт и уменьшать его кубический объем путем увеличения давления воздуха в отделяющей части 17 и заправляемой побочным продуктом части 403, тем самым удерживая побочный продукт в заправляемой побочным продуктом части 403.
Следовательно, в качестве конкретной конструкции заправляемой побочным продуктом части 403, можно применять конструкцию, выполненную с возможностью, например, необратимого абсорбирования, одновременного абсорбирования и связывания, или только связывания собранного побочного продукта или заданного компонента, например, конструкцию, в которой заправляемая побочным продуктом часть 403 наполнена поглощающим полимером, или конструкцию, включающую средство для предотвращения утечки собранного материала, такое, как управляющий клапан, который закрывается под действием внутреннего давления заправляемой побочным продуктом части 403 или физического давления пружины и т.п., аналогично средству для предотвращения утечки топлива, предусмотренному для топливного блока 20.
Кроме того, в системе электропитания, снабженной средством сбора побочного продукта, имеющим такую конструкцию, в случае применения в качестве части 12 для выработки энергии такого топливного элемента, предусматривающего топливный риформинг, показанный на фиг. 19, диоксид углерода (СО2), образующийся наряду с газообразным водородом (Н2) в соответствии с реакцией парового риформинга, реакцией конверсии водяного газа и выбранной реакцией окисления (см. химические уравнения (1)- (3)) в части 210а для топливного риформинга, и вода (Н2О), образующаяся при выработке электроэнергии (первой электроэнергии) в соответствии с электрохимической реакцией (см. химические уравнения (6) и (7)) в части 210b топливного элемента, выпускаются в качестве побочных продуктов из части 12 для выработки энергии. Вместе с тем, поскольку количество подаваемого диоксида углерода (СО2) очень мало и почти не оказывает влияние на устройство, диоксид углерода выпускается наружу из системы электропитания в качестве не собираемого вещества, а с другой стороны, вода (Н2О) и т.п. собирается в отделяющей части 17. Затем она подается в заправляемую побочным продуктом часть 403 в топливном блоке 20Е через канал сбора побочного продукта с использованием явления капиллярности, и необратимо удерживается, например, в части 21 для удержания собранного побочного продукта.
В данном случае, поскольку электрохимическая реакция (см. химические уравнения (2) и (3)) протекает при температуре приблизительно 60-80° С, вода (Н2О), образующаяся в части 12 для выработки энергии, выпускается, по существу в парообразном (газообразном) состоянии. Таким образом, отделяющая часть 17 сжижает только водяной (Н2О) компонент, например, путем охлаждения паров, выпускаемых из части 12 для выработки энергии, или путем приложения давления, и отделяет его от других газообразных компонентов, собирая таким образом этот компонент.
В этом варианте осуществления описание приведено применительно к случаю, когда в качестве конструкции части 12 для выработки энергии применяется топливный элемент, предусматривающий топливный риформинг, а в качестве топлива для выработки энергии подается метиловый спирт (СН3ОН). Следовательно, отделение и сбор заданного компонента (а именно, воды) в отделяющей части 17 можно реализовать относительно просто, когда большинство побочного продукта, образующегося при выработке энергии, представляет собой воду (Н2О), и при этом наружу из системы электропитания выпускается также небольшое количество диоксида углерода (СО2). Вместе с тем, когда в качестве топлива для выработки энергии применяется вещество, отличное от метилового спирта, или когда в качестве части 12 для выработки энергии применяется конструкция, отличная от топливного элемента, в некоторых случаях возможно образование относительно большого количества диоксида углерода (СО2), оксида азота (NOx), оксида серы (SOx) и т.п. наряду с водой (Н2О).
В таком случае, после отделения, например, воды в форме жидкости от любого другого газообразного компонента (диоксида углерода и т.п.), образовавшегося в больших количествах, в отделяющей части 17 посредством способа отделения, эти компоненты можно удерживать вместе или по отдельности в одной или множестве заправляемых побочным продуктом частей 403, предусмотренных в топливном блоке 20Е.
Как описано выше, согласно системе электропитания, для которой применяется средство сбора побочного продукта в соответствии с этим вариантом осуществления, поскольку выпускание или утечку побочного продукта наружу из системы электропитания можно подавлять посредством необратимого удержания в заправляемой побочным продуктом части 403, предусмотренной в топливном блоке 20Е, по меньшей мере, одного компонента побочного продукта, образовавшегося во время выработки электроэнергии модулем 10Е для выработки энергии, можно предотвратить неверное функционирование или ухудшение качества устройства под воздействием побочного продукта (например, воды). Кроме того, за счет сбора в топливном блоке 20Е удерживаемого в нем побочного продукта, этот побочный продукт можно обработать надлежащим способом, который не оказывает негативного влияния на окружающую среду, тем самым предотвращая загрязнение окружающей среды или глобальное потепление из-за влияния побочного продукта (например, диоксида углерода).
Побочный продукт, собранный посредством способа сбора после отделения, необратимо удерживается в части для удержания собранного продукта посредством описываемой ниже работы в режиме удержания.
На фиг. 48А–48С представлены изображения, иллюстрирующие работу в режиме удержания побочного продукта средством сбора побочного продукта в соответствии с этим вариантом осуществления. В данном случае, теми же самыми позициями обозначены элементы, эквивалентные элементам в каждом из вариантов осуществления, что позволяет упростить или опустить их пояснение.
Как показано на фиг. 48А, топливный блок 20 в соответствии с этим вариантом осуществления имеет фиксированную емкость и включает: заправляемую топливом часть 401, в которую заправлено или залито топливо ТПЛ для выработки энергии, такое, как метиловый спирт; заправляемую побочным продуктом часть 403 для удержания в ней побочного продукта, такого, как вода, подаваемого из отделяющей части 17; упругий баллон 23 для сбора, который относительно изменяет емкость заправляемой побочным продуктом части 403 и полностью отделяет заправляемую побочным продуктом часть 403 от заправляемой топливом части 401, как будет описано ниже; клапан 24А подачи топлива, предназначенный для подачи в часть 14, управляющую выдачей, топлива ТПЛ для выработки энергии, заправленного в заправляемую топливом часть 401; и клапан 24В впуска побочного продукта (впускное отверстие) для впуска побочного продукта, подаваемого из отделяющей части 17 в заправляемую побочным продуктом часть 403.
Как описано выше, и клапан 24А подачи топлива, и клапан 24В впуска побочного продукта имеют конструкцию, имеющую, например, функцию обратного клапана с обеспечением подачи топлива ТПЛ для выработки энергии или впуска побочного продукта только тогда, когда топливный блок 20 соединен с модулем 10Е для выработки энергии через СОПР-часть 30Е. Вместо клапана 24В впуска побочного продукта, имеющего функцию обратного клапана, как описано выше, возможно использование конструкции, в которой заправляемая побочным продуктом часть 403 заполнена поглощающим (водопоглощающим) полимером и т.п.
В топливном блоке 20, имеющем такую конструкцию, когда топливо для выработки энергии, заправленное в заправляемую топливом часть 401, подается в модуль 10Е для выработки энергии (часть 12 для выработки энергии, часть 11 субблока питания) через клапан 24А подачи топлива, а работа выполняется в режиме выработки предварительно определенной электроэнергии, происходит выделение и сбор только заданного компонента (например, воды), присутствующего в побочном продукте и образуемого посредством отделяющей части 17. Затем его, через канал сбора побочного продукта и клапан 24В впуска побочного продукта, принимает и удерживает заправляемая побочным продуктом часть 403.
В результате, как показано на фиг. 48А–48С, объем топлива ТПЛ для выработки энергии, заправленного в заправляемую топливом часть 401, уменьшается, а объем заданного компонента или вещества, удерживаемого в заправляемой побочным продуктом части 403, в целом увеличивается. В этот момент, если применяется конструкция, в которой заправляемая побочным продуктом часть 403 заполнена поглощающим полимером и т.п., то можно управлять емкостью заправляемой побочным продуктом части 403 таким образом, что эта заправляемая побочным продуктом часть 403 может иметь емкость, превышающую фактический объем впускаемого побочного продукта.
Поэтому, относительно взаимосвязи между заправляемыми топливом и побочным продуктом частями 401 и 403, необходимо отметить, что их емкости не просто относительно увеличиваются или уменьшаются при работе в режиме выработки электроэнергии (при выработке электроэнергии) в модуле 10 для выработки энергии, а происходит приложение давления к топливу ТПЛ для выработки энергии, заправленному в заправляемую топливом часть 401, путем раздувания гибкого баллона 23 для сбора в направлении наружу под воздействием предварительно определенного давления, как показано на фиг. 48, в соответствии с количеством побочного продукта, удерживаемого в заправляемой побочным продуктом части 403. Следовательно, можно осуществлять надлежащую подачу топлива ТПЛ для выработки энергии в модуль 10Е для выработки энергии, и можно подавать топливо ТПЛ для выработки энергии, заправленное в заправляемую топливом часть 401, до тех пор, пока оно не будет полностью вытеснено побочным продуктом, находящимся в заправляемой побочным продуктом части 403, как показано на фиг. 48С.
В этом варианте осуществления описание приведено применительно к случаю, когда весь побочный продукт или его часть после отделения и сбора посредством отделяющей части 17, дополнительно предусмотренной для модуля 10Е для выработки энергии, собирается и удерживается в топливном блоке 20, а не собираемое вещество выпускается наружу из системы 301 электропитания. Однако можно применять конструкцию, в которой весь собранный побочный продукт (например, вода) или его часть повторно используется в качестве компонента топлива при выработке электроэнергии в модуле 10Е для выработки энергии (в частности, части 12 для выработки энергии и части 11 субблока питания). Конкретно, в конструкции, в которой устройство для выработки энергии, представляющее собой топливный элемент, используется в качестве части 12 для выработки энергии (то же можно отнести и к части 11 субблока питания), в качестве побочного продукта образуется вода. Однако, как описано выше, поскольку вода необходима для реакции парового риформинга и т.п., в топливном элементе, предусматривающем топливный риформинг, можно предусмотреть конструкцию, в которой часть воды, присутствующей в собираемом побочном продукте, подается в часть 12 для выработки энергии и повторно используется для реакции, как показано пунктирными стрелками (с надписью “повторно используемый собранный материал”) на фиг. 47. В соответствии с этой конструкцией, поскольку можно уменьшить количество воды, заранее заправленной в топливный блок 20 наряду с топливом ТПЛ для выработки энергии, с целью проведения реакции парового риформинга и т.п., и количество пробочного продукта (воды), удерживаемого в заправляемой побочным продуктом части 403, то в топливный блок 20, имеющий фиксированную емкость, можно заправлять большее количество топлива ТПЛ для выработки энергии, повышая тем самым способность к подаче электроэнергии в системе электропитания.
Далее, со ссылками на чертежи, будет приведено описание устройства для удаления побочных продуктов, которое выполнено с возможностью сбора побочного продукта, в соответствии с настоящим изобретением.
На фиг. 49 представлена блок-схема, иллюстрирующая часть системы электропитания. Аналогично системе электропитания, показанной на фиг. 2, система электропитания, соответствующая этому варианту осуществления, в основном состоит из: топливного блока 20С, в который заправляют топливо ТПЛ для выработки энергии (именуемое ниже просто топливом) и т.п.; модуля 10 для выработки энергии, который выполнен с возможностью разъемного соединения с топливным блоком 20С и вырабатывает электроэнергию (осуществляет выработку энергии) путем использования топлива, подаваемого из топливного блока 20С, и других конструктивных элементов. Для топливного блока 20С предусмотрены: заправляемая топливом часть 401; заправляемая абсорбентом часть 402; заправляемая побочным продуктом часть 403; и СОПР-часть 30С, соединенная с этими заправляемыми частями 401–403. Аналогично системе электропитания, показанной на фиг. 47, модуль 10 для выработки энергии состоит из: части 11 субблока питания; части 12 для выработки энергии; части 13, управляющей работой; части 14, управляющей выдачей; части 15, управляющей запуском; части 16, контролирующей напряжение; отделяющей части 17; и других конструктивных элементов.
Как показано на фиг. 50А–50С, топливный блок 20С включает заправляемую топливом часть 401, имеющую выполненный с ней как одно целое упругий баллон для хранения, который может изменяться без каких-либо ограничений, заправляемую абсорбентом часть 402 и заправляемую побочным продуктом часть 403. Топливный блок 20 выполнен из биологически разлагаемой синтетической смолы, а заправляемая топливом часть 401, заправляемая абсорбентом часть 402 и заправляемая побочным продуктом часть 403 отделены друг от друга и не пересекаются друг с другом, в результате чего получается по существу герметичная конструкция.
В заправляемой топливом части 401 находится заправленное в нее жидкое (или сжиженное) вещество или газообразное соединение, в состав которого входит водород, например, метиловый спирт или бутан, и топливо ТПЛ, включающее в себя воду. Топливо для выработки энергии, которое заправлено в заправляемую топливом часть 401 и которое необходимо подавать в предварительно определенном количестве для выработки электроэнергии возбуждения нагрузки и выдачи этой электроэнергии на нагрузку Н посредством части 210b топливного элемента, принимается посредством части 210а для топливного риформинга только тогда, когда топливный блок 20С соединен с модулем 10 для выработки энергии.
Заправляемая абсорбентом часть 402 включает часть 404 для абсорбирования диоксида углерода и часть 405 для сбора карбоната кальция. Часть 404 для абсорбирования диоксида углерода соединена с частью 210Z для проведения выбранной реакции окисления посредством трубки 412 для подвода смешанных газов, а также соединена с частью 210b топливного элемента посредством трубки 414 для подачи газообразного водорода. Часть 404 для абсорбирования диоксида углерода примыкает к части 405 для сбора карбоната кальция, так что она контактирует с ней, а также избирательно удаляет только газообразный диоксид углерода из смешанного газа (первого газа), содержащего водород (Н2) и диоксид углерода (СО2) и образующегося в результате химического преобразования топлива, подаваемого из заправляемой топливом части 401 в часть 210а для топливного риформинга. В частности, конфигурация части 404 обеспечивает подвод первого газа, образующегося в части 210а для топливного риформинга, из трубки 412 для подвода смешанного газа только тогда, когда топливный блок 20С соединен с модулем 10 для выработки энергии, и подачу второго газа, основным компонентом которого является газообразный водород (Н2), выделяемый путем удаления диоксида углерода (СО2) из первого газа, в часть 210b топливного элемента. В начальном состоянии, когда заправляемая топливом часть 401 заполнена топливом ТПЛ, в части 405 для сбора карбоната кальция еще нет этого вещества, поскольку карбонат кальция еще не собирается, и в части 407 для сбора воды еще нет воды, так как она еще не собирается. Кроме того, по существу, пустой является заправляемая побочным продуктом часть 403.
Часть 404 для абсорбирования диоксида углерода заполняется абсорбентом диоксида углерода. Однако в данном случае в качестве абсорбента диоксида углерода используется вещество, которое избирательно абсорбирует диоксид углерода из смешанного газа, содержащего водород и диоксид углерода и образующегося в части 210а для топливного риформинга, и которое не способствует образованию вредного вещества или вещества, загрязняющего окружающую среду, за счет абсорбирования диоксида углерода даже в случае, когда абсорбент выбрасывают на открытую свалку, подвергают захоронению в грунте или сжигают.
В качестве абсорбента диоксида углерода используют оксид кальция (СаО), и избирательно удаляют диоксид углерода посредством реакции, описываемой химическим уравнением (8) реакции.
СаО+СО2 СаСО3 |
(8) |
Оксид кальция является очень дешевым веществом. Кроме того, средство для абсорбирования диоксида углерода, предусматривающее использование подобных веществ, не требует поддержания таких условий, как высокая температура, высокое давление, и другие, во время абсорбирования газообразного диоксида углерода (СО2). Следовательно, за счет использования таких веществ в качестве абсорбента диоксида углерода, изготовление имеющего малые размеры топливного блока 20С в соответствии с настоящим изобретением может стоить очень недорого.
Более того, хотя карбонат кальция, образующийся за счет реакции, описываемой химическим уравнением (8) реакции, и оказывается в части 405 для сбора карбоната кальция, он является веществом, не вредным для людей или для окружающей среды. Даже если карбонат кальция выбрасывают на открытую свалку, подвергают захоронению в грунте или сжигают, он не способствует образованию вредного вещества. Следовательно, топливный блок 20, внутри которого имеется оксид кальция или карбонат кальция, можно подвергать утилизационной обработке после использования, не оказывая при этом негативного влияния на окружающую среду.
Поскольку реакция, описываемая химическим уравнением (8) реакции, является экзотермической реакцией, части 404 для абсорбирования диоксида углерода можно придать конфигурацию, обеспечивающую подвод тепла, вырабатываемого при абсорбировании диоксида углерода, в часть 210а для топливного риформинга и т.п. В результате, можно дополнительно повысить эффективность использования энергии системой электропитания в соответствии с этим конкретным вариантом осуществления.
Поскольку кубический объем на моль карбоната кальция больше, чем кубический объем на моль оксида кальция, часть 405 для сбора карбоната кальция расширяется по мере образования карбоната кальция. Кроме того, поскольку топливо ТПЛ расходуется в соответствии с протеканием реакции в части 210b топливного элемента, а вода, образующаяся в этой части 210b топливного элемента, подается в часть 407 для сбора воды, то в результате этого происходит расширение заправляемой побочным продуктом части 403. Таким образом, как показано на фиг. 50А, в начальном состоянии, хотя заправляемая абсорбентом часть 402, включающая часть 404 для абсорбирования диоксида углерода и имеющая внутри только оксид кальция, расположена на левой стороне, она перемещается вправо по мере расширения заправляемой абсорбентом части 402 и заправляемой побочным продуктом части 403 в процессе протекания реакции, как показано на фиг. 50В. Затем, как показано на фиг. 50С, при наличии последнего результата, топливный блок 20С оказывается, по существу, занятым заправляемой абсорбентом частью 402 и заправляемой побочным продуктом частью 403, когда топливо ТПЛ израсходовано. Как показано на фиг. 51, листообразный топливный блок 20С скатан и заключен в часть 409 для размещения. Потом его подсоединяют к модулю 10 для выработки энергии. В этом случае, как будет описано ниже, систему электропитания можно выполнить таким образом, что она будет иметь, по существу, такую же внешнюю форму, как химический источник тока общего назначения.
В данном случае, хотя в соответствии с химическими уравнениями (1) и (2) реакций образуется 3 моля воды (Н2О) из 1 моля метилового спирта (СН3ОН) и 1 моля воды (Н2О), 1 моль метилового спирта (СН3ОН) в жидком состоянии имеет объем 40,56 см3, тогда как 1 моль воды (Н2О) имеет объем 18,02 см3. Следовательно, если предположить, что объем метилового спирта, заправленного в заправляемую топливом часть 401, в первоначальном состоянии составляет М см3, то объем, занимаемый жидким топливом (смесью метилового спирта (СН3ОН) и воды (Н2О)) в заправляемой топливом части 401, составляет 1,444М см3.
Тогда, если весь метиловый спирт (СН3ОН) вступает в реакцию, кубический объем воды (Н2О) как побочного продукта составляет 1,333М см3, а объемная доля воды в жидком топливе (смеси метилового спирта (СН3ОН) и воды (Н2О)) в начальном состоянии составляет приблизительно 92,31%. Следовательно, емкость заправляемой топливом части 401 для топлива ТПЛ в начальном состоянии, по существу, равна емкости заправляемой побочным продуктом части 403, когда топливо ТПЛ израсходовано, тогда как объем карбоната кальция, образующегося, когда расходуется топливо ТПЛ, по существу, вдвое превышает объем оксида кальция в начальном состоянии. Следовательно, поскольку топливный блок 20С, когда топливо ТПЛ израсходовано, имеет емкость, которая больше, чем емкость топливного блока 20С в начальном состоянии, предпочтительно задавать емкость части 409 для размещения такой, чтобы она оказалась, по существу, заполненной топливным блоком 20С, когда топливо ТПЛ израсходовано. Следует отметить, что внешняя форма топливного блока 20С в соответствии с настоящим изобретением не обязательно ограничивается вышеописанной формой.
Отделяющая часть 17 отделяет воду (Н2О) среди побочных продуктов, образующихся при выработке электроэнергии возбуждения нагрузки в части 210b топливного элемента, подает эту воду в часть 407 для сбора воды, находящуюся в заправляемой побочным продуктом части 403, посредством трубки 416 для подвода воды и выпускает диоксид углерода наружу из модуля 10 для выработки энергии. Некоторое количество воды, отделяемой отделяющей частью 17, можно подавать в часть 210Х для проведения реакции парового риформинга и/или часть 210Y для проведения реакции конверсии водяного газа в соответствии с потребностями, а также объединять с монооксидом углерода.
СОПР-части 30С придана конфигурация, обеспечивающая соединение с возможностью разъединения топливного блока 20С и модуля 10 для выработки электроэнергии друг с другом. Кроме того, только тогда, когда топливный блок 20С и модуль 10 для выработки энергии соединены друг с другом посредством СОПР-части 30С, из топливного блока 20С в модуль 10 для выработки энергии подается топливо для выработки энергии, из модуля 10 для выработки энергии в топливный блок 20С подается заданный компонент, содержащийся в побочном продукте, образующемся при выработке электроэнергии, и между топливным блоком 20С и модулем 10 для выработки энергии происходит подача и прием газа. СОПР-часть 30С состоит из трубки 411 подачи топлива, предназначенной для подачи топлива ТПЛ за счет явления капиллярности в модуль для выработки энергии, трубки 412 для подвода смешанного газа, предназначенной для подвода водорода и диоксида углерода, преобразованных в части 210 для топливного риформинга, в часть 404 для абсорбирования диоксида углерода, трубку 414 для подачи газообразного водорода, предназначенную для подачи водорода высокой концентрации из части 404 для абсорбирования диоксида углерода, и трубку 416 для подвода воды, предназначенную для подвода воды, отделяемой отделяющей частью 17, в часть 407 для сбора воды. СОПР-части 30С придана конфигурация, которая обеспечивает предотвращение утечки топлива или отработанного материала перед подсоединением модуля 10 для выработки энергии или во время разъединения при эксплуатации.
Трубка 411 подачи топлива вставлена в топливный блок 20С. Трубка 411 подачи топлива обеспечивает подачу топлива в часть 13, управляющую работой, и т.п. по этой трубке 411 подачи топлива за счет явления капиллярности, когда топливный блок 20С подсоединен к модулю 10 для выработки энергии. Вместе с тем, когда возбуждение части 210b топливного блока отсутствует, управление трубкой 411 подачи топлива осуществляется таким образом, что клапан части 13, управляющей работой, закрыт. Кроме того, часть 16, контролирующая напряжение, обнаруживает потенциал, который показывает смещение, когда происходит переход нагрузки Н из состояния резервирования (отключения) в состояние, в котором происходит запуск основных функций посредством положительного электрода и отрицательного электрода системы электропитания. Когда в часть 13, управляющую работой, подается сигнал запуска, эта часть 13, управляющая работой, запускается посредством электроэнергии из части 11 субблока питания и открывает клапан трубки 411 подачи топлива, обеспечивая тем самым подачу топлива. Кроме того, начинается подача предварительно определенного количества топлива в часть 210а для топливного риформинга.
Следует отметить, что топливный блок 20С может состоять из материала, посредством которого хлорированное органическое соединение (диоксиновой группы, например, полихлорированный дибензо-n-диоксин, полихлорированный дибензофуран) или газообразный хлористый водород, вредное вещество, такое как тяжелый металл, или вещество, загрязняющее окружающую среду, образуется в малом количестве или вообще не образуется даже в случае, если проводится обработка, предусматривающая искусственное нагревание или сжигание, или химическая обработка и т.п.
Кроме того, в качестве топлива для выработки энергии, используемого в системе электропитания в соответствии с этим вариантом осуществления, можно применять топливо, которое не может быть веществом, загрязняющим окружающую среду, даже в случае, если топливный блок 20С, в который заправлено топливо для выработки энергии, выбрасывается на открытую свалку, подвергается захоронению в грунте или вытекает в воздух, грунт или воду, и которое способствует выработке электроэнергии с высокой эффективностью выработки энергии в части 210b топливного элемента модуля 10 для выработки энергии; в частности, можно применять жидкое соединение, содержащее спирт, такой, как метиловый спирт, этиловый спирт, бутиловый спирт и т.п., или газообразное топливо, такое, как газообразный углеводород, например, простой диметиловый эфир, изобутан, природный газ (сжиженный природный газ, СжПГ) и т.п., или газообразный водород, и другие.
Кроме того, хотя диоксид углерода, образовавшийся в отделяющей части 17, выпускается через выпускное отверстие 14d в этом варианте осуществления, как показано на фиг. 83, диоксид углерода может поглощаться частью 404 для абсорбирования диоксида углерода, поступающего из разделяющей части 17 через трубку 415 для подвода диоксида углерода, как показано на фиг. 52. Поскольку в такой системе электропитания побочному продукту трудно выйти наружу, эта система электропитания эффективна, в частности, в качестве источника питания для такого устройства, в котором система электропитания заключена в закрытом пространстве, не допуская утечки газа, и таким устройством могут быть, например, водонепроницаемые наручные часы.
Кроме того, хотя заправляемая абсорбентом часть 402 в данном варианте осуществления состоит из части 405 для сбора карбоната кальция и части 404 для абсорбирования диоксида углерода, содержащей оксид кальция, часть 404 для абсорбирования углерода может содержать гидроксид кальция вместо оксида кальция, а оксид кальция может быть предусмотрен в качестве части для абсорбирования воды.
Далее, со ссылками на фиг. 53, будет приведено описание модификации, предусматривающей применение гидроксида кальция в части 404 для абсорбирования диоксида углерода в соответствии с настоящим изобретением. В нижеследующем описании, те же самые названия и те же самые позиции приведены для элементов, идентичных соответствующим элементам в предшествующем конкретном варианте осуществления, что позволяет упростить или опустить их пояснение. Система электропитания, соответствующая этому варианту осуществления, в основном состоит из топливного блока 20М, в который заправляют топливо для выработки энергии (именуемое ниже просто топливом), и модуля 10 для выработки энергии, который выполнен с возможностью разъемного соединения с топливным блоком 20М и т.п. Для топливного блока 20М предусмотрены заправляемая топливом часть 401, заправляемая абсорбентом часть 402, заправляемая побочным продуктом часть 403, СОПР-часть 30Е, соединенная с этими заправляемыми частями 401–403, и т.п. Кроме того, аналогично системе электропитания, показанной на фиг. 47, модуль 10 для выработки энергии состоит из части 11 субблока питания, части 12 для выработки энергии, части 13, управляющей работой, части 14, управляющей выдачей, части 15, управляющей запуском, части 16, контролирующей напряжение, отделяющей части 17 и других конструктивных элементов.
Как показано на фиг. 54А–54С, топливный блок 20М включает заправляемую топливом часть 401, имеющую выполненный с ней как одно целое упругий баллон для хранения, который может изменяться без каких-либо ограничений, заправляемую абсорбентом часть 402 и заправляемую побочным продуктом часть 403. Топливный блок 20М выполнен из синтетической смолы, подверженной биологическому разложению и т.п., а заправляемая топливом часть 401, заправляемая абсорбентом часть 402 и заправляемая побочным продуктом часть 403 отделены друг от друга и не пересекаются друг с другом, в результате чего получается по существу герметичная конструкция.
Заправляемая абсорбентом часть 402 включает: часть 404 для абсорбирования диоксида углерода, содержащую гидроксид кальция, и часть 406 для абсорбирования воды, содержащую оксид кальция. Часть 404 для абсорбирования диоксида углерода примыкает к части 405 для сбора карбоната кальция и части 406 для абсорбирования воды и расположена в контакте с ними, а также избирательно удаляет только газообразный диоксид углерода из смешанного газа (первого газа), содержащего водород (Н2) и диоксид углерода (СО2) и образующегося в результате химического преобразования топлива, подаваемого из заправляемой топливом части 401 в часть 210а для топливного риформинга. В частности, подача первого газа, образующегося в части 210а для топливного риформинга, из трубки 412 для подвода смешанного газа и удаление диоксида углерода (СО2) из первого газа происходит только тогда, когда топливный блок 20М соединен с модулем 10 для выработки энергии. Кроме того, второй газ, содержащий газообразный водород (Н2) и воду, которые могут быть основными компонентами побочного продукта, подается в часть 406 для абсорбирования воды.
Гидроксид кальция (Са(ОН)2), подаваемый в часть 404 для абсорбирования диоксида углерода, удаляет диоксид углерода из смешанного газа посредством реакции, описываемой химическим уравнением (9) реакции.
Са(ОН)2 + СО2 СаСО3 + Н2О |
(9) |
Гидроксид кальция (Са(ОН)2) является очень дешевым веществом. Кроме того, средство для абсорбирования диоксида углерода, предусматривающее использование подобных веществ, не требует поддержания таких условий, как высокая температура, высокое давление, и другие, во время абсорбирования газообразного диоксида углерода (СО2). Следовательно, за счет использования таких веществ в качестве абсорбента диоксида углерода, изготовление имеющего малые размеры топливного блока 20м в соответствии с этим вариантом осуществления может быть сравнительно недорогим.
Более того, хотя карбонат кальция (СаСО3), образующийся за счет реакции, описываемой химическим уравнением (9) реакции, и оказывается в части 405 для сбора карбоната кальция, он является веществом, не вредным для людей или окружающей среды. Помимо этого, он не образует вредное вещество, даже если карбонат кальция выбрасывают на открытую свалку, подвергают захоронению в грунте или сжигают. Следовательно, топливный блок 20М, внутри которого имеется оксид кальция, гидроксид кальция или карбонат кальция, можно подвергать утилизационной обработке после использования, не оказывая при этом негативного влияния на окружающую среду.
Поскольку реакция, описываемая химическим уравнением (9) реакции, является экзотермической реакцией, части 404 для абсорбирования диоксида углерода можно придать конфигурацию, обеспечивающую подвод тепла, вырабатываемого при абсорбировании диоксида углерода, в нижеописанную часть 210а для топливного риформинга и т.п. В результате, можно дополнительно повысить эффективность использования энергии системой электропитания в соответствии с этим вариантом осуществления.
В данном случае, хотя вода образуется, когда абсорбент диоксида углерода, находящийся в части 404 для абсорбирования диоксида углерода, абсорбирует диоксид углерода, часть 406 для абсорбирования воды абсорбирует воду, содержащуюся во втором газе, поступающем из части 404 для абсорбирования диоксида углерода по трубке 413 для подвода воды и газообразного водорода, за счет реакции, описываемой химическим уравнением (10) реакции. Следовательно, часть 406 для абсорбирования воды может абсорбировать воду, образующуюся в части 404 для абсорбирования диоксида углерода, а избыток воды используется для реакции с диоксидом углерода в части 210а для топливного риформинга.
СаО + Н2О Са(ОН)2 |
(10) |
В результате, третьим газом, подаваемым из части 406 для абсорбирования воды через трубку 414 для подачи газа может быть водород высокой концентрации, а гидроксид кальция, образующийся в соответствии с уравнением (10), может выполнять функцию части 404 для абсорбирования диоксида углерода.
Как показано на фиг. 54А, заправляемая абсорбентом часть 402 состоит из части 404 для абсорбирования диоксида углерода, содержащей гидроксид кальция, и части 406 для абсорбирования воды, в начальном состоянии содержащей оксид кальция. Вместе с тем, химическая реакция оксида кальция, гидроксида кальция и карбоната кальция протекает в вышеупомянутом порядке и, по меньшей мере, заправляемая абсорбентом часть 402, по существу, состоит из части 404 для абсорбирования диоксида углерода и части 405 для сбора карбоната кальция, содержащей карбонат кальция.
Поскольку кубический объем на моль карбоната кальция больше, чем кубический объем на моль оксида кальция, часть 405 для сбора карбоната кальция расширяется по мере образования карбоната кальция. Поскольку кубический объем на моль гидроксида кальция больше, чем кубический объем на моль оксида кальция, часть 404 для абсорбирования диоксида углерода будет расширяться по мере образования гидроксида кальция. Однако гидроксид кальция преобразуется в карбонат кальция, как описано выше, поэтому заметное расширение произойти не может. Кроме того, поскольку топливо ТПЛ расходуется в соответствии с протеканием реакции в части 210b топливного элемента, а вода, образующаяся в этой части 210b топливного элемента, подается в часть 407 для сбора воды, в результате этого происходит расширение заправляемой побочным продуктом части 403.
Следовательно, хотя заправляемая абсорбентом часть 402, расположена на левой стороне, она перемещается вправо по мере расширения заправляемой абсорбентом части 402 и заправляемой побочным продуктом части 403, как показано на фиг. 54В. И, наконец, как показано на фиг. 54С, топливный блок 20М оказывается, по существу, занятым заправляемой абсорбентом частью 402 и заправляемой побочным продуктом частью 403, когда топливо ТПЛ полностью израсходовано. Как показано на фиг. 51, листообразный топливный блок 20М скатан и заключен в часть 409 для размещения. В этом состоянии, топливный блок 20М можно подсоединить к модулю 10 для выработки энергии. В этом случае, систему электропитания можно выполнить таким образом, что она будет иметь, по существу, такую же внешнюю форму, как химический источник тока общего назначения, как будет описано ниже.
Емкость заправляемой топливом части 401, содержащей топливо ТПЛ, в начальном состоянии, по существу, равна емкости заправляемой побочным продуктом части 403, когда топливо ТПЛ полностью израсходовано, тогда как карбонат кальция, образующийся, когда расходуется топливо ТПЛ, имеет объем, по существу, вдвое превышающий емкость топливного блока 20М в начальном состоянии. Следовательно, поскольку емкость топливного блока 20М, когда топливо ТПЛ расходуется, вдвое больше, чем емкость топливного блока 20М в начальном состоянии, предпочтительно задавать емкость части 409 для размещения такой, чтобы она оказалась, по существу, заполненной топливным блоком 20М, после того, как израсходуется топливо Т.
Диоксид углерода, отделяемый отделяющей частью 17, может быть выпущен через выпускное отверстие 14d или может быть абсорбирован частью 404 для абсорбирования диоксида углерода при наличии трубки 415 для подвода диоксида углерода. Помимо этого, некоторое количество воды, отделяемой отделяющей частью 17, можно подавать в часть 210Х для проведения реакции парового риформинга и/или часть 210Y для проведения реакции конверсии водяного газа в соответствии с потребностями, а также объединять с монооксидом углерода.
Хотя в варианте осуществления, показанном на фиг. 53, часть 406 для абсорбирования воды выполнена отдельно от части 403 для сбора воды, эта часть 406 для абсорбирования воды, содержащая оксид кальция, может также служить в качестве части для сбора воды, как показано на фиг. 55. Часть 406 для абсорбирования воды абсорбирует воду из части 404 для абсорбирования диоксида углерода посредством трубки 413 для подвода газа воды и газообразного водорода, а также абсорбирует воду из отделяющей части 17 посредством той трубки 416 для подвода воды, которая предусмотрена в СОПР-части 30N. С этой точки зрения, часть 406 для абсорбирования воды, предусмотренная в топливном блоке 20N, может быть полимерным абсорбентом влаги.
Помимо этого, в предшествующем конкретном варианте осуществления диоксид углерода абсорбируется частью 404 для абсорбирования диоксида углерода, проходя по трубке 412 для подвода смешанного газа, а также проходя через часть 210Х для проведения реакции парового риформинга, часть 210Y для проведения реакции конверсии водяного газа и часть 210Z для проведения выбранной реакции окисления. Однако, поскольку количество диоксида углерода, образующееся в части 210Y для проведения реакции конверсии водяного газа и части 210Z для проведения выбранной реакции окисления, является незначительным, то возможно абсорбирование диоксида углерода из смешанного газа, преобразованного в части 210Х для проведения реакции парового риформинга и поступающего в часть 404 для абсорбирования диоксида углерода по трубке 412 для подвода смешанного газа, как показано на фиг. 56. В данном случае, часть 404 для абсорбирования диоксида углерода соединена с частью 210Х для проведения реакции парового риформинга посредством трубки 412 для подвода смешанного газа, имеющейся в СОПР-части 30Р, а также соединена с частью 210Y для проведения реакции конверсии водяного газа посредством трубки 414 для подачи газообразного водорода. Хотя часть 404 для абсорбирования диоксида углерода абсорбирует диоксид углерода помимо водорода, диоксида углерода, малого количества воды и малого количества монооксида углерода, подаваемых из части 210Х для проведения реакции парового риформинга, в этой части 404 для абсорбирования диоксида углерода не обязательно должен быть оксид кальция, и можно использовать гидроксид кальция. В случае использования гидроксида кальция, воду, образующуюся путем абсорбирования диоксида углерода, можно использовать совместно с монооксидом углерода в части 210Y для проведения реакции конверсии водяного газа. В этот момент диоксид углерода, отделенный отделяющей частью 17, можно выпускать через выпускное отверстие 14d, и можно предусмотреть трубку 415 для подвода диоксида углерода, расположенную таким образом, что часть 404 для абсорбирования диоксида углерода может поглощать диоксид углерода. Кроме того, гидроксид кальция можно применить вместо оксида кальция для части 404 для абсорбирования диоксида углерода. В этом случае, как показано на фиг. 57, можно снабдить топливный блок 20Q частью 406 для абсорбирования воды, чтобы абсорбировать воду, образующуюся в части 404 для абсорбирования диоксида углерода. Часть 406 для абсорбирования воды содержит оксид кальция и соединена с частью 404 для абсорбирования диоксида углерода посредством трубки 413 для подвода воды и газообразного водорода. Часть 406 для абсорбирования воды также соединена с частью 210Y для проведения реакции конверсии водяного газа посредством трубки 414 для подачи газообразного водорода.
Диоксид углерода, отделяемый отделяющей частью 17, может быть выпущен через выпускное отверстие 14d, и может быть предусмотрена трубка 415 для подвода диоксида углерода, чтобы часть 404 для абсорбирования диоксида углерода могла абсорбировать диоксид углерода. Помимо этого, некоторое количество воды, отделяемой отделяющей частью 17, можно подавать в часть 210Х для проведения реакции парового риформинга и/или часть 210Y для проведения реакции конверсии водяного газа в соответствии с потребностями, а также объединять с монооксидом углерода.
Хотя в предшествующем варианте осуществления часть 404 для абсорбирования диоксида углерода соединена только с одним элементом части 210а для топливного риформинга, эта часть 404 для абсорбирования диоксида углерода может быть соединена с множеством элементов части 210а для топливного риформинга, соответственно. Далее, со ссылками на фиг. 58, будет приведено описание модификации части для абсорбирования диоксида углерода в соответствии с настоящим изобретением.
Топливный блок 20R включает заправляемую топливом часть 401, заправляемую абсорбентом часть 402 и заправляемую побочным продуктом часть 403 и соединен с СОПР-частью 30R, снабженной трубкой 411 подачи топлива, трубкой 421 для подвода первого смешанного газа, первой трубкой 422 для подвода газообразного водорода, трубкой 423 для подвода второго смешанного газа, второй трубкой 424 для подвода газообразного водорода, трубкой 425 для подвода третьего смешанного газа, третьей трубкой 414 для подачи газообразного водорода и трубкой 416 для подвода воды.
Заправляемая абсорбентом часть 402 имеет часть 405 для сбора карбоната кальция, часть 403 для сбора воды, содержащую оксид кальция, первую часть 404А для абсорбирования диоксида углерода, вторую часть 404В для абсорбирования диоксида углерода и третью часть 404С для абсорбирования диоксида углерода. Часть 405 для сбора карбоната кальция в начальном состоянии не заполнена, а первая часть 404А для абсорбирования диоксида углерода, вторая часть 404В для абсорбирования диоксида углерода и третья часть 404С для абсорбирования диоксида углерода соответственно содержат требуемое минимальное количество оксида кальция.
Первая часть 404А для абсорбирования диоксида углерода соединена с частью 210Х для проведения реакции парового риформинга посредством трубки 421 для подачи первого смешанного газа, используемой для подачи первого смешанного газа, содержащего водород, диоксид углерода и т.п., а также соединена с частью 210Y для проведения реакции конверсии водяного газа посредством первой трубки 422 для подвода газообразного водорода.
Вторая часть 404В для абсорбирования диоксида углерода соединена с частью 210Y для проведения реакции конверсии водяного газа посредством трубки 423 для подвода второго смешанного газа, используемой для подвода смешанного газа, содержащего диоксид углерода, образовавшийся в части 210Y для проведения реакции конверсии водяного газа, а также соединена с частью 210Z для проведения выбранной реакции окисления посредством второй трубки 424 для подвода газообразного водорода.
Третья часть 404С для абсорбирования диоксида углерода соединена с частью 210Z для проведения выбранной реакции окисления посредством трубки 425 для подвода третьего газа, используемой для подвода смешанного газа, содержащего диоксид углерода, образовавшегося в части 210Z для проведения выбранной реакции окисления, а также соединен с частью 406 для абсорбирования воды посредством трубки 413 для подвода воды и газообразного водорода.
В первой части 404А для абсорбирования диоксида углерода, второй части 404В для абсорбирования диоксида углерода и третьей части 404С для абсорбирования диоксида углерода гидроксид кальция реагирует с диоксидом углерода, содержащимся в смешанном газе, и образуется карбонат кальция. Затем карбонат кальция подается в часть 405 для сбора карбоната кальция. В части 406 для абсорбирования воды гидроксид кальция реагирует с водой, образовавшейся в первой части 404А для абсорбирования диоксида углерода, второй части 404В для абсорбирования диоксида углерода и третьей части 404С для абсорбирования диоксида углерода, и образуется гидроксид кальция. Затем гидроксид кальция подается в первую часть 404А для абсорбирования диоксида углерода, вторую часть 404В для абсорбирования диоксида углерода и третью часть 404С для абсорбирования диоксида углерода. Почти весь диоксид углерода из части 406 для абсорбирования воды расходуется, когда расходуется топливо ТПЛ, находящееся в заправляемой топливом части 401, а заправляемая абсорбентом часть 402 выполнена таким образом, что карбонат кальция из части 405 для сбора карбоната кальция занимает значительную часть пространства внутри заправляемой абсорбентом части 402.
Диоксид углерода, отделяемый отделяющей частью 17, может быть выпущен через выпускное отверстие 14d или может абсорбироваться частью 404 для абсорбирования диоксида углерода при наличии трубки 415 для подвода диоксида углерода. Помимо этого, некоторое количество воды, отделяемой отделяющей частью 17, можно подавать в часть 210Х для проведения реакции парового риформинга и/или часть 210Y для проведения реакции конверсии водяного газа в соответствии с потребностями, а также объединять с монооксидом углерода. Кроме того, часть 403 для сбора воды можно не предусматривать, а часть 406 для абсорбирования воды и трубка 416 для подвода воды могут быть соединены друг с другом.
В каждом из предшествующих вариантов осуществления, заправляемая абсорбентом часть 402 и/или часть 403 для сбора воды выполнена как единое целое с заправляемой топливом частью 401, но можно предусмотреть линию отделения между заправляемой топливом частью 401 и заправляемой абсорбентом частью 402 и/или частью 403 для сбора воды, чтобы можно было отделить заправляемую абсорбентом часть 402 и/или часть 403 для сбора воды от заправляемой топливом части 401 и выбросить.
Хотя в каждом из предшествующих конкретных вариантов осуществления заправляемая абсорбентом часть 402 предназначена для топливного блока 20, она может быть предусмотрена и в модуле 10 для выработки энергии, если количество образующегося карбоната кальция оказывается достаточно малом.
<Средство для обнаружения остаточного количества>
Далее, со ссылками на чертежи, будет приведено описание средства для обнаружения остаточного количества топлива для выработки энергии, которое применимо к системе электропитания в соответствии с каждым из вариантов осуществления.
На фиг. 59 представлена блок-схема, показывающая вариант осуществления средства для обнаружения остаточного количества, которое применимо к системе электропитания в соответствии с настоящим изобретением. Кроме того, на фиг. 60 представлено изображение, иллюстрирующее состояние работы в режиме запуска системы электропитания в соответствии с этим вариантом осуществления; на фиг. 61 представлено изображение, иллюстрирующее состояние работы в установившемся режиме системы электропитания в соответствии с этим вариантом осуществления; и на фиг. 62 представлено изображение, иллюстрирующее состояние работы в режиме остановки системы электропитания в соответствии с этим конкретным вариантом осуществления. Аналогично вариантам осуществления со второго по четвертый, описание будет приведено применительно к случаю, в котором осуществляется передача предварительно определенной информации между системой электропитания и устройством, с которым эта система электропитания соединена. Вместе с тем, возможно применение конструкции, в которой никакая передача специально предоставляемой информации между системой электропитания и устройством не производится (конструкция, показанная в первом варианте осуществления). Кроме того, те же самые позиции обозначают элементы, эквивалентные элементам, описанным в каждом из вариантов осуществления, что позволяет упростить или опустить их пояснение.
Как показано на фиг. 59, в случае модуля 10F для выработки энергии, топливного блока 20F и СОПР-части 30F, имеющих конструкцию и функции, аналогичные их конструкции и функциям в вышеописанных вариантах осуществления, средство для обнаружения остаточного количества, применимое к системе электропитания в соответствии с настоящим изобретением, имеет конструкцию, в которой часть 18 для обнаружения остаточного количества, предназначенная для обнаружения количества топлива ТПЛ для выработки энергии, остающегося в топливном блоке 20F (т.е. остаточного количества), и выдачи сигнала обнаружения остаточного количества топлива в часть 13, управляющую работой, может быть установлена внутрь любого из таких блоков, как модуль 10F для выработки энергии, СОПР-часть 30F и топливный блок 20F (на рассматриваемом чертеже показана установка внутри модуля 10F для выработки энергии).
Часть 18 для обнаружения остаточного количества используется для обнаружения остаточного количества топлива ТПЛ для выработки энергии, остающегося в топливном блоке 20F. Например, когда топливо ТПЛ для выработки энергии заправлено в топливный блок 20F в жидком состоянии, остаточное количество топлива ТПЛ для выработки энергии обнаруживают, приспосабливая для этого способ измерения уровня жидкости топлива с помощью оптического датчика и т.п. или способ измерения изменения абсорбирования света (коэффициента потускнения), пропускаемого через топливо. Затем информация об остаточном количестве топлива ТПЛ для выработки энергии, обнаруженном частью 18 для обнаружения остаточного количества, направляется в часть 13, управляющую работой, в качестве сигнала обнаружения остаточного количества. На основе этого сигнала обнаружения остаточного количества, часть 13, управляющая работой, выдает сигнал управления работой, предназначенный для управления рабочим состоянием в части 12 для выработки энергии, в часть 14, управляющую выдачей, и выдает информацию, касающуюся остаточного количества топлива ТПЛ для выработки энергии, в контроллер К, включенный в состав устройства У. Следует отметить, что возбуждение части 18 для обнаружения остаточного количества осуществляется электроэнергией из части 11 субблока питания каждый раз, когда топливный блок 20F, содержащий заправленное в него топливо ТПЛ для выработки энергии, соединяют с модулем 10F для выработки энергии и СОПР-частью 30F.
В системе электропитания, имеющей такую конструкцию, в основном можно применять управление работой, эквивалентное управлению работой во втором варианте осуществления (включая случай, когда одновременно и параллельно осуществляется управление работой в первом варианте осуществления), а управление работой, присущее этому конкретному варианту осуществления и описываемое ниже, можно применять в дополнение к данному управлению.
Прежде всего, при работе в режиме запуска, сведения о которой приведены в кратком описании всей работы системы в связи с первым и вторым вариантами осуществления (см. фиг. 27 и фиг. 34), когда часть 13, управляющая работой, обнаруживает изменение напряжения питающей электроэнергии с помощью части 16, оперативно контролирующей напряжение, или когда она принимает информацию о возбуждении нагрузки, предоставляемую из контроллера К, включенного в состав устройства У, и посылает запрос о подаче электроэнергии, эта часть 13, управляющая работой, основывает свои действия на сигнале обнаружения остаточного количества, поступающем из части 18 для обнаружения остаточного количества, и перед выдачей в часть 15, управляющую запуском, сигнала управления работой, предназначенного для запуска части 12 для выработки энергии, делает вывод о том, является ли остающееся перед работой количество топлива ТПЛ для выработки энергии достаточным для нормального запуска части 12 для выработки энергии (этапы Э104 или Э204).
Когда часть 13, управляющая работой, на основе сигнала обнаружения остаточного количества определяет, что в топливном блоке 20F остается количество топлива для выработки энергии, достаточное для работы в режиме запуска части 12 для выработки энергии, эта часть 13, управляющая энергией, выполняет работу в режиме запуска (этапы Э104–Э106 или Э204–Э206), описанную в связи с первым или вторым вариантом осуществления, вырабатывает электроэнергию возбуждения нагрузки посредством части 12 для выработки энергии, а также обеспечивает возможность подачи предварительно определенной электроэнергии в устройство У.
С другой стороны, как показано на фиг. 60, когда часть 13, управляющая работой, на основе сигнала обнаружения остаточного количества (когда она обнаруживает ошибку остаточного количества) определяет, что в топливном блоке 20F остается количество топлива для выработки энергии, достаточное для работы в режиме запуска, эта часть 13, управляющая энергией, выдает в контроллер К, включенный в состав устройства У, через часть ЭЛх, содержащую электрические выводы, сигнал ошибки запуска на основе ошибки остаточного количества в качестве информации о работе в режиме выработки энергии. В результате, контроллер К может предоставить пользователю устройства У информацию, касающуюся ошибки остаточного количества и предписывающую проведение надлежащей работы, например, замены системы электропитания или пополнения топлива для выработки энергии.
Далее, при работе в установившемся режиме, сведения о которой приведены в кратком описании всей работы системы в связи с первым и вторым вариантами осуществления (см. фиг. 27 и фиг. 34), как показано на фиг. 61, часть 13, управляющая работой, может последовательно оперативно контролировать сигнал обнаружения остаточного количества (остаточное количество), обнаруживаемого посредством части 18 для определения остаточного количества, и предоставляет через часть ЭЛх, содержащую электрические выводы, в контроллер К, включенный в состав устройства У, сигнал информации об остаточном количестве, характеризующий, например, предполагаемое остающееся время, за которое в качестве информации о работе в режиме выработки энергии можно выдать в контроллер К, включенный в состав устройства У, информацию о самих фактических данных об остаточном количестве, информацию о доле остаточного количества (в исходном количестве) или информацию об электроэнергии.
Как показано на фиг. 61, часть 13, управляющая работой, может выдавать в часть 14, управляющую выдачей, например, сигнал управления работой, предназначенный для управления объемом выработки электроэнергии в части 12 для выработки энергии в соответствии с остаточным количеством топлива ТПЛ для выработки энергии, обнаруженным посредством части 18 для обнаружения остаточного количества, регулировать количество топлива для выработки энергии, подаваемое в часть 12 для выработки энергии, обеспечивая при этом уменьшение подачи по мере уменьшения остаточного количества топлива ТПЛ для выработки энергии, и управлять, обеспечивая постепенное изменение (уменьшение) во времени, электроэнергией возбуждения нагрузки (по существу, напряжением питающей электроэнергии, подаваемой в устройство У), вырабатываемой частью 12 для выработки энергии.
Следовательно, контроллер К может точно устанавливать остаточное количество топлива для выработки энергии в системе электропитания, или предполагаемое время, в течение которого обеспечивается возбуждение устройства У, на основе сигнала информации об остаточном количестве или изменения напряжения питающей электроэнергии, и предоставлять пользователю информацию, предписывающую замену системы электропитания или пополнение топлива для выработки энергии. Поэтому становится возможным, например, успешное выполнение функции уведомления пользователя об остаточном количестве топлива в источнике тока на основе выходного напряжения, выдаваемого из источника питания, или собственно остаточного количества топлива в источнике тока, вследствие чего оказывается возможной реализация полезного соответствия, эквивалентного тому, которое имеет место в случае применения химического источника тока для запитывания устройства рабочей электроэнергией.
В процессе этой работы в установившемся режиме, когда часть 13, управляющая работой, обнаруживает ошибку остаточного количества, характеризуемую, например, внезапным падением остаточного количества топлива ТПЛ для выработки энергии и получаемую из части 18 для обнаружения остаточного количества во время осуществления управления с обратной связью по питающей электроэнергии (электроэнергии возбуждения нагрузки, вырабатываемую частью 12 для выработки энергии), как показано на фиг. 62, эта часть 13, управляющая работой, отключает подачу топлива для выработки энергии в часть 12 для выработки энергии и останавливает работу в режиме выработки энергии части 12 для выработки энергии, выдавая в часть 14, управляющую выдачей, в качестве информации о работе в режиме выработки энергии сигнал управления работой, предназначенный для остановки выработки электроэнергии в части 12 для выработки энергии. Кроме того, часть 13, управляющая работой, останавливает нагревание посредством нагревателя для проведения эндоэргической реакции для образования водорода и предоставляет через часть ЭЛх, содержащую электрические выводы в контроллер К, включенный в состав устройства У, в качестве информации о работе в режиме выработки энергии сигнал аномальной остановки на основе ошибки остаточного количества или сигнал остановки работы в части 12 для выработки энергии. В результате, контроллер К может предоставить пользователю устройства У информацию, касающуюся остановки работы, обусловленную ошибкой остаточного количества, и предписать принятие соответствующих мер при появлении утечки и т.п. топлива ТПЛ для выработки энергии из топливного блока наружу из системы 301 электропитания.
Далее будет приведено описание конструкции каждого блока.
[Пятый конкретный вариант осуществления]
(А) Модуль 10 для выработки энергии
Далее, со ссылками на фиг. 63, будет приведено описание пятого варианта осуществления модуля для выработки энергии, применимого к системе электропитания в соответствии с настоящим изобретением. В нижеследующем тексте те же самые позиции обозначают элементы, эквивалентные элементам, описанным в связи с первым вариантом осуществления, что позволяет упростить или опустить их пояснение.
Модулю 10G для выработки энергии, соответствующему этому варианту осуществления, придана такая конфигурация, при которой он в основном включает: часть 11 субблока питания (второе средство электропитания), которая постоянно автономно вырабатывает предварительно определенную энергию (вторую электроэнергию) путем использования топлива для выработки энергии, подаваемого из топливного блока 20G через СОПР-часть 30G, и выдает эту электроэнергию в качестве, по меньшей мере, электроэнергии возбуждения (электроэнергии контроллера) для контроллера К, включенного в состав устройства У, соединенном с системой 301 электропитания, и управляющего возбуждением нагрузки Н (элемента или модуля, выполняющего функции различных видов для устройства У), и рабочей электроэнергии для описываемой ниже части 13, управляющей работой, которая расположена в модуле 10G для выработки энергии; часть 13, управляющую работой, работающую за счет использования электроэнергии, подаваемой из части 11 субблока питания, и управляющую рабочим состоянием всей системы 301 электропитания;
часть 12 для выработки энергии (первое средство электропитания), которая вырабатывает предварительно определенную электроэнергию (первую электроэнергию) за счет использования топлива для выработки энергии, подаваемого из топливного блока 20G через СОПР-часть 30G, или заданного компонента топлива, выделяемого из топлива для выработки энергии, и выдает эту электроэнергию в качестве, по меньшей мере, электроэнергии возбуждения нагрузки для возбуждения различных видов функций (нагрузки Н) устройства У, соединенного с системой 301 электропитания; часть 14, управляющую выдачей, которая управляет, по меньшей мере, количеством топлива для выработки энергии, подаваемого в часть 12 для выработки энергии, и/или количеством электроэнергии, подаваемой на основании сигнала управления работой из части 13, управляющей работой; и часть 15, управляющую запуском, которая управляет, по меньшей мере, частью 12 для выработки энергии, переводя ее из режима ожидания в режим работы, обеспечивающий выработку энергии, на основании сигнала управления работой из части 13, управляющей работой. Часть 13, управляющая работой, часть 14, управляющая выдачей, и часть 15, управляющая запуском, в соответствии с этим вариантом осуществления образуют средство управления системой в настоящем изобретении.
Модуль 10G для выработки энергии имеет конструкцию, в которой часть 18 для обнаружения остаточного количества, предназначенная для обнаружения количества топлива ТПЛ для выработки энергии, остающегося в топливном блоке 20G (т.е. остаточного количества), и выдачи сигнала обнаружения остаточного количества топлива в часть 13, управляющую работой, установлена внутри любого из таких блоков, как модуль 10G для выработки энергии, СОПР-часть 30G и топливный блок 20G (на рассматриваемом чертеже показана установка внутри модуля 10G для выработки энергии).
То есть, системе 301 электропитания в соответствии с этим конкретным вариантом осуществления придана конфигурация, обеспечивающая возможность выдачи предварительно определенной электроэнергии (электроэнергии возбуждения нагрузки) в устройство У, соединенное с системой 301 электропитания, вне зависимости от особенностей подачи топлива извне (т.е. не из модуля 10G для выработки энергии, топливного блока 20G и СОПР-части 30G) системы или управления этим топливом.
<Часть 11 субблока питания в пятом конкретном варианте осуществления>
Как показано на фиг. 63, части 11 субблока питания, применимой к модулю для выработки энергии в соответствии с этим вариантом осуществления, придана конфигурация, обеспечивающая всегда автономную выработку предварительно определенной электроэнергии (второй электроэнергии), необходимой для работы в режиме запуска системы 301 электропитания, за счет использования физической или химической энергии и т.п. топлива ТПЛ для выработки энергии, подаваемого из топливного блока 20G. Также следует отметить, что эта электроэнергия в основном состоит из электроэнергии возбуждения (электроэнергии контроллера) для контроллера К, который включен в состав устройства У и управляет его состоянием, электроэнергии ЭЭ1, которая постоянно подается в качестве рабочей электроэнергии для части 13, управляющей работой, которая управляет рабочим состоянием всего модуля 10G для выработки энергии, и энергии ЭЭ2, которая во время запуска модуля 10G для выработки энергии подается в качестве электроэнергии запуска (напряжения и электрического тока), по меньшей мере, в часть 14, управляющую выдачей (в зависимости от конструкций, а сказанное можно отнести и к части 12 для регулирования энергии), часть 15, управляющую запуском, и часть 18 для обнаружения остаточного количества. Следует отметить, что возможна конфигурация, при которой электроэнергию, которая может быть рабочей электроэнергией для части 18 для обнаружения остаточного количества, можно подавать после запуска модуля 10G для выработки энергии, делая это посредством части 15, управляющей запуском, а также можно подавать постоянно.
В качестве конструкции части 11 субблока питания, можно применить, например, конструкцию, в которой используется химическая реакция с потреблением топлива ТПЛ для выработки энергии, подаваемого из топливного блока 20А (топливного элемента), или конструкцию, в которой используется тепловая энергия, обусловленная реакцией каталитического горения (выработка энергии за счет разности температур). Кроме того, можно применить: конструкцию, в которой используется воздействие динамического преобразования энергии и т.п., обеспечивающее вращение электрогенератора за счет использования приложенного давления топлива ТПЛ для выработки энергии, заключенного в топливном блоке 20G, или давления газа, создаваемого за счет испарения топлива, и выработку электроэнергии (выработка энергии посредством газовой турбины); конструкцию, которая захватывает электроны, образующиеся за счет метаболизма (фотосинтеза, дыхания и т.п.), вызываемого микробами, источником питания для которых является топливо ТПЛ для выработки энергии, и осуществляет прямую конверсию его в электроэнергию (выработка биохимической энергии); конструкцию, которая преобразует энергию колебаний, вырабатываемую за счет энергии топлива, имеющейся у топлива ТПЛ для выработки энергии, на основе давления заправленного топлива или давления газа, в электроэнергию за счет использования принципа электромагнитной индукции (выработка энергии колебаний); конструкцию, в которой используется разряд из блока средств накопления и хранения электроэнергии, таких, как вторичный источник тока (зарядный блок) или конденсатор; конструкцию, которая накапливает и сохраняет электроэнергию, вырабатываемую каждой составной частью, осуществляющей выработку энергии и подачу ее в средства накопления и хранения электроэнергии (например, во вторичный источник тока, конденсатор), и испускает (разряжает) энергию; а также другие конструкции.
<Краткое описание всей работы в целом
согласно пятому варианту осуществления>
Далее, со ссылками на чертежи, будет приведено краткое описание всей работы системы электропитания, имеющей вышеописанную конструкцию, в целом.
На фиг. 64 представлен алгоритм, условно иллюстрирующий работу системы электропитания. В данном случае, описание будет приведено применительно к конструкции вышеописанной системы (фиг. 63).
Как показано на фиг. 64, управление системой 301 электропитания, имеющей конструкцию в соответствии с этим конкретным вариантом осуществления, проводится в основном для выполнения: работы в начальном режиме (этапы Э101 и Э102) для подачи топлива ТПЛ для выработки энергии, заправленного в топливный блок 20, в модуль 10 для выработки энергии, а также постоянной и непрерывной выработки электроэнергии (второй электроэнергии), которая может быть рабочей электроэнергией и электроэнергией контроллера, в части 11 субблока питания;
работы в режиме запуска (этапы Э103-Э106) для подачи топлива ТПЛ для выработки энергии, заправленного в топливный блок 20, в часть 12 для выработки энергии на основе остаточного количества топлива для выработки энергии в топливном блоке 20, возбуждения нагрузки Н в устройстве У, а также выработки и выдачи электроэнергии (первой электроэнергии), которая может быть электроэнергией возбуждения нагрузки; работы в установившемся режиме (этапы Э109-Э113) для регулирования количества топлива ТПЛ для выработки энергии, подаваемого в часть 12 для выработки энергии, на основе изменения состояния возбуждения нагрузки Н, и осуществления управления с обратной связью для выработки и выдачи электроэнергии в соответствии с состоянием возбуждения нагрузки; и работы в режиме остановки (этапы Э111-Э114) для отключения подачи топлива ТПЛ для выработки энергии в часть 12 для выработки энергии на основе отключения нагрузки Н и остановки выработки электроэнергии. В результате, можно реализовать систему электропитания, применимую даже в уже существующем устройстве У.
(А) Работа в начальном режиме согласно пятому варианту осуществления
Прежде всего следует отметить, что при работе в начальном режиме, в системе электропитания, в которой модуль 10 для выработки энергии и топливный блок 20 объединены друг с другом посредством СОПР-части 30, например, за счет отключения состояния перекрытия канала подачи топлива СОПР-части 30 в момент, например, подсоединения к устройству, топливо для выработки энергии, заправленное в топливный блок 20, перемещается в канале подачи топлива вследствие явления капиллярности, характерного для канала подачи топлива, и автоматически подается в часть 11 субблока питания модуля 10 для выработки энергии (этап Э101). В части 11 субблока питания автономно вырабатывается, а также постоянно и непрерывно выдается, по меньшей мере, электроэнергия (вторая электроэнергия), которая может быть рабочей электроэнергией части 13, управляющей работой, и электроэнергией возбуждения (электроэнергией контроллера), предназначенной для контроллера К, включенного в состав устройства У (в течение того времени, когда система электропитания соединена с устройством, выдается только электроэнергия, которая может быть рабочей электроэнергией для части 13, управляющей работой, и части 18 для обнаружения остаточного количества) (этап Э102).
С другой стороны, в системе электропитания, конфигурация которой такова, что модуль 10 для выработки энергии и топливный блок 20 можно соединять и разъединять без каких-либо ограничений, соединяя топливный блок 20 с модулем 10 для выработки энергии посредством СОПР-части 30, отключается функция предотвращения утечки, которой обладает средство для предотвращения утечки топлива, предусмотренное для топливного блока 20, и топливо для выработки энергии, заправленное в топливный блок 20, перемещается в канале подачи топлива вследствие явления капиллярности, характерного для канала подачи топлива, и автоматически подается в часть 11 субблока питания модуля 10 для выработки энергии (этап Э101). В части 11 субблока питания автономно вырабатывается и постоянно и непрерывно выдается электроэнергия (вторая электроэнергия), которая может быть, по меньшей мере, рабочей электроэнергией и электроэнергией контроллера (в течение того времени, когда система электропитания соединена с устройством, выдается только электроэнергия, которая может быть рабочей электроэнергией для части 13, управляющей работой, и части 16 для обнаружения остаточного количества) (этап Э102).
В результате, часть 13, управляющая работой, и часть 16 для обнаружения остаточного количества приводятся в действие и оперативно контролируют информацию о возбуждении нагрузки, поступающую из устройства У, и сигнал обнаружения остаточного количества, поступающий из части 16 для обнаружения остаточного количества. Кроме того, когда система электропитания соединена с устройством У, некоторое количество электроэнергии, вырабатываемой частью 11 субблока питания, подается в качестве электроэнергии контроллера в контроллер К, включенный в состав устройства У, и происходит возбуждение этого контроллера К с обеспечением управления возбуждением нагрузки Н устройства У. Кроме того, в часть 13, управляющую работой, системы 301 электропитания (модуля 10 выработки энергии) поступает информация о возбуждении нагрузки.
(В) Работа в режиме запуска согласно первому варианту осуществления
После этого, при работе в режиме запуска, когда пользователь и т.п. устройства У осуществляет возбуждение нагрузки Н, из контроллера К в качестве информации о возбуждении нагрузки выдается сигнал запроса о подаче электроэнергии, посредством которого запрашивают о подаче электроэнергии (первой электроэнергии), которая может быть электроэнергией возбуждения нагрузки для части 13, управляющей работой, модуля 10 для выработки энергии. После получения информации о возбуждении нагрузки с указанием смещения напряжения, подаваемого через часть ЭЛх, содержащую электрические выводы, системы 301 электропитания (этап Э203), часть 13, управляющая работой, по сигналу обнаружения остаточного количества, выдаваемому из части 16 для обнаружения остаточного количества, обращается к данным об остаточном количестве топлива ТПЛ для выработки энергии и делает вывод о том, имеется количество топлива ТПЛ для выработки энергии, достаточное для нормального выполнения работы в режиме запуска (этап Э104), или нет, перед работой в режиме запуска модуля 10 для выработки энергии.
В данном случае, когда обнаруживается ошибка остаточного количества топлива ТПЛ для выработки энергии (например, когда это остаточное количество равно нулю), часть 13, управляющая работой, выдает информацию об остаточном количестве топлива, касающуюся ошибки остаточного количества, в контроллер К устройства У, уведомляет пользователя устройства У об этой ошибке и останавливает работу в режиме запуска. С другой стороны, когда определено, что в топливном блоке 20 остается достаточное количество топлива, часть 13, управляющая работой, выдает в часть 15, управляющую запуском, сигнал управления работой, предназначенный для начала (запуска) работы в режиме выработки энергии в части 12 для выработки энергии (этап Э105).
На основе сигнала управления работой, поступающего из части 13, управляющей работой, и за счет подачи некоторой доли электроэнергии, вырабатываемой частью 11 субблока питания, в качестве электроэнергии запуска в часть 14, управляющую выдачей, и часть 12 для выработки энергии (этап Э106), часть 15, управляющая запуском, подает топливо ТПЛ для выработки энергии, заправленное в топливный блок 20, в часть 12 для выработки энергии через часть 14, управляющую выдачей, и выполняет работу по выработке электроэнергии (первой электроэнергии), которая может быть электроэнергией возбуждения нагрузки, и выдает ее в устройство У (на нагрузку Н) (этап Э107). В результате, после получения топлива для выработки энергии, часть 12 для выработки энергии автоматически запускается в ответ на запрос о возбуждении нагрузки Н в устройстве У, и подается электроэнергия возбуждения нагрузки, обуславливающая предварительно определенное выходное напряжение. Следовательно, можно осуществить возбуждение нагрузки при одновременной реализации характеристики электроэнергии, эквивалентной характеристике электроэнергии химического источника тока общего назначения.
Для такой работы в режиме запуска, части 13, управляющей работой, можно придать конфигурацию, обеспечивающую оперативный контроль изменения напряжения электроэнергии (электроэнергии возбуждения нагрузки), вырабатываемой частью 12 для выработки энергии и подаваемой в устройство У либо в качестве информации о возбуждении нагрузки, либо в качестве сигнала об окончании запуска, указывающего контроллеру К устройства У, что достигнуто предварительно определенное напряжение. Следовательно, на основе значения напряжения электроэнергии возбуждения нагрузки, предлагаемое изобретение можно применять в качестве такого источника питания для устройства У, который имеет конструкцию, позволяющую управлять состоянием возбуждения нагрузки Н.
(С) Работа в установившемся режиме
согласно пятому варианту осуществления
При работе в установившемся режиме, проводимой после работы в режиме запуска, в качестве меры общего управления (управления напряжением, изменяющимся во времени), принимаемой для выходного напряжения электроэнергии возбуждения нагрузки и реализуемой до тех пор, пока часть 13, управляющая работой, не перейдет к работе в режиме остановки, основываясь, например, на остановке нагрузки Н, эта часть 13, управляющая работой, постоянно или периодически обнаруживает сигнал обнаружения остаточного количества, поступающий из части 16 для обнаружения остаточного количества, и оперативно контролирует данные остаточного количества топлива ТПЛ для выработки энергии (этап Э109), обращается к предварительно определенной таблице корреляции, в которой корреляция между остаточным количеством топлива для выработки энергии и выходным напряжением определена на основе данных об остаточном количестве (этап Э110), и выдает в часть 14, управляющую выдачей, сигнал управления работой, предназначенный для управления количеством электроэнергии (объемом выработки энергии), вырабатываемой в части 12 для выработки энергии, таким образом, что электроэнергия изменяется в соответствии с предварительно определенной характеристикой выходного напряжения (этап Э111).
Обращаясь к таблице корреляции, часть 13, управляющая работой, выдает сигнал управления работой, предназначенный для управления таким образом, что выходное напряжение электроэнергии возбуждения нагрузки, выдаваемой из модуля 10 для выработки энергии, изменяется, определяя характеристику выходного напряжения, эквивалентную, например, тенденции изменения напряжения во времени в одном типе химических источников тока общего назначения (например, в марганцевом элементе, щелочном элементе, кнопочном щелочном элементе, монетообразном литиевом элементе, и других). В этот момент, часть 13, управляющая работой, выдает в контроллер К, включенный в состав устройства У, данные об остаточном количестве или долю остаточного количества или оцененное остающееся время, в течение которого можно выдавать электроэнергию, в качестве информации об остаточном количестве топлива.
На основе сигнала управления работой, поступающего из части 13, управляющей работой, часть 14, управляющая выдачей, регулирует количество топлива ТПЛ для выработки энергии, подаваемого в часть 12 для выработки энергии (этап Э112), и осуществляет управление таким образом, что выходное напряжение электроэнергии возбуждения нагрузки, подаваемой в устройство У, можно установить равным напряжению, соответствующему характеристике выходного напряжения (этап Э113). В результате, поскольку выходное напряжение электроэнергии возбуждения нагрузки, подаваемой из системы 301 электропитания в устройство У, показывает тенденцию изменений во времени, эквивалентную соответствующей тенденции химического источника тока общего назначения, функция уведомления о существующем остаточном количестве, которой наделен контроллер К, включенный в состав устройства У, может быть выполнена на основе выходного напряжения или информации об остаточном количестве, и пользователь устройства У может периодически или непрерывно получать информацию об остаточном количестве топлива в источнике тока или об оцененном времени, в течение которого можно обеспечить возбуждение нагрузки.
Далее, в рамках частичного управления выходным напряжением электроэнергии возбуждения нагрузки (т.е. индивидуального управления напряжением), помимо общего управления, часть 13, управляющая работой, может воспринимать изменение выходного напряжения электроэнергии возбуждения нагрузки, подаваемой из части 12 для выработки энергии в устройство У, в качестве информации о возбуждении нагрузки, и выдавать в часть 14, управляющую выдачей, сигнал управления работой, предназначенный для управления количеством электроэнергии (объемом выработки энергии), вырабатываемой в части 12 для выработки энергии, таким образом, что выходное напряжение электроэнергии возбуждения нагрузки может оказаться в предварительно определенном диапазоне напряжения (допустимом диапазоне флуктуации выходного напряжения, которое изменяется в соответствии с характеристикой выходного напряжения в источнике тока общего назначения). В результате, часть 14, управляющая выдачей, регулирует количество топлива ТПЛ для выработки энергии, подаваемого в часть 12 для выработки энергии, на основе сигнала управления работой, поступающего из части 13, управляющей работой, и управление с обратной связью осуществляется таким образом, что выходное напряжение электроэнергии возбуждения нагрузки, подаваемой в устройство У, может оказаться в необходимом диапазоне напряжения. Следовательно, даже если напряжение электроэнергии возбуждения нагрузки изменяется ввиду изменения состояния возбуждения (состояния нагрузки), характерного для нагрузки Н на стороне устройства У, то возможна подача электроэнергии в соответствии с энергопотреблением устройства У, которое изменяется с изменением возбуждения нагрузки Н.
Кроме того, если контроллер К устройства У определяет состояние возбуждения нагрузки Н, и предусмотрена функция запроса о подаче электроэнергии в соответствии с состоянием возбуждения со стороны системы электропитания, часть 13, управляющая работой, может, в качестве меры дополнительного частичного управления выходным напряжением электроэнергии возбуждения нагрузки, принимать сигнал запроса об изменении электроэнергии из контроллера К в качестве информации о возбуждении нагрузки и выдавать в часть 14, управляющую выдачей, сигнал управления работой, предназначенный для задания электроэнергии, вырабатываемой частью 12 для выработки энергии, которая обеспечит выходное напряжение, соответствующее запросу. В результате, на основе сигнала управления работой, поступающего из части 13, управляющей работой, часть 14, управляющая выдачей, регулирует количество топлива ТПЛ для выработки энергии, подаваемого в часть 12 для выработки энергии, при этом управление осуществляется таким образом, что выходное напряжение электроэнергии возбуждения нагрузки можно задать равным напряжению, соответствующему запросу, и можно подавать электроэнергию в соответствии с состоянием возбуждения (состоянием нагрузки), характерным для нагрузки Н на стороне устройства У. Следовательно, можно в значительной степени подавить изменения напряжения электроэнергии возбуждения нагрузки, обусловленные изменениями состояния возбуждения нагрузки Н на стороне устройства У, и не допустить появления ошибок во время работы в устройстве У.
Далее будет приведено более подробное описание характеристики выходного напряжения, применимой к общему управлению выходным напряжением электроэнергии возбуждения нагрузки.
На фиг. 65 представлено изображение характеристики, которое иллюстрирует изменения во времени выходного напряжения системы электропитания в соответствии с этим вариантом осуществления. Приводимое ниже описание будет основано на сравнении характеристик электродвижущей силы химического источника общего назначения и известного топливного элемента, а также будут сделаны ссылки на систему электропитания (фиг. 63).
Как показано на фиг. 65, по поводу характеристики выходного напряжения (которая для удобства пояснения будет именоваться “первой характеристикой Sa выходного напряжения”) в системе электропитания, соответствующей этому варианту осуществления, необходимо отметить, что управление выходным напряжением осуществляется таким образом, что определяется тенденция изменений, по существу, эквивалентная тенденции изменений во времени выходного напряжения, обуславливаемой разрядом в химическом источнике тока общего назначения. То есть управление (с целью уменьшения), по меньшей мере, количеством топлива ТПЛ для выработки энергии, подаваемого в часть 12 для выработки энергии, осуществляется таким образом, что состояние выработки энергии в части 12 для выработки энергии модуля 10 для выработки энергии можно постепенно сводить на нет по истечении времени, обусловленного разрядом (иными словами, количеством жидкого топлива в топливном блоке 20).
В частности, по поводу способа управления выходным напряжением в соответствии с этим вариантом осуществления, необходимо отметить, что количество топлива ТПЛ для выработки энергии, остающееся в топливном блоке 20, сначала обнаруживается частью 16 для обнаружения остаточного количества, и в часть 13, управляющую работой, постоянно (непрерывно) или периодически вводится сигнал обнаружения остаточного количества топлива. Однако в данном случае остаточное количество топлива ТПЛ для выработки энергии уменьшается по истечении времени, обусловленного выработкой электроэнергии в части 12 для выработки энергии, и поэтому остаточное количество топлива ТПЛ для выработки энергии и истекшее время имеют близкую корреляцию.
С другой стороны, часть 13, управляющая работой, имеет таблицу корреляции, имеющую первую характеристику Sa выходного напряжения, посредством которой корреляция между остаточным количеством топлива ТПЛ для выработки энергии и выходным напряжением определяется в соответствии с тенденцией происходящих во времени изменений выходного напряжения, обусловленных разрядом в химическом источнике тока общего назначения (в марганцевом элементе, щелочном элементе, кнопочном щелочном элементе, монетообразном литиевом элементе, и других). В результате, часть 13, управляющая работой, связывает остаточное количество топлива ТПЛ для выработки энергии, полученное посредством сигнала обнаружения остаточного количества, с истечением времени, обусловленного разрядом, определяет выходное напряжение на основе характеристической кривой (первой характеристики Sa выходного напряжения), показанной на фиг. 65, и осуществляет регулирование с обеспечением подачи топлива ТПЛ для выработки энергии, количество которого соответствует этому выходному напряжению, в часть 12 для выработки энергии. В данном случае, определение корреляции между остаточным количеством жидкого топлива и выходным напряжением означает наличие зависимости, при которой между значением выходного напряжения или значением выходной электроэнергии и остаточным количеством топлива ТПЛ для выработки энергии существует соответствие “один к одному”, как показано на фиг. 4, и это соответствие не ограничивается лишь одним вариантом, показывающим тенденцию изменений, отображаемую некоторой кривой, как показано посредством кривой на фиг. 65, а может изменяться, допуская вариант, в котором аналогичная тенденция отображается прямой линией.
Кроме того, по поводу выхода химического источника тока общего назначения следует отметить, что, поскольку смещение выходного напряжения со временем приобретает разный характер в зависимости от каждой емкости, например, батарей типоразмера D или АААА или монетообразной батареи, форму и размер системы электропитания в соответствии с этим конкретным вариантом осуществления можно согласовать с формой и размером химического источника тока общего назначения и добиться при этом соответствия стандартам на химический источник тока общего назначения, как будет описано ниже, а таблицу корреляции (характеристику выходного напряжения) можно задать таким образом, что выходное напряжение, соответствующее остаточному количеству топлива ТПЛ для выработки энергии, окажется равным, приближающимся к или аналогичным выходному напряжению, соответствующему остальному сроку службы химического источника тока того же типа. Поэтому, например, траекторию происходящих во времени изменений выходного напряжения содержащей топливо системы электропитания типоразмера D в соответствии с настоящим изобретением задают таким образом, что эта траектория совпадает с траекторией происходящих во времени изменений электродвижущей силы, характерных для любого из различных типов химических источников тока, таких, как марганцевый элемент типоразмера D, соответствующий ЯПС, или оказывается растянутой или суженной вдоль оси времени.
То есть, как описано выше, хотя остаточное количество топлива ТПЛ для выработки энергии и истекшее время имеют близкую корреляцию, эта зависимость не обязательно совпадает с зависимостью между остаточным количеством материала батареи химического источника тока общего назначения и истекшим временем при зарядке. А именно, в случае применения топливного элемента и т.п. в качестве конструкции части 12 для выработки энергии, поскольку имеется характеристика, в соответствии с которой эффективность использования энергии становится выше, чем эффективность использования энергии химического источника тока общего назначения, напряжение может претерпевать количественные изменения (понижаться) за большее время, чем выходное напряжение согласно первой характеристике Sa выходного напряжения, соответствующей тенденции происходящих во времени изменений напряжения в химическом источнике тока общего назначения, что показывает, например, вторая характеристика Sb выходного напряжения на фиг. 65.
В частности, рассматривая первую характеристику Sa выходного напряжения, можно предположить, что нижним пределом рабочего диапазона гарантированного напряжения является напряжение V0, а время, необходимое для достижения напряжения V0, составляет Т0, и время, составляющее 0,5 от времени Т0, а именно, момент, когда остающаяся продолжительность достижения уменьшается вдвое, определяется как Т0,5, и напряжение в этот момент определяется как V0,5. В данном случае можно допустить, что уведомление Ia об остаточном количестве передается, когда контроллер К, включенный в состав устройства У, обнаруживает, что выходное напряжение системы электропитания достигло напряжения V0.
С другой стороны, рассматривая вторую характеристику Sb выходного напряжения, можно предположить, что, когда остаточное количество топлива ТПЛ для выработки энергии, по существу равно нулю, напряжение задается равным напряжению V0 химического источника тока, а время, необходимое для достижения напряжения V0, составляет Т0’, и время, составляющее 0,5 от времени Т0’, а именно, момент, когда остающаяся продолжительность достижения уменьшается вдвое, определяется как Т0,5’, и напряжение в этот момент задается равным напряжению V0,5 химического источника тока.
То есть, подаваемым количеством топлива ТПЛ для выработки энергии или подаваемым количеством кислорода или воздуха, задаваемым частью 14, управляющей выдачей, управляют таким образом, что напряжение, выдаваемое из модуля 10 для выработки энергии, когда остаточное количество топлива ТПЛ для выработки энергии, заправленного в топливный блок 20, уменьшается вдвое, равно напряжению, когда остаточная величина электродвижущей силы в рабочем диапазоне гарантированного напряжения химического источника тока общего назначения уменьшается вдвое, а напряжение в случае, когда остаточное количество топлива ТПЛ для выработки энергии, по существу, равно нулю, равно напряжению в случае, когда остаточная величина электродвижущей силы в рабочем диапазоне гарантированного напряжения химического источника тока общего назначения, по существу, равно нулю.
Как описано выше, в случаях, если система электропитания, соответствующая этому варианту осуществления, применяется в качестве источника питания устройства У, когда выходное напряжение, определяемое на основе остаточного количества топлива ТПЛ для выработки энергии, достигает напряжения, которое ниже рабочего диапазона гарантированного напряжения устройства У независимо от истекшего времени, обусловленного разрядом, устройство У выдает уведомление Ib об остаточном количестве для замены или зарядки источника тока, и это время не обязательно совпадает с временем уведомления Iа об остаточном количестве при использовании химического источника тока общего назначения.
Следовательно, продолжительность Т0’ срока службы (момент времени, когда выходное напряжение становится ниже нижнего предела рабочего диапазона гарантированного напряжения устройства У при уменьшении количества топлива ТПЛ для выработки энергии) системы электропитания, соответствующей этому варианту осуществления, не обязательно совпадает с продолжительностью Т0 срока службы химического источника тока общего назначения, и может оказаться удовлетворительной такая характеристика выходного напряжения, зависящего от времени, при которой траектория вдоль оси времени, Т, растянута или сжата. При этом, часть 16 для обнаружения остаточного количества может обнаруживать минутное остаточное количество топлива ТПЛ для выработки энергии, например, когда остаточное количество составляет 33% или 25%, при этом обнаружение не ограничивается лишь моментами, когда остаточное количество топлива ТПЛ для выработки энергии уменьшается вдвое или становится, по существу, равным нулю. В любом случае, достаточно задать выходное напряжение, которое, по существу, совпадает с выходным напряжением, соответствующим остаточной величине электродвижущей силы химического источника тока.
В соответствии с системой электропитания, имеющей такую характеристику выходного напряжения, поскольку выходное напряжение системы электропитания показывает тенденцию изменений во времени, эквивалентную тенденции изменений во времени в химическом источнике тока общего назначения, применяемом для выработки рабочей электроэнергии для существующего устройства У, когда функция уведомления о существующем остаточном количестве определяется путем обнаружения изменения этого выходного напряжения посредством контроллера К, предусмотренного в устройстве У, можно периодически или непрерывно отображать на индикаторе остаточное количество материала источника тока или оцененное время, в течение которого возможно возбуждение устройства У, или это устройство У может точно уведомлять об остаточном количестве для инициирования замены или зарядки источника тока, когда достигается напряжение, которое ниже рабочего диапазона гарантированного напряжения.
Помимо этого, как будет описано ниже, когда система электропитания (модуль выработки энергии) в соответствии с этим вариантом осуществления встроена в небольшое пространство за счет применения технологии производства микромашин, имеет уменьшенные габариты и массу, а также конфигурацию, обеспечивающую внешнюю форму или размеры, эквивалентные внешней форме и размерам поставляемого в промышленных масштабах химического источника тока, существует возможность реализации полной совместимости с этим поставляемым в промышленных масштабах химическим источником тока по внешней форме и характеристике напряжения, а также дополнительной рекламе предлагаемого технического решения на существующем рынке сбыта источников тока. В результате, поскольку систему электропитания, такую, как топливный элемент, имеющий высокую эффективность использования энергии, можно реализовать вместо существующего химического источника тока, создающего массу проблем, связанных с вопросами окружающей среды или эффективностью использования энергии, можно эффективно использовать энергетический ресурс, одновременно подавляя негативное влияние на окружающую среду.
(D) Работа в режиме остановки согласно
пятому варианту осуществления
При работе в установившемся режиме, когда часть 13, управляющая работой, принимает информацию о возбуждении нагрузки, касающуюся остановки нагрузки Н (этап Э108), она выдает в часть 14, управляющую выдачей, сигнал управления работой, предназначенный для остановки выработки электроэнергии в части 12 для выработки энергии (этап Э114). На основе сигнала управления работой, поступающего из части 13, управляющей работой, часть 14, управляющая выдачей, отключает подачу топлива ТПЛ для выработки энергии в часть 12 для выработки энергии (этап Э115), останавливает работу части 12 для выработки энергии (этап Э116) и останавливает подачу электроэнергии возбуждения нагрузки в устройство У.
В частности, даже если при работе в установившемся режиме осуществляется управление с обратной связью, когда часть 13, управляющая работой, непрерывно обнаруживает в течение предварительно определенного времени состояние, в котором выходное напряжение электроэнергии возбуждения нагрузки, подаваемое в устройство У, отклоняется от предварительно определенного диапазона напряжения, часть 13, управляющая работой, обрабатывает ошибку выходного напряжения как информацию о возбуждении нагрузки и выдает в часть 14, управляющую выдачей, сигнал управления работой, предназначенный для остановки выработки электроэнергии в части 12 для выработки электроэнергии.
То есть, когда пользователь устройства У проводит операцию остановки нагрузки Н, или когда нагрузку Н отключают путем извлечения системы 301 электропитания из устройства У, даже если в процессе работы в установившемся режиме осуществляется управление с обратной связью и т.п. для задания выходного напряжения электроэнергии возбуждения нагрузки в пределах предварительно определенного диапазона напряжения, выходное напряжение отклоняется от предварительно определенного диапазона напряжения электроэнергии возбуждения нагрузки. Следовательно, когда часть 13, управляющая работой, непрерывно обнаруживает такое состояние дольше предварительно определенного времени, она определяет, что нагрузка Н устройства У остановлена или ее действие прекратилось и останавливает выработку электроэнергии в части 12 для выработки электроэнергии.
Помимо этого, когда контроллер К устройства У определяет остановленное состояние нагрузки Н и предусмотрена функция запроса об остановке подачи электроэнергии на сторону системы электропитания, часть 13, управляющая работой, принимает сигнал запроса об остановке подачи электроэнергии из контролера К в качестве информации о возбуждении нагрузки и выдает в часть 14, управляющую выдачей, сигнал управления работой, предназначенный для остановки выработки электроэнергии в части 12 для выработки энергии.
В результате, поскольку в связи с остановкой и т.п. нагрузки Н в устройстве У подача топлива ТПЛ для выработки энергии прерывается, а также автоматически отключается часть 12 для выработки энергии, можно реализовать характеристику электроэнергии, по существу, эквивалентную характеристике электроэнергии химического источника тока общего назначения, одновременно обеспечивая эффективное расходование топлива ТПЛ для выработки энергии.
Кроме того, когда часть 16 для обнаружения остаточного количества обнаруживает ошибку остаточного количества, такую, как внезапное уменьшение остаточного количества топлива ТПЛ для выработки энергии, часть 13, управляющая работой, может выдавать в часть 14, управляющую выдачей, сигнал управления работой, предназначенный для остановки выработки электроэнергии в части 12 для выработки энергии на основании сигнала обнаружения, касающегося ошибки остаточного количества, останавливать работу в режиме выработки энергии в части 12 для выработки энергии, а также выдавать информацию, касающуюся ошибки остаточного количества, в контроллер К, включенный в состав устройства У, так что обеспечивается возможность сообщения этой информации пользователю устройства У. В результате, обеспечивается возможность быстрого обнаружения аномального состояния, такого, как утечка топлива ТПЛ для выработки энергии из топливного блока 20 наружу из системы 301 электропитания, и оповещения пользователя устройства У для принятия надлежащих мер.
Кроме того, как описано выше, в соответствии с системой электропитания, соответствующей этому варианту осуществления, обеспечивается возможность управления подачей электроэнергии, которая может быть предварительно определенной подачей энергии возбуждения нагрузки, остановки подачи электроэнергии и регулирования количества вырабатываемой электроэнергии в соответствии с состоянием возбуждения (т.е. с информацией о возбуждении нагрузки), характерной для нагрузки Н, соединенной с системой электропитания, и остаточного количества топлива ТПЛ для выработки энергии без осуществления подачи топлива и т.п. снаружи системы электропитания. Поэтому можно создать систему электропитания, которая причиняет меньше вреда окружающей среде, но обеспечивает очень высокую эффективность преобразования энергии наряду с реализацией электрической характеристики, по существу, эквивалентной электрической характеристике химического источника тока общего назначения. Следовательно, взамен существующего химического источника тока, создающего массу проблем, касающихся окружающей среды или эффективности использования энергии, можно распространить на существующем рынке сбыта источников тока систему электропитания, соответствующую этому варианту осуществления. Хотя в этом конкретном варианте осуществления выходное напряжение изменяется в соответствии с остаточным количеством топлива ТПЛ для выработки энергии, настоящее изобретение не сводится только к этой реализации, и возможно изменение электрического тока с той же целью.
[Шестой вариант осуществления]
Далее, со ссылками на прилагаемые чертежи, будет приведено описание шестого варианта осуществления модуля для выработки энергии, применимого к системе электропитания в соответствии с настоящим изобретением.
На фиг. 66 представлена блок-схема, показывающая шестой вариант осуществления модуля для выработки энергии, применимого к системе электропитания в соответствии с настоящим изобретением. В нижеследующем тексте те же самые позиции обозначают элементы, эквивалентные элементам, указанным в связи с пятым вариантом осуществления, что позволяет упростить или опустить их пояснение.
Описание модуля 10G для выработки энергии, соответствующего пятому варианту осуществления, приведено применительно к конструкции, в которой топливо ТПЛ для выработки электроэнергии, используемое в части 11 субблока питания, испускается непосредственно наружу из системы 301 электропитания в виде выпускаемого газа или собирается с помощью средства сбора побочного продукта. Однако в модуле 10Н для выработки энергии, соответствующем этому варианту осуществления, когда работа в режиме выработки энергии в части 11 субблока питания не обуславливает изменение компонентов топлива ТПЛ для выработки энергии, или когда заданный компонент топлива сохраняется даже в случае, если работа обуславливает изменение компонентов, топливо ТПЛ для выработки энергии, используемое в части 11 субблока питания, непосредственно используется повторно в качестве топлива для выработки энергии в части 12 для выработки энергии или используется повторно после выделения заданного компонента топлива.
В частности, как показано на фиг. 66, модуль 10Н для выработки энергии в соответствии с этим вариантом осуществления включает: часть 11 субблока питания, часть 12 для выработки энергии, часть 13, управляющую работой, часть 14, управляющую выдачей, часть 15, управляющую запуском, и часть 16 для обнаружения остаточного количества, которые имеют конструкции и функции, аналогичные конструкциям и функциям в пятом варианте осуществления (см. фиг. 63); в частности, конфигурация модуля для выработки энергии такова, что все топливо для выработки энергии (выпускаемый газ), используемое для выработки электроэнергии в части 11 субблока питания, или часть этого топлива, можно подавать в часть 12 для выработки энергии через часть 14, управляющую выдачей, не выпуская топливо наружу из модуля 10Н для выработки энергии.
Часть 11 субблока питания, применимая этому варианту осуществления, имеет конструкцию, выполненную с возможностью выработки и выдачи предварительно определенной электроэнергии (второй электроэнергии) без расходования и преобразования компонента топлива, присутствующего в топливе ТПЛ для выработки энергии, подаваемом из топливного блока 20G через СОПР-часть 30G (например, это может быть устройство для выработки энергии, описание которого приведено во втором, третьем, пятом или седьмом примере конструкции при описании первого варианта осуществления), или конструкцию для выработки выпускаемого газа, содержащего компонент топлива, который можно использовать для работы в режиме выработки энергии в части 12 для выработки энергии, даже если компонент топлива, присутствующий в топливе ТПЛ для выработки энергии, расходуется и преобразуется (что имеет место, например, в устройстве для выработки энергии, в четвертом или шестом примере конструкции при описании первого варианта осуществления).
Кроме того, в случае, если в качестве части 12 для выработки энергии применяется устройство для выработки энергии, показанное в примерах конструкции с первого по шестой первого варианта осуществления, то в качестве топлива ТПЛ для выработки энергии, заправляемого в топливный бак 20G, применяется топливное вещество, обладающее воспламеняемостью или горючестью, например, жидкое топливо на спиртовой основе, такое, как метиловый спирт, этиловый спирт или бутиловый спирт, сжиженное топливо, представляющее собой углеводород, такой, как простой диметиловый эфир, изобутан, или газообразное топливо, такое, как газообразный водород.
Жидкое топливо или сжиженное топливо представляет собой жидкость, которую заправляют в топливный блок 20G при определенных условиях заправки (температуре, давлении, и других). Если это топливо переводится в предварительно определенные условия окружающей среды, такие, как обычная температура, обычное давление, и другие, во время подачи в часть 11 субблока питания, то возможно его испарение и превращение в топливный газ высокого давления. Кроме того, когда газообразное топливо заправляют в топливный блок 20G в состоянии сжатия посредством предварительно определенного давления, а потом подают в часть 11 субблока питания, оно становится топливным газом высокого давления в соответствии с давлением заправки. Следовательно, при наличии такого топлива ТПЛ для выработки энергии, например, после выработки электроэнергии (второй электроэнергии) путем использования энергии давления топливного газа в части 11 субблока питания, можно вырабатывать электроэнергию (первую электроэнергию) в части 12 для выработки электроэнергии за счет химической реакции, реакции горения и т.п. с использованием газа, выпускаемого из части 11 электропитания.
[Седьмой вариант осуществления]
Далее, со ссылками на прилагаемые чертежи, будет приведено описание седьмого варианта осуществления модуля для выработки энергии, применимого к системе электропитания в соответствии с настоящим изобретением.
На фиг. 67 представлена блок-схема, показывающая седьмой вариант осуществления модуля для выработки энергии, применимого к системе электропитания в соответствии с настоящим изобретением. В нижеследующем тексте те же самые позиции обозначают элементы, эквивалентные элементам, описанным в связи с первым вариантом осуществления, что позволяет упростить или опустить их пояснение.
Описание модулей 10G и 10Н для выработки энергии, соответствующих пятому и шестому вариантам осуществления, приведено применительно к случаю, когда в качестве части 11 субблока питания применяется конструкция, предназначенная для постоянной автономной выработки предварительно определенной электроэнергии (второй электроэнергии) путем использования топлива ТПЛ для выработки электроэнергии, подаваемого из топливного блока 20G. Однако в модуле для выработки энергии, соответствующем этому варианту осуществления, часть 11 субблока питания имеет конструкцию, предназначенную для постоянной автономной выработки предварительно определенной электроэнергии без использования топлива ТПЛ для выработки электроэнергии, заправленного в топливный блок 20G.
В частности, как показано на фиг. 67, модуль 10J для выработки энергии в соответствии с этим вариантом осуществления включает: часть 12 для выработки энергии, часть 13, управляющую работой, часть 14, управляющую выдачей, часть 15, управляющую запуском, и часть 16 для обнаружения остаточного количества, которые имеют конструкции и функции, аналогичные конструкциям и функциям в пятом варианте осуществления (см. фиг. 63); кроме того, модуль 10J для выработки энергии также снабжен частью 11 субблока питания, предназначенной для постоянной автономной выработки предварительно определенной электроэнергии (второй электроэнергии) без использования топлива ТПЛ для выработки электроэнергии, заправленного в топливный блок 20.
В качестве конкретной конструкции части 11 субблока питания, можно применять конструкцию, в которой используется термоэлектрическое преобразование, основанное на разности температур в окружающей среде системы 301 электропитания (выработка энергии за счет разности температур), конструкцию, в которой используется пьезоэлектрическое преобразование, основанное на энергии света, поступающей снаружи системы 301 электропитания (выработка энергии за счет фотоэффекта), и другие.
<Средство для сбора любого другого побочного продукта>
Далее, со ссылками на прилагаемые чертежи, будет приведено описание средства для сбора любого другого побочного продукта, которое применимо к системе электропитания в соответствии с каждым из вариантов осуществления.
На фиг. 68 представлена блок-схема, показывающая вариант осуществления средства для сбора любого другого побочного продукта, которое применимо к системе электропитания в соответствии с настоящим изобретением. В нижеследующем тексте те же самые позиции обозначают элементы, эквивалентные элементам, описанным в связи с каждым из вариантов осуществления, что позволяет упростить или опустить их пояснение.
В каждом варианте осуществления, когда в качестве части 12 для выработки энергии или части 11 электропитания применяется конструкция (часть для выработки энергии или часть субблока питания, показанная в каждом из примеров конструкции), предназначенная для выработки предварительно определенной электроэнергии посредством электрохимической реакции или реакции сгорания с использованием топлива ТПЛ для выработки энергии, заправленного в топливный блок 20, иногда помимо выработки энергии, возможен выпуск побочных продуктов. Поскольку такие побочные продукты могут содержать вещество, которое может вызвать нарушение природных условий, когда его выпускают в окружающую среду, или вещество, которое в некоторых случаях может стать фактором, вызывающим неправильную работу устройства, к которому подсоединена система электропитания, предпочтительно применять конструкцию, снабженную следующим средством для сбора побочных продуктов, поскольку выпуск таких побочных продуктов нужно подавлять настолько, насколько это возможно.
Как показано на фиг. 68, например, средство сбора побочного продукта, применимое к системе электропитания в соответствии с настоящим изобретением, имеет конструкцию, при наличии которой, например, в модуле 10К для выработки энергии в этом примере предусмотрена отделяющая часть 17 для сбора всех или части компонентов побочного продукта, образующегося во время выработки электроэнергии в части 12 для выработки энергии, при этом топливный блок 20 и СОПР-часть 30К имеют конструкции и функции, аналогичные конструкциям и функциям в каждом из вариантов осуществления, а в топливном блоке 20К предусмотрена заправляемая побочным продуктом часть 403, предназначенная для удержания со связыванием собранного побочного продукта. Хотя ниже приводится описание только того случая, в котором происходит сбор побочного продукта, образующегося в части 12 для выработки энергии, необходимо отметить, что такую конструкцию можно аналогично применить к части 11 субблока питания.
Отделяющая часть 17 имеет конструкцию, показанную в каждом из вариантов осуществления. В части 12 для выработки энергии (нижеизложенное можно отнести и к части 11 субблока питания), которая, по меньшей мере, для устройства У, имеющего подсоединенную к нему систему электропитания, вырабатывает электроэнергию, которая может быть электроэнергией возбуждения нагрузки (характеризующейся напряжением и электрическим током), посредством электрохимической реакции с использованием топлива ТПЛ для выработки энергии, подаваемого из топливного блока 20К, отделяющая часть 17 для сбора отделяет побочный продукт, образующийся во время выработки энергии, или заданный компонент, присутствующий в этом побочном продукте, и подает его в заправляемую побочным продуктом часть 403, предусмотренную в топливном блоке 20К, через канал сбора побочного продукта, находящийся в СОПР-части 30К.
В части 12 для выработки энергии (нижеизложенное можно отнести и к части 11 субблока питания), к которой применим каждый пример конструкции, побочным продуктом, образующимся во время выработки электроэнергии, является вода (Н2О), оксид азота (NOx), оксид серы (SOx) и другие продукты, а отделяющая часть 17 собирает их все или их часть или только заданный компонент и подает в канал сбора побочного продукта. Если собираемый побочный продукт находится в жидком состоянии, можно использовать явление капиллярности для автоматической подачи побочного продукта из отделяющей части 17 в заправляемую побочным продуктом часть 403, например, путем образования такого канала сбора побочного продукта, в котором возможно непрерывное изменение внутреннего диаметра.
Заправляемая побочным продуктом часть 403 выполнена в виде внутреннего элемента топливного блока 20К или его внутренней части. Части 21 для удержания собранного побочного продукта придана конфигурация, обеспечивающая возможность подачи и удержания побочного продукта, собираемого отделяющей частью 17, только тогда, когда топливный блок 20К соединен с модулем 10К для выработки энергии. То есть, в системе электропитания, конфигурация которой обеспечивает возможность подсоединения топливного блока 20К к модулю 10К для выработки энергии и отсоединения этого блока от модуля без каких-либо ограничений, в случае отсоединения топливного блока 20К от модуля 10К для выработки энергии, собираемый и удерживаемый побочный продукт или заданный компонент можно удерживать посредством связывания или необратимо удерживать в заправляемой побочным продуктом части 403 таким образом, что этот побочный продукт или заданный компонент не может вытечь или выйти наружу из топливного блока 20К.
Следует отметить, что в случаях, когда за счет выработки энергии в части 12 для выработки энергии в качестве побочного продукта образуется вода (Н2О), оксид азота (NOx) и/или оксид серы (SOx), поскольку вода (Н2О) находится в жидком состоянии при обычной температуре и при обычном давлении, воду можно подавать в заправляемую побочным продуктом часть 403 через канал сбора побочного продукта. Вместе с тем, в случае побочного продукта, температура испарения которого ниже обычной температуры при обычном давлении и который находится в газообразном состоянии и представляет собой оксид азота (NOx) или оксид серы (SOx), кубический объем этого побочного продукта может увеличиться и превысить предварительно заданную емкость заправляемой побочным продуктом части 403. Следовательно, можно предусмотреть конструкцию, в которой собранный побочный продукт сжижается, а его кубический объем уменьшается настолько, что этот побочный продукт можно удерживать в заправляемой побочным продуктом части 403 путем увеличения давления воздуха в отделяющей части 17 и заправляемой побочным продуктом части 403.
Следовательно, в качестве конструкции заправляемой побочным продуктом части 403, можно применять конструкцию, выполненную с возможностью, например, необратимого абсорбирования, одновременного абсорбирования и связывания, или только связывания собранного побочного продукта или заданного компонента, например, конструкцию, в которой заправляемая побочным продуктом часть 403 наполнена абсорбирующим полимером, или конструкцию, включающую средство для предотвращения утечки собранного материала, такое, как управляющий клапан, который закрывается под действием внутреннего давления заправляемой побочным продуктом части 403 или физического давления пружины и т.п., аналогично средству для предотвращения утечки топлива, предусмотренному для топливного блока 20.
В системе электропитания, снабженной средством сбора побочного продукта, имеющим такую конструкцию, в случае применения в качестве части 12 для выработки энергии такого топливного элемента, предусматривающего топливный риформинг, как показанный на фиг. 26, диоксид углерода (СО2), образующийся наряду с газообразным водородом (Н2) в соответствии с реакцией парового риформинга, реакцией конверсии водяного газа и выбранной реакцией окисления (см. химические уравнения (1)–(3)) в части 210а для топливного риформинга, и вода (Н2О), образующаяся при выработке электроэнергии (первой электроэнергии) в соответствии с электрохимической реакцией (см. химические уравнения (6) и (7)), выпускаются в качестве побочных продуктов из части 12 для выработки энергии. Вместе с тем, поскольку маловероятно, что диоксид углерода (СО2) оказывает какое-либо влияние на устройство, он выпускается наружу из системы электропитания в качестве несобираемого вещества. С другой стороны, вода (Н2О) и т.п. собирается в отделяющей части 17, подается в заправляемую побочным продуктом часть 403 в топливном блоке 20К через канал сбора побочного продукта с использованием явления капиллярности, и обратимо удерживается заправляемой побочным продуктом части 403. В данном случае, поскольку электрохимическая реакция (см. химические уравнения (2) и (3)) в части 12 для выработки энергии (топливном элементе) протекает при температуре приблизительно 60-80° С, вода (Н2О), образующаяся в части 12 для выработки энергии, выпускается, по существу в парообразном (газообразном) состоянии. Таким образом, отделяющая часть 17 сжижает только водяной (Н2О) компонент, например, путем охлаждения пара, выпускаемого из части 12 для выработки энергии, или путем приложения давления, и отделяет его от других газообразных компонентов, собирая таким образом этот компонент.
В этом варианте осуществления описание приведено применительно к случаю, когда в качестве конструкции части 12 для выработки энергии применяется топливный элемент, предусматривающий топливный риформинг, а в качестве топлива для выработки энергии применяется метиловый спирт (СН3ОН). Следовательно, отделение и сбор заданного компонента (а именно, воды) в отделяющей части 17 для сбора можно осуществить относительно просто, когда большее количество побочного продукта, образующегося при выработке энергии, представляет собой воду (Н2О), и при этом наружу из системы электропитания выпускается также небольшое количество диоксида углерода (СО2). Вместе с тем, когда в качестве топлива для выработки энергии применяется вещество, отличное от метилового спирта, или когда в качестве части 12 для выработки энергии применяется конструкция, отличная от топливного элемента, в некоторых случаях возможно образование относительно большого количества диоксида углерода (СО2), диоксида азота (NOx), диоксида серы (SOx) и т.п. наряду с водой (Н2О).
В таком случае, после отделения, например, воды в форме жидкости от любого другого газообразного компонента (диоксида углерода и т.п.), образовавшегося в больших количествах, в отделяющей части 17 посредством способа отделения, эти компоненты можно удерживать вместе или по отдельности в одной или множестве частей 21 для удержания собранного побочного продукта, предусмотренных в топливном блоке 20Е.
Как описано выше, согласно системе электропитания, для которой применяется средство сбора побочного продукта в соответствии с этим конкретным вариантом осуществления, поскольку выпуск или утечку побочного продукта наружу из системы электропитания можно подавлять посредством необратимого удержания в части 21 для сбора побочного продукта, предусмотренной в топливном блоке 20Е, по меньшей мере, одного компонента побочного продукта, образовавшегося во время выработки электроэнергии модулем 10Е для выработки энергии, можно предотвратить неверное функционирование или ухудшение качества устройства под воздействием побочного продукта (например, воды). Кроме того, за счет сбора в топливном блоке 20Е удерживаемого в нем побочного продукта, этот побочный продукт можно обработать надлежащим способом, который не оказывает негативного влияния на окружающую среду, тем самым предотвращая загрязнение окружающей среды или глобальное потепление из-за влияния побочного продукта (например, диоксида углерода).
Побочный продукт, собранный посредством способа сбора после отделения, необратимо удерживается в части для удержания собранного продукта посредством работы в режиме удержания, описанной со ссылками на фиг. 48А–48С.
<Средство для стабилизации топлива>
Далее, со ссылками на чертежи, будет приведено описание средства для стабилизации топлива, применимого к системе электропитания в соответствии с каждым из вариантов осуществления.
На фиг. 69 представлена блок-схема, показывающая вариант осуществления средства для стабилизации топлива, которое применимо к системе электропитания в соответствии с настоящим изобретением. В данном случае, теми же самыми позициями обозначены элементы, эквивалентные элементам в каждом из вариантов осуществления, что позволяет упростить или опустить их пояснение.
Как показано на фиг. 69, при наличии модуля 10L для выработки энергии, топливного блока 20L и СОПР-части 30L, имеющих конструкции и функции, аналогичные конструкциям и функциям в каждом из вариантов осуществления, средство для стабилизации топлива, применяемое к системе электропитания в соответствии с настоящим изобретением, имеет конструкцию, при наличии которой либо в СОПР-части 30L, либо в топливном блоке 20L (в этом примере, в топливном блоке 20L), предусмотрены управляющий подачей клапан 25, который обнаруживает состояние заправки (т.е. такие его параметры, как температура, давление, и другие) топлива ТПЛ для выработки энергии, заправленного в топливный блок 20L, и останавливает подачу топлива ТПЛ для выработки энергии из топливного блока 20L в модуль 10L для выработки энергии (часть 11 субблока питания и часть 12 для выработки энергии), когда состояние заправки превышает предварительно определенное пороговое значение, и управляющий давлением клапан 26, который обнаруживает состояние заправки (т.е. такие его параметры, как температура, давление, и другие) топлива ТПЛ для выработки энергии в топливном блоке 20L и управляет состоянием заправки, приводя его к предварительно определенному стабилизированному состоянию.
Управляющий подачей клапан 25 автоматически приводится в действие, когда температура топлива ТПЛ для выработки энергии, заправленного в топливный блок 20L, увеличивается настолько, что превышает предварительно определенное пороговое значение, и отключает подачу топлива ТПЛ для выработки энергии в канал подачи топлива. Конкретно, обеспечивается возможность применения управляющего клапана, который закрывается, когда давление в топливном блоке 20L увеличивается с увеличением температуры топлива ТПЛ для выработки энергии.
При этом, следует отметить, что управляющий давлением клапан 26 автоматически приводится в действие, когда давление в топливном блоке 20L увеличивается настолько, что превышает предварительно определенное пороговое значение, с увеличением температуры топлива ТПЛ для выработки энергии, заправленного в топливный блок 20L, и этот клапан уменьшает давление в топливном блоке 20L. Причем, обеспечивается возможность применения клапана сброса давления (стравливающего клапана), который открывается, когда давление в топливном блоке 20L увеличивается.
В результате, например, если система электропитания подсоединена к устройству У, то, когда температура или давление в топливном блоке 20L увеличивается, например, из-за выработки тепла, обуславливаемой выработкой электроэнергии в модуле 10L для выработки энергии или осуществлением возбуждения нагрузки устройства, автоматически выполняется работа в режиме остановки подачи топлива ТПЛ для выработки энергии или работа в режиме сброса давления, вследствие чего происходит стабилизация состояния заправки топлива ТПЛ для выработки энергии.
При этом, в процессе всей работы в целом системы электропитания (фиг. 64), в случае выполнения работы в режиме запуска системы электропитания, часть 13, управляющая работой, заранее обращается к состоянию работы управляющего подачей клапана 25, а именно, к состоянию подачи топлива ТПЛ для выработки энергии из топливного блока 20L, делает вывод о том, нормально ли подается топливо ТПЛ для выработки энергии, а потом проводит необходимую работу. В данном случае, если, независимо от работы в режиме стабилизации состояния заправки топлива ТПЛ для выработки энергии, средство для стабилизации топлива (в частности, управляющий давлением клапан 26) обнаруживает отключение подачи топлива ТПЛ для выработки энергии, то часть 13, управляющая работой, выдает в контроллер К, включенный в состав устройства У, информацию, касающуюся ошибки заправки топлива ТПЛ для выработки энергии, и информирует пользователя устройства У об этой ошибке.
Кроме того, в процессе всей работы в целом системы электропитания (фиг. 64), в случае продолжения работы в установившемся режиме (т.е. осуществления управления с обратной связью) системы электропитания, часть 13, управляющая работой, последовательно обращается к состоянию работы управляющего подачей клапана 25, а именно, к состоянию подачи топлива ТПЛ для выработки энергии из топливного блока 20L. Затем, если, независимо от работы в режиме стабилизации состояния заправки топлива ТПЛ для выработки энергии, средство для стабилизации топлива (в частности, управляющий давлением клапан 26) обнаруживает отключение подачи топлива ТПЛ для выработки энергии или если в качестве информации о возбуждении нагрузки принимается внезапное падение электроэнергии возбуждения нагрузки, подаваемой в устройство У, то часть 13, управляющая работой, выдает информацию, касающуюся ошибки заправки топлива ТПЛ для выработки энергии, в контроллер К, включенный в состав устройства У, и информирует пользователя устройства У об этой ошибке.
В результате, обеспечивается возможность создания системы электропитания, которая обладает большой надежностью и быстро обнаруживает возникновение ухудшения из-за ошибки условий заправки (температуры, давления и других) топлива ТПЛ для выработки энергии в топливном блоке 20L, а также рабочей ошибки (например, дефекта выходного напряжения) в модуле 10L для выработки энергии, или утечки топлива ТПЛ для выработки энергии из топливного блока 20L наружу из системы 301 электропитания, и гарантирует защиту топлива ТПЛ для выработки энергии, обладающего горючестью.
Далее, со ссылками на чертежи, будет приведено описание еще одного средства для стабилизации топлива, применяемого для системы электропитания в соответствии с каждым из вариантов осуществления.
На фиг. 70 представлена блок-схема, показывающая вариант осуществления средства для стабилизации топлива, которое применимо к системе электропитания в соответствии с настоящим изобретением. Кроме того, на фиг. 71 представлено изображение, иллюстрирующее работу в режиме запуска системы электропитания в соответствии с этим вариантом осуществления, а на фиг. 72 представлено изображение, иллюстрирующее работу в режиме остановки системы электропитания в соответствии с этим вариантом осуществления. Аналогично вариантам осуществления со второго по четвертый, хотя нижеследующее описание приводится применительно к случаю, в котором осуществляется передача предварительно определенной информации между системой электропитания и устройством, с которым соединена эта система электропитания, можно применять конструкцию, в которой между системой электропитания и устройством не производится специальная передача представляемой информации (см. конструкцию, относящуюся к первому варианту осуществления). Кроме того, теми же самыми позициями обозначены элементы, эквивалентные элементам в каждом из вариантов осуществления, что позволяет упростить или опустить их пояснение.
Как показано на фиг. 70, при наличии модуля 10М для выработки энергии, топливного блока 20L и СОПР-части 30L, имеющих конструкции и функции, аналогичные конструкциям и функциям в каждом из вариантов осуществления, средство для стабилизации топлива, применимое к системе электропитания в соответствии с настоящим изобретением, имеет конструкцию, при наличии которой либо в СОПР-части 30L, либо в топливном блоке 20L (в этом примере, в топливном блоке 20L), предусмотрены управляющий подачей клапан 25, который обнаруживает состояние заправки (т.е. такие его параметры, как температура, давление, и другие) топлива ТПЛ для выработки энергии, заправленного в топливный блок 20L, и останавливает подачу топлива ТПЛ для выработки энергии из топливного блока 20L в модуль 10L для выработки энергии (часть 11 субблока питания и часть 12 для выработки энергии), когда состояние заправки превышает предварительно определенное пороговое значение, и управляющий давлением клапан 26, который обнаруживает состояние заправки (т.е. такие его параметры, как температура, давление, и другие) топлива ТПЛ для выработки энергии в топливном блоке 20L и управляет состоянием заправки, приводя его к предварительно определенному стабилизированному состоянию.
Управляющий подачей клапан 25 автоматически приводится в действие, когда температура топлива ТПЛ для выработки энергии, заправленного в топливный блок 20L, увеличивается настолько, что превышает предварительно определенное пороговое значение, и отключает подачу топлива ТПЛ для выработки энергии в канал подачи топлива. Таким образом, обеспечивается возможность применения управляющего клапана, который закрывается, когда давление в топливном блоке 20L увеличивается с увеличением температуры топлива ТПЛ для выработки энергии.
Управляющий давлением клапан 26 автоматически приводится в действие, когда давление в топливном блоке 20L увеличивается настолько, что превышает предварительно определенное пороговое значение, с увеличением температуры топлива ТПЛ для выработки энергии, заправленного в топливный блок 20L, и этот клапан уменьшает давление в топливном блоке 20L. Таким образом, обеспечивается возможность применения клапана сброса давления (стравливающего клапана), который открывается, когда давление в топливном блоке 20L увеличивается.
В результате, например, если система электропитания подсоединена к устройству У, то, когда температура или давление в топливном блоке 20L увеличивается, например, из-за выработки тепла, обуславливаемой выработкой электроэнергии в модуле 10М для выработки энергии или осуществлением возбуждения нагрузки устройства, автоматически выполняется работа в режиме остановки подачи топлива ТПЛ для выработки энергии или работа в режиме сброса давления, вследствие чего происходит стабилизация состояния заправки топлива ТПЛ для выработки энергии.
В системе электропитания, имеющей такую конструкцию, в основном, можно применять управление работой, эквивалентное управлению работой в втором варианте осуществления (включая случай, в котором, по существу, параллельно выполняется управление работой в первом варианте осуществления). В дополнение к этому, возможно следующее управление работой, которое характерно для данного варианта осуществления.
В случае выполнения работы в режиме запуска в процессе всей работы в целом (см. фиг. 27 и 34), описанной в связи с первым или вторым вариантом осуществления, когда часть 13, управляющая работой, обнаруживает изменение напряжения электроэнергии возбуждения нагрузки с помощью части 16, оперативно контролирующей напряжение, или когда часть 13, управляющая работой, принимает информацию о возбуждении нагрузки из контроллера К, включенного в состав устройства У, которое запрашивает подачу электроэнергии, эта часть 13, управляющая работой, обращается к рабочему состоянию управляющего подачей клапана 25, а именно, к состоянию подачи топлива ТПЛ для выработки энергии из топливного блока 20L, перед проведением работы в режиме выдачи в часть 15, управляющую запуском, управляющего сигнала, предназначенного для запуска части 12 для выработки энергии (этапы Э104 или Э204), и делает вывод о том, является ли нормальным состояние заправки топлива ТПЛ для выработки энергии (иными словами, можно ли подавать топливо ТПЛ для выработки энергии в часть 12 для выработки энергии).
На основании рабочего состояния управляющего подачей клапана 25, когда часть 13, управляющая работой, определяет, что состояние заправки топлива ТПЛ для выработки энергии является нормальным и можно подавать топливо для выработки энергии в часть 12 для выработки энергии, эта часть 13, управляющая работой, осуществляет работу в режиме запуска (этапы Э104–Э106 или Э204–Э206), описанную в связи с первым или вторым вариантом осуществления, и подает предварительно определенную питающую электроэнергию в устройство У.
Как показано на фиг. 71, на основании рабочего состояния управляющего подачей клапана 25, когда часть 13, управляющая работой, определяет, что состояние заправки топлива ТПЛ для выработки энергии является аномальным и подача топлива ТПЛ для выработки энергии в часть 12 для выработки энергии отключена (т.е. когда обнаружена ошибка заправки), эта часть 13, управляющая работой, передает через часть ЭЛх, содержащую электрические выводы, в контроллер К, находящийся в устройстве У, сигнал ошибки запуска, основанный на ошибке заправки, в качестве информации о работе в режиме выработки энергии.
В случае выполнения работы в установившемся режиме в процессе всей работы в целом (см. фиг. 27 и 34), описанной в связи с первым или вторым вариантом осуществления), часть 13, управляющая работой, последовательно контролирует рабочее состояние управляющего подачей клапана 25 во время управления с обратной связью по электроэнергии возбуждения нагрузки. Затем, как показано на фиг. 72, когда часть 13, управляющая работой, обнаруживает ошибку состояния заправки топлива ТПЛ для выработки энергии независимо от работы в режиме сброса давления (работы в режиме стабилизации) с помощью управляющего давлением клапана 26 для стабилизации состояния заправки топлива ТПЛ для выработки энергии в топливном блоке 20L, эта часть 13, управляющая работой, отключает подачу топлива для выработки энергии в часть 12 для выработки энергии, выдавая в часть 14, управляющую выдачей, сигнал управления работой, предназначенный для остановки работы в режиме выработки энергии в части 12 для выработки энергии, и останавливает работу в режиме выработки энергии в части 12 для выработки энергии. Часть 13, управляющая работой, также останавливает нагревание посредством нагревателя для проведения эндотермической реакции для получения водорода и передает через часть ЭЛх, содержащую электрические выводы, в контроллер К, находящийся в устройстве У, сигнал ошибки остановки, основанный на ошибке заправки или прекращении работы части 12 для выработки энергии, в качестве информации о работе в режиме выработки энергии.
В результате, обеспечивается возможность предотвращения, например, ухудшения состояния топлива ТПЛ для выработки энергии из-за ошибки условий заправки (температуры, давления и других) топлива ТПЛ для выработки энергии в топливном блоке 20L, а также рабочей ошибки (например, дефекта выходного напряжения) в модуле 10М для выработки энергии или утечки топлива ТПЛ для выработки энергии из топливного блока 20L наружу из системы 301 электропитания. Кроме того, обеспечивается возможность передачи пользователю устройства У информации, касающейся ошибки заправки и предписывающей принятия соответствующих мер, таких, как улучшение окружающей среды, в которой используется устройство, или замена системы электропитания. Следовательно, можно разработать очень надежную систему электропитания, которая гарантирует безопасность топлива ТПЛ для выработки энергии, обладающего горючестью.
По поводу средства сбора побочного продукта, средства для обнаружения остаточного количества и средства для стабилизации топлива необходимо отметить, что, хотя описание приведено применительно к случаю, когда эти средства по отдельности применяются для предшествующих вариантов осуществления, настоящее изобретение не сводится к этой реализации. Поэтому эти средства могут быть надлежащим образом выбраны, и возможно применение их произвольного сочетания при эксплуатации. В соответствии с этим, существует возможность дополнительного усовершенствования, например, при нагрузке на окружающую среду, создаваемой системой электропитания, соответствующей настоящему изобретению, эффективности преобразования энергии, полезного соответствия, защиты, и других.
<Внешняя форма>
Далее, со ссылками на чертежи, будет приведено описание внешних форм, применимых к системе электропитания в соответствии с настоящим изобретением.
На фиг. 73А–73F представлены изображения, показывающие внешние формы, применимые к системе электропитания, соответствующей настоящему изобретению, а на фиг. 74А–74С представлены изображения, показывающие внешние формы, применимые к системе электропитания, соответствующей настоящему изобретению, и соотношение соответствия между такими внешними формами и внешними формами химического источника тока общего назначения.
В системе электропитания, имеющей конструкцию, соответственно показанную, например, на фиг. 73А–73F, внешняя форма в случае соединения топливного блока 20 с модулем 10 для выработки энергии посредством СОПР-части 30 или выполнения этих элементов как единого целого такова, что обеспечивается соответствие этой внешней формы и размеров любому из круглых источников 41, 42 и 43 тока, предназначенных для работы в тяжелых режимах в качестве химических источников тока, удовлетворяющих требованиям ЯПС или международных стандартов, или из имеющих специальную форму источников 44, 45 и 46 тока (некруглых источников тока), в соответствии со стандартами на эти источники тока. Кроме того, внешней форме придана такая конфигурация, при которой посредством выводов положительного (+) и отрицательного (-) электродов, характерных для каждой из форм изображенных источников тока, можно осуществлять выдачу электроэнергии (первой и второй электроэнергии), вырабатываемой частью 11 субблока питания или частью 12 для выработки энергии.
В данном случае, вывод положительного электрода подсоединен к верхней части модуля 10 для выработки энергии, тогда как вывод отрицательного электрода подсоединен к топливному блоку 20, и этот вывод отрицательного электрода соединен с модулем 10 для выработки энергии посредством проводов, хотя это и не показано. Кроме того, можно предусмотреть часть ЭЛх, содержащую электрические выводы, обматываемую вокруг модуля 10 для выработки энергии на боковой его части в зональной форме. Если в устройстве У размещена система 301 электропитания, то внутренний контроллер К и часть ЭЛх, содержащая электрические выводы, автоматически соединяются друг с другом, гарантируя тем самым получение информации о возбуждении нагрузки. Эта часть ЭЛх, содержащая электрические выводы, изолирована от положительного электрода и отрицательного электрода.
В частности, например, когда топливный блок 20 и модуль 10 для выработки энергии соединены друг с другом, часть для выработки энергии, в качестве которой применяется топливный элемент (см. фиг. 19), имеет такую конструкцию, в которой топливный электрод 211 части 211b топливного элемента электрически соединен с выводом отрицательного электрода, а воздушный электрод 212 электрически соединен с выводом положительного электрода. Далее, в конструкции, в которой двигатели внутреннего и внешнего сгорания, например, газовая турбина внутреннего сгорания или роторно-поршневой двигатель, объединены с электрогенератором, в котором используется электромагнитная индукция и т.п. (см. фиг. 21–23), или в части для выработки энергии, для которой применяется электрогенератор, работа которого основана на разности температур, или МГД электрогенератор (см. фиг. 24 и 25), предусмотрена конструкция, в которой выходной вывод каждого электрогенератора электрически соединен с выводом положительного электрода и выводом отрицательного электрода.
В данном случае, круглые источники 41, 42 и 43 тока предназначены для тяжелых режимов и могут представлять собой, например, промышленно поставляемые марганцевый сухой элемент, щелочной сухой элемент, никель-кадмиевый элемент, литиевый элемент, и другие, и имеют внешнюю форму, например, цилиндрического типа (цилиндрический тип: фиг. 73А), которая встречается во многих устройствах, кнопочного типа (фиг. 73В), которая используется в наручных часах и других изделиях, монетообразного типа (фиг. 73С), которая используется в фото- и киноаппаратуре, электронных ноутбуках и других изделиях, и т.п.
С другой, некруглые источники 44, 45 и 46 тока имеют внешнюю форму, являющуюся специальной формой (фиг. 73D), которая разрабатывается индивидуально в соответствии формой используемого устройства, например, компакт-камеры или цифровой видеодиакамеры, угловую форму (фиг. 73Е), соответствующую уменьшению размера стороны или толщины портативного акустического изделия или мобильного телефона, или плоскую форму (фиг. 73F), и т.п.
Каждую конструкцию модуля 10 для выработки энергии, устанавливаемого в системе электропитания в соответствии с этим вариантом осуществления, можно реализовать в виде микросхемы с размерами порядка миллиметров или микрометров или в виде микроустановки путем применения технологии изготовления микромашин. Кроме того, применяя топливный элемент, турбину, работающую на газообразном топливе и т.п. с обеспечением возможности реализации высокой эффективности использования энергии, в качестве части 12 для выработки энергии модуля 10 для выработки энергии, можно уменьшить до относительно малой величины количество топлива для выработки энергии, необходимое для реализации емкости батареи, эквивалентной емкости (или превышающей емкость) существующего химического источника тока.
В системе электропитания, соответствующей этому конкретному варианту осуществления, можно использовать форму существующего источника тока. Например, как показано на фиг. 74А и 74В, можно предусмотреть конструкцию, в которой, когда топливный блок 20 соединен с модулем 10 для выработки энергии или когда они выполнены как единое целое, внешний размер (например, длина La и диаметр Da) будет соответствовать размеру внешней формы (например, длине Lp и диаметру Dp) такого химического источника 47 тока общего назначения, как показанный на фиг. 74С.
На фиг. 74А–74С лишь концептуально показана взаимосвязь между подсоединяемой и отсоединяемой конструкцией системы электропитания, соответствующей настоящему изобретению (взаимосвязь соединения) и формой внешнего вида, при этом не принимаются во внимание конкретная конструкция электродов и других элементов. Взаимосвязь между подсоединяемой и отсоединяемой конструкцией модуля 10 для выработки энергии и топливного блока 20 и конструкцией электрода в случае, когда системе электропитания, соответствующей настоящему изобретению, придается форма каждого конкретного источника тока, будет подробнее описана в связи с вариантом осуществления, рассматриваемым ниже.
Кроме того, каждая изображенная внешняя форма отображает лишь пример промышленно поставляемого химического источника тока, который соответствует стандартам Японии или выполнен с возможностью подсоединения к какому-либо устройству и продается оптом или в розницу. Показана лишь часть примеров конструкций, к которым применимо настоящее изобретение. То есть, вполне возможны внешние формы, применимые к системе электропитания в соответствии с настоящим изобретением и отличающиеся от конкретных примеров. Например, такие внешние формы совпадают с внешними формами химических источников тока, которые уже продаются оптом или в розницу по всему миру, или химических источников тока, которые будут внедрены в практическую эксплуатацию в будущем, при этом их внешние формы можно разработать с обеспечением соответствия с электрической характеристикой.
Далее, со ссылками на чертежи, будет приведено подробное описание взаимосвязи между подсоединяемой и отсоединяемой конструкцией модуля 10 для выработки энергии и топливного блока 20 и конструкцией электрода в случае, когда каждая из форм источника тока применяется для системы электропитания, соответствующей настоящему изобретению.
(Первый вариант осуществления подсоединяемой
и отсоединяемой конструкции)
На фиг. 75А–75D и фиг. 75Е-75Н представлены изображения, показывающие внешние формы топливного блока и части держателя в системе электропитания, соответствующей первому варианту осуществления настоящего изобретения, на видах сверху, спереди, сбоку и сзади. На фиг. 76А и 76В представлены изображения, показывающие подсоединяемую и отсоединяемую конструкцию модуля для выработки энергии и топливного блока в системе электропитания, соответствующей этому варианту осуществления. В нижеследующем тексте, те же самые позиции приведены для элементов, идентичных соответствующим элементам в каждом из вариантов осуществления, что позволяет упростить или опустить их пояснение.
Как показано на фиг. 75А–75D и фиг. 75Е-75Н, системе электропитания придана такая конфигурация, при которой она включает: топливный блок 51 (соответствующий топливному блоку 20), в который топливо для выработки энергии заправляют в предварительно определенных условиях, и часть 52 держателя, которая функционирует как модуль 10 для выработки энергии и СОПР-часть 30 и к которой подсоединен с возможностью разъединения топливный блок. В данном случае, когда топливный блок 51 представляет собой прозрачный, биологически разлагаемый полимерный корпус, в который заправлено топливо ТПЛ и который не используется, периферия этого корпуса покрыта упаковочным материалом 53 для защиты от такого разлагающего фактора, как бактерии. Более того, в случае подсоединения топливного блока 51, как будет пояснено ниже, может потребоваться отслаивание упаковочного материала 53. Помимо этого, поскольку топливный блок 51 представляет собой прозрачный корпус с нанесенной на нем градуировкой 51с, то есть возможность удостовериться в остаточном количестве имеющегося в нем топлива.
Части 52 держателя придана такая конфигурация, при которой она в основном включает: часть 52а для выработки энергии, в которой заключены модуль 10 для выработки энергии и СОПР-часть 30, имеющие конструкцию, эквивалентную конструкции каждого варианта осуществления, и предусмотрен вывод ЭЛ(+) положительного электрода; противоположную часть 52b, для которой предусмотрен вывод ЭЛ(-) отрицательного электрода; и соединительную часть 52с, которая электрически соединяет часть 52а для выработки энергии с противоположной частью 52b и электрически соединяет часть 52а для выработки энергии с выводом ЭЛ(-) отрицательного электрода. Пронизываемое пространство ПР1, окруженное частью 52а для выработки энергии, противоположной частью 52b и соединительной частью 52с, становится положением размещения, когда подсоединен топливный блок 51. Часть 52 держателя включает: выпуклую часть 52d, которая обладает упругостью пружины и т.п. вокруг контактной части противоположной части 52b и имеет отверстие в центре (см. фиг. 76А); и трубку 416 для подвода воды, предназначенную для соединения отверстия выпуклой части 52d с каналом 17а подачи побочного продукта модуля 10 для выработки энергии. Поскольку градуировка 52h нанесена на части 52 держателя вместо градуировки 51с топливного блока 51, есть возможность удостовериться в остаточном количестве имеющегося топлива. При этом следует отметить, что если соединительная часть 52с не прозрачна, то с помощью градуировки 52h можно легко обеспечить визуальный контроль.
В системе электропитания, имеющей такую конструкцию, как показанная на фиг. 76А, по поводу пространства ПР1, образованного частью 52а для выработки энергии, противоположной частью 52b и соединительной частью 52с, необходимо отметить, что отверстие 51а для подачи топлива (на одной концевой стороне), для которого предусмотрен клапан 24А подачи топлива топливного блока 51, вводят в контакт с частью 52 держателя (эту точку контакта называют опорной точкой), используя пальцы ПЛ1 и ПЛ2 для обеспечения опоры топливному блоку 51, с которого снят упаковочный материал 53, а другую концевую сторону 51b топливного блока 51 поворачивают и располагают с возможностью упора вдоль оси (см. стрелку С9 на чертеже). В результате, как показано на фиг. 76В, нижняя часть (другая концевая сторона) 51b топливного блока 51 вводится в контакт с противоположной частью 52b топливного блока 41 и оказывается заключенной в пространстве ПР1. В этот момент трубка 411 подачи топлива, которая может быть каналом подачи топлива (фиг. 73), подталкивает вниз клапан 24А подачи топлива, положение которого фиксирует пружина, и тем самым отключается функция предотвращения утечки топлива, которой наделен топливный блок 51. Кроме того, топливо ТПЛ для выработки энергии, заправленное в топливный блок 51, автоматически направляется и подается в модуль 10 для выработки энергии вследствие поверхностного натяжения в капиллярной трубке 52g (фиг. 73) и трубке 411 подачи топлива. На фиг. 76В показана не использованная система электропитания, для которой заданы топливный блок 51 и часть 52 держателя. На этом чертеже показано, что периферия корпуса покрыта упаковочным материалом 54 для защиты от такого разлагающего фактора, как бактерии. Когда эту систему электропитания используют в качестве источника питания для какого-либо устройства и т.п., может потребоваться отслоение упаковочного материала 54. Более того, если часть 11 субблока питания расходует топливо из топливного блока 51 и постоянно вырабатывает электроэнергию, как в случае топливного элемента прямого действия и т.п., для упаковочного материала 54 может быть предусмотрено отверстие 54а для подачи кислорода и выпуска диоксида углерода, находящееся в непосредственной близости к модулю 10 для выработки энергии. Если часть 11 субблока питания не расходует топливо, что бывает в случае конденсатора и т.п., то нет необходимости предусматривать отверстие 54а.
В данном случае следует отметить, что, когда топливный блок 51 заключен в пространство ПР1 и соединен с частью 52 держателя, конфигурация системы электропитания обуславливает внешнюю форму и размеры, по существу, эквивалентные внешней форме и размерам цилиндрического химического источника тока общего назначения (см. фиг. 73А и 74С). Кроме того, следует также отметить, что при наличии топливного блока 51, обычно размещаемого в пространстве ПР1, предпочтительно, чтобы другая концевая сторона 51b была прижата с помощью надлежащего усилия таким образом, чтобы отверстие 51а для подачи топлива из топливного блока 51 можно было ввести в контакт и соединить с контактной частью противоположной части 52b с помощью необходимого прижимающего усилия, чтобы предотвратить случайное выпадение топливного блока 51 из части 52 держателя.
В частности, как показано на фиг. 76А и 76В, можно применить механизм сцепления между вогнутой частью, в которой расположен предназначенный для сбора воды и т.п. клапан 24В впуска побочного продукта, выполненный на другой концевой стороне 51b топливного блока 51, и выпуклой частью 52d, обладающей упругостью пружины и т.п., расположенной вокруг контактной части противоположной части 52b. В этот момент, клапан 24В впуска побочного продукта, подталкиваемый выпуклой частью 52d, переходит из закрытого состояния в открытое состояние и соединяется с трубкой 416 для подвода воды. Следовательно, побочный продукт, подаваемый из трубки 416 для подвода воды, можно собирать в упругий баллон 23 для сбора, предусмотренный в топливном блоке 51.
В результате, как описано при рассмотрении всей работы в целом (см. фиг. 27 и 34), в части 11 субблока питания автономно вырабатывается рабочая электроэнергия (вторая электроэнергия), и эта рабочая электроэнергия подается, по меньшей мере, в часть 13, управляющую работой, в модуле 10 для выработки энергии. Кроме того, когда система электропитания, соответствующая этому варианту осуществления, подсоединена к предварительно определенному устройству У, некоторое количество электроэнергии, вырабатываемой частью 11 субблока питания подается в качестве электроэнергии возбуждения (электроэнергии контроллера) в контроллер К, включенный в состав устройства У, через вывод ЭЛ(+) положительного электрода, предусмотренный для части 52а для выработки энергии, и через вывод ЭЛ(-) отрицательного электрода, предусмотренный для противоположной части 52b (работа в начальном режиме).
Следовательно, возможна реализация полностью совместимой системы электропитания, которая так же проста в обращении, как химический источник тока общего назначения, имеет внешнюю форму (цилиндрическую форму в этом примере) и размеры, соответствующие или аналогичные внешней форме и размерам химического источника тока общего назначения, и может подавать электроэнергию, имеющую ту же самую или аналогичную электрическую характеристику. Поэтому электроэнергию можно подавать в качестве рабочей электроэнергии в любое устройство, такое, как любое существующее портативное устройство, аналогично подаче электроэнергии из химического источника тока общего назначения.
В частности, в системе электропитания, соответствующей этому варианту осуществления, когда в качестве модуля для выработки энергии применяется конструкция, снабженная топливным элементом, а в качестве материала топливного блока 51, которому придана конфигурация, обеспечивающая осуществляемое без каких-либо ограничений подсоединение к части 52а для выработки энергии или отсоединение от нее, применяется материал типа биологически разлагаемого пластика, возможна реализация высокой эффективности использования энергии с одновременным подавлением вредного влияния на окружающую среду. Следовательно, существует возможность решения проблем, связанных с вопросами окружающей среды и возникающих по причине выбрасывания существующего химического источника тока на открытую свалку или захоронения его в грунте или недостаточной эффективности использования энергии.
Кроме того, поскольку согласно системе электропитания, соответствующей этому варианту осуществления, пространство ПР1 на стороне части 52 держателя, в котором размещают топливный блок 51, имеет пронизываемую форму с двумя частями, имеющими отверстия, легко можно вставить топливный блок 51 в часть 52 держателя, захватывая противоположные боковые части топливного блока 51 пальцами ПЛ1 и ПЛ2, и можно вывести топливный блок 51 из контакта с одной из двух частей, имеющих отверстия, выталкивая этот топливный блок из другой из двух частей, имеющих отверстия, тем самым легко и безопасно удаляя топливный блок 51.
(Второй вариант осуществления подсоединяемой и
отсоединяемой конструкции)
На фиг. 77А–77С представлены изображения, условно показывающие внешнюю форму топливного блока системы электропитания, соответствующей второму варианту осуществления настоящего изобретения, на видах сверху, сбоку и сзади.
Когда топливный блок 61 представляет собой прозрачный, биологически разлагаемый полимерный корпус, в который заправлено топливо ТПЛ и который не используется, периферия этого корпуса покрыта упаковочным материалом 63 для защиты от таких разлагающих факторов, как бактерии. Более того, в случае подсоединения топливного блока 61, как будет пояснено ниже, может потребоваться перфорирование упаковочного материала 63 с отслаиванием его от топливного блока 61. Помимо этого, поскольку топливный блок 61 представляет собой прозрачный корпус с нанесенной на нем градуировкой 61b, то есть возможность удостовериться в остаточном количестве имеющегося в нем топлива.
На фиг. 77D–77G представлены изображения, условно показывающие внешнюю форму части держателя системы электропитания в соответствии с настоящим изобретением на видах сверху, сзади и сбоку, а на фиг. 78А и 78В представлены изображения, показывающие подсоединяемую и отсоединяемую конструкцию модуля для выработки энергии и топливного блока в системе электропитания в соответствии с этим вариантом осуществления. Поскольку градуировка 62d нанесена на часть 62 держателя, функционирующей как модуль 10 для выработки энергии и СОПР-часть 30, вместо градуировки 61b топливного блока 61, есть возможность удостовериться в остаточном количестве имеющегося топлива. При этом следует отметить, что если соединительная часть 62с не прозрачна, то с помощью градуировки 62d можно легко обеспечить визуальный контроль. В нижеследующем описании будет упрощено или опущено пояснение элементов, эквивалентных элементам вариантов осуществления. На фиг. 78В показана неиспользованная система электропитания, для которой заданы топливный блок 61 и часть 62 держателя. Периферия системы электропитания покрыта упаковочным материалом 64 для защиты от таких разлагающих факторов, как бактерии. Когда эту систему электропитания используют в качестве источника питания для какого-либо устройства и т.п., может потребоваться перфорирование упаковочного материала 64. Более того, если часть 11 субблока питания расходует топливо из топливного блока 61 и постоянно вырабатывает электроэнергию, как в случае топливного элемента прямого действия и т.п., для упаковочного материала 64 может быть предусмотрено отверстие 64а для подачи кислорода и выпуска диоксида углерода, находящееся в непосредственной близости к модулю 10 для выработки энергии. Если часть 11 субблока питания не расходует топливо, что бывает в случае конденсатора и т.п., то нет необходимости предусматривать отверстие 64а.
Как показано на фиг. 77А–77G, системе электропитания, соответствующей этому варианту осуществления придана такая конфигурация, при которой она включает: топливный блок 61, в который топливо для выработки энергии заправляют в предварительно определенных условиях, и часть 62 держателя, которой придана конфигурация, обеспечивающая возможность подсоединения к ней и разъединения с ней топливного блока 61 без каких-либо ограничений. В данном случае, поскольку топливный блок 61 имеет конструкцию и функции, аналогичные его конструкции и функциям в каждом из вариантов осуществления, соответствующее пояснение опущено.
Части 62 держателя придана такая конфигурация, при которой она в основном включает: часть 62а для выработки энергии, в которой заключены модуль 10 для выработки энергии и СОПР-часть 30 и для которой предусмотрен вывод ЭЛ(+) положительного электрода; противоположную часть 62b, для которой предусмотрен вывод ЭЛ(-) отрицательного электрода; и соединительную часть 62с, которая электрически соединяет часть 62а для выработки энергии с противоположной частью 62b и электрически соединяет часть 62а для выработки энергии с выводом ЭЛ(-) отрицательного электрода. В данном случае, вогнутое пространство ПР2, окруженное противоположной частью 62b и соединительной частью 62с, представляет собой положение размещения, когда подсоединен топливный блок 61.
В системе электропитания, имеющей такую конструкцию, как показанная на фиг. 78А, необходимо отметить, что, когда топливный блок 61 вставлен в пространство ПР2, образованное частью 62а для выработки энергии, противоположной частью 62b и соединительной частью 62с (стрелка С10 на чертеже), и при этом отверстие 61а для подачи топлива топливного блока 61, с которого снят упаковочный материал 63, введено в контакт с каналом подачи топлива на стороне части 62а для выработки энергии, возникает ситуация, в которой топливный блок 61 заключен в пространстве ПР2, как показано на фиг. 78В, а функция предотвращения утечки топлива, которой наделен топливный блок 61, отключена. Кроме того, топливо ТПЛ для выработки энергии, заправленное в топливный блок 61, подается в модуль 10 для выработки энергии, включенный в состав части 62 для выработки энергии, через канал подачи топлива.
В данном случае, аналогично первому варианту осуществления, когда топливный блок 61 заключен в пространство ПР2 и соединен с частью 62 держателя, конфигурация системы электропитания обуславливает внешнюю форму и размеры, по существу, аналогичные внешней форме и размерам цилиндрического химического источника тока общего назначения (см. фиг. 73А и 74С). Кроме того, необходимо отметить, что при наличии топливного блока 61, обычно размещаемого в пространстве ПР2, чтобы предотвратить случайное выпадение топливного блока 61 из части 62 держателя, следует предусмотреть конструкцию, в которой внешняя форма топливного блока 61 введена в зацепление с внутренней формой части 62 держателя.
В результате, аналогично первому варианту осуществления, возможна реализация полностью совместимой системы электропитания портативного типа, которая так же проста в обращении, как химический источник тока общего назначения, имеет внешнюю форму и электрическую характеристику, соответствующие или эквивалентные внешней форме и электрической характеристике химического источника тока общего назначения. Кроме того, за счет надлежащего выбора конструкции устройства для выработки энергии, применяемого в качестве модуля для выработки энергии, или выбора материала, из которого делают подсоединяемый и разъединяемый топливный блок, возможно осуществляемое в значительной степени подавление его влияния на окружающую среду, а также возможно решение проблем, связанных с вопросами окружающей среды и возникающих по причине выбрасывания существующего химического источника тока на открытую свалку или захоронения его в землю или недостаточной эффективности использования энергии.
(Третий вариант осуществления подсоединяемой и
отсоединяемой конструкции)
На фиг. 79А–79С представлены изображения, условно показывающие внешнюю форму топливного блока системы электропитания в соответствии с третьим вариантом осуществления настоящего изобретения на виде спереди, виде сбоку и виде сзади, на фиг. 79D–79F представлены изображения, условно показывающие внешнюю форму части держателя системы электропитания в соответствии с настоящим изобретением на видах сверху, спереди, сбоку и сзади, а на фиг. 80А–80С представлены изображения, показывающие подсоединяемую и отсоединяемую конструкцию модуля для выработки энергии и топливного блока в системе электропитания в соответствии с этим вариантом осуществления. В нижеследующем описании, пояснение элементов, эквивалентных соответствующим элементам в вышеописанных конкретных вариантах осуществления, будет упрощено или опущено.
Как показано на фиг. 79А–79F, система электропитания, соответствующая этому варианту осуществления, включает: топливный блок 71, в который топливо для выработки энергии заправляют в предварительно определенных условиях, и часть 72 держателя, которой придана конфигурация, обеспечивающая возможность размещения в ней множества топливных блоков 71. Когда топливный блок 71 представляет собой прозрачный разлагаемый полимерный корпус, в который заправлено топливо ТПЛ и который не используется, периферия корпуса покрыта упаковочным материалом 73 для защиты от таких разлагающих факторов, как бактерии. В случае подсоединения топливного блока 71, как будет пояснено ниже, может потребоваться перфорирование и отслоение упаковочного материала 73 топливного блока 71. Поскольку топливный блок 71 представляет собой прозрачный корпус, а на него нанесена градуировка 71с, то есть возможность удостовериться в остаточном количестве находящегося в нем топлива. Кроме того, если часть 11 субблока питания расходует топливо, находящееся в топливном блоке 71 и постоянно вырабатывает энергию, как в случае топливного элемента с прямой подачей топлива и т.п., а для упаковочного материала 74 может быть предусмотрено отверстие 74а для подачи кислорода и выпуска диоксида углерода, находящееся в непосредственной близости к модулю 10 для выработки энергии. Если часть 11 субблока питания не расходует топливо, что бывает в случае конденсатора и т.п., то нет необходимости предусматривать отверстие 74а.
Части 72 держателя, функционирующей как модуль 10 для выработки энергии и СОПР-часть 30, придана такая конфигурация, при которой она в основном включает: часть 72а для выработки энергии, в которой заключен модуль 10 для выработки энергии и для которой, в дополнение к выводу ЭЛ(+) положительного электрода и выводу ЭЛ(-) отрицательного электрода, на той же самой концевой поверхности предусмотрена часть ЭЛх, содержащая электрические выводы, для передачи и приема информации о возбуждении нагрузки; прозрачный корпус 72b для размещения, выполненный таким образом, что между ним и частью 72а для выработки энергии имеется пространство ПР3; и открываемую и закрываемую крышку 72с, которая позволяет размещать топливный блок 71 в пространстве ПР3 или извлекать этот блок из этого пространства, а также прижимает и фиксирует топливный блок 71, размещенный в пространстве ПР3. Поскольку градуировка 72d нанесена на корпус 72b для размещения вместо градуировки 71с топливного блока 71, есть возможность удостовериться в остаточном количестве находящегося в нем топлива. В данном случае, пояснение элементов, аналогичных элементам вариантов осуществления, будет упрощено или опущено.
В системе электропитания, имеющей такую конструкцию, как показанная на фиг. 80А, необходимо отметить, что, когда открываемая и закрываемая крышка 72с держателя 72 открыта и одна поверхностная сторона пространства ПР3 открыта, множество топливных блоков 71 (в этом примере, два), с которых сняты упаковочные материалы 73, вставляют в одном и том же направлении, а потом закрывают открываемую и закрываемую крышку 72с, как показано на фиг. 80В и 80С. В результате, топливные блоки 71 оказываются размещенными в пространстве ПР3, а открываемая и закрываемая крышка 72с оказывает нажим на другую концевую сторону 71b топливных блоков 71, тем самым вводя отверстие 71а для подачи топлива топливного блока 71 в контакт с каналом подачи топлива (который находится в СОПР-части и не показан) на стороне части 72а для выработки энергии. Следовательно, функция предотвращения утечки топлива, которой наделен топливный блок 71, отключается, и топливо ТПЛ для выработки энергии, заправленное в топливный блок 71, подается в модуль 10 для выработки энергии, включенный в состав части 72а для выработки энергии, через канал подачи топлива.
В данном случае, конфигурация системы электропитания обуславливает внешнюю форму и размеры, по существу, аналогичные внешней форме и размерам химического источника тока общего назначения, который имеет специальную форму, когда топливные блоки 71 заключены в пространстве ПР3 и соединены с частью 72 держателя. На фиг. 80В и 80С показана не используемая система электропитания, для которой заданы топливные блоки 71 и часть 72 держателя. Периферия корпуса покрыта упаковочным материалом 74 для защиты от таких разлагающих факторов, как бактерии. В случае использования этой системы электропитания в качестве источника питания какого-либо устройства и т.п., может потребоваться перфорирование упаковочного материала 74.
В результате, аналогично первому варианту осуществления, возможна реализация полностью совместимой системы электропитания портативного типа, которая имеет внешнюю форму и электрическую характеристику, соответствующие или аналогичные внешней форме и электрической характеристике существующего химического источника тока. Кроме того, за счет надлежащего выбора конструкции устройства для выработки энергии, применяемого в качестве модуля для выработки энергии, или выбора материала, из которого делают подсоединяемый и разъединяемый топливный блок, возможно осуществляемое в значительной степени подавление влияния на окружающую среду, а также возможно решение проблем, связанных с вопросами окружающей среды и возникающих по причине выбрасывания существующего химического источника тока на открытую свалку или захоронения его в грунте или недостаточной эффективности использования энергии.
(Четвертый вариант осуществления подсоединяемой и отсоединяемой конструкции)
На фиг. 81А–81С представлены изображения, условно показывающие внешнюю форму топливного блока системы электропитания в соответствии с четвертым вариантом осуществления настоящего изобретения на виде спереди, виде сбоку и виде сзади, на фиг. 81D–81F представлены изображения, условно показывающие внешнюю форму части держателя системы электропитания в соответствии с настоящим изобретением на видах сверху, спереди, сбоку и сзади, а на фиг. 82А–82С представлены изображения, показывающие подсоединяемую и отсоединяемую конструкцию модуля для выработки энергии и топливного блока в системе электропитания в соответствии с этим вариантом осуществления.
Как показано на фиг. 81А–81F, системе электропитания, соответствующей этому варианту осуществления, придана такая конфигурация, при которой она включает: топливный блок 81, в который топливо для выработки энергии заправляют в предварительно определенных условиях, и часть 82 держателя, которой придана конфигурация, обеспечивающая возможность размещения в ней множества топливных блоков 81. При этом следует отметить, что, когда топливный блок 81 представляет собой прозрачный разлагаемый полимерный корпус, в который заправлено топливо ТПЛ и который не используется, периферия корпуса покрыта упаковочным материалом 83 для защиты от таких разлагающих факторов, как бактерии. Кроме того, в случае подсоединения топливного блока 81, как будет пояснено ниже, может потребоваться перфорирование и отслоение упаковочного материала 83 топливного блока 81. Кроме того, поскольку топливный блок 81 представляет собой прозрачный корпус, а на него нанесена градуировка 81с, то есть возможность удостовериться в остаточном количестве находящегося в нем топлива. Кроме того, если часть 11 субблока питания расходует топливо, находящееся в топливном блоке 81, и постоянно вырабатывает энергию, как в случае топливного элемента с прямой подачей топлива и т.п., для упаковочного материала 84 может быть предусмотрено отверстие 84а для подачи кислорода и выпуска диоксида углерода, находящееся в непосредственной близости к модулю 10 для выработки энергии. Если часть 11 субблока питания не расходует топливо, что бывает в случае конденсатора и т.п., то нет необходимости предусматривать отверстие 84а.
Части 82 держателя, функционирующей как модуль 10 для выработки энергии и СОПР-часть 30, придана такая конфигурация, при которой она в основном включает: часть 82а для выработки энергии, в которой заключен модуль 10 для выработки энергии и для которой, в дополнение к выводу ЭЛ(+) положительного электрода и выводу ЭЛ(-) отрицательного электрода, на той же самой концевой поверхности предусмотрена часть ЭЛх, содержащая электрические выводы, для передачи и приема информации о возбуждении нагрузки; противоположную часть 82b, имеющую поверхность, противоположную части 82а для выработки энергии; и базовую часть 82с для соединения части 82а для выработки энергии с противоположной частью 82b. В данном случае пространство ПР4, окруженное частью 82а для выработки энергии, противоположной частью 82b и базовой частью 82с, представляет собой положение размещения, когда подсоединен топливный блок 81. Поскольку градуировка 82d нанесена на часть 82 держателя вместо градуировки 81с топливного блока 81, есть возможность удостовериться в остаточном количестве находящегося в нем топлива. Необходимо отметить, что если базовая часть 82с не прозрачна, то с помощью градуировки 82d можно легко осуществить визуальный контроль.
В системе электропитания, имеющей такую конструкцию, как показанная на фиг. 82А, необходимо отметить, что, когда отверстие 81а для подачи топлива (на одной концевой стороне) топливного блока 81 введено в контакт с каналом подачи топлива (который находится в СОПР-части и не показан) на стороне части 82а для выработки энергии, так что контактирующая часть определяется как опорная точка, тогда как другая концевая сторона 81b топливного блока 81 повернута и расположена с возможностью упора в поверхность внутри пространства ПР4, образованного стороной части 82а для выработки энергии, противоположной частью 82b и базовой частью 82С (см. стрелку С11 на чертеже), как показано на фиг. 82В, другая концевая сторона 81b топливного блока 81 вводится в контакт с противоположной частью 82b и фиксируется, а множество топливных блоков 81 оказываются заключенными в пространстве ПР4 в одном и том же направлении. В этот момент, отключается функция предотвращения утечки топлива, которой наделен топливный блок 81, и топливо ТПЛ для выработки энергии, заправленное в топливный блок 81, подается в модуль 10 для выработки энергии, включенный в состав части 82 для выработки энергии, через канал подачи топлива.
В данном случае следует отметить, что конфигурация системы электропитания обуславливает внешнюю форму и размеры, по существу, аналогичные внешней форме и размерам, например, химического источника тока, который имеет специальную форму, когда топливные блоки 81 размещены в пространстве ПР4 и соединены с частью 82 держателя. Кроме того, следует отметить, что при наличии топливных блоков 81, обычно размещаемых в пространстве ПР4, обеспечивается возможность введения отверстия 81а для подачи топлива в контакт и соединения его с каналом подачи топлива на стороне части 82а для выработки энергии. Кроме того, чтобы предотвратить случайное выпадение топливных блоков 81 из части 82 держателя, аналогично первому варианту осуществления, контактной части между другой концевой стороной 81b топливных блоков 81 и противоположной частью 82b придана конфигурация, обуславливающая контакт с помощью надлежащего осевого усилия.
В результате, обеспечивается возможность реализации системы электропитания, дающей эффекты и имеющей преимущества, аналогичные эффектам и преимуществам, имеющимся в каждом из вариантов осуществления.
На фиг. 82В и 82С показана неиспользуемая система электропитания, для которой заданы топливные блоки 81 и часть 82 держателя. Периферия корпуса покрыта упаковочным материалом 84 для защиты от таких разлагающих факторов, как бактерии. В случае использования системы электропитания в качестве источника питания какого-либо устройства и т.п., может потребоваться перфорирование упаковочного материала 84.
Для каждой из частей 62, 72 и 82 держателя предусмотрена трубка подачи топлива, выполняющая функцию, аналогичную функции трубки 411 подачи топлива, и в каждой из этих частей держателя предусмотрен канал сбора побочного продукта, аналогичный трубке 416 для подвода воды.
(Пример конструкции)
Далее, со ссылками на чертежи, будет приведено описание примера конструкции всей системы электропитания, для которой применим любой из вариантов осуществления (включая каждый пример конструкции).
На фиг. 83 представлено изображение, показывающее пример конструкции всей системы электропитания в соответствии с настоящим изобретением. Кроме того, на фиг. 84 представлено изображение, показывающее пример конструкции части для топливного риформинга, которая применима к этому примеру конструкции системы, а на фиг. 85 представлено изображение, показывающее еще один пример конструкции части для топливного риформинга, которая применима к этому примеру конструкции системы. Необходимо указать, что в данном случае в качестве части 11 субблока питания, предусмотренной для модуля для выработки энергии, применяется топливный элемент с прямой подачей топлива, а в качестве части 12 для выработки энергии применяется топливный элемент, предусматривающий топливный риформинг. Кроме того, в нижеследующем описании даны ссылки на каждый из вариантов осуществления, и те же самые позиции обозначают аналогичные элементы, что упрощает их описание.
Как показано на фиг. 83, система 301 электропитания, соответствующая этому примеру конструкции, имеет модуль 10 для выработки энергии и топливный блок 20, конфигурация которого обеспечивает подсоединение к модулю и отсоединение от него посредством СОПР-части 30, как показано на фиг. 3, и как единое целое имеет цилиндрическую внешнюю форму, показанную на фиг. 73А или фиг. 74А–74С. Кроме того, эти элементы (в частности, модуль 10 для выработки энергии) заключены в малом пространстве путем использования технологии производства микромашин и т.п., а этой системе электропитания придана конфигурация, обеспечивающая внешний размер, аналогичный внешнему размеру химического источника тока общего назначения.
Модулю 10 для выработки энергии придана такая конфигурация, при которой он в основном включает: часть 210b топливного элемента, проходящую вдоль окружной боковой поверхности цилиндрической формы; часть 210Х реактора для риформинга (для проведения реакции парового риформинга), которая имеет проточный канал топлива, глубина и ширина которого соответственно не превышают 500 мкм, и нагреватель для задания предварительно определенной температуры в пространстве, имеющемся в проточном канале топлива, в цилиндрическом модуле 10 для выработки энергии; часть 210Y реактора для конверсии водяного газа (для проведения реакции конверсии водяного газа), которая имеет проточный канал топлива, глубина и ширина которого соответственно не превышают 500 мкм, и нагреватель для задания предварительно определенной температуры в пространстве, имеющемся в проточном канале топлива; часть 210Z выбранного реактора для окисления (для проведения выбранной реакции окисления), которая имеет проточный канал топлива, глубина и ширина которого соответственно не превышают 500 мкм, и нагреватель для установки предварительно определенной температуры для пространства, имеющегося в проточном канале топлива; управляющий кристалл 90, который выполнен в виде микросхемы, заключен в модуле 10 для выработки энергии и имеет установленные на нем часть 13, управляющую работой, и часть 15, управляющую запуском, и т.п.; множество отверстий (щелей) 14с для воздуха, которые пробиты от цилиндрической боковой поверхности модуля 10 для выработки энергии к воздушным электродам 112 и 212 части 11 субблока питания и части 12 для выработки энергии и через которые проходит воздух снаружи; разделяющую часть 17, которая сжижает (конденсирует) побочный продукт (например, воду), образующуюся на стороне воздушных электродов 112 и 212, отделяет и собирает этот побочный продукт; канал 16а подачи побочного продукта, предназначенный для подачи некоторого количества побочного продукта в часть 210Х для проведения реакции парового риформинга; выпускное отверстие 14d, которое пробито от верхней поверхности цилиндра к воздушному электроду части 12 для выработки энергии и выпускает наружу из модуля для выработки энергии, по меньшей мере, один побочный продукт (например, диоксид углерода) в качестве несобираемого материала, который образуется на стороне топливного электрода части для выработки энергии или в части 210Х для проведения реакции парового риформинга и части 210Z для проведения выбранной реакции окисления; и часть 11 субблока питания, хотя ее описание далее опущено. В качестве воды, необходимой для реакции в части 210Х для проведения реакции парового риформинга и части 210Y для проведения реакции конверсии водяного газа, используется, по меньшей мере, одна из воды, подаваемой через канал 17а побочного продукта и образующейся в части 210b топливного элемента, и воды, присутствующей в топливе ТПЛ, находящемся в топливном блоке 20. Кроме того, наружу из модуля 10 для выработки энергии через выпускное отверстие 14d выпускается диоксид углерода, образующийся посредством каждой реакции, проходящей в части 210Х для проведения реакции парового риформинга, части 210Y для проведения реакции конверсии водяного газа и части 210Z для проведения выбранной реакции окисления.
Можно также предусмотреть трубку 415 для подвода диоксида углерода вместо выпускного отверстия 14d, как показано на фиг. 49–54, и обеспечить абсорбирование диоксида углерода в части 404 для абсорбирования диоксида углерода.
В этом случае, устройство особенно пригодно для использования в качестве системы электропитания другого устройства, например, такой, которая может быть подсоединена в замкнутом пространстве с обеспечением такой степени герметичности, что из этого пространства не будет утечки газа, так как побочному продукту невозможно выйти из системы электропитания наружу.
Аналогично конструкции, показанной на фиг. 48, топливному блоку 20 (51, 61, 71, 81) придана такая конфигурация, при которой он в основном включает: заправляемую топливом часть 401, в которую заправлено или залито топливо ТПЛ для выработки энергии, предназначенное для подачи в часть 12 для выработки энергии или часть 11 субблока питания в соответствии с потребностями; заправляемую побочным продуктом часть 403 (часть 21 для удержания собранного побочного продукта) для осуществляемого со связыванием удержания в ней побочного продукта (воды), собираемого отделяющей частью 17; клапан 24А подачи топлива (средство предотвращения утечки), который находится на границе с модулем 10 для выработки энергии и предотвращает утечку топлива ТПЛ для выработки энергии; и клапан 24В впуска побочного продукта (средство предотвращения утечки собранного материала) для предотвращения утечки собранного и удерживаемого побочного продукта (собранного материала). В данном случае, топливный блок 20 выполнен из разлагаемого пластика.
Когда топливный блок 20, имеющий такую конструкцию, соединен с модулем 10 для выработки энергии и СОПР-частью 30, трубка 411 подачи топлива прикладывает давление к клапану 24А подачи топлива, положение которого фиксируется пружиной, и при этом отключается функция предотвращения утечки, которой наделен топливный блок 51. Кроме того, топливо ТПЛ для выработки энергии, заправленное в топливный блок 51, автоматически подается в модуль 10 для выработки энергии за счет поверхностного натяжения в капиллярной трубке 52g и трубке 411 подачи топлива. Кроме того, когда топливный блок 20 отсоединен от модуля 10 для выработки энергии и СОПР-части 30, клапан 24А подачи топлива снова закрывается под упругим воздействием пружины, так что снова оказывается возможным предотвращение утечки топлива ТПЛ для выработки энергии.
СОПР-части 30 придана такая конфигурация, при которой она включает: канал 31 подачи топлива, предназначенный для подачи топлива ТПЛ для выработки энергии, заправленного в топливный блок 20, в часть 12 для выработки энергии или часть 11 субблока питания в соответствии с потребностями; и канал 32 сбора побочного продукта, предназначенный для подачи в топливной блок 20 всего или части побочного продукта (воды), образующегося в некоторых случаях в части 12 для выработки энергии или части 11 субблока питания и собираемой с помощью отделяющей части 17.
Хотя это и не показано на фиг. 83, топливный блок 20 или СОПР-часть 30 могут иметь конструкцию, в которой предусмотрено средство обнаружения остаточного количества, предназначенное для обнаружения остаточного количества топлива ТПЛ для выработки энергии, заправленного в топливный блок 20, или средство стабилизации топлива, предназначенное для стабилизации состояния заправки топлива для выработки энергии, как показано на фиг. 59 и 70.
Часть 210Х для проведения реакции парового риформинга, применимая к системе электропитания, соответствующей этому примеру конструкции, имеет конфигурацию, например, такую, как показанная на фиг. 84, и включает: часть 202а для выпуска топлива, часть 202b для выпуска воды, часть 203а для испарения топлива, часть 203b для испарения воды, смесительную часть 203с, проточный канал 204 для проведения реакции риформинга, и канал 205 выпуска газообразного водорода, причем каждый из этих элементов выполнен таким образом, что имеет форму канавки и предварительно определенный контур на плоской поверхности на одной поверхностной стороне малой подложки 201, например, из кремния, изготовленной способом микрообработки, таким, как способ изготовления кремниевых микросхем. Часть 210Х для проведения реакции парового риформинга также включает тонкопленочный нагреватель 206, который имеет площадь, соответствующую площади, занимаемой проточным каналом 204 для проведения реакции риформинга, и расположен, например, на другой поверхностной стороне малой подложки 201.
Часть 202а для выпуска топлива и часть 202b для выпуска воды имеют механизм выпуска текучей среды, предназначенный для выпуска топлива для выработки энергии, которое может служить сырьем в реакции парового риформинга, и воды в проточный канал в виде частиц жидкости в соответствии, например, с предварительно определенным единичным количеством. Следовательно, поскольку управление стадиями протекания реакции риформинга, описываемыми, например, посредством химического уравнения (3), основано на выпускаемом количестве топлива для выработки энергии или выпускаемом количестве воды в части 202а для выпуска топлива и части 202b для выпуска воды (в частности, с этим управлением также тесно связано количество тепла, вырабатываемого тонкопленочным нагревателем 206), часть 202а для выпуска топлива и часть 202b для выпуска воды имеют конструкцию, которая служит частью, выполняющей функцию регулирования подаваемого количества топлива в части 14, управляющей выдачей (части 14а, управляющей топливом).
Часть 203а для испарения топлива и часть 203b для испарения воды представляют собой нагреватели, осуществляющие нагревание в условиях испарения, например, при температуре кипения каждого вещества из таких веществ, как топливо для выработки энергии и вода, осуществляют процесс испарения, показанный на фиг. 20А, и испаряют топливо для выработки энергии или воду, выпускаемые из части 202а для выпуска топлива и части 202b для выпуска воды в виде частиц жидкости, посредством термообработки или обработки, предусматривающей понижение давления, топлива для выработки энергии, а также воды, вследствие чего образуется смешанный газ, полученный из топливного газа и пара в смесительной части 203с.
Тонкопленочный нагреватель 206 направляет смешанный газ, образовавшийся в смесительной части 203, в проточный канал 204 для проведения реакции риформинга и вызывает реакцию парового риформинга, показанную на фиг. 20А, происходящую в соответствии с химическим уравнением (3) и основанную на том, что на поверхность внутренней стенки проточного канала 204 для проведения реакции парового риформинга наносят с обеспечением прилипания основной медно-цинковый (Cu-Zn) катализатор (не показан), и обеспечивают подвод предварительно определенной тепловой энергии от тонкопленочного нагревателя 206 в проточный канал 204 для проведения реакции риформинга, причем этот подвод осуществляется в соответствии с площадью, в пределах которой образован проточный канал 204 для проведения реакции риформинга, вследствие чего образуется газообразный водород (Н2) (процесс реакции парового риформинга).
Часть 205 для выпуска газообразного водорода, выпускает газообразный водород, который образуется в канале 204 для проведения реакции риформинга, и эта часть содержит монооксид углерода и т.п., удаляет монооксид углерода (СО) посредством процесса реакции конверсии водяного газа и процесса выбранной реакции окисления в части 201Z для проведения выбранной реакции окисления, а после этого подает полученный газ на топливный электрод топливного элемента, представляющего собой часть 12 для выработки энергии. В результате, в части 12 для выработки энергии происходит серия химических реакций, основанных на химических уравнениях (6) и (7), вследствие чего вырабатывается предварительно определенная электроэнергия.
В системе электропитания, имеющей такую конструкцию, например, когда топливный блок 20 соединен с модулем 10 для выработки энергии посредством СОПР-части 30 в соответствии с работой системы в целом (т.е. работой в начальном режиме, работой в режиме запуска, работой в установившемся режиме и работой в режиме остановки), выполняемая клапаном 24А подачи топлива (средством предотвращения утечки) функция предотвращения утечки отключена, и топливо ТПЛ для выработки энергии (например, метиловый спирт), заправленное в заправляемую топливом часть 401 топливного блока 20, подается на топливный электрод топливной батареи, которая непосредственно представляет собой часть 11 субблока питания, по каналу 31 подачи топлива, вследствие чего вырабатывается вторая электроэнергия. Эта электроэнергия подается в часть 13, управляющую работой, установленную на управляющем кристалле 90, в качестве рабочей электроэнергии, а также подается в качестве электроэнергии возбуждения в контроллер К, включенный в состав устройства У (не показано), с которым система 301 электропитания соединена посредством вывода положительного электрода и вывода отрицательного электрода, которые не показаны.
Когда часть 13, управляющая работой, принимает информацию о возбуждении нагрузки Н устройства У из контроллера К, эта часть 13, управляющая работой, выдает сигнал управления работой в часть 15, управляющую запуском, и использует некоторую долю электроэнергии, вырабатываемой частью 11 субблока питания, для нагревания тонкопленочного нагревателя 206 части 210 для проведения реакции парового риформинга. Кроме того, часть 13, управляющая работой, выпускает предварительно определенные количества воды и топлива для выработки энергии в проточный канал 204 для проведения реакции риформинга части 210Х для проведения реакции парового риформинга. В результате, за счет реакции парового риформинга и выбранной реакции окисления, описываемых химическими уравнениями (3)–(5), образуются газообразный водород (Н2) и диоксид углерода (СО2), и газообразный водород (Н2) подается на топливный электрод топливного элемента, представляющего собой часть 12 для выработки энергии, за счет чего вырабатывается первая электроэнергия. Эта первая электроэнергия подается на нагрузку Н устройства У в качестве электроэнергии возбуждения нагрузки. Кроме того, диоксид углерода (СО2) выпускается наружу из модуля 10 для выработки энергии (системы 301 электропитания), например, через выпускное отверстие 14d, предусмотренное на верхней поверхности модуля 10 для выработки энергии.
Газообразный продукт (газ, такой, как пары), образующийся во время работы в режиме выработки энергии в части 12 для выработки энергии, охлаждается и сжижается в отделяющей части 17. Следовательно, побочный продукт разделяется на воду и любой другой газ, и только вода собирается и частично подается по каналу 16а подачи побочного продукта в часть 210Х для проведения реакции парового риформинга. Кроме того, любая другая вода необратимо удерживается в заправляемой побочным продуктом части 403 в топливном блоке 20, поступая туда по каналу 32 сбора побочного продукта.
Следовательно, в соответствии с системой 301 электропитания, относящейся к этому примеру конструкции, можно автономно выдавать подходящую электроэнергию (первую электроэнергию), соответствующую состоянию возбуждения возбуждаемой нагрузки (устройства У), без повторной подачи топлива снаружи системы 301 электропитания, а работу в режиме выработки энергии можно без затруднений проводить с высокой эффективностью преобразования энергии, одновременно обеспечивая электрическую характеристику, аналогичную электрической характеристике химического источника тока общего назначения. Более того, обеспечивается возможность выполнения системы электропитания портативного типа, которая причиняет меньший вред окружающей среде, по меньшей мере, в случае выбрасывания топливного блока 20 на открытую свалку или захоронения его в грунте.
В этом примере конструкции, описание приведено применительно к случаю, когда некоторое количество побочного продукта (воды), образовавшегося или собранного в части 12 для выработки энергии, части 210Х для проведения реакции парового риформинга, и т.п., подается в часть 210Х для проведения реакции парового риформинга и повторно используется, а вода, заправленная в топливный блок 20, вместе с топливом для выработки энергии (метиловым спиртом и т.п.) используется для проведения реакции парового риформинга в части 210Х для проведения реакции парового риформинга в системе электропитания, для которой такая конструкция не применяется.
Если работа в режиме выработки энергии осуществляется посредством использования заправленного топлива для выработки энергии, с которым заранее смешана вода, то, как показано на фиг. 85, в качестве конструкции части 210Х для проведения реакции парового риформинга можно применять конструкцию, в которой имеется один проточный канал, состоящий только из части 202 для выпуска топлива, части 203 для испарения топлива, проточного канала 204 для проведения реакции риформинга и части 205 для выпуска газообразного водорода, которые все расположены на одной поверхностной стороне малой подложки 201.
Как описано выше, система электропитания, соответствующая настоящему изобретению, может быть выполнена путем произвольного объединения элементов, описанных в примерах конструкции, модулей для выработки энергии, упомянутых в соответствующих вариантах осуществления, а также подсоединяемых и отсоединяемых конструкций, упомянутых в соответствующих вариантах осуществления. В некоторых случаях, можно предусмотреть множество либо частей субблоков питания, либо частей для выработки энергии, работающих параллельно, или можно предусмотреть множество типов таких частей, работающих параллельно. Поскольку управление возбуждением части для выработки энергии осуществляется посредством такой конструкции в соответствии с состоянием запуска устройства, то можно исключить бесполезный расход топлива для выработки энергии и повысить эффективность использования энергоресурса. В частности, настоящее изобретение можно длительное время применять для портативного устройства, для которого в качестве источника питания применяется сменный источник тока общего назначения, и таким устройством может быть, например, мобильный телефон, персональный цифровой секретарь (ПЦС), персональный компьютер типоразмера ноутбука, цифровая видеокамера, цифровая видеодиакамера, и т.п., или блок отображения, такой, как жидкокристаллический элемент, электролюминесцентный элемент, и другие.
Формула изобретения
1. Устройство для удаления побочных продуктов, содержащее заправляемую абсорбентом часть в топливном блоке, избирательно абсорбирующую диоксид углерода, содержащийся в первом газе, включающем водород и диоксид углерода, подаваемом из модуля для выработки энергии, для риформинга топлива для выработки энергии в первом газе и для генерирования электрической энергии из водорода, при этом заправляемая абсорбентом часть обеспечивает подачу второго газа, концентрация диоксида углерода в котором снижена за счет абсорбции в модуле для выработки энергии, причем топливный блок включает заправляемую топливом часть, имеющую заправленное в нее топливо для выработки энергии, представляющее собой жидкость или газ, содержащий водород.
2. Устройство для удаления побочных продуктов по п.1, в котором емкость заправляемой абсорбентом части увеличивается по мере абсорбирования диоксида углерода.
3. Устройство для удаления побочных продуктов по п.1, в котором заправляемая абсорбентом часть содержит оксид кальция или гидроксид кальция.
4. Устройство для удаления побочных продуктов по п.1, в котором заправляемая абсорбентом часть включает часть для абсорбирования диоксида углерода, обеспечивающую абсорбирование диоксида углерода в первом газе, и часть для сбора карбоната кальция, содержащую карбонат кальция, образующийся в части для абсорбирования диоксида углерода.
5. Устройство для удаления побочных продуктов по п.4, в котором часть для абсорбирования диоксида углерода обеспечивает подачу в часть для сбора карбоната кальция карбонат кальция, образующийся по мере абсорбирования диоксида углерода.
6. Устройство для удаления побочных продуктов по п.4, в котором часть для абсорбирования диоксида углерода содержит оксид кальция или гидроксид кальция.
7. Устройство для удаления побочных продуктов по п.1, в котором заправляемая абсорбентом часть включает часть для абсорбирования диоксида углерода, обеспечивающую абсорбирование диоксида углерода в первом газе, часть для сбора карбоната кальция, собирающую карбонат кальция, образующийся в части для абсорбирования диоксида углерода и часть для абсорбирования воды, абсорбирующую воду, образующуюся в части для абсорбирования диоксида углерода.
8. Устройство для удаления побочных продуктов по п.7, в котором часть для абсорбирования воды обеспечивает подачу в часть для абсорбирования диоксида углерода гидроксида кальция, образующегося по мере абсорбирования воды.
9. Устройство для удаления побочных продуктов по п.8, в котором часть для абсорбирования диоксида углерода обеспечивает подачу в часть для сбора карбоната кальция карбоната кальция, образующегося по мере абсорбирования диоксида углерода.
10. Устройство для удаления побочных продуктов по п.7, в котором часть для абсорбирования воды содержит оксид кальция.
11. Устройство для удаления побочных продуктов по п.7, в котором часть для абсорбирования диоксида углерода содержит гидроксид кальция.
12. Устройство для удаления побочных продуктов по п.1, в котором реакция риформинга в модуле для выработки энергии включает первую реакцию, при которой образуется газообразный водород из топлива для выработки энергии, и вторую реакцию, при которой происходит преобразование монооксида углерода, который является побочным продуктом, образующимся вместе с водородом в первой реакции, в диоксид углерода, а заправляемая абсорбентом часть выполнена с возможностью абсорбирования диоксида углерода, образующегося за счет второй реакции.
13. Устройство для удаления побочных продуктов по п.1, в котором модуль для выработки энергии имеет, по меньшей мере, часть для проведения реакции парового риформинга топлива для выработки энергии в первый газ, включающий оксид углерода, часть для проведения реакции конверсии водяного пара для образования диоксида углерода из оксида углерода в первом газе и часть для проведения выбранной реакции окисления для образования диоксида углерода в оксид углерода, который не прореагировал в части для проведения реакции конверсии водяного пара.
14. Устройство для удаления побочных продуктов по п.1, в котором модуль для выработки энергии имеет часть для проведения реакции парового риформинга и часть для проведения реакции конверсии водяного газа, а заправляемая абсорбентом часть соединена с частью для проведения реакции парового риформинга и частью для проведения реакции конверсии водяного газа.
15. Устройство для удаления побочных продуктов по п.1, которое дополнительно включает часть для сбора воды, которая выполнена с возможностью избирательного сбора, по меньшей мере, воды из веществ, являющихся продуктами работы модуля для выработки энергии и выпускаемых из него.
16. Устройство для удаления побочных продуктов по п.15, в котором модуль для выработки энергии включает часть для сбора воды, которая выполнена с возможностью избирательного сбора, по меньшей мере, воды из веществ, являющихся продуктами образования электрической энергии в модуле для выработки энергии и выпускаемых из него, причем заправляемая топливом часть, заправляемая абсорбентом часть и часть для сбора воды отделены друг от друга.
17. Устройство для удаления побочных продуктов по п.1, которое дополнительно включает канал для подачи первого газа, подаваемого из модуля для выработки энергии в топливный блок, и канал для подачи второго газа, подаваемого из заправляемой абсорбентом части в модуль для выработки энергии.
18. Устройство для удаления побочных продуктов по п.1, в котором модуль для выработки энергии обеспечивает образование первого газа из топлива для выработки энергии и абсорбирование тепла, а заправляемая абсорбентом часть в топливном блоке обеспечивает подачу тепла в часть для риформинга, причем подаваемое тепло образуется посредством абсорбирования диоксида углерода заправляемой абсорбентом части.
19. Топливный блок, соединенный с модулем для выработки энергии, включающий заправляемую топливом часть, которая содержит топливо, подаваемое в часть для риформинга в модуле для выработки энергии, содержащий часть для абсорбирования диоксида углерода, которая обеспечивает абсорбирование диоксида углерода, образующегося в части для риформинга в модуле для выработки энергии, емкость которой увеличивается по мере образования диоксида углерода в части для риформинга.
20. Топливный блок, соединенный с модулем для выработки энергии, включающий заправляемую топливом часть, которая содержит топливо, подаваемое в часть для риформинга в модуле для выработки энергии, причем часть для риформинга обеспечивает образование смешанного газа, содержащего водород и первый побочный продукт, из топлива в модуле для выработки энергии, содержащий часть для абсорбирования первого побочного продукта, которая обеспечивает образование второго побочного продукта посредством абсорбирования первого побочного продукта из смешанного газа, емкость которой увеличивается по мере образования первого побочного продукта в части для риформинга, и часть для абсорбирования второго побочного продукта, которая обеспечивает абсорбирование второго побочного продукта в смеси, включающей водород и второй побочный продукт, подаваемый из части для абсорбирования первого побочного продукта.
21. Топливный блок по п.20, который дополнительно содержит часть для абсорбирования третьего побочного продукта, которая обеспечивает абсорбирование третьего побочного продукта из топливного элемента, который обеспечивает образование третьего побочного продукта по мере выработки энергии с использованием водорода, подаваемого из части для абсорбирования второго побочного продукта.
22. Топливный блок по п.20, в котором часть для абсорбирования первого побочного продукта и часть для абсорбирования второго побочного продукта соединены друг с другом, а часть для абсорбирования третьего побочного продукта отделена от части для абсорбирования первого побочного продукта и части для абсорбирования второго побочного продукта.
23. Топливный блок, соединенный с модулем для выработки энергии, включающий заправляемую топливом часть, которая содержит топливо, подаваемое в часть для риформинга, причем часть для риформинга обеспечивает образование смешанного газа в модуле для выработки энергии, содержащий первую часть для абсорбирования первого побочного продукта, которая обеспечивает абсорбирование первого побочного продукта из смешанного газа, емкость которой увеличивается по мере образования первого побочного продукта в части для риформинга, и вторую часть для абсорбирования второго побочного продукта, которая обеспечивает сбор второго побочного продукта из модуля для выработки энергии, который вырабатывает мощность посредством использования водорода, подаваемого из первой части для абсорбирования первого побочного продукта, при этом емкость второй части для абсорбирования второго побочного продукта увеличивается по мере выработки энергии в модуле для выработки энергии.
24. Устройство для удаления побочных продуктов в модуле для выработки энергии, обеспечивающем выработку энергии из водорода, включающем часть для риформинга, которая обеспечивает преобразование топлива для выработки энергии в первый газ, содержащий водород и диоксид углерода, содержащее заправляемую абсорбентом часть, избирательно абсорбирующую диоксид углерода в первом газе, которая выполнена с возможностью присоединения к топливному блоку, имеющему заправленное в него топливо, и отсоединения от последнего.
РИСУНКИ
),> |
|