|
(21), (22) Заявка: 2002116622/09, 20.06.2002
(24) Дата начала отсчета срока действия патента:
20.06.2002
(43) Дата публикации заявки: 27.02.2004
(45) Опубликовано: 10.04.2005
(56) Список документов, цитированных в отчете о поиске:
US 3400305 А, 03.09.1968. US 3619297 А, 09.11.1971. RU 2069924 С1, 27.11.1996. US 4074018 A, 14.02.1978.
Адрес для переписки:
400121, г.Волгоград, ул. Акад. Павлова, 4, кв.174, О.В. Ольшанскому
|
(72) Автор(ы):
Ольшанский О.В. (RU), Тужиков О.О. (RU)
(73) Патентообладатель(и):
Ольшанский Олег Владимирович (RU), Тужиков Олег Олегович (RU)
|
(54) СПОСОБ УПРАВЛЕНИЯ ВЫХОДНЫМ ТОКОМ ЭЛЕКТРОХИМИЧЕСКОГО ГЕНЕРАТОРА (ВАРИАНТЫ)
(57) Реферат:
Изобретение относится к электротехнике. Согласно изобретению способ включает применение электролита и контактирующих с ним анода и катода, при этом между анодом и катодом в электролит помещают дополнительный электрод и на него подают управляющее напряжение, которым изменяют ионную проводимость электролита и величину электрического тока в нагрузке генератора. Это позволяет повысить эффективность способа. 2 н. и 6 з.п. ф-лы, 2 ил.

Изобретение относится к электротехнике и может быть использовано в технологии построения блоков питания с электрохимическими генераторами.
Известен способ управления выходным током электрохимического генератора, включающий применение электролита и контактирующих с ним катода и анода, получение постоянного тока на выходе генератора и преобразование его в регулируемый постоянный ток с помощью электронного импульсного блока (см. описание изобретения к патенту США N 6323626 МПК G 05 F 1/46, публикация 27.11.2001 г.) Недостатком известного способа является его недостаточная эффективность.
Известен способ управления двухполярным током в источнике питания с двумя элементами – электрохимическими генераторами, в которых катод первого элемента соединен с анодом второго элемента и это соединение и выход нагрузки заземлены, включающий применение в каждом электрохимическом генераторе электролита и контактирующих с ним катода и анода, получение двухполярного постоянного тока на выходах генератора и преобразование его в двухполярный переменный электрический ток с помощью электронного импульсного блока, который содержит дифференциальный каскад на двух ключевых транзисторах, генератор тока на транзисторе, управляемый источник тока на транзисторе и источник знакопеременного сигнала (см. описание изобретения к авторскому свидетельству СССР N 1115037, МПК G 05 F 3/20 публикация 23.09.1984 г.)
Недостатком известного способа является его недостаточная эффективность.
Задачей заявляемого изобретения является повышение эффективности способа.
Сущность изобретения заключается в следующем.
По первому варианту в способе управления выходным током электрохимического генератора, включающем применение электролита и контактирующих с ним катода и анода, между анодом и катодом помещают дополнительный электрод и на него подают управляющее напряжение, которым изменяют ионную проводимость электролита и величину электрического тока в нагрузке генератора.
Кроме того, дополнительный электрод выполняют из электропроводного химически нейтрального материала, например из углеродной ткани, с изолированным токоподводом.
Кроме того, дополнительный электрод размещают в области катода и на дополнительный электрод подают управляющее напряжение положительного знака.
Кроме того, дополнительный электрод размещают в области анода и на дополнительный электрод подают управляющее напряжение отрицательного знака.
Кроме того, дополнительный электрод размещают в средней области, между катодом и анодом, и на дополнительный электрод подают управляющее напряжение относительно анода или катода.
По второму варианту в способе управления двухполярным выходным током электрохимического генератора с двумя элементами, у которых катод первого элемента соединен с анодом второго элемента и это соединение и выход нагрузки заземлены, включающем применение в каждом элементе электролита и контактирующих с ним катода и анода, между катодом и анодом в электролите помещен дополнительный электрод, анод первого элемента и катод второго элемента через диоды подключают к нагрузке, а на дополнительные электроды через диоды подают управляющее напряжение, которым изменяют ионную проводимость электролита и величину двухполярного электрического тока в нагрузке электрохимического генератора.
Кроме того, каждый дополнительный электрод выполнен из электропроводного химически нейтрального материала, например из углеродной ткани с изолированным токоподводом.
Кроме того, подают синусоидальное управляющее напряжение.
Это позволяет повысить эффективность способа.
Сущность изобретения поясняется чертежами, где:
на фиг.1 показан первый электрохимический генератор, выполненный в соответствии с первым вариантом заявляемого способа;
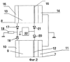
на фиг.2 показан второй электрохимический генератор, выполненный в соответствии со вторым вариантом заявляемого способа.
Первый электрохимический генератор (фиг.1) с одним элементом содержит электролит 1 и контактирующие с ним анод 2 и катод 3. Между анодом 2 и катодом 3 в электролит 1 помещен дополнительный электрод 4. Электрод 4 соединен с источником 5 управляющего напряжения. К катоду 3 и аноду 2 подключена нагрузка 6 электрохимического генератора. Дополнительный электрод 4 выполнен из электропроводного химически нейтрального материала, например из углеродной ткани с изолированным токоподводом.
Второй электрохимический генератор (фиг.2) содержит два элемента 7 и 8 – электрохимические генераторы, в первом элементе 7 – электролит 9 и контактирующие с ним анод 10 и катод 11, дополнительный электрод 12, во втором элементе 8 – электролит 13 и контактирующие с ним анод 14, катод 15 и дополнительный электрод 16.
Анод 10 первого элемента и катод 15 второго элемента через диоды 17 и 18 подключены на вход нагрузки 19.
Катод 11 первого элемента 7 соединен с анодом 14 второго элемента и это соединение и выход нагрузки 19 заземлены.
Дополнительные электроды 12 и 16 через разделительные диоды 20 и 21 подключены к источнику 22 управляющего напряжения. Источник 22 выполнен, например, в виде генератора гармонической синусоидальной функции. Дополнительные электроды 12 и 16 выполнены из электропроводного химически нейтрального материала, например из углеродной ткани с изолированным токоподводом.
Способ управления выходным током электрохимического генератора осуществляется следующим образом.
По первому варианту:
При работе нагрузка 6 подключена к аноду 2 и катоду 3. В результате окислительно-восстановительного взаимодействия на аноде 2 и катоде 3 образуется разность электрических потенциалов, которая обеспечивает движение электронов при подключенной внешней нагрузке 6 и перенос ионов в электролите 1 во внутренней цепи генератора. При подаче управляющего напряжения на дополнительный электрод 4 положительного знака относительно катода 3 происходит уменьшение ионной проводимости в зоне катод 3 – дополнительный электрод 4 за счет электромагнитного поля, тормозящего ионный поток. Это, в свою очередь, уменьшает скорость окислительно-восстановительного процесса и количество электронов, поступивших во внешнюю цепь, а значит, и величину тока в нагрузке 6. Сопротивление ионной проводимости пропорционально приложенному управляющему напряжению и плотности ионного тока в зоне катод 3 – дополнительный электрод 4. При этом изменение тока в цепи нагрузки генератора в точности повторяет функцию управляющего напряжения на дополнительном электроде 4.
Так как управление выходным током электрохимического генератора происходит под воздействием электромагнитного поля в зоне тройного контакта анод 2 – электролит 1 – дополнительный электрод 4 – катод 3, а ионы в отличие от электронов имеют гораздо большие размеры и большую концентрацию напряженности магнитного поля, то энергетические затраты на управление ионным потоком незначительны. Управление потенциалом на дополнительном электроде 4 относительно анода 2 или катода 3 обеспечивает необходимое управление ионным потоком во внутренней цепи и выходным током генератора во внешней цепи.
По второму варианту:
При работе нагрузка 19 с одной стороны подключена к аноду 14 второго элемента 8 и катоду 11 первого элемента с заземлением этого соединения, а с другой стороны – через разделительные диоды 17 и 18 к катоду 15 первого элемента 7 и аноду 10 второго элемента 8. Элементы 7 и 8 – электрохимические генераторы – работают аналогично, как описано по первому варианту. Для получения в нагрузке переменного тока на управляющий электрод 12 первого элемента 7 подается через диод 20 положительная полуволна управляющего напряжения с генератора синусоидальной функции 22. Отрицательная полуволна управляющего напряжения подается с выхода генератора через диод 21 на управляющий электрод 16 второго элемента 8. При этом в нагрузке 19 протекает переменный двухполярный ток.
Заявленное изобретение позволяет повысить эффективность способа управления выходным током электрохимического генератора в результате того, что параметры выходного тока могут меняться в процессе работы генератора за счет изменения скорости электрохимической реакции в самом элементе. Это позволяет отказаться от использования дорогостоящих электронных устройств управления выходным током электрохимического генератора, уменьшить расход химических реагентов, расходуемую мощность, повысить надежность работы, работать не с полной мощностью генератора, а с той, которую требует нагрузка, повысить КПД электрохимического генератора.
Положительный эффект заявленного изобретения включает несколько составляющих. Основные преимущества заявленного изобретения обусловлены возможностью регулирования силы тока во внешней цепи генератора и возможностью получения постоянного тока необходимого уровня или переменного одно- или двухполярного электрического тока непосредственно в электрохимическом генераторе, что позволяет использовать известные электротехнические устройства, трансформировать его, регулировать частоту и амплитуду, использовать в схемах управления, имея при этом высокий КПД и эффективность способа.
Предложенный способ управления выходным током электрохимического генератора позволяет получить на выходе генератора ток и напряжение заданной величины и формы, осуществить преобразование постоянного тока, получаемого в электрохимической реакции в постоянный ток необходимого уровня, или переменный ток в нагрузке с регулированием частоты и амплитуды выходного тока, обеспечить оптимальный расход химических реагентов, адекватных требуемой мощности в нагрузке.
Формула изобретения
1. Способ управления выходным током электрохимического генератора, включающий применение электролита и контактирующих с ним катода и анода, отличающийся тем, что между катодом и анодом в электролит помещают дополнительный электрод и на него подают управляющее напряжение, которым изменяют ионную проводимость электролита и величину электрического тока в нагрузке генератора.
2. Способ по п.1, отличающийся тем, что дополнительный электрод выполнен электропроводной химически нейтральной углеродной ткани с изолированным токоподводом.
3. Способ по п.1, отличающийся тем, что дополнительный электрод размещают в области катода и на дополнительный электрод подают управляющее напряжение положительного знака.
4. Способ по п.1, отличающийся тем, что дополнительный электрод размещают в области анода и на дополнительный электрод подают управляющее напряжение отрицательного знака.
5. Способ по п.1, отличающийся тем, что дополнительный электрод размещен в средней области между катодом и анодом, и на дополнительный электрод подают управляющее напряжение относительно катода или анода.
6. Способ управления двухполярным выходным током электрохимического генератора с двумя элементами, в которых катод первого элемента соединен с анодом второго элемента и это соединение и выход нагрузки заземлены, включающий применение в каждом элементе электролита и контактирующих с ним катода и анода, отличающийся тем, что между катодом и анодом в каждом элементе помещают дополнительный электрод, анод первого элемента и катод второго элемента через встречно-параллельные диоды подключают к входу нагрузки, а на дополнительные электроды через разделительные диоды подают двухполярное управляющее напряжение, которым изменяют ионную проводимость электролита и величину двухполярного электрического тока в нагрузке генератора.
7. Способ по п.6, отличающийся тем, что каждый дополнительный электрод выполнен из электропроводного химически нейтрального материала, например из углеродной ткани с изолированным токоподводом.
8. Способ по п.6, отличающийся тем, что подают синусоидальное управляющее напряжение.
РИСУНКИ
MM4A Досрочное прекращение действия патента Российской Федерации на изобретение из-за неуплаты в установленный срок пошлины за поддержание патента в силе
Дата прекращения действия патента: 21.06.2005
Извещение опубликовано: 27.01.2007 БИ: 03/2007
|