|
|
(21), (22) Заявка: 2001111920/06, 27.04.2001
(24) Дата начала отсчета срока действия патента:
27.04.2001
(43) Дата публикации заявки: 27.02.2003
(45) Опубликовано: 10.04.2005
(56) Список документов, цитированных в отчете о поиске:
SU 1163087 A, 23.06.1985. RU 2011922 С1, 30.04.1994. RU 2044217 С1, 20.09.1995. SU 1146516 А, 23.03.1985 . АТ 399759 В, 25.07.1995.
Адрес для переписки:
606279, Нижегородская обл., Воротынский р-н, Быковка, В.В.Пятину
|
(72) Автор(ы):
Пятин В.В. (RU)
(73) Патентообладатель(и):
Пятин Викентий Васильевич (RU)
|
(54) ТОПКА С БУНКЕРОМ И СМЕСИТЕЛЕМ ДЛЯ ФОРМИРОВАНИЯ ПЛАМЕНИ ГОРЕНИЯ ТОПЛИВА СИСТЕМ ВОЗДУШНОГО ОТОПЛЕНИЯ ПОМЕЩЕНИЙ
(57) Реферат:
Изобретение предназначено для сжигания топлива в системах воздушного отопления помещений. Топка систем воздушного отопления помещений содержит загерметизированный бункер с колосниковой решеткой, поддувалом, дверками, смеситель с трубкой для подачи в него воздуха. Бункер снабжен герметизирующим люком вверху, дверки расположены внизу бункера, смеситель выполнен с двумя трубчатыми сетками и электрозапальником внутри, трубка для подачи воздуха в наружные и внутренние полости трубчатых сеток смесителя снабжена заслонкой, кроме того, топка содержит трубку для подачи воздуха под колосниковую решетку с заслонкой для регулировки процесса горения топлива, отводные трубки с заслонками, отопительные батареи и водяной бак со змеевиком. Изобретение позволяет повысить эффективное энергоснабжение в северных районах страны. 1 ил.

Изобретение относится к энергетике, к обеспечению оптимальных тепловых условий помещений.
Известна конструкция стального сварного котла для дров, содержащая котел с одноходовым верхним отводом продуктов сгорания, топку с дверкой, поддувало с колесником (см. книгу Ю.П.Соснин, Е.Н.Бухаркин “Отопление и горячее водоснабжение индивидуального дома”. Москва, Стройиздат, 1991 г., стр.32-33). Опыт эксплуатации водяных отопительных систем помещений показал, что они абсолютно не практичны в условиях северных районов по причине передачи энергии горения топлива через влияние на стенки котлов, далее воде с очень низким кпд, риском размораживания систем и сложностью обслуживания, где сгорание порции топлива в топке не регулируется по интенсивности горения, а пламя не формируется в пространстве для полного сгорания продуктов. Печное отопление не обеспечивает постоянства температуры воздуха в помещении и имеет низкий кпд преобразования энергии.
Наиболее близкой к данному изобретению является топка, содержащая загерметизированный бункер с колосниковой решеткой, поддувалом, дверками, смеситель с трубкой для подачи в него воздуха (см. а.с. СССР №1163087, МПК F 23 B 1/12, 1985).
Указанное изобретение не обеспечивает эффективное энергоснабжение в северных широтах страны.
Задача изобретения – обеспечить конструктивную возможность эффективного энергоснабжения в северных районах страны с использованием местных ресурсов путем регулировки процесса горения и формирования пламени горения в смесителе, обеспечивая полное сгорание топлива и постоянную температуру в помещении.
Поставленная задача достигается тем, что топка систем воздушного отопления помещений содержит загерметизированный бункер с колосниковой решеткой, поддувалом, дверками, смеситель с трубкой для подачи в него воздуха, согласно изобретению бункер снабжен герметизирующим люком вверху, дверки расположены внизу бункера, смеситель выполнен с двумя трубчатыми сетками и электрозапальником внутри, трубка для подачи воздуха в наружные и внутренние полости трубчатых сеток смесителя снабжена заслонкой, кроме того, топка содержит трубку для подачи воздуха под колосниковую решетку с заслонкой для регулировки процесса горения топлива, отводные трубки с заслонками, отопительные батареи и водяной бак со змеевиком.
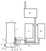
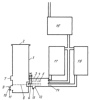
На чертеже схематично изображена топка с бункером и смесителем.
Топка систем воздушного отопления помещений содержит бункер 1 с герметизирующим люком 2 и поддувалом. Бункер 1 соединен с кожухом 3 смесителя, в полости которого крепится трубчатая сетка 4 с трубчатой сеткой 5 внутри. Между ними движется пламя горения газов, поддерживаемое потоками подогретого воздуха, проходящего через отверстия трубчатых сеток 4 и 5. Электрозапальник 6 устанавливается в смесителе в основании трубчатой сетки 5. Бункер 1 внизу снабжен дверками 7 и 9, которые расположены, соответственно, над колосниковой решеткой 8 и под колосниковой решеткой 8. Топка содержит трубку 10 для подачи воздуха под колосниковую решетку 8 с заслонкой 11 для регулировки процесса горения топлива, а также трубку 12 для подачи атмосферного воздуха в наружные и внутренние полости трубчатых сеток 4 и 5 смесителя, снабженную заслонкой 13. Кроме того, топка содержит отводные трубки с заслонками 14, отопительные батареи 15, водяной бак 16 со змеевиком и духовку 17.
При розжиге топлива, подаваемого через дверку 7, пламя через проемы в стенке бункера 1 тягой вместе с горючими газами будет поступать через электрозапальник 6 в полости между трубчатыми сетками 4 и 5 и догорать в смеси с подогретым воздухом, поступающим через трубку 12 с регулирующей заслонкой 13. После закрытия дверки 7 воздух через трубку 10 с регулирующей заслонкой 11 будет поступать через колосниковую решетку 8 для поддержания горения топлива в топке, за счет чего достигается последовательное эффективное сжигание топлива с возможностью регулирования интенсивности горения и формирования пламени в пространстве посредством трубчатых сеток 4 и 5 с последующей отдачей тепла воздуху помещения батареями и трубами или воде бака 16, или духовке 17.
Формула изобретения
Топка систем воздушного отопления помещений, содержащая загерметизированный бункер с колосниковой решеткой, поддувалом, дверками, смеситель с трубкой для подачи в него воздуха, отличающаяся тем, что бункер снабжен герметизирующим люком вверху, дверки расположены внизу бункера, смеситель выполнен с двумя трубчатыми сетками и электрозапальником внутри, трубка для подачи воздуха в наружные и внутренние полости трубчатых сеток смесителя снабжена заслонкой, кроме того, топка содержит трубку для подачи воздуха под колосниковую решетку с заслонкой для регулировки процесса горения топлива, отводные трубки с заслонками, отопительные батареи и водяной бак со змеевиком.
РИСУНКИ
MM4A – Досрочное прекращение действия патента СССР или патента Российской Федерации на изобретение из-за неуплаты в установленный срок пошлины за поддержание патента в силе
Дата прекращения действия патента: 28.04.2006
Извещение опубликовано: 20.02.2008 БИ: 05/2008
|
|