|
|
(21), (22) Заявка: 2003130051/06, 09.10.2003
(24) Дата начала отсчета срока действия патента:
09.10.2003
(45) Опубликовано: 10.04.2005
(56) Список документов, цитированных в отчете о поиске:
Д.ДЕ РЕНЗО Ветроэнергетика, М.: Энергоатомиздат, 1982, с.109-110, 114, рис.3.17, 3.19, 3.20. SU 1740766 А2, 15.06.1992. SU 47621 А, 30.06.1936. SU 1302009 A1, 07.04.1987. SU 1325186 A1, 23.07.1987. RU 2211366 С1, 27.08.2003. RU 2148186 С1, 27.04.2000. FR 2292878 A, 30.07.1976. ЕР 0064742 А2, 17.11.1982. DE 3021929 A1, 22.01.1981.
Адрес для переписки:
394026, г.Воронеж, Московский пр-кт, 14, ВГТУ, патентный отдел
|
(72) Автор(ы):
Литвиненко А.М. (RU)
(73) Патентообладатель(и):
Воронежский государственный технический университет (RU)
|
(54) ВЕТРОКОЛЕСО
(57) Реферат:
Изобретение относится к ветроэнергетике, а именно к ветроколесам ветросиловых и ветроэлектроэнергетических установок с горизонтальной осью вращения, преимущественно предназначенным для работы с электрогенераторами сегментного типа. Технический результат заключается в упрощении конструкции, повышении надежности и технологичности при обеспечении удешевления и модульности. Это достигается тем, что лопасти выполнены в виде оболочечного, двухслойного, скрепленного по периметру равнобедренного треугольника, вершина которого закреплена у ступицы, а основание снабжено натяжной планкой, которая шарнирно соединена с балансиром, балансир шарнирно установлен на внешнем конце трубчатого лонжерона и соединен с натяжной тягой. 5 ил.

Изобретение относится к ветроэнергетике, а именно к ветроколесам ветросиловых и ветроэлектроэнергетических установок с горизонтальной осью вращения, преимущественно предназначенным для работы с электрогенераторами сегментного типа.
Известны воздушные винты [1] с самоустанавливающимся шагом, лопастями, установленными во втулке, которая имеет возможность осевого перемещения на валу винта, а усилие на лопасти передается с помощью кулисы с кольцевыми пазами, сухарями, шаровыми подшипниками и пальцами.
Недостатком данного винта, который в принципе обеспечивает буревую защиту, является сложность конструкции, наличие многих подвижных элементов, к точности изготовления которых предъявляются повышенные требования, что в конечном итоге приводит к существенному удоражанию конструкции.
Наиболее близким к заявляемому по совокупности существенных признаков является ветроколесо с парусными лопастями, описанное, например, в [2]. Оно представляет собой различные комбинации парусных оперений с круглой, D-образной передними кромками, концевыми обтекателями, центральными обтекателями, а также с различными в плане передними обтекателями, трубчатыми лонжеронами и тросовыми растяжками.
Его недостатком является недостаточная надежность и пониженная технологичность, что связано, во-первых, с наличием D-образной кромки, а во-вторых, с необходимостью стыковки тканевых полотнищ с D-образной кромкой, кроме того, остаются нерешенными вопросы достижения натяжения.
Изобретение направленно на упрощение конструкции, повышение надежности и технологичности при обеспечении удешевления и модульности.
Это достигается тем, что лопасти выполнены в виде оболочечного двухслойного, скрепленного по периметру равнобедренного треугольника, вершина которого закреплена у ступицы, а основание снабжено натяжной планкой, которая шарнирно соединена с балансиром, балансир шарнирно установлен на внешнем конце трубчатого лонжерона и соединен с натяжной тягой.
Достижение технического результата обеспечивается рациональной формой парусного полотнища лопасти, а также за счет того, что основная труба – лонжерон и тяга, обтянутые гибкой поверхностью паруса, образуют аэродинамический профиль.
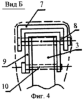
Сущность изобретения иллюстрируется чертежами, где на фиг.1 изображено ветроколесо, вид спереди, на фиг.2 показано внутреннее устройство лопасти в увеличенном виде, на фиг.3 приведен разрез лопасти по среднему сечению, на фиг.4 нарисован вид с торца основания лопасти, противоположного основному лонжерону, на фиг.5 можно увидеть вид с торца основания лопасти, который расположен у основного трубчатого лонжерона и натяжной тяги.
Ветроколесо представляет собой ступицу 1, на которой с помощью хомутов 2 укреплена труба 3 – основной лонжерон, на которой установлен вблизи ступицы уголок 4, который служит для обеспечения упора натяжной тяги и местом закрепления вершины 5 равнобедренного оболочечного треугольника лопасти, который образован двумя сшитыми (скрепленными) по периметру слоями гибкого полотнища (парусными оперениями).
Основание 6 равнобедренного треугольника снабжено натяжной планкой 7, которая может быть выполнена, например, в виде швеллера, планка снабжена установленным в середине шарниром 8, в котором также закреплено левое плечо балансира 9, балансир снабжен центральным шарниром 10, который установлен на внешнем конце трубы основного лонжерона, а также правым шарниром 11, в котором закреплена натяжная тяга 12, имеющая натяжной винт 13, проходящий через отверстие в уголке 4, винт снабжен гайкой 14, уголок 4 прикреплен к трубе 3 болтом 15. Аэродинамический профиль образован тягой 12, трубой 3 основного лонжерона, слоем 16 и слоем 17 гибкого полотнища.
Ветроколесо функционирует следующим образом. При набегании ветрового потока, перпендикулярного плоскости фиг.1, вследствие наличия углового смещения основания б относительно места закрепления вершины 5 (в плоскостях, перпендикулярных оси трубы 3), появляется окружное усилие, приложенное к лопастям, благодаря чему ветроколесо приходит во вращение.
Сборка ветроколеса происходит в следующей последовательности. При положении основных деталей, показанных на фиг.2, происходит обтягивание этих деталей полотнищами, выполненными, например, из парусной ткани, в форме равнобедренных треугольников (2 шт.), далее полотнища скрепляют по периметру. Вершина равных сторон 5 закрепляется в уголке 4, например, с помощью кольцевого крепления. Далее происходит натяжение основания 6 планкой 7. При закручивании гайкой 14 по стержню 13 тяга 12 идет вниз – см. фиг.2. Поскольку балансир 9 закреплен в шарнире 10 и представляет собой рычаг, его правый конец – см. фиг.2 – с шарниром 11 движется вниз с тягой 12, а левый конец с шарниром 8 движется вверх, отводя тем самым планку 7 вверх. Вследствие этого происходит натяжение основания 6 относительно закрепленной раннее вершины 5 и, соответственно, натяжение всего парусного полотнища лопасти. Благодаря угловому (относительно сечения трубы 3) смещению уголка 4 и шарнира 10 обеспечивается крутка лопасти, что в сочетании с аэродинамическим профилем – см. фиг.3 – приводит к получению удовлетворительных аэродинамических характеристик, которое достигается сравнительно простыми техническими средствами.
К основным технико-экономическим преимуществам данного ветроколеса относятся следующие:
– дешевизна и легкость исходных материалов – алюминиевых труб (3 и 12) и парусных полотнищ со слоями 16 и 17;
– простота и надежность механизма натяжения – фиг.2;
– высокая технологичность, простота сборки;
– модульность, обеспечиваемая возможностью однотипного исполнения нескольких лопастей;
– высокие аэродинамические характеристики профиля – см. фиг.3.
Источники информации
1. А.с. СССР №1742123 – Воздушный винт с самоустанавливающимся шагом /Н.М.Гилязетдинов, з-ка №4673534/23 от 05.04.89, опубл. 23.06.92, Бюл. №23, МКИ5 В 64 С 11/30.
2. Ветроэнергетика/ Под ред. Д.де Рендо: Пер. с англ.; под ред. Я.И.Шефтера. – М.: Энергоатомиздат, 1982. – с.109, рис. 3,17; с.114, рис.3,19 и 3,20.
Формула изобретения
Ветроколесо, содержащее ступицу и лопасти, выполненные в виде парусных оперений, имеющих трубчатый лонжерон, отличающееся тем, что лопасти выполнены в виде оболочечного двухслойного скрепленного по периметру равнобедренного треугольника, вершина которого закреплена у ступицы, а основание снабжено натяжной планкой, которая шарнирно соединена с балансиром, балансир шарнирно установлен на внешнем конце трубчатого лонжерона и соединен с натяжной тягой.
РИСУНКИ
MM4A – Досрочное прекращение действия патента СССР или патента Российской Федерации на изобретение из-за неуплаты в установленный срок пошлины за поддержание патента в силе
Дата прекращения действия патента: 10.10.2005
Извещение опубликовано: 20.06.2007 БИ: 17/2007
|
|