|
(21), (22) Заявка: 2000124619/14, 27.09.2000
(24) Дата начала отсчета срока действия патента:
27.09.2000
(30) Конвенционный приоритет:
28.09.1999 (пп.1-6) BR PI9904370-0
(43) Дата публикации заявки: 10.08.2002
(45) Опубликовано: 27.02.2005
(56) Список документов, цитированных в отчете о поиске:
US 4685914 А, 11.08.1987. GB 2254786 A, 08.08.1991. US 5607415 А, 04.03.1997. RU 2089151 C1, 10.09.1997.
Адрес для переписки:
129010, Москва, ул. Б.Спасская, 25, стр.3, ООО “Юридическая фирма Городисский и Партнеры”, пат.пов. Ю.Д. Кузнецову, рег.№ 595
|
(72) Автор(ы):
КАРВАЛЬО Антониу Карлос Рибейро (BR)
(73) Патентообладатель(и):
ДЖОНСОН ЭНД ДЖОНСОН ИНДУСТРИЯ Е КОММЕРСИО ЛТДА (BR)
|
(54) ОДНОРАЗОВАЯ ЖЕНСКАЯ ГИГИЕНИЧЕСКАЯ ПРОКЛАДКА
(57) Реферат:
Настоящее изобретение относится к медицине. Одноразовая гигиеническая прокладка содержит гофры, выполненные с возможностью приспосабливания по форме по всей ее структуре, что позволяет приспосабливать гигиеническую прокладку к трусам потребительницы в соответствии с ее нуждами. 5 з.п. ф-лы, 7 ил.

Настоящее изобретение относится к женской одноразовой гигиенической прокладке для наружного использования, более точно – к женской одноразовой гигиенической прокладке с гофрами, выполненными с возможностью приспосабливания по форме по всей ее структуре, что позволяет приспосабливать гигиеническую прокладку к трусам потребительницы в соответствии с ее потребностями.
Женские гигиенические прокладки представляют собой изделия, широко известные в данной области, которые содержат абсорбирующую центральную часть, расположенную между двумя слоями, известными как верхний лист и защитный лист.
Как правило, верхний лист является проницаемым к текучим средам, и в его функцию входит обеспечение возможности пропускания менструальной текучей среды в направлении абсорбирующей центральной части, тем самым отводя текучую среду от тела потребительницы и удерживая эту среду в стороне от тела. Этот слой может состоять из слоя материала, отличного от ткани, или состоять из перфорированной пластиковой пленки или любого другого материала, пригодного для выполнения указанной функции.
Обычно защитный лист является непроницаемым или стойким по отношению к пропусканию жидкостей и используется для предотвращения утечек текучей среды, абсорбированной центральной частью. Он может содержать неперфорированный лист пластика или любой другой материал, обладающий такими свойствами.
Абсорбирующая центральная часть состоит из синтетических целлюлозных или текстильных волокон, таких, как гидрат-целлюлозное волокно, вискозное волокно, полиэфирное волокно и т.п. Задача центральной части состоит в том, чтобы удерживать вагинальные экссудаты. Если предположить, что абсорбирующая центральная часть содержит суперабсорбирующий материал, то этот материал может быть представлен в виде частиц, размер которых находится в большом диапазоне значений и которые распределены различными способами, например, в виде слоя или пленки, или в виде отдельных частиц. В качестве примера суперабсорбирующего материала, который можно использовать, можно указать на полиметакрилат натрия или любой другой пригодный суперабсорбирующий материал.
К свойствам женской одноразовой гигиенической прокладки, необходимым для того, чтобы она была удобна для потребительниц, главным образом относятся способность к анатомической адаптации, быстрой абсорбции, фиксации на месте при использовании, кроме того, гигиеническая прокладка должна быть компактной и удобной.
Обычные женские одноразовые гигиенические прокладки сдавливаются, и при движениях потребительницы их исходная конфигурация изменяется, поскольку при движениях возникает тенденция приспособить прокладку по форме к геометрии пространства между бедрами потребительницы, в результате чего создается возможность возникновения дискомфорта и преждевременного протекания.
В конструкциях по предшествующему уровню техники предпринимались попытки оптимизировать эффективность таких одноразовых изделий путем использования представлений о статической форме тела для целлюлозы и повышения степени абсорбции менструальной текучей среды.
Примерами изделий, отражающих известный уровень техники в данной области и предназначенных для анатомической адаптации, являются изделия с формой в виде песочных часов, используемой в женских гигиенических прокладках, например, в патенте США №3805790 (Kimberly-Clark) и патенте США №4758241 (Elissa D.Papajohn). Указанная конфигурация учитывает форму пространства между бедрами потребительницы, близкого к вагинальной зоне, тем самым получают усовершенствование по сравнению с изделиями прямоугольной формы, но указанные женские прокладки не позволяют учитывать индивидуальные особенности пространства между бедрами потребительницы и большое разнообразие трусов, используемых в настоящее время.
Другим важным примером по предшествующему техническому уровню является женская гигиеническая прокладка с гофрированной абсорбирующей центральной частью, представленная, например, в патенте США No.3411504 (J.A.Glasman). Указанная женская гигиеническая прокладка содержит абсорбирующую центральную часть, выполненную с продольными тиснеными линиями для более быстрого протекания менструальной текучей среды, но в конструкции этой прокладки не принимается во внимание анатомия потребительницы.
Еще одним примером женской гигиенической прокладки по предшествующему уровню техники является прокладка по патенту США No.3954107 (Colgate Palmolive), которая выполнена с двумя параллельными продольными абсорбирующими центральными частями, между которыми имеется канал, задача которого состоит в том, чтобы собирать текучую среду и направлять ее к продольным концам изделия, при этом не ставится задача приспосабливания к анатомии женщины или обеспечения комфорта.
Задачей настоящего изобретения является преодоление описанных выше неудобств путем усовершенствования известного технического уровня с тем, чтобы предложить потребительнице лучшую приспосабливаемость, эффективную абсорбцию, защиту, комфорт и свободу движений.
Изобретение относится к женской одноразовой гигиенической прокладке для наружного использования, отличающейся наличием продольных гофров, выполненных с возможностью приспосабливания по форме по всей структуре прокладки, что позволяет гигиенической прокладке растягиваться и/или сдавливаться и приспосабливать прокладку по форме к трусам пользовательницы в соответствии с ее потребностями.
Следует понимать, что под гофрами, выполненными с возможностью приспосабливания по форме, подразумеваются продольные складки по всей структуре абсорбирующего изделия, которые создают гофрированную структуру, обладающую возможностью адаптации к нуждам потребительницы в тот момент, когда она размещает гигиеническую прокладку для использования. Гофры расположены таким образом, что они оказываются параллельными продольной оси изделия перед использованием. Гофры не обязательно должны находиться на одинаковом расстоянии друг от друга.
Под адаптацией понимают все и любое удлинение или боковое сжатие женской гигиенической прокладки таким образом, что указанная гигиеническая прокладка может быть вытянута и размещена потребительницей в требуемом месте при размещении ее для использования. Растяжимость гигиенической прокладки, достигаемая с помощью гофров, обеспечивает лучшую степень приспосабливания к трусам, тем самым создавая комфорт и защиту от утечек для потребительницы.
Альтернативный вариант настоящего изобретения относится к приспосабливаемой по форме, волнистой абсорбирующей структуре, которая образует женскую гигиеническую прокладку, в которой продольные складки подогнаны по форме таким образом, что они сохраняются, по меньшей мере, до момента использования. Стабильность формы структуры абсорбирующего изделия обеспечивается с помощью одной из сторон изделия, то есть по поверхности в нижней части продольных полостей или по внутренним стенкам гофров на одной из сторон изделия.
Соответствие по форме должно сохраняться, по меньшей мере, до момента начала использования прокладки, таким образом, чтобы структуру абсорбирующего изделия можно было приспособить к нуждам потребительницы, то есть указанное соответствие должно обеспечить возможность растяжения структуры абсорбирующего изделия в боковом направлении при необходимости в любой момент времени.
Соответствие осуществляют путем выбора типов материалов используемой абсорбирующей структуры. Соответствие может быть достигнуто с помощью нагрева, нанесения клея, выдавливания краев с помощью нагрева, клея или обоих этих элементов и т.п.
Если соответствие достигается посредством нанесения клея, то подходящим клеем является клей, склеивающий при надавливании.
Подходящим способом поддержания структуры абсорбирующего изделия является распыление клея на гладкой поверхности, например, на пленке и последующее наложение структуры гигиенической прокладки, которой ранее придана волнистость, на указанную пленку.
В момент надевания прокладки гладкую поверхность удаляют, концы растягивают и/или сжимают и затем прикрепляют к трусам.
Другим типовым способом для получения соответствующей структуры абсорбирующего изделия является нанесение линий из клея во внутренних зонах выступов гофров и размещение гофров близко друг к другу.
В момент надевания концы абсорбирующего изделия растягиваются и/или сдавливаются, в результате чего зоны, на которых нанесен клей, открываются для крепления указанной прокладки к трусам потребительницы.
Гофр или продольную складку абсорбирующей структуры получают способами, известными для специалиста в данной области, например, путем использования охватываемой-охватывающей конфигурации.
Абсорбирующее изделие по настоящему изобретению также может содержать боковые крылышки для крепления.
Ниже настоящее изобретение будет описано с помощью сопроводительных чертежей, на которых представлен предпочтительный вариант осуществления, при этом не исключаются другие альтернативные варианты осуществления в соответствии с объемом защиты, определенным в приложенной формуле изобретения. Ниже перечислены соответствующие фигуры:
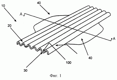
фиг.1 – перспективное изображение женской гигиенической прокладки в соответствии с настоящим изобретением,
фиг.2 – поперечное сечение женской гигиенической прокладки, изображенной на фиг.1,
фиг.3 – поперечное сечение, иллюстрирующее вариант согласования женской гигиенической прокладки, изображенной на фиг.1,
фиг.4 – детальное поперечное сечение варианта согласования, представленного на фиг.3, при этом гофры расположены близко друг к другу,
фиг.5 – изображение женской гигиенической прокладки, когда ее исходно приспосабливают к трусам,
фиг.6 – изображение женской гигиенической прокладки в процессе выполнения последовательности действий по адаптации ее к трусам,
фиг.7 – поперечное сечение женской гигиенической прокладки, изображенной на фиг.1.
Женская гигиеническая прокладка 10 по настоящему изобретению состоит из по существу продолговатой абсорбирующей центральной части 25, расположенной между двумя слоями, известными как верхний лист 20 и защитный лист 30.
Верхний лист 20 является проницаемым к текучей среде, и в его функцию входит обеспечение возможности пропускания менструальной текучей среды в направлении абсорбирующей центральной части 25, тем самым отводя текучую среду от тела потребительницы. Следовательно, он должен содержать слой материала, отличного от ткани, или должен быть изготовлен из перфорированной пластиковой пленки или любого материала, выполняющего указанную функцию.
Защитный лист 30, противоположный верхнему листу 20, является непроницаемым или стойким по отношению к пропусканию жидкостей и используется для предотвращения утечек текучей среды, абсорбированной центральной частью 25. Следовательно, он должен содержать неперфорированный лист пластика или любой другой материал, обладающий такими свойствами.
В соответствии с настоящим изобретением женская гигиеническая прокладка 10 предпочтительно выполнена с крылышками или граничными элементами 40, которые проходят в боковом направлении от верхнего листа 20 и/или защитного листа 30 женской гигиенической прокладки 10 и способствуют креплению прокладки к трусам потребительницы. В нижней части каждого бокового крылышка имеется клей 60, покрытый съемным защитным листом 50.
Как показано на фиг.2, женская гигиеническая прокладка 10 содержит продольные гофры, выполненные с возможностью приспосабливания по форме, которые могут проходить через всю структуру прокладки. Такие гофры образованы чередующимися выступами 90 и впадинами 100. Указанные выступы 90 и впадины 100 не обязательно должны находиться на одинаковом расстоянии друг от друга.
Такую гофрированную структуру женской гигиенической прокладки 10 можно поддерживать до момента использования с помощью зон 70 клея, расположенных в нижней части впадин 100 и защищенных съемным защитным листом 80.
На фиг.3 показан другой, альтернативный вариант придания устойчивости гофрированной структуре женской гигиенической прокладки 10, в котором указанную структуру поддерживают с помощью нанесения клея 71 на нижнюю часть выступов 90, и гофры расположены близко друг к другу, как показано на фиг.4. На фиг.3 также показана видимая толщина “е”, возникающая при образовании гофров. То же самое имеет место на фиг.4, где видимая толщина “Е” образуется при приближении гофров друг к другу. Предпочтительно “Е” превышает “е” максимум в пятнадцать раз.
На фиг.3 показана указанная женская гигиеническая прокладка 10 в тот момент, когда ее размещают на трусах 110 потребительницы 120. Указанная прокладка может быть растянута в передней части в направлении Х до положения “а” в соответствии с нуждами потребительницы 120.
Аналогичным образом, на фиг.6 женская гигиеническая прокладка показана растянутой в нижней части в направлении Х до положения “b” в соответствии с нуждами потребительницы 120.
Предпочтительно, если положения “а” и “b” представляют собой такие положения, которые могут быть достигнуты при растяжении гофрированного абсорбирующего изделия до ширины, приблизительно в пять раз превышающей его начальную ширину.
На фиг.7 показан другой альтернативный вариант придания устойчивости гофрированной структуре гигиенической прокладки 10, при котором указанную структуру сохраняют с помощью нанесения клея 71 на нижнюю часть выступов 90 и впадин 100 непрерывным образом.
Хотя это и не показано на сопроводительных чертежах, центральная третья часть абсорбирующего изделия 10 может быть выполнена из негофрированного материала.
Формула изобретения
1. Одноразовая женская гигиеническая прокладка, имеющая длину и ширину, содержащая абсорбирующую центральную часть, расположенную между верхним листом и защитным листом, гофры, продольно проходящие через всю структуру прокладки, которые позволяют гигиенической прокладке растягиваться и/или сдавливаться, чтобы приспособиться при использовании к трусам потребительницы.
2. Прокладка по п.1, в которой гигиеническая прокладка имеет исходную ширину, когда гофры находятся в ненапряженном состоянии, и ширину в растянутом состоянии, когда к прокладке приложена поперечно направленная сила, и в которой ширина растянутой прокладки увеличивается не более чем приблизительно в 5 раз относительно исходной ширины.
3. Прокладка по п.1, в которой гигиеническая прокладка имеет пару противоположных продольно проходящих сторон и крылышко, проходящее в боковом направлении от каждой продольно проходящей стороны.
4. Прокладка по п.1, в которой каждый гофр содержит по меньшей мере одну впадину и по меньшей мере один выступ, причем впадина имеет зону клея, в которой гладкая поверхность контактирует с зоной клея впадины.
5. Прокладка по п.1, в которой каждый гофр включает в себя по меньшей мере одну впадину и по меньшей мере один выступ, причем выступ имеет линию из клея, проходящую вдоль гофра.
6. Прокладка по п.5, в которой линии из клея расположены между выступами и впадинами.
РИСУНКИ
MM4A – Досрочное прекращение действия патента СССР или патента Российской Федерации на изобретение из-за неуплаты в установленный срок пошлины за поддержание патента в силе
Дата прекращения действия патента: 28.09.2007
Извещение опубликовано: 20.07.2010 БИ: 20/2010
|