|
(21), (22) Заявка: 2002130214/14, 10.11.2002
(24) Дата начала отсчета срока действия патента:
10.11.2002
(43) Дата публикации заявки: 20.05.2004
(45) Опубликовано: 27.02.2005
(56) Список документов, цитированных в отчете о поиске:
MASSETTI M. et al., A special adapted retractor for the ministernotomy approach, Annals of Thoratic surgery, 1999, v.68, p. 274-277. SU 921540 A, 23.04.1982. RU 2226076 C1, 27.10.2003. ОСТРОВСКИЙ Ю.П. и др., Миниинвазивная хирургия врожденных пороков сердца, Человек и сердце, Н. Новгород, 2000, с.38-40.
Адрес для переписки:
634012, г.Томск, ул. Киевская, 111а, НИИ кардиологии, патентоведу Н.Л. Малюгиной
|
(72) Автор(ы):
Мерунко А.А. (RU), Подоксенов А.Ю. (RU), Шипулин В.М. (RU)
(73) Патентообладатель(и):
Научно-исследовательский институт кардиологии Томского научного центра Сибирского отделения Российской академии медицинских наук (RU)
|
(54) СПОСОБ МИНИ-ИНВАЗИВНОЙ СРЕДИННОЙ СТЕРНОТОМИИ
(57) Реферат:
Изобретение относится к медицине, сердечно-сосудистой хирургии. Грудину рассекают по направлению сверху вниз, без пересечения мечевидного отростка. Для тракции верхнего и нижнего углов раны используют торакальный ранорасширитель с дополнительными крючками. С помощью крючка Фарабефа с пазом выполняют отведение верхнего угла раны. Пилу стернотома заводят за яремную вырезку через паз в крючке Фарабефа. Способ позволяет выполнять операции из миниинвазивного стернотомического доступа. 2 ил.

Изобретение относится к медицине, а именно к сердечно-сосудистой хирургии.
В последние два три года было предложено несколько альтернативных доступов, объединяющим признаком которых был небольшой кожный разрез. Они получили название миниинвазивных. Оптимальным миниинвазивным доступом считается миниинвазивная срединная стернотомия (МСС). При этом выполняется продольная стернотомия по обычной схеме, но из небольшого 8-10 см кожного разреза по средней линии тела на уровне прикрепления к грудине 2-5 ребер [1,2].
Известен способ МСС Массетти [3]. Данной способ заключается в том, что выполняя МСС производят разрез кожи и подкожной клетчатки длиной 6-9 см. Кожный разрез начинают от II и заканчивают IV межреберьем – при операциях на аортальном клапане, и от III до V – при операциях на митральном клапане. Распил грудины производят по направлению сверху-вниз, причем мечевидный отросток не пересекается. После завершения основного этапа операции рану послойно ушивают, а для дренирования перикарда и переднего средостения дренажные трубки проводят через два разреза в эпигастральной области.
Данный способ является наиболее близким к предлагаемому по своей технической сущности и достигаемому результату. Он выбран в качестве прототипа.
К недостаткам данного способа следует отнести неудобства при выделении яремной вырезки грудины и заведении пилы стернотома для проведения стернотомии, неудобства при канюляции нижней полой вены (НПВ) при непересеченном мечевидном отростке, трудности с канюляцией восходящей аорты из-за ограничения обзора операционного поля кожным лоскутом верхнего угла раны. Это снижает диапазон манипуляций хирурга по отношению к операционному полю.
Целью настоящего изобретения является повышение безопасности операции и профилактика интраоперационных осложнений.
Поставленная цель достигается тем, что перед МСС пила стернотома заводится за яремную вырезку через паз в крючке Фарабефа. После стернотомии края грудины и мягких тканей верхнего и нижнего углов раны фиксируют с помощью модифицированного торакального ранорасширителя. А затем, во время подключения аппарата искусственного кровообращения (АИК) канюлю для нижней полой вены проводят через один разрез в эпигастральной области, который затем используют как дренажное отверстие.
Новым в предлагаемом способе является заведение пилы стернотома заводят через паз в крючке Фарабефа; фиксацию краев грудины и мягких тканей верхнего и нижнего углов раны осуществляют модифицированным торакальным ранорасширителем; канюлю для нижней полой вены при подключении аппарата искусственного кровообращения проводят через один разрез в эпигастральной области.
Новые признаки позволяют улучшить визуализацию и доступ хирурга к операционному полю при выполнении различных этапов операции и тем самым повышают безопасность и снижают риск возникновения интраоперационных осложнений. А именно с помощью крючка Фарабефа с пазом для заведения пилы стернотома можно без технических сложностей выполнить стернотомию. Модифицированный торакальный ранорасширитель позволяет зафиксировать края операционной раны в нужном, наиболее удобном для хирурга положении. Проведение канюли нижней полой вены через один разрез в эпигастральной области, который в конце операции становится дренажным отверстием, позволяет убрать ненужную при выполнении основного этапа операции канюлю нижней полой вены из операционной раны.
Предлагаемое изобретение будет понятно из следующего описания и приложенных к нему чертежей..
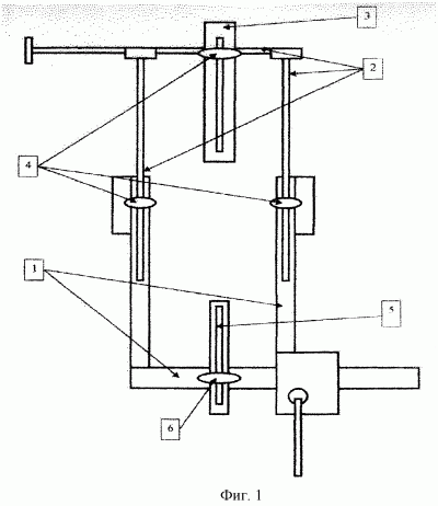
На фиг.1 изображена схема модифицированного торакального ранорасширителя. Он состоит из стандартного торакального ранорасширителя (1). К стандартному торакальному ранорасширителю с помощью системы стоек (2), изменяющих свою геометрию в продольном и поперечном направлении, устанавливается дополнительный крючок (3) для осуществления тракции мягких тканей верхнего угла раны в краниальном направлении (вверх). Дополнительный крючок и стойки крепятся к ранорасширителю (1) при помощи фиксирующих винтов (4). Кроме того, к основанию стандартного ранорасширителя крепится дополнительный крючок (5) для осуществления тракции мягких тканей в каудальном направлении (вниз). Нижний крючок (5) так же подвижен, так как закреплен на ранорасширителе с помощью винта (6).
На фиг.2 изображен крючок Фарабефа, отводящий верхний угол раны, с пазом (1) для заведения пилы стернотома за яремную вырезку.
Способ осуществляют следующим образом. При выполнении стернотомии производят разрез кожи и подкожной клетчатки длиной 6-9 см. Кожный разрез начинают от II-III и заканчивают IV-V межреберьями. Посредством крючка Фарабефа с пазом 1 (фиг.2) выполняют отведение верхнего угла раны и заведение пилы стернотома за яремную вырезку рукоятки грудины. Распил грудины производят по направлению сверху-вниз без пересечения мечевидного отростка. Затем устанавливают модифицированный торакальный ранорасширитель (фиг.1): устанавливают крючки стандартного ранорасширителя (1), при этом разведение стоек, изменяющих свою геометрию (2), соответствует разведению крючков ранорасширителя. После разведения краев грудины, дополнительные верхний и нижний крючки (3, 5) отводят и закрепляют так, чтобы выступающий кожный лоскут не препятствовал работе хирурга.
При подключении аппарата искусственного кровообращения канюлю для нижней полой вены проводят через один разрез в эпигастральной области, который впоследствии используют как дренажное отверстие.
Клинический пример. Больная С., 14 лет. Диагноз: врожденный порок сердца. Дефект межпредсердной перегородки. По данным ультразвукового исследования сердца-дефект располагается в нижней части межпредсердной перегородки. Размер дефекта до 15 мм. Для пластики дефекта выполнена операция в условиях искусственного кровообращения. Доступ-миниинвазивная срединная стернотомия выполнена с помощью крючка Фарабефа с пазом для заведения пилы стернотома. После МСС установлен модифицированный торакальный ранорасширитель. При подключении аппарата искусственного кровообращения канюля нижней полой вены проводилась через один разрез в эпигастральной области, который впоследствии использовался как дренажное отверстие. Затем была пережата аорта и сердечная деятельность остановлена введением кардиоплегического раствора. Вскрыто правое предсердие. Обнаруженный дефект, размером до 15 мм в нижней части межпредсердной перегородки, ушит непрерывным двурядным швом. После ушивания предсердия и мероприятий по профилактике воздушной эмболии сердечная деятельность восстановлена. Операция закончена в обычном порядке. Размер кожного шва составил 8 см. Послеоперационный период протекал гладко. По данным ультразвукового обследования коррекция порока полная. На 10 день больная была выписана из стационара.
Таким образом, применение предлагаемого авторами способа позволяет выполнять операции из миниинвазивного стернотомического доступа с осуществлением полной коррекции порока и наименьшим хирургическим риском.
Предлагаемый авторами способ применен на 22 пациентах. Длина кожного разреза была меньше в среднем на 50% по сравнению с пациентами, оперированными по стандартному способу.
Список использованной литературы.
Формула изобретения
Способ мини-инвазивной срединной стернотомии путем рассечения грудины по направлению сверху вниз без пересечения мечевидного отростка, включающий использование торакального ранорасширителя для фиксации распиленных краев грудины с дополнительными крючками для тракции верхнего и нижнего углов раны, отличающийся тем, что посредством крючка Фарабефа с пазом выполняют отведение верхнего угла раны и заводят пилу стернотома за яремную вырезку через паз в крючке Фарабефа.
РИСУНКИ
MM4A Досрочное прекращение действия патента Российской Федерации на изобретение из-за неуплаты в установленный срок пошлины за поддержание патента в силе
Дата прекращения действия патента: 11.11.2005
Извещение опубликовано: 27.01.2007 БИ: 03/2007
|