|
(21), (22) Заявка: 2003101843/13, 22.01.2003
(24) Дата начала отсчета срока действия патента:
22.01.2003
(43) Дата публикации заявки: 10.10.2004
(45) Опубликовано: 27.02.2005
(56) Список документов, цитированных в отчете о поиске:
ОЛЕНЕВ Ю.А. и др. ПРОИЗВОДСТВО МОРОЖЕНОГО, М.: Пищевая промышленность, 1977, с.53-66. SU 1373497 А, 15.02.1988. SU 1839084 А, 30.12.1993. RU 2000108680 А, 20.03.2002. RU 2155495 С, 10.09.2000. RU 97108076 А, 24.04.1999.
Адрес для переписки:
308013, г.Белгород, ул. Дзгоева, 1, ОАО “Белгородский хладокомбинат”, зам. директора В.А. Кузнецову
|
(72) Автор(ы):
Бузиашвили Г.Д. (RU), Асафайло З.И. (RU), Воробьёва Л.А. (RU), Немцева Е.А. (RU), Хевук Н.И. (RU)
(73) Патентообладатель(и):
Открытое акционерное общество “Белгородский хладокомбинат” (RU)
|
(54) СПОСОБ ПОЛУЧЕНИЯ МОРОЖЕНОГО И КОМПОЗИЦИЯ МОРОЖЕНОГО
(57) Реферат:
Изобретение относится к области пищевой промышленности и может быть использовано для получения основного мягкого и закаленного мороженого, а также различных модификаций на их основе. Благодаря внесению в композицию мороженого в качестве молока молока натурального топленого в количестве от 30% до 60% от массы мороженого получаемый продукт приобретает бежевую окраску и оригинальный вкус. Предложенное сочетание ингредиентов снижает окислительные процессы в продукте. Введение молока натурального топленого на начальной стадии приготовления сырья снижает риск его закисления, что особенно важно в летний период работы, т.е. обеспечивает независимость производства мороженого от сезона. 2 н. и 1 з.п. ф-лы, 1 ил.

Изобретение относится к области пищевой промышленности и может быть использовано для получения основного мягкого и закаленного мороженого, а также различных модификаций на их основе.
В предшествующем поколении основной тенденцией конструирования новых композиций мороженого и способов их получения являлось внесение в рецептуру основного вида мороженого дополнительных оригинальных добавок, придающих полученным изделиям отличительные вкусовые и цветовые свойства.
Так, известно мороженое, содержащее цельное молоко, сливочное масло, сгущенное молоко, сухое молоко, сахар, какао-порошок, агароид и воду, в которое для улучшения органолептических показателей, достижения нужной окраски и снижения аллергенных свойств вносят порошок какаовеллы в соотношении какао-порошок:порошок какаовеллы как 10:90. При этом основной состав смеси остается классическим [АС 1939084, RU Бюл. 47-48 30.12.93 г.].
Известна смесь для приготовления мороженого “Жемчужина Дона”, содержащая свежее цельное молоко, сухое обезжиренное молоко, сливочное масло. Для повышения питательной ценности продукта, улучшения структуры и удлинения срока хранения оно дополнительно содержит виноградный экстракт с содержанием сухих веществ 62%, пчелиный мед и сухое цельное молоко [AC RU 1720621 Бюл. 11 23.03.92 г.], то есть достижение новых также обеспечивают введением добавок.
В сливочном мороженом по заявке Франции №2791870 вкусовые и питательные качества получены уже за счет внесения изменения в самом составе смеси для основного мороженого в отношении основного ингредиента, а именно жиры в основном состоят из оливкового масла при соотношении ингредиентов, мас%:
Сухое обезжиренное молоко 15,52
Молочные белки 1,25
Сахароза 10
Глюкоза 6
Оливковое масло 7
Малькодекстрин 2
Олигофруктоза 5
Вода 55,65
[заявка Франция №2791870, заявление 04.04.00, опубликована 13.10.00].
Наиболее близким и выбранным в качестве прототипа является классический способ получения основного мороженого и мороженого на основе молока и молочных продуктов.
Способ для приготовления композиций основного мороженого (молочного, сливочного и пломбира) включает приготовление смеси, в которую вносят молоко, молочные продукты, сахар-песок, стабилизатор, масло сливочное. Продукты перед внесением в смесь готовят и дозируют. Перемешивание смеси осуществляют с подогревом, получившуюся смесь фильтруют, подвергают пастеризации, гомогенизируют, вносят ароматизатор и охлаждают.
В качестве молочных продуктов могут быть использованы сливки, молоко сухое обезжиренное, молоко сухое цельное, молоко цельное сгущенное с сахаром, молоко нежирное сгущенное с сахаром [Ю.А.Оленев, Н.Д.Зубова “Производство мороженого”, М., Пищевая промышленность, 1977 г., стр.53-64].
К недостаткам прототипа можно отнести длительное использование классической технологии и привыкание к вкусу получаемого продукта, что снижает его конкурентоспособность в отношении новых композиций мороженого, предназначенных для молодежи.
Задачей изобретения является расширение ассортимента композиций отечественного мороженого на основе молока и молочных продуктов за счет изменения основного ингредиента и создание способа его получения.
Техническими результатами, которые могут быть получены при реализации изобретения, являются
– реализация назначения композиции мороженого;
– снижение окислительных процессов в композиции,
– приобретение специфических для мороженого органолептических показателей;
– стабильность технологического процесса.
Решение указанной задачи и достижение вышеперечисленных результатов для способа стали возможны благодаря тому, что в известном способе получения мороженого, включающем приготовление смеси путем подготовки ингредиентов, дозирования молока, молочных продуктов, жирового ингредиента, сахара, стабилизатора и их смешивания, а также фильтрацию смеси, пастеризацию, гомогенизацию, охлаждение, внесение ароматизатора, на стадии приготовления в смесь в качестве молока вносят молоко натуральное топленое в количестве от 30% до 60% и для композиции мороженого благодаря тому, что известное мороженое, включающее молоко, молочные продукты, жировой ингредиент, сахар, стабилизатор, ароматизатор, в качестве молока содержит молоко натуральное топленое при следующем содержании компонентов, мас.%:
Молоко натуральное топленое 30-60
Молочные продукты:
Молоко сгущенное цельное с сахаром 2,0-5,0
Молоко сухое цельное 2,0
Молоко сухое обезжиренное
или сыворотка сухая 2,0-6,5
Жировой ингредиент 4,5-10,0
Сахар 10,0-13,0
Стабилизатор 0,25-0,95
Ароматизатор 0,015-0,035
Вода Остальное
В предпочтительных случаях исполнения композиция мороженого дополнительно включает вафельную крошку в количестве не более 0,5% от общей массы и/или глюкодрай в количестве не более 3,0%.
Молоко натуральное топленое в отличие от молока натурального характеризуется кремовым цветом с бурым оттенком и явным вкусом пастеризации. Появление этих свойств в молоке объясняется тем, что при воздействии высоких температур на его составные части последние претерпевают значительные изменения, а именно молочный сахар взаимодействует с аминокислотами белков, в результате чего появляются меланодиды, придающие молоку натуральному топленому присущий ему цвет, а образующиеся при этом сульфогидрильные группы вызывают, соответственно, в молоке натуральном топленом характерный для него вкус и запах.
Замена в классической рецептуре основного мороженого молока натурального на молоко натуральное топленое и его присутствие в мороженом в количестве от 30% до 60% обеспечивают последнему устойчивую равномерную бежевую окраску без использования красителя, которая в сочетании с приятным запахом и вкусом типа топленого молока и соответствующего ароматизатора или топленого молока выделяет полученное новое изделие в ряду известных композиций мороженого.
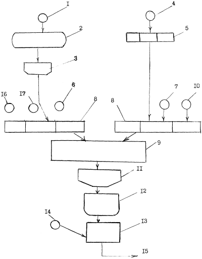
Изобретение иллюстрирует чертеж, на котором изображена схема получения мороженого.
Способ получения мороженого на основе молока и молочных продуктов осуществляют следующим образом.
Сырье по рецептуре, предназначенное для приготовления смеси, предварительно готовят, а именно цельное молоко натуральное топленное 1 из цистерны 2 фильтруют на фильтре 3. Сухие продукты 4 (сахар, молоко сухое цельное, молоко сухое обезжиренное, сыворотку сухую) распаковывают и просеивают на ситах 5. Воду 6, молоко натуральное топленое 1, сухие продукты 4, стабилизатор 7 дозируют дозаторами 8 в смесительную ванну 9, добавляют растопленный жировой агент 10. Смесь мороженого готовят путем перемешивания сырья в смесительной ванне 9 при температуре 45°С. При этом молоко натуральное топленое 1 вносят в количестве от 30% до 60%. После смешивания полученную смесь фильтруют на фильтре 11, направляют на подогрев до 70°С и гомогенизируют в гомогенизаторе 12 для раздробления жировых шариков до диаметра подавляющего числа шариков не более 2 мкм, мгновенно пастеризуют в пастеризаторе 13 при температуре 85-95°С, охлаждают водой до температуры не выше 6°С, добавляют ароматизатор 14, а далее подают на охлаждение, например, во фризер 15.
В предпочтительных случаях использования заявляемой композиции она включает дополнительно вафельную крошку 16 в количестве не более 0,5% от общей массы и/или глюкодрай в количестве не более 3,0% 17, которые также вносят в смесительную ванну 9.
Практическую применимость заявляемого способа и композиции мороженого показывают следующие примеры.
Пример 1.
Готовят сырье для приготовления композиции мороженого в количествах, соответствующих минимальному заявляемому пределу молока натурального топленого по способу и композиции мороженого, а также минимальному значению молока сгущенного цельного с сахаром, жирового ингредиента в виде масла и ароматизатор и максимальным значениям молока сухого обезжиренного, сахара и стабилизатора:
– Молоко натуральное топленое в количестве 300 кг фильтруют на фильтре;
– Молоко сгущенное цельное с сахаром загружают в количестве 25 кг;
– Молоко сухое цельное в количестве 20 кг просевают на сите;
– Молоко сухое обезжиренное в количестве 65,0 кг просевают на сите;
– Жировой ингредиент в виде кокосового масла взвешивают в количестве 45,0 кг и топят;
– Сахар в количестве 130,0 кг просевают на сите;
– Палсгаард и муку используют в качестве стабилизатора и добавляют в количестве 9,55 кг;
– Ароматизатор используют в виде ванилина в количестве 0,15 кг.
Воду, молоко натуральное топленое, сухие продукты, подготовленный стабилизатор дозируют в заданных количествах дозаторами в смесительную ванну, добавляют растопленный жировой ингредиент и перемешивают при температуре 45°С, после смешивания полученную смесь фильтруют и подогревают до 70°С, гомогенизируют для раздробления жировых шариков до размера не более 2,0 мкм, мгновенно пастеризуют при температуре 85-95°С, охлаждают до температуры не выше 6°С, добавляют ароматизатор, затем подают на фрезирование. Получают композицию мороженого с содержанием ингредиентов при следующем соотношении ингредиентов, мас.%:
– Молоко натуральное топленое 30
– Молочные продукты:
– Молоко сгущенное цельное с сахаром 2,5
– Молоко сухое цельное 2,0
– Молоко сухое обезжиренное 6,5
– Жировой ингредиент: кокосовое масло 4,5
– Сахар 13,0
– Стабилизатор: мука + палсгаард 0,95
– Ароматизатор: ванилин 0,015
– Вода 40,535
Полученное мороженое обладает следующими органолептическими показателями:
– Цвет светло-бежевый
– Вкус и аромат слегка ощутимый топленого
молока и ванили
Пример 2.
По примеру 1 добавляют молоко натуральное топленое в количестве 465 кг, что соответствует значению этого ингредиента по способу и композиции, близкому к среднему, сыворотки сухой – также близкому к среднему, сахара – минимальному, стабилизатора – ближе к максимальному, ароматизатора – минимальному в заявляемых пределах. В качестве жирового ингредиента выбрано масло сливочное. Композиция мороженого имеет следующий состав при соотношении ингредиентов, мас.%:
– Молоко натуральное топленое 46,5
– Молочные продукты:
– Молоко сгущенное цельное с сахаром 4,4
– Молоко сухое цельное 2,0
– Сыворотка сухая 3,7
– Жировой ингредиент: масло сливочное 9,1
– Сахар 10,0
– Стабилизатор: мука + кремодан 0,85
– Ароматизатор: ванилин 0,015
– Вода 23,435
Полученное мороженое обладает следующими органолептическими показателями:
– Цвет пастельный тепло-бежевый
– Вкус и аромат приятный с ощутимым
привкусом топленого молока
и ванили
Пример 3.
По примеру 1 добавляют молоко натуральное топленое в количестве 450 кг, что соответствует количеству этого ингредиента среднему по способу и среднему по композиции мороженого, а также среднему количеству молока сгущенного цельного с сахаром, сыворотки сухой, жирового ингредиента, сахара, стабилизатора и ароматизатора при следующем соотношении ингредиентов, мас.%:
– Молоко натуральное топленое 45,0
– Молочные продукты:
– Молоко сгущенное цельное с сахаром 4,75
– Молоко сухое цельное 2,0
– Сыворотка сухая 4,25
– Жировой ингредиент: масло кокосовое 7,25
– Сахар 11,5
– Стабилизатор: мука + кремодан 0,55
– Ароматизатор: ароматизатор топленого молока 0,025
– Вафельная крошка 0,25
– Вода 24,425
Полученное мороженое обладает следующими органолептическими показателями:
– Цвет пастельный бежевый
– Вкус и аромат приятный выраженный
привкус и аромат топленного
молока, усиленный ароматизатором
топленного молока
Пример 4.
По примеру 1 добавляют молоко натуральное топленое в количестве 600 кг, что соответствует максимальному значению этого ингредиента в способе и композиции для мороженого при содержании молока сгущенного цельного с сахаром, жирового ингредиента, стабилизатора и ароматизатора, также соответствующих максимальным значениям в заявляемых пределах. В качестве жирового ингредиента композиция содержит масло сливочное в количестве 10,0% от общей массы. Композиция мороженого имеет следующий состав при соотношении ингредиентов, мас.%:
– Молоко натуральное топленое 60,0
– Молочные продукты:
– Молоко сгущенное цельное с сахаром 5,0
– Молоко сухое цельное 2,0
– Молоко сухое обезжиренное 2,0
– Жировой ингредиент: масло сливочное 10,0
– Сахар 10,0
– Стабилизатор: мука + кремодан 0,95
– Ароматизатор: ванилин 0,015
– Вода 10,035
Полученное мороженое обладает следующими органолептическими показателями:
– Цвет насыщенный бежевый
– Вкус и аромат насыщенный приятный
ощутимый привкус топленого
молока и ванили
Пример 5.
По примеру 1 в смесь добавляют молоко натуральное топленое в количестве 280 кг, что соответствует значению меньше минимального, заявляемого по способу и композиции мороженого. Кроме того, в смесь вносят вафельную крошку в количестве 0,5%, что соответствует заявляемому пределу и глюкодрай в количестве 3,0%, что соответствует его значению. Композиция мороженого имеет следующий состав при соотношении ингредиентов, мас%:
– Молоко натуральное топленое 28,0
– Молочные продукты:
– Молоко сгущенное цельное с сахаром 2,3
– Молоко сухое цельное 1,9
– Сыворотка сухая 6,5
– Жировой ингредиент: масло сливочное 4,3
– Глюкодрай 3,0
– Сахар 9,5
– Стабилизатор: мука + полсгаард 0,95
– Ароматизатор: ванилин 0,015
– Вафельная крошка 0,5
– Вода 43,035
Полученное мороженое обладает следующими органолептическими показателями:
– Цвет слабо выраженный размытый
– Вкус и аромат присущий сливочному
мороженому с ванилью
Пример 6.
По примеру 1 в смесь добавляют молоко натуральное топленое в количестве 610 кг, что соответствует значению этого ингредиента выше максимального заявляемого предела в композиции мороженого. Сахар, стабилизатор, ароматизатор также вносят в значениях, превышающих максимальные. В качестве жирового ингредиента композиция содержит масло сливочное в количестве 4,6%. Композиция имеет следующее соотношение ингредиентов, мас.%:
– Молоко натуральное топленое 61,0
– Молочные продукты:
– Молоко сгущенное цельное с сахаром 3,5
– Молоко сухое цельное 2,0
– Сыворотка сухая 2,6
– Жировой ингредиент: масло сливочное 4,6
– Сахар 13,1
– Стабилизатор: мука + кремодан 0,96
– Ароматизатор: ванилин 0,04
– Вода 12,2
Полученное мороженое обладает следующими органолептическими показателями:
– Цвет темно-бежевый
– Вкус и аромат интенсивный молока
натурального топленого
и ванили
Пример 7.
По примеру 1 и 3 добавляют молоко натуральное топленое в количестве 450 кг, что соответствует среднему значению этого ингредиента в заявляемых пределах композиции мороженого. В качестве жирового ингредиента выбрано кокосовое масло в количестве 6,7% от общей массы. Глюкодрай внесен в количестве 1,5%, менее чем заявляемое значение. Композиция мороженого имеет следующий состав при соотношении ингредиентов, мас.%:
– Молоко натуральное топлвное 45,0
– Молочные продукты:
– Молоко сгущенное цельное с сахаром 5,0
– Молоко сухое цельное 2,0
– Сыворотка сухая 2,0
– Жировой ингредиент: масло кокосовое 6,7
– Сахар 11,6
– Стабилизатор: мука + кремодан 0,61
– Глюкодрай 1,5
– Ароматизатор: ароматизатор топленого молока 0,025
– Вода 25,565
Полученное мороженое обладает следующими органолептическими показателями:
– Цвет пастельный тепло-бежевый
– Вкус и аромат приятный ощутимый
привкус топленого молока
Пример 8.
По примеру 2 дополнительно вносят вафельную крошку в количестве 0,25%, что ниже заявляемого значения в композиции по этому ингредиенту. Композиция мороженого имеет следующий состав при соотношении ингредиентов, мас.%:
– Молоко натуральное топленое 46,5
– Молочные продукты:
– Молоко сгущенное цельное с сахаром 5,0
– Молоко сухое цельное 2,0
– Молоко обезжиренное сухое 3,7
– Жировой ингредиент: масло сливочное 7,8
– Сахар 11,5
– Стабилизатор: мука-полсгаард 0,35
– Ароматизатор: ванилин 0,025
– Вафельная крошка 0,25
– Вода 22,875
Полученное мороженое обладает следующими органолептическими показателями:
– Цвет пастельный тепло-бежевый
– Вкус и аромат приятный ощутимый вкус
топленого молока
Пример 9.
По примерам 1 и 7, только в смесь вносят дополнительно глюкодрай и вафельную крошку в количествах, соответствующих заявляемому количеству. Композиция мороженого имеет следующий состав при соотношении ингредиентов, мас.%:
– Молоко натуральное топленое 45,0
– Молочные продукты:
– Молоко сгущенное цельное с сахаром 5,0
– Молоко сухое цельное 2,0
– Сыворотка сухая 3,7
– Жировой ингредиент: масло сливочное 7,8
– Глюкодрай 3,0
– Сахар 11,5
– Стабилизатор 0,85
– Ароматизатор: ванилин 0,025
– Вафельная крошка 0,5
– Вода 20,625
Полученное мороженое обладает следующими органолептическими показателями:
– Цвет пастельный бежевый
– Вкус и аромат приятный ощутимый вкус
топленного молока
Пример 10.
По примеру 1 готовят композицию мороженого на основе смеси кокосового и сливочного масел. Вносят в смесительную ванну 550 кг топленого молока, что входит в заявляемые пределы по способу. Соотношение ингредиентов в полученной композиции мороженого следующее, мас.%:
– Молоко натуральное топленое 55,0
– Молочные продукты:
– Молоко сгущенное цельное с сахаром 5,5
– Молоко сухое цельное 4,5
– Жировой ингредиент:
– Масло сливочное 3,5
– Кокосовое масло 12,0
– Сахар 8,5
– Стабилизатор 0,55
– Ароматизатор: ваниль 0,015
– Вода 10,435
Полученное мороженое обладает следующими органолептическими показателями:
– Цвет бежевый
– Вкус и аромат выраженный вкус топленого
молока с ванилью
Как видно из примеров 1, 2, 3, 4, 7, 8, при содержании молока натурального топленого в заявляемых пределах как по способу, так и в композиции от 30 до 60% достигаются такие технические результаты, как равномерная бежевая окраска изделия и приятный привкус топленого молока или топленного молока и ванили за счет изменения основного ингредиента. Интенсивность окраски возрастает при увеличении концентрации топленого молока (примеры 1-4). В качестве жирового компонента можно использовать, например, масло сливочное или масло кокосовое в заявляемых пределах.
Снижение концентрации вносимого молока натурального топленого ниже заявляемого предела 30% ведет к потере приобретенных цвета, вкуса и аромата (пример 5). Повышение концентрации молока натурального топленого выше заявляемого предела композиции приводит к нежелательному нарастанию интенсивности окраски изделия и перенасыщению органолептических качеств (пример 6) и экономически нецелесообразно.
В предпочтительном варианте исполнения композиции мороженого введение в состав композиции вафельной крошки в количестве до 0,5% обеспечивает (примеры 5, 8, 9) частичную замену сухого обезжиренного молока без изменения вкуса. Введение глюкодрая до 3% снижает расход сахарозы (примеры 3, 7, 9). Превышение заявляемых значений не рекомендовано. Молоко сухое обезжиренное или сыворотка, введенные в композицию в заявляемых пределах, позволяют регулировать сухие вещества. Введение сахара, стабилизатора, ароматизатора и жира в заявляемых пределах позволяет в пределах их функциональных возможностей подчеркнуть и отметить за счет совокупности полученных признаков достоинство нового изделия на основе топленого молока.
Таким образом, внесение в композицию мороженого молока натурального топленого в количестве от 30% до 60% позволяет достигнуть оригинальной равномерной бежевой окраски мороженого (наиболее эффективной при соотношении ингредиентов по заявляемой композиции, равной среднему или близко к среднему значению молока натурального топленого). Изделия приобретают вкус и аромат, присущие топленому молоку в сочетании с ароматизатором, что позволяет пополнить ассортимент отечественного мороженого конкурентоспособными изделиями.
Формула изобретения
1. Способ получения мороженого, включающий приготовление смеси путем подготовки ингредиентов, дозирования молока, молочных продуктов, жирового ингредиента, сахара, стабилизатора и их смешивания, а также фильтрацию смеси, пастеризацию, гомогенизацию, охлаждение и внесение ароматизатора, отличающийся тем, что на стадии приготовления в смесь в качестве молока вносят молоко топленое в количестве от 30 до 60% от общей массы.
2. Композиция мороженого, включающая молоко, молочные продукты, жировой ингредиент, сахар, стабилизатор и ароматизатор, отличающаяся тем, что в качестве молока она содержит молоко топленое при следующем содержании ингредиентов, мас.%:
Молоко натуральное топленое 30-60
Молочные продукты:
Молоко сгущенное цельное с сахаром 2,5-5,0
Молоко сухое цельное 2,0
Молоко сухое обезжиренное
или сыворотка сухая 2,0-6,5
Жировой ингредиент 4,5-10,0
Сахар 10,0-13,0
Стабилизатор 0,25-0,95
Ароматизатор 0,015-0,035
Вода Остальное
3. Композиция мороженого по п.2, отличающаяся тем, что она дополнительно содержит вафельную крошку в количестве не более 0,50% от общей массы и/или глюкодрай в количестве не более 3,0% от общей массы.
РИСУНКИ
|