|
|
(21), (22) Заявка: 2002116090/13, 18.06.2002
(24) Дата начала отсчета срока действия патента:
18.06.2002
(30) Конвенционный приоритет:
16.07.2001 UA 2001075001
(45) Опубликовано: 27.02.2005
(56) Список документов, цитированных в отчете о поиске:
1. RU 2060670 С1, 27.05.1996. 2. Справочник “Установки для сушки пищевых продуктов”, М.А.ГРИШИН, В.И.АТАНАЗЕВИЧ, Ю.Г.СЕМЕНОВ, М.ВО Агропромиздат, 1989, с.30-32. 3. “Основы техники сушки”, Б.С.САЖИН, М, Химия, 1984, с.180, 153-163.
Адрес для переписки:
61070, г. Харьков, а/я 10011, Е.С. Стогнию
|
(72) Автор(ы):
Юдин Александр Илларионович (UA), Юдина Светлана Дмитриевна (UA), Юдин Сергей Александрович (UA), Юдин Евгений Александрович (UA)
(73) Патентообладатель(и):
Юдин Александр Илларионович (UA), Юдина Светлана Дмитриевна (UA), Юдин Сергей Александрович (UA), Юдин Евгений Александрович (UA)
|
(54) СПОСОБ ПОЛУЧЕНИЯ ПОРОШКА ИЗ РАСТИТЕЛЬНОГО СЫРЬЯ И УСТРОЙСТВО ДЛЯ ЕГО ОСУЩЕСТВЛЕНИЯ
(57) Реферат:
Изобретение предназначено для использования в пищевой промышленности. Предварительно подготовленное растительное сырье перетирают до образования однородной смеси, сушат и измельчают в сушильной камере до получения частиц сырья заданной дисперсности. Частицы измельчают путем дробления при одновременном введении в сушильную камеру закрученного потока теплоносителя. Его перемещают в восходящем направлении со скоростью, равной 1,0-1,5 скорости витания частиц, выносимых потоком теплоносителя в пылеуловитель. В смеситель можно дополнительно вводить порошок растительного сырья в количестве 15-65% от общей массы однородной смеси, перерабатываемой в нем. Устройство содержит смеситель, сушильную камеру, примыкающую к узлу перетирания измельчитель, пылеуловитель. Выходной патрубок последнего связан с вытяжным компрессором и теплогенератором. Сушильная камера имеет цилиндрический корпус. В нижней части его установлен измельчитель и выполнены тангенциально примыкающие к цилиндрическому корпусу патрубки для размещения теплогенератора. Верхняя часть корпуса связана с входным патрубком пылеуловителя. Изобретение обеспечивает получение порошка из растительного сырья с заданной дисперсностью и не подтвержденного комкованию в процессе длительного хранения с максимальным сохранением в конечном продукте витаминного состава и органолептических свойств исходного растительного сырья. 2 с. и 1 з.п. ф-лы, 2 ил., 1 табл.

Данная группа изобретений относится к пищевой промышленности, а именно к технологиям получения порошка из растительного сырья, и может быть использована в пищевой, кондитерской, пищеконцентратной и других отраслях промышленности.
Основной проблемой при производстве порошков из растительного сырья является получение конечного продукта заданной дисперсности, не подверженного комкованию в процессе хранения, при максимальном сохранении в нем всех свойств исходного продукта, а именно биологически активных веществ, витаминов, вкусовых, ароматических и др. составляющих.
Известен способ получения порошка из растительного сырья по патенту Российской Федерации №2013058, М. кл. А 23 В 7/02, опубл. 30.05.94 г., в соответствии с которым предварительно подготовленное растительное сырье измельчают до пюреобразного состояния, смешивают с сухими овощными компонентами до содержания сухих веществ в смеси 20-30%, сушат и распыляют в потоке газообразной двуокиси углерода с температурой 180-150°С и давлением 250-150 кПа. Распыление под вакуумом осуществляют с остаточным давлением не более 50 кПа.
Недостатками известного способа являются:
– низкое качество полученного порошка в связи с высокой температурой сушки, что ведет к коагулированию белков и разрушению молекул растительного сырья и соответственно к ухудшению биологических свойств полученного продукта;
– неравномерная степень измельчения предварительно подготовленного растительного сырья, в связи с его различной исходной вязкостью, влажностью и другими реологическими показателями, что приводит к получению порошка с различной степенью дисперсности;
– ограниченный срок хранения, поскольку полученный порошок в связи с высокой скоростью распыления электризуется, что приводит к его комкованию в процессе хранения.
Наряду с этим известный способ требует герметизации камеры сушки, что ведет к дополнительным затратам и усложняет эксплуатацию оборудования, на котором реализуется указанный способ.
Известен также способ получения порошка из растительного сырья, принятый в качестве прототипа, согласно которому предварительно подготовленное растительное сырье перетирают до образования однородной смеси, сушат и измельчают (см. патент Российской Федерации №2060670, М. кл. А 23 В 7/026, опубл. 27.05.96 г.). Сушку осуществляют токами СВЧ при одновременном измельчении в процессе распыления ультразвуковыми колебаниями с частотой 18-80 кГц.
Недостатком известного способа является неравномерная степень измельчения подготовленного растительного сырья, в связи с его различной исходной вязкостью, влажностью и другими реологическими показателями, что приводит к получению порошка с различной степенью дисперсности. При этом полученный порошок, в связи с высокой скоростью перемещения частиц при распылении, электризуется, что приводит к его комкованию в процессе хранения.
Вместе с тем известный способ требует использования дорогостоящего оборудования, сложного и недостаточно надежного в эксплуатации, что ограничивает сферу применения известного способа.
Задачей заявляемого способа, входящего в группу изобретений, является получение порошка из растительного сырья, обладающего однородной дисперсностью и высокой биологической ценностью при сохранении витаминного состава и органолептических свойств исходного растительного сырья.
Поставленная задача, в части способа, решается тем, что в известном способе получения порошка из растительного сырья, согласно которому предварительно подготовленное растительное сырье перетирают до образования однородной смеси, сушат и измельчают, согласно изобретению однородную смесь растительного сырья измельчают в сушильной камере до получения частиц сырья заданной дисперсности путем дробления на измельчителе при одновременном введении в сушильную камеру закрученного потока теплоносителя, перемещаемого в восходящем направлении со скоростью, равной 1,0-1,5 скорости витания частиц, выносимых потоком теплоносителя в пылеуловитель.
В частном варианте осуществления способа в предварительно подготовленное растительное сырье дополнительно вводят порошок растительного сырья в количестве 15-65% от общей массы однородной смеси. Количество порошка растительного сырья, вводимого в предварительно подготовленное растительное сырье, зависит от содержания влаги в предварительно подготовленном растительном сырье, что позволяет уменьшить энергозатраты на сушку продукта.
Известно устройство для получения порошка из растительного сырья, содержащее узел предварительной подготовки сырья и сушильную камеру, указанное в описании изобретения к патенту Российской Федерации №2013058, М. кл. А 23 В 7/02, опубл. 30.05.94 г., в соответствии с которым в узле предварительной подготовки исходное растительное сырье измельчают до пюреобразного состояния и смешивают с сухими овощными компонентами до содержания сухих веществ в смеси 20-30%. Затем полученную смесь распыляют в потоке газообразной двуокиси углерода с температурой 180-150°С при давлении 250-150 кПа. Сушку смеси осуществляют в сушильной камере в режиме распыления под вакуумом с остаточным давлением не более 50 кПа.
Недостатками известного устройства является низкое качество полученного порошка в связи с высокой температурой сушки, что ведет к коагулированию белков и разрушению молекул растительного сырья и соответственно к ухудшению биологических свойств полученного продукта, а также неравномерная степень измельчения подготовленного растительного сырья, в связи с его различной исходной вязкостью и влажностью. Кроме того, полученный продукт не подлежит длительному хранению, поскольку полученный порошок в связи с высокой скоростью распыления электризуется, что приводит к его комкованию в процессе хранения.
Известно устройство для получения порошка из растительного сырья, принятое в качестве прототипа, содержащее узел перетирания сырья до образования однородной смеси, сушильную камеру, примыкающую к узлу перетирания, и измельчитель, в соответствии с патентом Российской Федерации №2060670, М. кл. А 23 В 7/026, опубл. 27.05.96 г. Сушильная камера оснащена ульразвуковым распылителем и СВЧ-излучателями, а измельчитель выполнен в виде установленного в сушильной камере ульразвукового распылителя стержневого типа. Сушку осуществляют токами СВЧ при одновременном измельчении в процессе распыления ультразвуковыми колебаниями с частотой 18-80 кГц.
Недостатком известного устройства является получение конечного продукта с различной дисперсностью, ввиду неравномерного измельчения перерабатываемого растительного сырья, в связи с его неоднородными исходными реологическими характеристиками. Вместе с тем, полученный порошок в связи с высокой скоростью перемещения частиц при распылении электризуется, что приводит к его комкованию в процессе хранения. Указанные недостатки ведут к ухудшению витаминного состава и органолептических свойств полученного продукта, снижению его биологической ценности при длительном хранении.
Задачей, заявляемой группы изобретений, является также создание устройства, предназначенного для получения порошка из растительного сырья и обеспечивающего выход тонкодисперсного конечного продукта с высокой степенью чистоты, обладающего высокой биологической ценностью при сохранении витаминного состава и органолептических свойств исходного растительного сырья.
Поставленная задача, в части реализации заявленного устройства, решается тем, что в известное устройство для получения порошка из растительного сырья, содержащее узел перетирания сырья до образования однородной смеси, сушильную камеру, примыкающую к узлу перетирания, и измельчитель, согласно изобретению введен, по меньшей мере, один пылеуловитель, выходной патрубок которого связан с вытяжным компрессором, и, по меньшей мере, один теплогенератор, при этом сушильная камера выполнена в виде цилиндрического корпуса, в нижней части которого установлен измельчитель и выполнены тангенциально примыкающие к корпусу патрубки для размещения теплогенератора, а верхняя часть корпуса связана с входным патрубком пылеуловителя. Введение в заявляемое устройство измельчителя, в сочетании с тангенциально примыкающими к корпусу патрубками для размещения теплогенератора, позволяет обеспечить активное перемешивание и измельчение подаваемой в сушильную камеру однородной смеси в восходящем потоке закрученного теплоносителя. При этом оснащение заявленного устройства пылеуловителем, связанным с вытяжным компрессором, обеспечивает сбор полученного высушенного порошка.
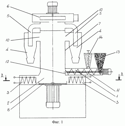
На фиг.1 изображен общий вид заявляемого устройства для получения порошка из растительного сырья; на фиг.2 – сечение А-А фиг.1.
Устройство для получения порошка из растительного сырья содержит узел перетирания 1 сырья до образования однородной смеси и сушильную камеру 2, примыкающую к узлу перетирания 1. Устройство снабжено теплогенераторами 3 и пылеуловителями 4, выходные патрубки 5 которых связаны с вытяжным компрессором 6. Сушильная камера 2 выполнена в виде цилиндрического корпуса 7, в нижней части которого установлен измельчитель 8. К цилиндрическому корпусу 7 тангенциально примыкают патрубки 9, в которых размещены теплогенераторы 3. Верхняя часть цилиндрического корпуса 7 связана с входными патрубками 10 пылеуловителей 4. Узел перетирания 1 снабжен шнеком 11 и соплом 12, выходящим в сушильную камеру 2, а также бункером 13 для загрузки предварительно подготовленного растительного сырья и дополнительным бункером 14 для введения в узел перетирания 1 порошка из растительного сырья.
Способ получения порошка из растительного сырья осуществляют следующим образом.
Предварительно подготовленное растительное сырье, представляющее собой измельченную в виде кусочков, стружки либо мезги растительную массу, подают в узел перетирания 1 через бункер 13, где оно посредством винтового шнека 11 перемещается в направлении сопла 12. При этом предварительно подготовленное растительное сырье перетирается шнеком 11 до образования однородной смеси, которая затем поступает в цилиндрический корпус 7 сушильной камеры 2. Полученную однородную смесь растительного сырья через сопло 12 вводят в рабочую зону сушильной камеры 2, расположенную над измельчителем 8 в нижней части цилиндрического корпуса 7, где она подвергается предварительному дроблению.
Через патрубки 9, тангенциально примыкающие к цилиндрическому корпусу 7 в его нижней части, в рабочую зону сушильной камеры 2 поступает теплоноситель, который нагревают посредством теплогенераторов 3. Теплоноситель, поступающий в сушильную камеру 2, перемещается в восходящем направлении в рабочей зоне цилиндрического корпуса 7 в виде закрученного потока, подхватывая частицы однородной смеси, предварительно дробленых с помощью измельчителя 8.
Сушку измельченных частиц осуществляют в потоке теплоносителя при температуре 80-165°С и скорости, равной 1,0-1,5 скорости витания частиц, выносимых потоком теплоносителя в пылеуловители 4, что позволяет обеспечить активное удаление влаги с поверхности частиц растительного сырья, а также частичное удаление свободной капиллярной влаги. Воздействие высоких температур теплоносителя во время сушки не создает опасности перегрева продукта, так как температура теплоносителя не соответствует температуре на поверхности влажных частиц сырья, на которых происходит образование паровоздушной оболочки, защищающей собственно частицы продукта от чрезмерного нагревания. При этом температура на поверхности частиц сырья не превышает 25-38°С. Скорость теплоносителя, выбранная равной 1,0-1,5 скорости витания частиц, позволяет обеспечить их циркуляцию в рабочей зоне цилиндрического корпуса 7, при которой происходит дальнейшее дробление частиц до достижения ими необходимой степени дисперсности, и достаточна для удаления с поверхности частиц поверхностной и части капиллярной влаги. Образование более мелких частиц растительного сырья сопровождается соответствующим выделением дополнительной капиллярной влаги до достижения конечной влажности продукта 6-8%, а выбранная температура, равная 80-165°С, способствует ее быстрому превращению в пар. Повышение температуры теплоносителя нерационально, поскольку ведет к повышению энергозатрат, а снижение температуры – к снижению эффективности отбора влаги. Активный отбор влаги из частиц растительного сырья происходит в сушильной камере 2 в течение 10-50 с.
По достижении частицами растительного сырья заданной влажности и дисперсности они потоком теплоносителя, перемещающимся по рабочей зоне сушильной камеры 2 со скоростью, равной 1,0-1,5 скорости витания частиц, выносятся в верхнюю часть цилиндрического корпуса 7 откуда по входным патрубкам 10 поступают в пылеуловители 4, соединенные своими выходными патрубками 5 с вытяжным компрессором 6. Снижение скорости теплоносителя ниже 1,0 скорости витания частиц препятствует удалению частиц заданной дисперсности из рабочей зоны сушильной камеры 2 и приводит к дальнейшему их измельчению, а превышение скорости теплоносителя выше 1,5 скорости витания частиц приводит к выносу в пылеуловители 4 частиц с большей, по сравнению с заданной, дисперсностью.
Таким образом, осевшие в пылеуловителях 4 частицы растительного сырья имеют заданную дисперсность и представляют собой порошок растительного сырья требуемой влажности с максимальным сохранением в конечном продукте витаминного состава и органолептических свойств исходного растительного сырья.
Затем полученный порошок выводят из пылеуловителей 4 на расфасовку.
В частном варианте выполнения способа полученный порошок растительного сырья в количестве 15-65% загружают в дополнительный бункер 14, с помощью которого вводят в узел перетирания 1. Подаваемый порошок посредством шнека 11 смешивают с предварительно подготовленным растительным сырьем, поступающим в узел перетирания 1 из бункера 13, где перетирают до образования однородной смеси влажностью 40-45%. Это позволяет уменьшить энергозатраты при сушке растительного сырья в сушильной камере 2 и повысить производительность заявляемого способа.
Пример 1. В качестве предварительно подготовленного растительного сырья брали 20 кг измельченных яблок, которые загружали в узел перетирания 1 через бункер 13. В результате их обработки в узле перетирания 1 получали перетертую однородную смесь с влажностью 83%, которую вводили в сушильную камеру 2 при температуре теплоносителя 125°С, где она подвергалась предварительному дроблению на измельчителе 8. Полученные частицы растительного сырья размером 40 мкм обрабатывали в потоке теплоносителя, перемещающегося в восходящем направлении со скоростью 8 м/с, что составляло 1,5 скорости витания частиц в сушильной камере 2. При этом общее время сушки 20 кг исходного сырья составило 1,5 ч, а выход полученного порошка влажностью 6% составил 3,480 кг.
Пример 2. В качестве предварительно подготовленного растительного сырья брали 10 кг чеснока с исходной влажностью 78%. В результате его обработки в узле перетирания 1 получали перетертую однородную смесь, которую вводили в сушильную камеру 2 при температуре теплоносителя 100°С, где она подвергалась предварительному дроблению на измельчителе 8. Полученные частицы растительного сырья размером 35-40 мкм обрабатывали в потоке теплоносителя, перемещающегося в восходящем направлении со скоростью 7,5 м/с, что составляло 1,1 скорости витания частиц в сушильной камере 2. При этом процесс обработки исходного растительного сырья продолжался 0,8 ч, а выход полученного порошка влажностью 8% составил 1,875 кг.
Пример 3. В качестве исходного растительного сырья брали 36 кг тыквы с исходной влажностью 93%, которую загружали в узел перетирания 1 через бункер 13. Одновременно с этим в дополнительный бункер 14 загружали 24 кг порошка тыквы влажностью 6%. В результате их совместной обработки в узле перетирания 1 получали перетертую однородную смесь влажностью 62%, которую вводили в сушильную камеру 2 при температуре теплоносителя 80°С, где она подвергалась предварительному дроблению на измельчителе 8. Полученные частицы растительного сырья размером 30 мкм обрабатывали в потоке теплоносителя, перемещающегося в восходящем направлении со скоростью 6,5 м/с, что составляло 1,0 скорости витания частиц в сушильной камере 2. При этом процесс обработки исходного растительного сырья продолжался 6,8 ч, а выход полученного порошка влажностью 7% составил 28,540 кг.
Дальнейшие примеры получения порошков из растительного сырья осуществлялись в той же последовательности, что и в приведенных примерах 1-3, но с иным влагосодержанием исходного растительного сырья и изменением режимов обработки в процессе реализации заявленного способа.
Результаты проведенных испытаний отражены в таблице.
| Таблица |
| № |
Тип сырья |
Количество порошка в начальном сырье, % |
Влажность смеси, % |
Температура теплоносителя, °С |
Относительная скорость потока |
Дисперсность частичек, мкм |
Влагосодержание порошка, % |
Время сушки, час |
Количество сырья, кг |
Выход конечного продукта, кг |
| 1 |
яблоки |
– |
83 |
125 |
1,5 |
40 |
6 |
1,5 |
20 |
3,480 |
| 2 |
– |
– |
78 |
100 |
1,1 |
30 |
8 |
1,8 |
20 |
3,565 |
| 3 |
– |
– |
82 |
110 |
1,3 |
35 |
7 |
1,7 |
– |
3,510 |
| 4 |
– |
– |
80 |
80 |
1,0 |
30 |
8 |
1,8 |
– |
3,610 |
| 5 |
– |
– |
83 |
75 |
1,0 |
30 |
10 |
1,7 |
– |
3,530 |
| 6 |
– |
– |
82 |
165 |
1,6 |
45 |
8 |
1,5 |
– |
3,443 |
| 7 |
– |
15 (1:6,5) |
70 |
100 |
1,1 |
30 |
6 |
1,0 |
– |
7,141 |
| 8 |
– |
40 (1:2,5) |
58 |
80 |
1,0 |
30 |
6,5 |
1,1 |
– |
11,483 |
| 9 |
– |
65 (1:1,5) |
45 |
120 |
1,5 |
40 |
8 |
0,9 |
– |
15,665 |
| |
|
|
|
|
|
|
|
|
|
|
| 10 |
чеснок |
– |
78 |
100 |
1,1 |
30 |
8 |
0,8 |
10 |
1,875 |
| 11 |
– |
– |
76 |
110 |
1,0 |
30 |
6 |
0,85 |
– |
1,834 |
| 12 |
– |
– |
75 |
125 |
1,2 |
35 |
7 |
0,7 |
– |
1,845 |
| 13 |
– |
– |
78 |
165 |
1,5 |
40 |
6 |
0,65 |
– |
1,806 |
| 14 |
– |
– |
74 |
80 |
0,9 |
25 |
8 |
0,85 |
– |
1,883 |
| 15 |
– |
– |
76 |
130 |
1,5 |
40 |
7 |
0,8 |
– |
1,855 |
| |
|
– |
|
|
|
|
|
|
|
|
| 16 |
тыква |
– |
93 |
100 |
1,1 |
30 |
6 |
12,1 |
60 |
5,100 |
| 17 |
– |
– |
94 |
80 |
1,0 |
30 |
7 |
12,6 |
– |
5,800 |
| 18 |
– |
15 (1:6,5) |
85 |
110 |
1,5 |
40 |
6 |
7,9 |
– |
11,400 |
| 19 |
– |
40 (1:2,5) |
74 |
130 |
1,3 |
35 |
8 |
7,4 |
– |
17,350 |
| 20 |
– |
65 (1:1,5) |
62 |
80 |
1,0 |
30 |
7 |
6,8 |
– |
28,540 |
Формула изобретения
1. Способ получения порошка из растительного сырья, согласно которому предварительно подготовленное растительное сырье перетирают до образования однородной смеси, сушат и измельчают, отличающийся тем, что однородную смесь растительного сырья измельчают в сушильной камере до получения частиц сырья заданной дисперсности путем дробления на измельчителе при одновременном введении в сушильную камеру закрученного потока теплоносителя, перемещаемого в восходящем направлении со скоростью, равной 1,0-1,5 скорости витания частиц, выносимых потоком теплоносителя в пылеуловитель.
2. Способ получения порошка из растительного сырья по п.1, отличающийся тем, что в предварительно подготовленное растительное сырье дополнительно вводят порошок растительного сырья в количестве 15-65% от общей массы однородной смеси.
3. Устройство для получения порошка из растительного сырья, содержащее узел перетирания сырья до образования однородной смеси, сушильную камеру, примыкающую к узлу перетирания, и измельчитель, отличающееся тем, что оно снабжено, по меньшей мере, одним пылеуловителем, выходной патрубок которого связан с вытяжным компрессором, и, по меньшей мере, одним теплогенератором, при этом сушильная камера выполнена в виде цилиндрического корпуса, в нижней части которого установлен измельчитель и выполнены тангенциально примыкающие к цилиндрическому корпусу патрубки для размещения теплогенератора, а верхняя часть корпуса связана с входным патрубком пылеуловителя.
РИСУНКИ
|
|