|
|
(21), (22) Заявка: 2003111526/12, 21.04.2003
(24) Дата начала отсчета срока действия патента:
21.04.2003
(45) Опубликовано: 27.02.2005
(56) Список документов, цитированных в отчете о поиске:
SU 882487, 23.11.1981. RU 2147175 C1, 20.04.2000. SU 1308271 A1, 07.05.1987. Королев В.Ф. “Доильные машины”, Москва, “Машиностроение”, 1969, с.20-44.
Адрес для переписки:
390044, г.Рязань, ул. Костычева, 1, РГСХА, Патентный отдел
|
(72) Автор(ы):
Ульянов В.М. (RU), Шапошников С.В. (RU)
(73) Патентообладатель(и):
Рязанская государственная сельскохозяйственная академия им. профессора П.А. Костычева (RU)
|
(54) ДОИЛЬНЫЙ СТАКАН
(57) Реферат:
Изобретение относится к сельскому хозяйству, в частности к доильным стаканам, и может быть использовано при машинном доении коров. Доильный стакан состоит из гильзы, внутри которой закреплена сосковая трубка с помощью конуса и присоска. В присоске имеется центральное отверстие, а его торцовая поверхность выполнена из отдельных уложенных друг на друга тонких эластичных пластин. В процессе машинного доения по мере выдаивания молока происходит наползание доильного стакана на сосок вымени. Тонкие эластичные пластины, из которых выполнена торцовая поверхность присоска, прогибаются по очереди и не оказывают на сосок вымени практически никакого давления, и не пережимают его. Это исключает прерывание сообщения соска с цистерной вымени. Изобретение повышает чистоту выдаивания коров и исключает из технологии машинного доения операцию, связанную с применением ручного труда – машинное додаивание. 2 ил.

Изобретение относится к сельскому хозяйству, в частности к доильным стаканам, и может быть использовано при машинном доении коров.
Известен двухкамерный доильный стакан, включающий гильзу, сосковую трубку с присоском, торцовая поверхность которого снабжена центральным отверстием для соска вымени коровы [1].
Недостатком подобных доильных стаканов является то, что во время доения стаканы наползают на соски вымени коровы, от чего сообщение соска с молочной цистерной нарушается и доение прерывается преждевременно, что приводит к неполному выдаиванию коров.
Известен доильный стакан, содержащий гильзу, сосковую трубку с присоском, верхняя часть которого выполнена в виде воронки, опущенной в сосковую трубку [2].
В виду того, что воронка – присоска доходит до начала сосковой трубки, то утолщения соска вымени в зоне присоска при доении не происходит, от чего стакан плохо удерживается на соске.
Известен также доильный стакан, включающий гильзу, сосковую трубку с присоском, состоящим из цилиндрической стенки и плоского кольца, соединенного с ней с возможностью поворота относительно нее [3]. Недостатком данного стакана является то, что после надевания стакана на сосок вымени коровы плоское кольцо поворачивается относительно стенки присоска и образует воронку. При этом воронка присоска занимает значительную длину соска, что делает нестабильным процесс доения коров с короткими сосками из-за плохого удерживания доильных стаканов, а также неэффективного стимулирующего воздействия при такте сжатия, так как сосок вымени в зоне расположения воронки присоска на значительной длине не массажируется.
При доении коров с тонкими сосками вымени воздух будет проходить между наружной поверхностью воронки и соском, вследствие чего диаметр воронки в поперечном сечении будет увеличиваться, так как под воронкой присутствует вакуум. Значительное поступление воздуха снизит вакуум под соском и сделает процесс доения нестабильным.
Задача изобретения направлена на создание доильного стакана, обеспечивающего чистое и стабильное выдаивание коров без проведения операции машинного додаивания, что сокращает затраты труда.
Технический результат достигается тем, что в доильном стакане, содержащем гильзу и сосковую трубку с присоском, состоящим из цилиндрической стенки и соединенного с ней плоского кольца, плоское кольцо выполнено из отдельных уложенных одно на другое тонких эластичных кольцевых пластин, защемленных по наружному периметру, а центральные отверстия кольцевых пластин выполнены разного диаметра с образованием общего отверстия в виде усеченного конуса, направленного большим основанием вверх в свободном состоянии.
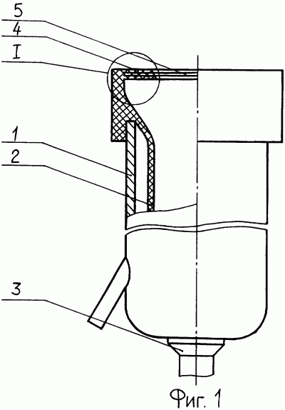
На фиг.1 изображен предлагаемый доильный стакан, разрез; на фиг.2 – элемент А фиг.1.
Доильный стакан состоит из гильзы 1, внутри которой закреплена сосковая трубка 2 с помощью конуса 3 и присоска 4 с центральным отверстием 5. Торцовая поверхность присоска 4 выполнена из отдельных уложенных одно на другое тонких эластичных кольцевых пластин 6, защемленных по наружному периметру. Защемление может быть осуществлено вулканизацией, механическим путем или каким-либо другим способом. Центральные отверстия отдельных кольцевых пластин присоска выполнены разного диаметра таким образом, что в результате получается общее центральное отверстие 5 в виде усеченного конуса большим основанием вверх в свободном состоянии.
Доильный аппарат работает следующим образом.
После подключения доильного стакана к пульсатору, коллектору, источнику вакуума и надевания его на сосок вымени коровы процесс доения происходит как у обычного двухкамерного стакана. По мере выдаивания молока и опорожнения вымени происходит наползание стакана на сосок. При этом торцовая поверхность присоска прогибается. Так как отдельные кольцевые пластины 6 вокруг центрального отверстия 5 не соединены между собой, то прогибаются они по очереди. Ввиду того, что кольцевые пластины 6 выполнены тонкими и эластичными, то при прогибе они охватывают поверхность соска вымени, практически не оказывая на него давления и не пережимая его. При этом диаметр центрального отверстия последующей пластины выполнен больше диаметра предыдущей. При этом при прогибе предыдущей пластины поверхность центрального отверстия последующей соприкасается с соском вымени. При дальнейшем наползании доильного стакана происходит прогиб следующей вышерасположенной тонкой эластичной пластины и так далее.
Постоянное увеличение диаметра центрального отверстия 5 присоска 4 при наползании доильного стакана исключает прерывание сообщения соска с цистерной вымени, что повышает чистоту выдаивания коров и исключает из технологии машинного доения операцию, связанную с применением ручного труда, – машинное додаивание.
В отличие от прототипа образование воронки у присоска наблюдается не после надевания доильного стакана на сосок вымени, а только по мере наползания стакана. При этом подсоса воздуха происходить не будет даже при доении коров с тонкими сосками, что способствует стабилизации процесса доения.
Источники информации.
1. Королев В.Ф. Доильные машины. М.: Машиностроение, 1969, с.29.
2. Авторское свидетельство СССР №197347, кл. A 01 J 5/08, 1967.
3. Авторское свидетельство СССР №882487, кл. A 01 J 5/08,1981 (прототип).
Формула изобретения
Доильный стакан, содержащий гильзу и сосковую трубку с присоском, состоящим из цилиндрической стенки и соединенного с ней плоского кольца, отличающийся тем, что плоское кольцо выполнено из отдельных уложенных одно на другое тонких эластичных кольцевых пластин, защемленных совместно по наружному периметру, при этом центральные отверстия кольцевых пластин выполнены разного диаметра с образованием общего отверстия в виде усеченного конуса, большим основанием направленного вверх в свободном состоянии.
РИСУНКИ
MM4A Досрочное прекращение действия патента Российской Федерации на изобретение из-за неуплаты в установленный срок пошлины за поддержание патента в силе
Дата прекращения действия патента: 22.04.2005
Извещение опубликовано: 27.01.2007 БИ: 03/2007
|
|