|
|
(21), (22) Заявка: 2003108751/12, 28.03.2003
(24) Дата начала отсчета срока действия патента:
28.03.2003
(43) Дата публикации заявки: 27.09.2004
(45) Опубликовано: 27.02.2005
(56) Список документов, цитированных в отчете о поиске:
SU 753400 А 07.08.1980. SU 882483 A 23.11.1981.
Адрес для переписки:
346421, Ростовская обл., г. Новочеркасск, пр. Баклановский, 190, ФГНУ “РосНИИПМ”
|
(72) Автор(ы):
Щедрин В.Н. (RU), Колганов А.В. (RU), Бородычев В.В. (RU), Салдаев А.М. (RU), Снипич Ю.Ф. (RU), Бутов А.А. (RU)
(73) Патентообладатель(и):
Федеральное Государственное научное учреждение “Российский научно-исследовательский институт проблем мелиорации” (ФГНУ “РосНИИПМ”) (RU)
|
(54) ДВУХКОНСОЛЬНЫЙ ДОЖДЕВАЛЬНЫЙ АГРЕГАТ
(57) Реферат:
Изобретение относится к области сельскохозяйственного машиностроения, в частности к дождевальным агрегатам для полива при непрерывном движении. Агрегат содержит ходовую часть с шарнирно закрепленными двумя консолями фермы. Ферма имеет центральную панель, стойки, раскосы и дождевальные насадки на водопроводящем поясе. Ходовая часть снабжена опорным столом и поворотной плитой. Опорный стол смонтирован на вертикальной стенке заднего моста ходовой части над центробежным насосом. Поворотная плита смонтирована на опорном столе с возможностью поворота вокруг оси. Этой осью плита соединена шарнирно с опорным столом и дополнительно взаимно связаны гидроприводом поворота. На поворотной плите посредством вертикальной оси размещена центральная панель фермы. Центральная панель дополнительно связана гидроприводом механизма разворота с поворотной плитой. В рабочем и транспортном положениях вес фермы распределяется на поверхности опорного стола. Механизмы поворота плиты и разворота центральной панели фермы упрощают процесс перевода фермы из рабочего положения и обратно. 3 ил.

Изобретение относится к области сельскохозяйственного машиностроения, в частности к мобильной оросительной технике для полива капельным дождеванием.
Известен двухконсольный дождевальный агрегат, имеющий фронтально установленную ферму с переводом ее из рабочего положения в транспортное и обратно [1], включающий подъем центра масс фермы над центром масс трактора и поворот вокруг вертикальной оси симметрии трактора, реализованной в дождевальной машине, включающей двухконсольную ферму, установленную на тракторе посредством рамы и шарнирной опоры, расположенной над трактором и выше центра тяжести фермы при ее переводе из рабочего положения в транспортное, а также навеске и снятии ее с трактора; шарнирная опора выполнена в виде двух пар диаметрально закрепленных на раме ложементов и снабжена гидроцилиндром подъема-опускания фермы.
К недостаткам данного способа относится то, что угловые колебания на поперечной паре моментов фермы в транспортном положении достигают величин, препятствующих перемещению фермы по полевым дорогам.
Наиболее близким техническим решением является оросительный агрегат консольного типа [2], включающий ходовую часть с шарнирно закрепленными на ней двумя консолями, каждая из которых выполнена в виде взаимно перпендикулярных вертикальной и горизонтальной ферм, имеющих гибкие пояса, стойки, раскосы и дождевальные насадки на одном жестком водопроводящем поясе, в котором с целью использования агрегата как для дождевания, так и для полива по бороздам, а также снижения веса агрегата каждая консоль дополнительно снабжена жестким водопроводящим поясом, на котором установлены поливочные насадки и наземные опоры, а также элементы горизонтальной фермы и который жестко соединен с водопроводящим поясом вертикальной фермы с размещением на ней дождевальных насадок, при этом концы стоек горизонтальной и вертикальной ферм в местах их соединения с гибкими поясами скреплены между собой стабилизирующими подвесками, а стойки вертикальной фермы снабжены шарнирными опорами.
К недостаткам агрегата относятся ограниченные возможности при транспортных переездах.
Задача, на решение которой направлено заявленное изобретение, – упрощение процесса перевода фермы оросительного агрегата консольного типа из рабочего положения в транспортное и обратно.
Решение данной задачи достигается тем, что двухконсольный дождевальный агрегат, включающий ходовую часть с шарнирно закрепленными двумя консолями фермы, имеющей гибкие пояса, стойки, раскосы и дождевальные насадки на водопроводящем поясе, согласно изобретению ходовая часть снабжена опорным столом, смонтированным на вертикальной стенке заднего моста ходовой части над центральным насосом, и поворотной плитой, смонтированной на опорном столе и соединенной с ним шарнирно вертикальной осью и гидроприводом поворота, а на поворотной плите посредством вертикальной оси размещена центральная панель фермы, дополнительно связанная гидроприводом механизма разворота с поворотной плитой. Двухконсольная ферма размещена на опорном столе над центробежным насосом и снабжена возможностью перевода из фронтального положения в транспортное положение размещением вдоль топливного бака и ходовой части агрегата.
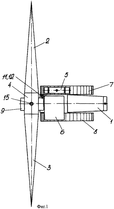
Конструкция двухконсольного дождевального агрегата представлена на фиг.1-3.
На фиг.1 изображен двухконсольный дождевальный агрегат в рабочем положении для дождевания орошаемого участка при непрерывном движении агрегата.
На фиг.2 – то же, схема перевода двухконсольной фермы в транспортное положение.
На фиг.3 показан опорный стол, поворотная плита и центральная панель фермы с осями поворота и разворота и их гидроприводами.
Двухконсольный дождевальный агрегат (фиг.1-3) включает ходовую часть 1 с шарнирно закрепленными двумя консолями 2 и 3 фермы. Ферма имеет центральную панель 4 и смонтированные на консолях 2 и 3 посредством известных стоек и раскосов водопроводящий пояс. На водопроводящем поясе размещены короткоструйные насадки и концевые дальнеструйные дождеватели. Центральная панель 4 с консолями 2 и 3 образуют компактный узел, соединенный посредством U-образного колена с центробежным насосом. Центробежный насос агрегата получает привод от коробки перемены передач ходовой части 1 и установлен на вертикальной стенке заднего моста. Насос гидравлически связан с заборным рукавом и плавучим клапаном. Ходовая часть 1 использована с серийно выпускаемых тракторов класса тяги 3. Топливный бак 5 и кабина 6 размещены с боковыми абрисами гусеничных движителей 7 и 8 ходовой части 1.
Ходовая часть 1 снабжена опорным столом 9 и поворотной плитой 10. Опорный стол 9 смонтирован на вертикальной стенке заднего моста ходовой части над центробежным насосом. Поворотная плита 10 смонтирована на опорном столе 9. Поворотная плита 10 соединена с опорным столом шарнирно вертикальной осью 11 и втулкой 12.
Вертикальная ось 11 сварными швами закреплена перпендикулярно рабочей поверхности стола 9. Втулка 12 размещена на внешней плоскости поворотной плиты 10. Поворотная плита 10 через ось 13 соединена со штоком гидропривода 14 механизма поворота. На поворотной плите 10 посредством вертикальной оси 15 размещена центральная панель 3 фермы. Панель 3 связана гидроприводом 16 механизма разворота с поворотной плитой 10.
Двухконсольный дождевальный агрегат работает следующим образом.
Из открытого оросителя при движении ходовой части 1 плавучим клапаном и заборным рукавом и центробежным насосом вода под давлением подается в водопроводящий пояс и насадками в виде капель равномерно распределяется на орошаемом поле. При завершении полива насос выключают, а плавучий клапан переводят в нерабочее положение. Далее тракторист частично демонтирует U-образное колено связи центробежного насоса с водопроводящим поясом. Далее центральной ручкой гидрораспылителя включают гидропривод 16 механизма разворота поворотной плиты 10. При втягивании штока гидропривода центральная панель 4 поворачивается на вертикальной оси 15 на угол (см. фиг.2 и 3). Консоль 3 максимально приближается к правому гусеничному движителю 8 ходовой части 1. Далее механизатор, управляя левой ручкой гидрораспределителя агрегатируемого трактора, включает шток гидропривода 14 механизма поворотной плиты 10 на поверхности опорного стола 9. При выдвижении штока гидропривода 14 через ось 13 усилие силового гидроцилиндра передается на поворотную плиту 10. Ось 13 вместе со штоком гидропривода 14 поворотную плиту 10 вместе со втулкой 12 поворачивает в горизонтальной плоскости на угол , равным образом центральную панель 4 вместе с центральной осью 15 на поворотной плите 10. Поворотная плита 10 плавно перемещается на поверхности опорного стола 9, а центральная панель 4 вместе с консолями 2 и 3 занимает положение вдоль топливного бака 5 (смотри фиг.2). Перед началом транспортировки поворотную плиту 10 фиксируют на опорном столе 9. Это исключает самопроизвольные перемещения фермы относительно ходовой части 1. При боковом положении фермы тракторист из кабины 6 имеет прекрасный обзор на полевую дорогу и вокруг дождевального агрегата. Механизм поворота плиты и механизм разворота центральной панели фермы сводят до минимума затраты труда и времени на перевод агрегата в транспортное положение.
Формула изобретения
Двухконсольный дождевальный агрегат, включающий ходовую часть с шарнирно закрепленными двумя консолями фермы, имеющей центральную панель, стойки, раскосы и дождевальные насадки на водопроводящем поясе, отличающийся тем, что ходовая часть снабжена опорным столом, смонтированным на вертикальной стенке заднего моста ходовой части над центробежным насосом, и поворотной плитой, смонтированной на опорном столе и соединенной с ним шарнирно вертикальной осью и гидроприводом поворота, а на поворотной плите посредством вертикальной оси размещена центральная панель фермы, дополнительно связанная гидроприводом механизма разворота с поворотной плитой.
РИСУНКИ
MM4A – Досрочное прекращение действия патента СССР или патента Российской Федерации на изобретение из-за неуплаты в установленный срок пошлины за поддержание патента в силе
Дата прекращения действия патента: 29.03.2006
Извещение опубликовано: 20.02.2007 БИ: 05/2007
|
|