|
|
(21), (22) Заявка: 2002101316/03, 19.06.2000
(24) Дата начала отсчета срока действия патента:
19.06.2000
(30) Конвенционный приоритет:
22.06.1999 EP 99304885.9
(43) Дата публикации заявки: 10.09.2003
(45) Опубликовано: 10.02.2005
(56) Список документов, цитированных в отчете о поиске:
EP 0289673 A1, 09.11.1988. SU 1579979 A1, 23.07.1990. US 4315553 A, 16.02.1982. WO 98/16716 A1, 23.04.1998. US 5048620 A, 17.09.1991. ДЕРУСОВ В.П., Обратная промывка при бурении геологоразведочных скважин, Москва, Недра, 1984, с. 4.
(85) Дата перевода заявки PCT на национальную фазу:
22.01.2002
(86) Заявка PCT:
EP 00/05686 (19.06.2000)
(87) Публикация PCT:
WO 00/79092 (28.12.2000)
Адрес для переписки:
129010, Москва, ул. Большая Спасская, 25, стр.3, ООО “Юридическая фирма Городисский и Партнеры”, Е.В.Томской
|
(72) Автор(ы):
БЕСТ Бруно (NL)
(73) Патентообладатель(и):
ШЕЛЛ ИНТЕРНЭШНЛ РИСЕРЧ МААТСХАППИЙ Б.В. (NL)
|
(54) БУРИЛЬНАЯ СИСТЕМА
(57) Реферат:
Изобретение относится к нефтяной и газовой промышленности и может быть использовано при бурении скважин. Бурильная система содержит бурильную колонну с продольным проходом для бурового раствора с выпускным отверстием в концевой части, насосное средство для закачивания бурового раствора через проход. Кольцевое пространство между бурильной колонной и стенкой буровой скважины содержит основную массу бурового раствора. Средство для регулирования давления бурового раствора содержит насос с выпускным отверстием. Оно сообщено с основной массой бурового раствора через выпускную трубу. Бурильная колонна включает нижнюю и верхнюю секции. Секции соединены между собой отсоединяемым средством соединительного замка. Открытый верхний конец нижней секции расположен в камере для бурового раствора. Верхняя секция проходит в камеру для бурового раствора через ее верхнее отверстие. Камера для бурового раствора включает нижнюю и верхнюю части. Верхняя часть герметично перекрывается от нижней удаляемыми средствами уплотнения. Повышается надежность и безопасность использования системы. 12 з.п. ф-лы, 2 ил.

Настоящее изобретение касается бурильной системы для бурения скважины в пласте.
Обычная бурильная система содержит бурильную колонну, проходящую в буровую скважину, в результате чего между бурильной колонной и стенкой буровой скважины образуется кольцевое пространство, содержащее основную массу бурового раствора. Бурильная колонна в основном имеет продольный проход для закачивания бурового раствора в кольцевое пространство. Одной из целей содержания бурового раствора в кольцевом пространстве является регулирование давления у стенки буровой скважины, которое обычно поддерживается между допустимым верхним пределом в зависимости от давления, при котором происходит растрескивание породы от закачки бурового раствора, и допустимым нижним пределом, в зависимости от порового давления текучей среды в пласте. Давление бурового раствора в кольцевом пространстве определяется гидростатическим весом колонны бурового раствора в кольцевом пространстве и составляющей динамического давления, которое зависит от гидравлического сопротивления бурового раствора в кольцевом пространстве, когда буровой раствор течет назад со дна буровой скважины на поверхность. Давление обычно регулируется применением взвешивающего материала в буровом растворе.
В предшествующем уровне техники практиковалось бурение буровых скважин при давлении в скважине, близком к нижнему пределу, что снижает опасность разрушения породы. Такие технологии называют бурением при сбалансированных изменениях гидродинамического давления в скважине и при сниженном гидравлическом давлении в скважине, для чего применяются более легкие буровые растворы, чем обычно. При подъеме бурильной колонны из буровой скважины или опускании бурильной колонны в буровую скважину отдельные секции бурильной колонны отсоединяют одну от другой, чтобы буровой раствор больше не закачивался через бурильную колонну в кольцевое пространство. Во время такого подъема или опускания бурильной колонны возникает проблема, которая заключается в том, что составляющая динамического давления исчезает, поскольку буровой раствор больше не течет со дна скважины на поверхность. В результате давление бурового раствора в кольцевом пространстве может стать ниже допустимого нижнего предела, что может привести к нежелательному притоку в буровую скважину текучей среды из пласта.
В Европейском патенте 289673 раскрыта бурильная система для бурения скважины в пласте, которая содержит бурильную колонну, проходящую в буровую скважину, в результате чего между бурильной колонной и стенкой буровой скважины образуется кольцевое пространство, содержащее основную массу бурового раствора. Бурильная колонна включает продольный проход для бурового раствора, имеющий выпускное отверстие в нижней концевой части бурильной колонны, насосное средство для избирательного закачивания бурового раствора через проход и выпускное отверстие в основную массу бурового раствора, и выпускную трубу для бурового раствора, предназначенную для слива бурового раствора из основной массы бурового раствора. Бурильная система также содержит средство регулирования давления для регулирования давления бурового раствора в основной массе бурового раствора. Это средство содержит кольцевой аккумулятор, снабженный резервуаром, имеющим внутреннюю гибкую диафрагму, которая отделяет буровой раствор от находящегося под давлением газа, и насос, обеспечивающий сжатие газа в резервуаре и в результате приложение давление к буровому раствору, когда это необходимо.
Техническим результатом настоящего изобретения является создание бурильной системы, которая может надежно использоваться без опасности нежелательного притока в буровую скважину текучей среды из пласта, даже в условиях сбалансированных изменений гидравлического давления в скважине и при пониженном гидравлическом давлении.
Этот технический результат достигается тем, что бурильная система для бурения скважины в пласте содержит бурильную колонну, проходящую в буровую скважину, в результате чего между бурильной колонной и стенкой буровой скважины образуется кольцевое пространство, содержащее основную массу бурового раствора, при этом бурильная колонна включает продольный проход для бурового раствора, имеющий выпускное отверстие в нижней концевой части бурильной колонны, насосное средство для избирательного закачивания бурового раствора через проход и выпускное отверстие в основную массу бурового раствора, и выпускную трубу для бурового раствора, предназначенную для слива бурового раствора из основной массы бурового раствора, при этом бурильная система также содержит средство регулирования давления для регулирования давления бурового раствора в основной массе бурового раствора, содержащее насос. Согласно изобретению насос имеет выпускное отверстие для бурового раствора, сообщенное с основной массой бурового раствора через выпускную трубу для бурового раствора.
Используемым насосом может быть поршневой насос, например типа Moineau, или непоршневой насос, как например, центробежный насос или насос, который впрыскивает буровой раствор в выпускную трубу для слива бурового раствора в направлении вверх по движению потока.
Средство регулирования давления бурового раствора может содержать средство для регулирования гидравлического сопротивления в выпускной трубе для бурового средства.
Приведением средства регулирования давления в действие, когда насосное средство не работает, например, при подъеме или спуске бурильной колонны, можно достигнуть увеличения давления бурового раствора в кольцевом пространстве до предела, превышающего допустимый нижний предел давления.
Насос может быть снабжен средством для регулирования производительности насоса.
Выпускная труба для бурового раствора может быть снабжена впрыскивающим соплом, сообщающимся с выпускным отверстием для бурового раствора насоса и предназначенным для впрыскивания струи впрыскиваемого бурового раствора в выпускную трубу для бурового раствора в направлении, противоположном направлению потока бурового раствора, проходящего через выпускную трубу.
Выпускная труба для бурового раствора может быть снабжена регулируемым клапаном для регулирования гидравлического сопротивления бурового раствора, проходящего через выпускную трубу для бурового раствора.
Выпускная труба для бурового раствора может быть снабжена соединительным патрубком для выпускного отверстия насоса для бурового раствора, при этом соединительный патрубок расположен между кольцевым пространством и клапаном.
Средство регулирования давления бурового раствора может включать обратный клапан, предназначенный для предотвращения прохождения бурового раствора из основной массы бурового раствора в продольный проход для бурового раствора бурильной колонны.
Обратный клапан может быть расположен в бурильной колонне, предпочтительно в нижней части бурильной колонны.
Бурильная колонна может включать нижнюю секцию и верхнюю секцию, соединенные между собой отсоединяемым средством соединительного замка, при этом когда соединительный замок отсоединен, открытый верхний конец нижней секции бурильной колонны приспособлен сообщаться с впускной трубой для подачи бурового раствора в основную массу бурового раствора через нижнюю секцию бурильной колонны.
Впускная труба может выходить в камеру для бурового раствора, имеющую нижнее отверстие, через которое герметично проходит нижняя секция бурильной колонны, и в результате этого открытый верхний конец нижней секции бурильной колонны располагается внутри камеры для бурового раствора.
Насосное средство может быть выполнено в виде первичного насоса, и впускная труба сообщена с первичным или вторичным насосом для подачи бурового раствора в основную массу бурового раствора через нижнюю секцию бурильной колонны.
Камера для бурового раствора может быть снабжена верхним отверстием, через которое герметично проходит верхняя секция бурильной колонны.
Камера для бурового раствора может включать нижнюю часть и верхнюю часть, герметично перекрываемую от нижней части удаляемыми средствами уплотнения, при этом, когда соединительный замок отсоединен, открытый верхний конец нижней секции бурильной колонны располагается в нижней части камеры для бурового раствора, и открытый нижний конец верхней секции бурильной колонны располагается в верхней части камеры для бурового раствора.
Изобретение далее будет описано более подробно и с помощью примера со ссылкой на сопутствующие чертежи, на которых изображено следующее:
фиг.1 схематически изображает первый вариант реализации бурильной системы согласно изобретению;
фиг.2 схематически изображает второй вариант реализации бурильной системы согласно изобретению.
На фигурах одинаковые цифровые позиции относятся к одинаковым элементам.
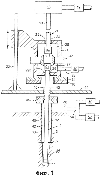
На фиг.1 показана бурильная колонна 1, проходящая в буровую скважину 3, образованную в пласте 5, и снабженная буровой головкой 7 и устройством забоя скважины (на чертеже не показано). Бурильная колонна 1 выполнена из множества сочленений бурильной колонны, вследствие чего каждая пара прилегающих сочленений соединена между собой отсоединяемым соединительным зажимом. Для ясности показан только один из соединительных замков 9а, 9b, расположенных в самом верху, который соединяет самое верхнее сочленение с остальной бурильной колонной 1 (показан в отсоединенном виде). В последующем описании верхнее сочленение бурильной колонны называется верхней секцией 10 бурильной колонны, а остальная часть бурильной колонны 1 называется нижней секцией 12 бурильной колонны. Нижняя секция 12 бурильной колонны удерживается на полу 14 буровой установки (не показана) приводными клиновыми захватами 16 для бурильных и обсадных труб. Верхняя секция 10 бурильной колонны удерживается верхним приводным блоком 18, способным поддерживать всю бурильную колонну 1, и который снабжен приводной системой (не показана) для вращения бурильной колонны 1 во время бурения. Первичный насос 19 сообщается с верхней секцией бурильной колонны для накачки бурового раствора через бурильную колонну 1, когда соединительный замок 9а, 9b находится в режиме соединения.
Камера 20 для бурового раствора установлена на опорной колонне 22, расположенной на полу 14 буровой установки, таким образом, что камера 20 для бурового раствора может перемещаться вверх или вниз вдоль колонны 22, и имеется средство (на чертеже не показано) для управления этим перемещением. Верхняя секция 10 бурильной колонны проходит в камеру 20 для бурового раствора через верхнее отверстие 24 камеры 20, так что открытый нижний конец верхней секции 10 бурильной колонны находится в верхней части 25 камеры 20. Нижняя секция 12 бурильной колонны проходит в камеру 20 через ее нижнее отверстие 26, так что открытый верхний конец нижней секции 12 бурильной колонны находится в нижней части 27 камеры 20. Как верхнее отверстие 24, так и нижнее отверстие 26 имеют достаточно большой диаметр для прохождения через них соединительных зажимов бурильной колонны (которые обычно имеют немного больший диаметр, чем секции бурильной колонны). Кроме того, верхнее и нижнее отверстия 24, 26 снабжены уплотнениями 29а, 29b, которые регулируются таким образом, чтобы они могли смещаться в радиальном направлении внутрь, и таким образом образовывать герметичное уплотнение с соответствующей верхней и нижней секцией 10, 12 бурильной колонны. Нижняя часть 27 камеры 20 снабжена впускной трубой 28 для бурового раствора, сообщенной со вторичным насосом 30 для закачки бурового раствора через нижнюю секцию 12 бурильной колонны, когда соединительный зажим 9а, 9b находится в режиме отсоединения.
Верхняя часть 25 и нижняя часть 27 камеры 20 для бурового раствора избирательно герметизируются одна от другой перегораживающим средством в виде клапана 32. Регулирующее устройство (на чертеже не показано) открывает или закрывает клапан 32, с помощью которого в открытом положении клапан 32 открывает проход для бурильной колонны 1 через клапан 32. Кроме того, в открытом положении клапана 32 верхняя часть 25 и нижняя часть 27 камеры 20 для бурового раствора сообщаются одна с другой для прохода бурового раствора. На нижней стороне камеры 20 для бурового раствора закреплена пара приводных шпунтов 34, 36 для соединения и отсоединения соединительного замка 9а, 9b.
Между нижней секцией 12 бурильной колонны с одной стороны и стенкой 39 буровой скважины и обсадной колонной 42 буровой скважины с другой стороны образуется кольцевое пространство 38, которое заполнено основной массой бурового раствора 40. Кольцевое пространство 38 в своем верхнем конце герметично перекрывается поворотным противовыбросовым устройством 46, обеспечивающим возможность вращения и вертикального перемещения бурильной колонны 1. Выпускная труба 48 для слива бурового раствора расположена в верхнем конце кольцевого пространства 38 и выходит в резервуар для бурового раствора (на чертеже не показан) через регулируемый выпускной клапан 50. Третичный насос 52 расположен параллельно клапану 50, при этом насос 52 сообщается с выпускной трубой 48 в соединительном патрубке 54, расположенном между клапаном 50 и поворотным противовыбросовым устройством 46. Насос 52 работает, чтобы откачивать буровой раствор из резервуара для бурового раствора (не показан) кольцевое пространство 38. Нижняя часть бурильной колонны 1 снабжена средством для регулирования потока бурового раствора из основной массы бурового раствора 40 в бурильную колонну 1, которое выполнено в виде обратного клапана (на чертеже не показан), который предотвращает такой обратный поток.
Во время нормальной работы бурильная колонна 1 поворачивается верхним приводным блоком 18 для дальнейшего бурения буровой скважины 3, для чего соединительный замок 9а, 9b находится в режиме соединения. Струя бурового раствора закачивается первичным насосом 19 через бурильную колонну 1 и буровую головку 7 в кольцевое пространство 38, где обломки выбуренной породы увлекаются в струю. Струя затем течет в направлении вверх через кольцевое пространство и через выпускную трубу 48 и клапан 50 в резервуар для бурового раствора. Давление бурового раствора в кольцевом пространстве 38 регулируется путем регулирования скорости нагнетания насоса 19 и/или регулированием выпускного клапана 50.
Когда требуется удалить бурильную колонну из буровой скважины 3, отдельные сочленения бурильной колонны должны быть отсоединены и убраны из бурильной колонны 1 по очереди. Это осуществляется путем отсоединения и удаления самого верхнего сочленения перемещением бурильной колонны 1 вверх в положение, в котором сочленение, которое теперь является самым верхним, может быть удалено и т.д. Для удаления самого верхнего сочленения (например, секции 10 бурильной колонны) выполняется следующая операция. Вращение бурильной колонны 1 верхним приводным блоком 18 прекращается, в то время как буровой раствор непрерывно циркулирует через бурильную колонну под действием первичного насоса 19. Камера 20 для бурового раствора перемещается вдоль опорной колонны 22 в положение, в котором приводные шпунты 34, 36 располагаются на уровне соединительного зажима 9а, 9b, после чего шпунты 34, 36 производят разъем и частично развинчивают соединительный замок 9а, 9b. Соединительный замок 9а, 9b развинчивается клиньями для захвата бурильных и обсадных труб только до такой степени, чтобы дальнейшее развинчивание выполнялось верхним приводным блоком 18. Камера 20 для бурового раствора затем перемещается вдоль опорной колонны 22 таким образом, чтобы соединительный замок 9а, 9b расположился внутри нижней части 27 камеры для бурового раствора, а герметичные уплотнения 29а, 29b перемещаются в радиальном направлении внутрь, чтобы образовать герметичное уплотнение с соответствующей верхней и нижней секцией 10, 12 бурильной колонны. Вторичный насос 30 включается в работу для создания давления в камере 20 для бурового раствора. Верхний приводной блок затем поворачивается в направлении против часовой стрелки, продолжая развинчивание соединительного замка 9а, 9b. Как только соединительный замок 9а, 9b отсоединяется, верхняя секция 10 бурильной колонны поднимается на небольшое расстояние для того, чтобы расположить верхнюю половину 9а соединительного замка в верхней части 25 камеры 20 для бурового раствора. Клапан 32 закрывается, герметично перекрывая верхнюю часть 25 камеры от нижней части 27 камеры. Одновременно с закрытием клапана 32 первичный насос 19 останавливается и приводится в действие вторичный насос 30 для закачивания бурового раствора через впускную трубу 28 для бурового раствора в нижнюю часть 27 камеры для буровой раствора и оттуда через нижнюю секцию 12 бурильной колонны в кольцевое пространство 38. Герметичное уплотнение 29а отводится назад, чтобы удалить верхнюю секцию бурильной колонны, и сочленение бурильной колонны, которое теперь стало самым верхним, соединяется с верхним приводным блоком 18. Описанная выше операция повторяется, чтобы убрать самое верхнее сочленение бурильной колонны. Непрерывной циркуляцией бурового раствора через буровую скважину 3 достигается то, что происходит нежелательное осаждение частиц (обломков выбуренной породы) в буровой скважине, и то, что давление бурового раствора в буровой скважине может регулироваться путем регулирования скорости нагнетания насоса 30 и/или регулированием выпускного клапана 50.
Вместо использования вторичного насоса 30 для накачивания бурового раствора через нижнюю секцию 12 бурильной колонны, когда соединительный замок 9а, 9b отсоединен, для этой цели может использоваться первичный насос 19, при этом первичный насос 19 соединяется с впускной трубой 28.
Описанная выше операция основана на использовании камеры 20 для бурового раствора, чтобы регулировать давление бурового раствора в буровой скважине непрерывной циркуляцией бурового раствора через бурильную колонну 1, когда верхняя секция 10 бурильной колонны отсоединена. В этом случае, если использовать камеру для бурового раствора нецелесообразно или невозможно, можно применить альтернативную операцию соединения верхней секции 10 бурильной колонны с бурильной колонной 1 или отсоединения верхней секции 10 от бурильной колонны 1. В альтернативной операции, которая может применяться при отсутствии камеры для бурового раствора, в работу включается третичный насос 52, чтобы накачивать буровой раствор через контур, образованный насосом 52, соединительным патрубком 54 и выпускным клапаном 50. Регулируя производительность насоса 52 и/или регулируя выпускной клапан 50, можно регулировать давление бурового раствора в кольцевом пространстве. Обратный клапан в бурильной колонне 1 предотвращает прохождение бурового раствора из кольцевого пространства 38 в бурильную колонну 1. Альтернативная операция может использоваться, например, в случае, если стабилизаторы бурильной колонны препятствуют прохождению бурильной колонны через камеру для бурового раствора.
Преимущество непрерывной циркуляции бурового раствора через бурильную колонну 1 с использованием камеры 20 для бурового раствора, когда отсоединяются верхние сочленения бурильной колонны, заключается в том, что буровой раствор в открытой части буровой скважины 3 течет непрерывно, в результате чего предотвращается нежелательное осаждение частиц в буровой скважине. Однако, как только бурильная колонна поднимается на уровень, когда буровая головка 7 располагается внутри корпуса 42, буровой раствор, закачиваемый через бурильную колонну 1, возвращается из головки 7 через кольцевое пространство 38 на поверхность, таким образом постоянно оставляя буровой раствор в открытой части скважины 3. Поэтому предпочтительно, что, как только буровая головка 7 размещается внутри обсадной колонны 42, накачивание бурового раствора вторичным насосом 30 прекращается и начинается работа третичного насоса 52, чтобы регулировать давление бурового раствора в буровой скважине. Эта операция имеет то преимущество, что устраняется потребность в камере 20 для бурового раствора, и ее можно удалить из бурильной колонны.
Второй вариант реализации, показанный на фиг.2, отличается от первого варианта реализации тем, что вместо клапана 50, насоса 52 и соединительного патрубка 54 выпускная труба 48 для слива бурового раствора снабжено впрыскивающим соплом 60, предназначенным для впрыскивания струи бурового раствора в выпускную трубу для слива бурового раствора в направлении, противоположном нормальному направлению потока бурового раствора через спускную трубу. Впрыскивающий насос 62 предназначен для закачивания впрыскиваемого бурового раствора через впрыскивающее сопло 60 в выпускную трубу 48 для слива бурового раствора.
Нормальная работа системы согласно второму варианту реализации изобретения подобна нормальной работе системы первого варианта реализации за исключением того, что теперь приводится в действие впрыскивающий насос 62 для впрыскивания газа или жидкости с регулируемой скоростью через впрыскивающее сопло 60 в выпускную трубу 48 для слива бурового раствора в направлении, противоположном нормальному направлению потока бурового раствора, проходящему через выпускную трубу 48. В результате регулируется гидравлическое сопротивление бурового раствора в выпускной трубе 48 для слива бурового раствора, а также, следовательно, давление бурового раствора в кольцевом пространстве 38.
Формула изобретения
1. Бурильная система для бурения скважины в пласте, содержащая бурильную колонну, проходящую в буровую скважину, в результате чего между бурильной колонной и стенкой буровой скважины образуется кольцевое пространство, содержащее основную массу бурового раствора и герметично перекрываемое на своем верхнем конце поворотным противовыбросовым устройством, при этом бурильная колонна включает продольный проход для бурового раствора, имеющий выпускное отверстие в нижней концевой части бурильной колонны, насосное средство для избирательного закачивания бурового раствора через проход и выпускное отверстие в основную массу бурового раствора, выпускную трубу для бурового раствора, предназначенную для слива бурового раствора из основной массы бурового раствора, средство регулирования давления для регулирования давления бурового раствора в основной массе бурового раствора, содержащее насос, отличающаяся тем, что насос имеет выпускное отверстие для бурового раствора, сообщенное с основной массой для бурового раствора через выпускную трубу для бурового раствора.
2. Бурильная система по п. 1, отличающаяся тем, что средство регулирования давления бурового раствора содержит средство для регулирования гидравлического сопротивления в выпускной трубе для бурового раствора.
3. Бурильная система по п.1, отличающаяся тем, что насос снабжен средством для регулирования производительности насоса.
4. Бурильная система по п. 1, отличающаяся тем, что выпускная труба для бурового раствора снабжена впрыскивающим соплом, сообщающимся с выпускным отверстием для бурового раствора насоса и предназначенным для впрыскивания струи впрыскиваемого бурового раствора в выпускную трубу для бурового раствора в направлении, противоположном направлению потока бурового раствора, проходящего через выпускную трубу.
5. Бурильная система по п. 1, отличающаяся тем, что выпускная труба для бурового раствора снабжена регулируемым клапаном для регулирования гидравлического сопротивления бурового раствора, проходящего через выпускную трубу для бурового раствора.
6. Бурильная система по п. 5, отличающаяся тем, что выпускная труба для бурового раствора снабжена соединительным патрубком для выпускного отверстия насоса для бурового раствора, при этом соединительный патрубок расположен между кольцевым пространством и клапаном.
7. Бурильная система по любому из пп. 1-6, отличающаяся тем, что средство регулирования давления бурового раствора включает обратный клапан, предназначенный для предотвращения прохождения бурового раствора из основной массы бурового раствора в продольный проход для бурового раствора бурильной колонны.
8. Бурильная система по п.7, отличающаяся тем, что обратный клапан расположен в бурильной колонне, предпочтительно в нижней части бурильной колонны.
9. Бурильная система по п.1, отличающаяся тем, что бурильная колонна включает нижнюю секцию и верхнюю секцию, соединенные между собой отсоединяемым средством соединительного замка, при этом, когда соединительный замок отсоединен, открытый верхний конец нижней секции бурильной колонны приспособлен сообщаться с впускной трубой для подачи бурового раствора в основную массу бурового раствора через нижнюю секцию бурильной колонны.
10. Бурильная система по п.9, отличающаяся тем, что впускная труба выходит в камеру для бурового раствора, имеющую нижнее отверстие, через которое герметично проходит нижняя секция бурильной колонны, и в результате этого открытый верхний конец нижней секции бурильной колонны располагается внутри камеры для бурового раствора.
11. Бурильная система по п.10, отличающаяся тем, что насосное средство выполнено в виде первичного насоса, и впускная труба сообщена с первичным или вторичным насосом для подачи бурового раствора в основную массу бурового раствора через нижнюю секцию бурильной колонны.
12. Бурильная система по п.10, отличающаяся тем, что камера для бурового раствора снабжена верхним отверстием, через которое герметично проходит верхняя секция бурильной колонны.
13. Бурильная система по любому из пп.10-12, отличающаяся тем, что камера для бурового раствора включает нижнюю часть и верхнюю часть, герметично перекрываемую от нижней части удаляемыми средствами уплотнения, при этом, когда соединительный замок отсоединен, открытый верхний конец нижней секции бурильной колонны располагается в нижней части камеры для бурового раствора, и открытый нижний конец верхней секции бурильной колонны располагается в верхней части камеры для бурового раствора.
РИСУНКИ
PC4A – Регистрация договора об уступке патента Российской Федерации на изобретение
(73) Патентообладатель(и):
ШЕЛЛ ИНТЕРНЭШНЛ РИСЕРЧ МААТСХАППИЙ Б.В. (NL)
(73) Патентообладатель:
@БЭЛАНС Б.В. (NL)
Дата и номер государственной регистрации перехода исключительного права: 28.04.2009 № РД0049622
Извещение опубликовано: 10.06.2009 БИ: 16/2009
|
|