|
|
(21), (22) Заявка: 2002103335/11, 04.07.2000
(24) Дата начала отсчета срока действия патента:
04.07.2000
(30) Конвенционный приоритет:
09.07.1999 (пп.1-23) EP 99202260.8
(43) Дата публикации заявки: 27.10.2003
(45) Опубликовано: 10.02.2005
(56) Список документов, цитированных в отчете о поиске:
ЕР 0904958 А, 31.03.1999. JP 55152612 А, 28.11.1980. ЕР 0698510 А, 28.02.1996. SU 1131681 A, 30.12.1984.
(85) Дата перевода заявки PCT на национальную фазу:
11.02.2002
(86) Заявка PCT:
EP 00/06357 (04.07.2000)
(87) Публикация PCT:
WO 01/03954 (18.01.2001)
Адрес для переписки:
129010, Москва, ул. Б.Спасская, 25, стр.3, ООО “Юридическая фирма Городисский и Партнеры”, пат.пов. Г.Б. Егоровой
|
(72) Автор(ы):
НАМИАС НАННИ Марко (IT), СЕРРА Антонио (IT), БРУНАЧЧИ Антонио (LU)
(73) Патентообладатель(и):
ПИРЕЛЛИ ПНЕУМАТИЧИ СПА (IT)
|
(54) ШИНА С ВЫСОКИМИ ЭКСПЛУАТАЦИОННЫМИ КАЧЕСТВАМИ, С ПРОТЕКТОРНЫМ ПОЯСОМ, ИМЕЮЩИМ АНИЗОТРОПНЫЙ ПОДСЛОЙ, СТАБИЛЬНЫЙ ПРИ ИЗМЕНЕНИИ ТЕМПЕРАТУРЫ
(57) Реферат:
Изобретение относится к автомобильному транспорту. Шина имеет конструкцию, состоящую из радиального каркаса с расположенными на нем в месте, более приближенном к внешней поверхности, одним или несколькими брекерными слоями и усиливающим слоем с нейлоновым кордом, намотанным по спирали вокруг брекера. Предпочтительно, чтобы протекторный пояс шины был образован подслоем и наружным слоем, расположенными один на другом, при этом первый слой имеет характеристики упругости и/или твердости, которые остаются по существу неизменными между 20 и 110°С. В результате повышаются эксплуатационные качества шины. 2 н. и 21 з.п. ф-лы, 2 ил., 4 табл.

Настоящее изобретение относится к шинам с высокими эксплуатационными качествами, например, к шинам, предназначенным для автомобилей большой мощности, или в более общем виде к шинам, предназначенным для применения при высоких эксплуатационных скоростях.
Эти шины, обычно именуемые шинами с высокими эксплуатационными качествами и с очень высокими эксплуатационными качествами, в частности, относятся к классам “V” и “Z”, которые соответственно предназначены для максимальных скоростей свыше 210 и 240 км/ч, при которых эксплуатационные качества несомненно представляют собой наиболее важные характеристики.
Эти качества зависят как от коэффициента трения (или сцепления), так и от реакции на поперечные напряжения шины во время качения по поверхности дороги.
Обычно коэффициент трения зависит от свойств композиции, использованной для изготовления протектора, тогда как реакция на поперечное напряжение и на центробежные силы зависит от конструкции шины; по этим причинам существуют конструкции, рассчитанные на компенсацию систем сил, которым подвергаются шины с высокими эксплуатационными качествами и с очень высокими эксплутационными качествами.
В одной из таких конструкций предусмотрен так называемый “0°-слой”, т.е. слой резины, армированной кордными нитями, которые обычно способны давать усадку при нагревании, например изготовленными из найлона, намотанными вокруг брокера шины по спирали в направлении вдоль окружности.
Угол намотки кордных нитей по отношению к медианной (или экваториальной) плоскости шины довольно небольшой, и по этой причине слой, в котором они расположены, называют 0°-слоем; поверх этого слоя расположен протекторный пояс.
Из патента Канады №1228282 (Bridgestone) и из Европейского патента №592218 (Sumitomo) известен протекторный пояс, который обычно известен как структура “покрытие и основание”, то есть состоящая из двух слоев, расположенных по окружности один поверх другого, при этом самый внутренний по радиусу слой образует “основание”, или подслой, тогда как другой, самый удаленный, образует “покрытие” и является слоем, который предназначен для качения по дороге.
В частности, в первом из этих документов для улучшения характеристики управления при высоких скоростях предложено сочетать подслой с наружным покрытием, имеющим высокое сцепление и заданное отношение модуля упругости покрытия к модулю упругости подслоя.
С другой стороны, в Европейском патенте №592218 предложено вводить армирующие волокна в композицию подслоя и ориентировать их определенным образом с тем, чтобы получить анизотропную характеристику подслоя с различными модулями упругости соответственно в направлении вдоль окружности и в поперечном направлении по отношению к шине.
В этом случае можно получить шину с хорошей устойчивостью во время поворотов, с высоким уровнем комфорта во время движения, а также с низким сопротивлением качению.
Кроме того, в Европейской патентной заявке №494158 раскрыта шина с протекторным поясом, имеющим структуру типа покрытие и основание; в этом случае слой резины армирован короткими волокнами, имеющими в поперечном сечении форму “море-остров” и образованными из по меньшей мере двух полимеров.
Наконец, из Европейской патентной заявки №691218, опубликованной в 1996 г., известно, что можно изготовить шины со свойствами, которые по существу эквивалентны свойствам шин с усиливающим слоем, состоящим из найлоновых кордных нитей, расположенным под углом 0°, путем создания вместо последнего подслоя протектора, армированного волокнами с определенными размерами и прочностью.
Эти волокна образованы из таких материалов, как полиамиды (в частности, ароматические полиамиды для краткости называют “арамидами”), полиэфиры или полиолефины, использование которых при изготовлении шин уже известно из уровня техники.
Например, что касается арамидных волокон, то их использование в шинной отрасли показано в патенте США № 4871004, который включен в настоящую заявку посредством ссылки.
Одна из причин, объясняющая использование вышеупомянутых волокон, вытекает из того, что они, как правило, позволяют получить высокую конструктивную устойчивость при пониженной массе.
Однако имеются некоторые технические особенности, которые необходимо учитывать при использовании рассматриваемых волокон.
В самом деле, использование их вместо материалов традиционного типа, применяемых при изготовлении шин или в сочетании с ними, относится к области, которая в настоящее время еще не исследована полностью; поэтому важно иметь возможность оптимизировать использование волокон, чтобы получить нужные характеристики шин.
Шины с высокими эксплуатационными качествами и с очень высокими эксплуатационными качествами, известные в настоящее время, не являются полностью приемлемыми с точки зрения их характеристик при высокой скорости и в течение продолжительной эксплуатации; в настоящем изобретении предложено решение этой проблемы путем создания шины с высокими эксплуатационными качествами, имеющей конструктивные и эксплуатационные характеристики, которые остаются по существу неизменными во время различных условий использования.
Изобретение возникло из осознания заявителем того, что высокие значения модуля упругости и/или твердости материала подслоя, как альтернатива друг другу или в сочетании друг с другом, должны гарантироваться и при высоких скоростях, указанных выше, и, в частности, не должны ухудшаться с повышением температуры вследствие продолжительного использования при высокой скорости, и осознания того, что эту задачу можно решить, используя вышеупомянутые волокна.
В частности, заявитель обнаружил, что задачу можно решить, используя шину, в которой на усиливающий слой с кордом под углом 0° наложен протекторный пояс со структурой типа “покрытие и основание”, подслой которого имеет значения твердости и/или упругости, которые в значительной степени стабильны между 23 и 100°С.
Фактически, вследствие этих особенностей, гарантируется неизменность эксплуатационных качеств шины при высоких эксплуатационных скоростях, которые могут быть причиной существенного повышения температуры протектора.
В соответствии с одной из нескольких характерных особенностей изобретение относится к шине, в которой твердость подслоя протектора между 23 и 100°С не изменяется больше чем на 5 единиц по международной шкале степени твердости резины (МШСТР); предпочтительно, чтобы это изменение не превышало 3 единиц, а лучше – 1 единицы по МШСТР.
В соответствии с другой, более характерной особенностью изобретения протекторный пояс шины имеет подслой с динамическим модулем (Е’) упругости, который между 70 и 100°С не изменяется больше чем на 10%, а предпочтительно, чтобы он изменялся меньше чем на 5%.
В соответствии с предпочтительным вариантом осуществления изобретения подслой также имеет высокие отношения (свыше 4) жесткости в направлении движения (т.е. в направлении вдоль окружности) к жесткости в перпендикулярном направлении; это означает, что он имеет анизотропную характеристику.
Свойства подслоя протектора, указанные выше, можно получить, используя композицию, армированную волокнами в количестве предпочтительно в пределах между 3 и 10 частями на 100 частей каучука), а еще более предпочтительно – в количестве между 6 и 9 частями на 100 частей каучука, в сочетании с отверждающимися смолами; при этом предпочтительно, чтобы последние были основаны на резорциноле и донорах метилена.
Эти смолы могут быть в виде двух компонентов или в предварительно загущенном виде, при этом предпочтительные доноры метилена включают гексаметоксиметиленмеламин или гексаметилентетрамин; однако заявитель обнаружил, что можно использовать другие доноры метилена и отверждающиеся смолы других типов.
Эти и дополнительные особенности изобретения станут более понятными из подробного описания предпочтительных, но не исключительных вариантов его осуществления, которые представлены ниже со ссылками на сопроводительные чертежи, на которых:
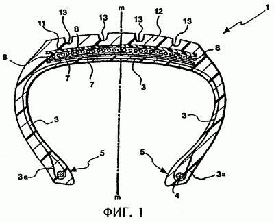
фиг.1 – разрез шины согласно изобретению; и
фиг.2 – местный разрез протектора шины из предшествующей фигуры.
На чертежах ссылочным номером 1 обозначена шина согласно изобретению.
Эта шина содержит каркас, выполненный в виде по меньшей мере одного слоя 3, при этом его концы За связаны с соответствующими сердечниками 4 (обычно известными в качестве проволочных сердечников бортов), каждый из которых встроен в борт 5, продолжающийся по круговому краю шины; сердечник или проволочный сердечник 4 борта может быть выполнен любым способом, известным из уровня техники, например с использованием металлических прутков или кордных нитей.
Предполагается, что борта 5 опираются на край обода, не показанного на чертежах, на котором устанавливают шину 1.
Вокруг каркаса по окружности наложены один или несколько брекерных слоев 7, обычно выполненные с использованием сетки из металлических нитей или кордных нитей, заделанных в резиновый лист и расположенных параллельно друг другу в слое и поперек нитей прилегающего слоя.
Над брокером 7 находится 0°-слой, в котором корд 8, например, изготовленный из найлона, намотан по спирали соосно шине; как обычно, угол намотки корда 8 по отношению к медианной плоскости m-m шины небольшой, и указанный корд также заделан в слой резины, как это обычно делают в уровне техники (используя так называемые “ленты” или иные решения).
Кроме того, шина 1 имеет протекторный пояс 10, который расположен на большем удалении от центра вокруг 0°-слоя; точнее этот протекторный пояс типа “покрытие и основание” образован подслоем 11 и наружным слоем 12, на котором обычным способом создают рисунок протектора, содержащий углубления, или канавки 13, которые задают многочисленные пазы и блоки.
Как можно видеть на чертежах, в этом случае подслой 11 протектора 10 имеет равномерную толщину; предпочтительно эта толщина больше 1 мм и еще более предпочтительно, чтобы она находилась между 1,5 и 2 мм.
Однако следует отметить, что толщина подслоя 11 во всех случаях может не быть равномерной, а, например, большей вблизи наружных краев (см. разрезы, показанные на фиг.1 и 2) и/или в центральной зоне.
Наружный слой 12 протекторного пояса должен иметь толщину, по меньшей мере равную, а предпочтительно большую, чем глубина канавок 13 (обычно 7-8 мм в автомобильных шинах), с тем, чтобы подслой не мог соприкасаться с дорогой, когда наружный слой изношен.
Предпочтительно основу композиции, из которой изготавливают подслой 11, составляет натуральный каучук, предпочтительно, чтобы он был армирован арамидными волокнами, в этом случае изготовленными из Kevlar®, производимого компанией Du Pont de Nemour; в настоящем примере эти волокна имеют конфигурацию основного ствола, имеющего диаметр D, равный примерно 10 мкм, и длину L примерно 200 мкм, от которого отходят небольшие ответвления или фибриллы.
В этом случае фибриллы имеют отношение L/D размеров порядка 20.
В частности, используют материал, в котором вышеупомянутые волокна (обычно известные как “суспензия Kevlar®”) рассеяны в природном каучуке, в результате чего получается “наполненный каучук”, поставляемый компанией Du Font под торговым названием Kevlartex®, имеющий состав: 23% Kevlar® и 77% природного каучука.
Использование наполненного каучука вместо одних волокон является предпочтительным, поскольку его можно более эффективно смешивать и распределять в эластомерной композиции, которую используют для изготовления подслоя 11.
Состав композиции для подслоя подробно показан в таблице 1, в которой для различных компонентов указаны общепринятые торговые названия и сокращенные химические наименования.
Например, аббревиатура ЭП-БСК (E-SBR) с последующим числом условно используется для обозначения типа синтетического каучука эмульсионной полимеризации, “бутадиен-стирольного каучука” (БСК), в соответствии с известными международными стандартами (обычно Американского общества по испытанию материалов или Международной организации по стандартизации) или аббревиатура, состоящая из буквы N с последующим числом указывает на тип углеродной сажи в соответствии с системой условных обозначений Американского общества по испытанию материалов.
Численные значения, указанные в таблице 1, относятся к содержанию относительно каучука (на 100 частей каучука) и всей композиции; на всякий случай нужно отметить, что использованная композиция содержит 39 частей Kevlartex® на 100 частей каучука, и с учетом состава этого наполненного каучука это означает, что по существу 39 частей на 100 частей каучука состоят из 30 частей натурального каучука (НК) на 100 частей каучука и 9 частей арамидных волокон на 100 частей каучука.
| Таблица 1 |
| Состав композиции для подслоя |
| Ингредиент |
Вид |
На 100 частей каучука |
% |
| НК |
Натуральный каучук |
30,0 |
14,45 |
| ЭП-БСК 1712 |
23% связующего стирола, разбавленного маслом |
55,0 |
26,49 |
| Углеродная сажа |
Семейства N300 |
60,0 |
28,90 |
| Оксид цинка |
ZnO |
8,00 |
3,85 |
| Crystex® ОТ 33 |
67% нерастворенной серы (масляной) |
5,25 |
2,53 |
| Cyrez® 963 (отверждающаяся смола) |
Гексаметоксиметиленмеламин с наполнителем: 65% диоксида кремния |
5,00 |
2,41 |
| Rhenogran Resorcinol® 80 (отверждающаяся смола) |
С наполнителем: 80% полимера |
1,88 |
0,91 |
| ДЦВС (ускоритель) |
N,N’-дициклобензотиазол-сульфамид |
1,50 |
0,72 |
| 6 ПФД (антиокислитель) |
Парафенилендиамид |
2,00 |
0,96 |
| Kevlartex® |
23% Kevlar®, 77% НК |
39,0 |
18,78 |
| Всего |
207,63 |
100 |
Crystex® ОТ 33 поставляется компанией FLEXIS, Cyrez® 963 компанией CYTEC и Rhenogran Resorcinol® 80 компанией RHEIN-CHEMIE.
Как можно видеть из таблицы, в этом примере отверждающиеся смолы, основанные на резорциноле и донорах метилена (в частности, на гексаметоксиметиленмеламине), использованы в виде двух компонентов.
В дополнение к гексаметоксиметиленмеламину предпочтительные доноры метилена включают гексаметилентетрамин; однако можно использовать другие доноры, а отверждающиеся смолы могут быть также в предварительно загущенном виде.
В качестве альтернативы указанным выше смолам можно использовать другие отверждающиеся смолы, например смолы на основе эпоксидов-полиолов, эпоксидов-диаминов, эпоксидов и дикарбоновых кислот, или смолы, полученные при реакции спирта с двухосновной кислотой (алкидные смолы).
Эти смолы можно использовать как в предварительно загущенном виде, так и в виде двух компонентов.
Исходя из общих соображений, можно утверждать, что количество отверждающихся смол в композиции для подслоя можно оптимизировать в зависимости от механических свойств (модуля упругости, твердости и т.д.), которые необходимо получить.
Поэтому при использовании в настоящем изобретении смол на основе резорцинола и доноров метилена предпочтительно использовать предварительно загущенную смолу в количестве, большем чем 0,5 частей на 100 частей каучука. Однако в случае двухкомпонентных систем предпочтительно иметь резорцинол в количестве, большем чем 0,5 частей на 100 частей каучука, и донор метилена (типа гексаметоксиметиленмеламина), который находится к нему в отношении между 0,5 и 3.
Подслой 11, получаемый при использовании композиции согласно изобретению, можно изготовить путем совместного шприцевания с наружным слоем 12 или его можно изготовить отдельно, а слои объединить впоследствии; однако совместное шприцевание может быть предпочтительным в случае изготовления подслоев ограниченной толщины и при необходимости формирования их профилей сложной формы.
Материал из композиции, указанной в приведенной выше таблице, подвергали последовательным механическим испытаниям для определения значений некоторых его характеристик, включая твердость и упругость; результаты этих испытаний показаны ниже в таблице 2.
Что касается твердости, то испытания проводили в соответствии со стандартом 1415 Американского общества по испытанию материалов, а что касается упругости, то смысл испытаний состоял в измерении динамического модуля Е’ упругости на цилиндрических опытных образцах с диаметром 12 мм и длиной 25 мм.
В частности, эти опытные образцы создавали сворачиванием полосок шириной, несколько большей чем 25 мм (т.е. высотой опытных образцов), полученных каландрированием и разрезанием полосок толщиной 1 мм в направлении ориентации волокон внутри них; при последующем сворачивании полосок волокна располагались в направлении вдоль окружности по отношению к цилиндру, образованному опытным образцом.
Здесь нужно напомнить, что операции каландрирования и экструдирования композиции создают эффект ориентации волокон, включенных в композицию, вдоль соответствующих направлений, относительно которых их осуществляют.
Затем опытные образцы вулканизировали в течение 30 мин при 151°С и подвергали динамическим испытаниям на (синусоидальной) частоте 100 Гц, прикладывая сначала предварительное напряжение, составляющее 10%, а потом истинное динамическое напряжение, равное 0,033; этот последний параметр характеризует деформацию в зависимости от длины предварительно деформированного опытного образца.
При испытаниях приняты во внимание дополнительные параметры; соответствующие результаты показаны в таблице 2, включая нагрузку при 10%-ном относительном удлинении в направлении каландрирования (M1) и в направлении поперек направления каландрирования (М2).
Такие значения нагрузок были получены в соответствии со стандартом 412 Американского общества по испытанию материалов при воздействии тягового усилия на традиционные опытные образцы Данбелла; они обеспечивают оценку сопротивления деформированию подслоя во взаимно перпендикулярных направлениях. Отношение М1/М2, показанное в таблице, характеризует показатель анизотропии подслоя из-за присутствия ориентированных волокон.
Наконец, для более полной оценки характеристик этих образцов изобретения в таблице 2 также показаны результаты сравнительных экспериментов, осуществленных на образцах из композиций согласно уже упомянутым Европейскому патенту №592218 (Sumitomo Rubber Industries) и патенту Канады №1228282 (Bridgestone).
| Таблица 2 |
| Испытания |
Изобретение |
Пример 2 |
Пример 3 |
| Оценка по МШСТР при 23°С |
90 |
89 |
77,5 |
| Оценка по МШСТР при 100°С |
89 |
83 |
67,4 |
| Нагрузка M1 при 10%-ном удлинении в направлении каландрирования (МПа) |
11,77 |
11,62 |
2,5 |
| Нагрузка М2 при 10%-ном удлинении поперек направления каландрирования (МПа) |
1,23 |
1,5 |
2,05 |
| М1/М2 |
9,6 |
7,75 |
1,22 |
| Е’ при 23°С (МПа) |
36,71 |
34,91 |
11,42 |
| Е’ при 70°С (МПа) |
33,18 |
20,32 |
7,16 |
| Е’ при 100°С (МПа) |
33,15 |
16,67 |
5,7 |
Из таблицы 2 видно, что материал согласно изобретению является гораздо более стабильным при изменении температуры (термоустойчивым), чем материалы из примеров 2 и 3.
В частности, твердость весьма стабильна между 23 и 100°С (в пределах от 90 до 89 единиц по международной шкале степени твердости резины); как правило, в любом случае изменение твердости в вышеуказанном температурном диапазоне не должно превышать 5 единиц по международной шкале степени твердости резины (МШСТР).
В соответствии с изобретением предпочтительно, чтобы твердость подслоя в абсолютных значениях была больше твердости наружного слоя протекторного пояса; точнее, предпочтительно, чтобы эта твердость была больше 80 единиц по международной шкале степени твердости резины при 100°С, и еще более предпочтительно, чтобы она была больше 85 единиц по международной шкале степени твердости резины при 100°С.
В случае изобретения модуль Е’ упругости, как и твердость, существенно не изменяется между 70 и 100°, чего нельзя сказать о материалах из примеров 2 и 3.
Предпочтительно, чтобы в указанном выше температурном диапазоне изменение модуля Е’ упругости не превышало 10%, а еще более предпочтительно, чтобы не превышало 5%.
В соответствии с изобретением предпочтительно, чтобы абсолютное значение модуля Е’ упругости подслоя было больше, чем модуля упругости наружного слоя протекторного слоя; точнее, этот модуль должен быть, что предпочтительно, больше 15 МПа при температуре 100°С, но еще более предпочтительно, чтобы он при этой температуре был больше 20 МПа.
Заявитель представляет себе, что при значениях твердости и/или модуля Е’ упругости, указанных выше, существенно улучшаются качественные характеристики шин всех известных типов независимо от характеристик наружного слоя протекторного пояса.
Наконец, из таблицы 2 можно заметить, что отношение М1/М2 для образца изобретения больше 9; как правило, это отношение должно быть больше 3.
Для большей полноты описания теперь представлены композиции для подслоя, относящиеся к примерам 2 и 3, определенные на основе описаний упомянутых выше патентов (см. табл.3).
| Таблица 3 |
| Ингредиент |
Пример 2 |
Пример 3 |
| На 100 частей каучука |
На 100 частей каучука |
| НК |
26 |
|
| ЭП-БСК 1712 |
|
137,5 |
| БСК 1500 |
20 |
|
| Углеродная сажа (N324) |
40 |
|
| Углеродная сажа (N326) |
|
90 |
| Оксид цинка |
3 |
3 |
| Сера |
1,75 |
1 |
| Ускорители |
1 |
1,8 |
| Антиокислители |
2 |
2 |
| Kevlartex® |
74 |
|
Результаты изготовления шин в соответствии с изобретением проявляются в неожиданно улучшенных характеристиках по сравнению с характеристиками других шин с высокими эксплуатационными качествами и с очень высокими эксплуатационными качествами; эти результаты, суммированные в нижеследующей таблице 4, отражают номинальные характеристики по шкале значений в пределах от -2 до +2 по отношению к отдельным параметрам поведения шин.
Эти параметры относятся к поведению во время поворотов (к излишнему поворачиванию и недостаточному поворачиванию), сцеплению с дорогой, поперечной устойчивости, отклику на смену полосы движения и постоянство характеристик; этот последний показатель относится к способности шины сохранять значения характеристик при высоких скоростях и, следовательно, при повышении температуры.
Испытания проводили при использовании шин размера 225/40 R 17, установленных на задней оси автомобиля Porsche Carrera 996.
| Таблица 4 |
| |
Изобретение |
Пример 3 |
| Управление |
2 |
1,2 |
| Сцепление с дорогой |
2 |
2 |
| Поперечная устойчивость |
2 |
1,5 |
| Смена полосы движения |
2 |
1 |
| Постоянство характеристик |
2 |
1,3 |
Как можно видеть, данные таблицы 4 подтверждают полученные выше результаты, достигаемые с помощью изобретения; действительно, при использовании шины достигаются хорошие результаты для всех рассматриваемых параметров с получением максимальных оценок во всех категориях, существенно превосходящие результаты для шины из примера 3, за исключением сцепления с дорогой.
Необходимо подчеркнуть, что такое исключение фактически дополнительно подтверждает полученные результаты.
Как известно, на самом деле сцепление шины с дорогой зависит, в частности, от материала “покрытия” протектора, а не подслоя; в данном случае, поскольку одну и ту же композицию используют для наружного слоя шины согласно изобретению и для наружного слоя шины согласно примеру 3, данные, относящиеся к сцеплению с дорогой, согласуются с ожидаемыми данными.
Поэтому это подтверждает, что улучшение показателей, достигаемое посредством шин согласно изобретению для других рассматриваемых параметров, необходимо приписать подслою 11 и композиции, из которой он изготовлен.
Наконец, важно также отметить еще одну выгодную сторону, которая характеризует композицию, из которой изготовлен подслой согласно изобретению: хорошая обрабатываемость.
Во время экспериментов было обнаружено, что избыточное количество волокон по отношению к каучуку в композиции (т.е. превышение пределов, предложенных в изобретении) может отрицательно повлиять на обрабатываемость указанной композиции и создать проблемы при последующем изготовлении протектора с подслоем.
С другой стороны, количество армирующих волокон, использованных для изобретения, способствует исключению этих отрицательных последствий, в результате чего изобретение делается очень выгодным с точки зрения промышленного производства.
Очевидно, что можно предвидеть изменения изобретения по отношению к его предпочтительному и неисключительному варианту осуществления, который описан выше.
Необходимо отметить, что использованные армирующие волокна могут отличаться от волокон типа Kevlar®, упомянутых выше; фактически можно использовать другие арамидные волокна, например волокна, известные под названием Twaron®, поставляемые компанией Akzo Nobel; кроме того, заявитель обнаружил, что можно использовать волокна на основе других полиамидов или на основе полиэфиров, полиолефинов, поливинилового спирта, найлона, стекла и т.п.
Что касается конструкции шины, то между усиливающим 0°-слоем и подслоем протектора можно ввести обычный тонкий соединительный лист, что уже известно в уровне техники.
Однако эти изменения совместно с другими находятся в рамках объема формулы изобретения.
Формула изобретения
1. Шина с высокими эксплутационными качествами, содержащая каркас, включающий, по меньшей мере, один слой (3) каркаса, брекер, наложенный по окружности на каркас, содержащий два или более слоев (7) из армирующих кордных нитей, которые параллельны друг другу в слое и поперечно направлены по отношению к кордным нитям прилегающего слоя, радиально внешний слой (8) из ориентированных вдоль окружности армирующих кордных нитей, наложенный на брекер, протекторный пояс (10), который содержит подслой (11) и наружный слой (12), отличающаяся тем, что подслой (11) изготовлен из эластомерной композиции, содержащей армирующие волокна и отверждающиеся смолы.
2. Шина по п.1, отличающаяся тем, что отверждающиеся смолы основаны на компонентах, выбранных из числа одной или нескольких следующих групп: Resorcinol®-доноры метилена, эпоксиды-дикарбоновые кислоты, эпоксиды-диамины, эпоксиды-полиолы, спирт-двухосновные кислоты.
3. Шина по п.2, отличающаяся тем, что в качестве доноров метилена использован гексаметоксиметиленмеламин или гексаметоксиметилентетрамин.
4. Шина по п.3, отличающаяся тем, что подслой (11) содержит отверждающуюся смолу на основе Resorcinol® и доноров метилена в предварительно загущенном виде в количестве, большем, чем 0,5 частей на 100 частей каучука.
5. Шина по п.3, отличающаяся тем, что композиция подслоя содержит отверждающиеся смолы на основе Resorcinol® и доноров метилена в виде двух компонентов, при этом количество Resorcinol® больше 0,5 частей на 100 частей каучука, а количество доноров метилена соответствует отношению к Resorcinol® между 0,5 и 3.
6. Шина по любому из пп.1-5, отличающаяся тем, что армирующие волокна выбраны из числа полиамидных, полиэфирных, полиолефиных, углеродных волокон, стеклянных волокон и волокон из поливинилового спирта.
7. Шина по п.6, отличающаяся тем, что в качестве армирующих волокон использованы арамидные волокна.
8. Шина по п.7, отличающаяся тем, что композиция подслоя (11) содержит арамидные волокна в количестве, находящемся в пределах от 3 до 10 частей на 100 частей каучука.
9. Шина по п.8, отличающаяся тем, что композиция подслоя (11) содержит арамидные волокна в количестве, находящемся в пределах от 6 до 9 частей на 100 частей каучука.
10. Шина по любому из пп.1-9, отличающаяся тем, что подслой (11) имеет твердость, которая не изменяется больше чем на 5 единиц по международной шкале степени твердости в температурном диапазоне между 23 и 100°С.
11. Шина по п.10, отличающаяся тем, что твердость подслоя не изменяется больше чем на 1 единицу по международной шкале степени твердости в температурном диапазоне между 23 и 100°С.
12. Шина по п.11, отличающаяся тем, что твердость подслоя (11) при 100°С больше 80 единиц по международной шкале степени твердости.
13. Шина по п.12, отличающаяся тем, что твердость подслоя (11) при 100°С больше 85 единиц по международной шкале степени твердости.
14. Шина по любому из пп.1-13, отличающаяся тем, что подслой (11) имеет модуль (Е’) упругости, который не изменяется больше чем на 10% в температурном диапазоне между 70 и 100°С.
15. Шина по п.14, отличающаяся тем, что модуль (Е’) упругости подслоя (11) не изменяется больше чем на 5% в температурном диапазоне между 70 и 100°С.
16. Шина по п.15, отличающаяся тем, что модуль (Е’) упругости подслоя (11) больше 15 МПа при 100°С.
17. Шина по п.16, отличающаяся тем, что модуль (Е’) упругости больше 20 МПа при 100°С.
18. Шина по п.1, отличающаяся тем, что подслой (11) имеет отношение нагрузки при удлинении на 10% в круговом направлении к нагрузке при удлинении на 10% в поперечном направлении, которое больше 3.
19. Шина по п.18, отличающаяся тем, что подслой (11) имеет толщину в пределах 1,5 – 2 мм.
20. Способ изготовления шины с высокими эксплуатационными качествами по любому из пп.1-19, содержащий стадии образования каркаса со слоем (3) каркаса, наложения брекера по окружности на каркас, который содержит два или более слоев (7) из армирующих кордных нитей, параллельных друг другу в слое и поперечно направленных по отношению к кордным нитям прилегающего слоя, наложения на брекер внешнего слоя из ориентированного вдоль окружности армирующего корда (8), наложения на ориентированный вдоль окружности корд (8) протекторного пояса (10), снабженного наружным слоем (12) и подслоем (11), отличающийся тем, что подслой (11) изготавливают из термоустойчивой композиции, полученной с использованием армирующих волокон и отверждающихся смол.
21. Способ по п.20, отличающийся тем, что используют отверждающиеся смолы на основе компонентов, выбранных из числа одной или нескольких следующих групп: Resorcinol®-доноры метилена, эпоксиды-дикарбоновые кислоты, эпоксиды-диамины, эпоксиды-полиолы, спирт-двухосновные кислоты, и тем, что указанные армирующие волокна выбирают из числа полиамидных, полиэфирных, полиолефиновых, углеродных волокон, стеклянных волокон и волокон из поливинилового спирта.
22. Способ по п.21, отличающийся тем, что протекторный пояс (10) получают путем совместного экструдирования наружного слоя (12) и подслоя (11).
23. Способ по п.21, отличающийся тем, что подслой (11) получают путем каландрирования.
РИСУНКИ
|
|