|
|
(21), (22) Заявка: 2002133995/03, 17.12.2002
(24) Дата начала отсчета срока действия патента:
17.12.2002
(43) Дата публикации заявки: 10.06.2004
(45) Опубликовано: 10.02.2005
(56) Список документов, цитированных в отчете о поиске:
SU 655438 А, 08.04.1979. SU 697205 А, 25.11.1979. SU 403451 А, 25.03.1974. SU 1175572 А, 30.08.1985. SU 236369 А, 16.06.1969. US 5085324 A, 04.02.1992. GB 2092917 A, 25.08.1982. GB 1585032 A, 18.02.1981.
Адрес для переписки:
162600, Вологодская обл., г. Череповец, ул. Мира, 30, ОАО “Северсталь”, Начальнику управления качества А.М. Ламухину
|
(72) Автор(ы):
Макаров К.К. (RU), Баринов С.И. (RU)
(73) Патентообладатель(и):
Открытое акционерное общество “Северсталь” (RU)
|
(54) ГРОХОТ
(57) Реферат:
Изобретение относится к виброгрохотам, применяемым для рассева горячего агломерата после спекания на агломашине. Технический результат – упрощение конструкции колосниковых плит, снижение затрат на их изготовление и ремонт грохотов, увеличение срока службы. Грохот содержит корпус, на поперечных балках которого закреплены опорные элементы колосниковых плит. Плиты изготовлены из листового материала прямоугольной формы с тремя рядами отверстий под крепежные элементы, расположенными симметрично относительно главных осей плит, и сквозными пазами, выполненными с уширением боковых стенок, угол наклона которых = 1,5-5°. Плиты закреплены на опорных элементах одна по отношению к другой внахлестку через одну поперечную балку и дополнительно закреплены посередине к опорным элементам крепежными элементами. 4 ил.

Изобретение относится к виброгрохотам, применяемым для рассева горячего агломерата после спекания на агломашине, а именно к конструкции колосникового полотна таких грохотов.
Известно колосниковое полотно виброгрохота, состоящее из колосниковых плит, установленных внахлестку и закрепленных при помощи болтов на колосниковых балках (а.с. №655438, кл. В 07 В 1/46, 1979 г.).
Недостатком вышеназванного колосникового полотна является сложность конструкции колосниковых плит, сложность их крепления, что вызывает большие трудозатраты при их изготовлении, ремонте грохотов и снижение срока службы, особенно при спекании агломерата на агломашинах большой производительности.
Задачей изобретения является упрощение конструкции колосниковых плит, снижение трудозатрат на их изготовление, ремонты грохотов и увеличение срока службы при спекании агломерата на агломашинах большой производительности.
Поставленная задача достигается тем, что колосниковые плиты изготовлены из листового материала прямоугольной формы с 3-мя рядами отверстий под крепежные элементы, расположенными симметрично относительно главных осей плит, и сквозными пазами, выполненными с уширением боковых стенок, угол наклона которых =1,5-5°, причем колосниковые плиты закреплены на опорных элементах одна по отношению к другой внахлестку через одну поперечную балку и дополнительно закреплены посередине к опорным элементам крепежными элементами.
Колосниковые плиты установлены одна по отношению к другой внахлестку через одну поперечную балку короба для обеспечения минимального количества колосниковых плит на колосниковом поле короба грохота и необходимой жесткости их крепления.
Каждая плита посредине к опорным элементам поперечных балок короба крепится дополнительными крепежными элементами для исключения деформации колосниковых плит при использовании короба для сортировки горячих материалов.
Длина колосниковых плит принята равной 0,995 ширины короба, а ширина определена из расчета установки колосниковых плит внахлестку через одну поперечную балку короба.
Пазы колосниковых плит прорезаны на всю толщину листа с уширением боковых стенок для лучшего выпадения отсортированного материала. Угол наклона боковых стенок =1,5-5°.
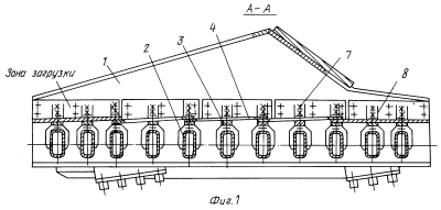
На фиг.1 изображено сечение А-А на фиг.2; на фиг.2 – вид сверху; на фиг.3 – сечение Б-Б на фиг.2; фиг.4 – сечение В-В на фиг.2.
Грохот состоит из корпуса 1, на поперечных балках которого закреплены опорные элементы 3, колосниковых плит 4. Концы опорных элементов опираются на кронштейны 5.
Колосниковые плиты 4 на опорных элементах 3 закреплены уголками 6 и крепежными элементами 7, защищенными от абразивного износа устройствами 8 и 9.
Рассев материала в коробе ведется следующим образом: короб устанавливают на опорную тележку, включают привод, за счет которого колосниковые плиты получают направленные колебания (вибропульсация).
Материал для рассева подается в зону загрузки грохота. Пройдя через ряды пазов колосниковых плит, материал рассеивается и сортируется.
Применение описываемой конструкции короба грохота позволяет снизить трудозатраты на их изготовление и ремонты в 2,5-3 раза, потери агломерата на 20-25%.
Формула изобретения
Грохот, содержащий корпус, на поперечных балках которого закреплены опорные элементы колосниковых плит, отличающийся тем, что колосниковые плиты изготовлены из листового материала прямоугольной формы с тремя рядами отверстий под крепежные элементы, расположенными симметрично относительно главных осей плит, и сквозными пазами, выполненными с уширением боковых стенок, угол наклона которых = 1,5-50 , причем колосниковые плиты закреплены на опорных элементах одна по отношению к другой внахлест через одну поперечную балку и дополнительно закреплены посередине к опорным элементам крепежными элементами.
РИСУНКИ
Дата прекращения действия патента: 30.12.2009
Извещение опубликовано: 10.06.2010 БИ: 16/2010
|
|