|
|
(21), (22) Заявка: 2001102086/14, 23.06.1999
(24) Дата начала отсчета срока действия патента:
23.06.1999
(30) Конвенционный приоритет:
24.06.1998 EP 98830381.4
(43) Дата публикации заявки: 27.11.2002
(45) Опубликовано: 10.02.2005
(56) Список документов, цитированных в отчете о поиске:
RU 2020979 С1, 15.10.1994. RU 2014852 С1, 30.06.1994. БЕРКУТОВ А.М. и др. Системы комплексной электромагнитотерапии. – М.: БИНОМ, 2000, с.16-17, 19.
(85) Дата перевода заявки PCT на национальную фазу:
24.01.2001
(86) Заявка PCT:
EP 99/04385 (23.06.1999)
(87) Публикация PCT:
WO 99/66987 (29.12.1999)
Адрес для переписки:
109028, Москва, Б.Николоворобинский пер., 10, помещение 5, Юридическая фирма “Жигачев и Христофоров”, пат.пов. Л.А.Ошариной
|
(72) Автор(ы):
Тофани Санти (IT)
(73) Патентообладатель(и):
Тофани Санти (IT)
|
(54) УСТРОЙСТВО И СПОСОБ ИНДУКЦИИ АПОПТОЗА ПАТОЛОГИЧЕСКИХ КЛЕТОК И ТКАНЕЙ
(57) Реферат:
Изобретение относится к медицине и предназначено для индукции апоптоза патологических клеток и тканей. Воздействуют на патологические клетки и ткани постоянными и/или низкочастотными переменными электромагнитными полями, индукцией от 1 до 100 мТл, частотой от 1 до 1000 Гц. Устройство содержит средства генерации постоянных и/или низкочастотных переменных электромагнитных полей пронизывающих рабочее пространство. Способ и устройство позволяют воздействовать на клеточные процессы выживания живых патологических клеток магнитными полями без вредного влияния на здоровые клетки. 4 с. и 15 з.п.ф-лы, 5 табл., 5 ил.

Область применения.
Настоящее изобретение относится к устройству для воздействия на процессы жизнедеятельности патологических клеток.
Кроме того, настоящее изобретение относится к использующему данное устройство микробиологическому способу воздействия на процессы жизнедеятельности патологических клеток, в частности клеток, пораженных раком и другими болезнями, вызываемыми путем изменения в механизме выживания клеток.
В частности, осуществляется воздействие электромагнитным постоянным полем (С-поле) и низкочастотным электромагнитным полем (ЭНЧ-поле), которые генерируются данным устройством.
Магнитные постоянные поля и низкочастотные электромагнитные поля далее называются “С-поля” и “ЭНЧ-поля” соответственно. Кроме того, любая возможная комбинация различных последовательностей С-полей и ЭНЧ-полей, например С-поля, за которыми следуют ЭНЧ-поля, ЭНЧ-поля, за которыми следуют С-поля, С-поля, действующие совместно с ЭНЧ-полями, а также действие С-полей и ЭНЧ-полей по отдельности далее называют СЭНЧ-полями.
Предшествующий уровень техники
Известно, что околоклеточные поля и токи, возбуждаемые электромагнитными полями (ЭНЧ-полями), частота которых составляет от 1 Гц до 300 Гц и возможно достигает 1000 Гц, вызывают в определенной клеточной мембране электрохимические изменения, которые важны для процессов трансдукции и усиления первичного биологического сигнала.
Данные биохимически обусловленные изменения приводят к образованию цитоплазматических носителей второго порядка и внутренних эффекторов, например, таких как свободный Са++ и протеиновые фосфорилазы (киназы), которые, в свою очередь, инициируют некоторые изменения в биосинтезе макромолекул, а также приводят к разграничению в росте и функциональных свойствах клеток [1М. Blank, 1993].
Далее, была установлена вероятность того, что С- и ЭНЧ-поля влияют на синтез ДНК, целостность ДНК, транскрипцию (синтез комплементарной РНК на матрице ДНК или РНК – прим. переводчика) и трансляцию (биосинтез белка на матрице информационной РНК – прим. переводчика) [2Liboff 1984, 3Tofani 1995, 4Goodman 1991, 5Philips 1992].
Возможным физическим механизмом, отвечающим за некоторые экспериментальные находки, является непосредственное влияние на ионы (т.е. на Са++) или на сцепление лиганд на клеточной мембране [6Liboff 1985, 7Chiabrera 1985, 8Lednev 1991, 9Blanchard 1994].
Возможность воздействия вариаций метаболизма Са++ может привести к клеточному апоптозу (запрограммированному умерщвлению клеток) [10Preston, 11Trump 1997].
Еще один механизм взаимодействия связан с возможностью влияния на кинетику соответствующей клетки сигнальных метаболических путей этой клетки (включая метаболизм кальция), за счет непосредственного воздействия поля на электрон-спиновое движение атомов и молекул с непарными электронами. Такое воздействие может влиять на коэффициент рекомбинации спина соответствующей пары свободных радикалов и, следовательно, на окислительно-восстановительную передачу сигналов [12Grundler 1992, 13Polk 1992, 14Walleczek and Budingher 1992, 15Adey 1993].
В частности, двух-, трехэлементная по энергетическому уровню спиновая транзиция в свободном радикале является критичной для увеличения коэффициента рекомбинации спина соответствующей пары свободных радикалов.
Вероятность для низкоэнергетических, нетепловых С- и ЭНЧ-полей (с магнитной индукцией до 30 мТл) воздействовать in vitro на кинетику и эффективность реакций пар радикалов известна из магнитохимии [16Steiner 1989].
Возникающие естественным образом свободные радикалы имеют непарный электрон в кислород- или азот-содержащем основании, например таком, как супероксид аниона, гидроксил радикал и азотный оксид. Данные реактивные виды кислорода (РВК) и реактивные виды азота (РВА) могут быть нацелены на протеины, обеспечивающие очевидное с точки зрения механики объяснение наличию явлений сигнализации посредством свободных радикалов. Данные явления могут влиять на факторы роста, перенос ионов (т.е. каналы Са++), транскрипцию (синтез комплементарной РНК на матрице ДНК или РНК – прим. переводчика), апоптоз [17Lander 1997].
Апоптозом является морфологически отличимая форма запрограммированного отмирания клеток, связанная с процессами жизнедеятельности клеток и играющая важную роль в ходе развития, гомеостаза и в случае многих болезней, включая рак, синдром приобретенного иммунодефицита и нейродегенеративные расстройства, а также при других заболеваниях, схожих с теми, которые характеризуются изменяемыми процессами выживания клеток. Апоптоз происходит путем активации внутренней программы самоуничтожения клетки. Основной генетический механизм апоптоза присутствует практически во всех клетках молочной железы в течение всего времени, но активизация этой программы самоуничтожения регулируется многими различными сигналами, поступающими как из внутриклеточной, так и из внешней среды.
Среди всех генов, принимающих участие в регулировании апоптоза, наибольшее внимание обращает на себя ген р53. Данный ген, который кодирует фактор транскрипции и является общим у различных видов рака человека, является посредником клеточного ответного действия на некоторые нарушения среды. Протеин р53 может либо временно прекратить деление клеток таким образом, что клетка может восстановить измененную ДНК, либо может вызвать апоптотическое уничтожение клетки.
Опубликованные данные подтверждают тот факт, что ген р53 присутствует при апоптозе, благодаря трем этапам процесса: 1) транскрипционной индукции генов, связанных с процессами окисления-восстановления; 2) формированию реактивных изотопов кислорода и 3) окислительному распаду компонентов митохондрии, кульминацией которого является отмирание клеток [18Polyak 1997].
Кроме того, антиокислительные агенты комбинируются с лекарствами при лечении гипоксии клеток опухоли 19[Walch, 1988] и для оказания влияния на фактор роста сосудов 20[Amirkhosravi, 1998].
Опубликованные данные подтверждают также тот факт, что патологические клетки по сравнению со здоровыми клетками иным образом реагируют на воздействие ЭНЧ-полей. Согласно 21Cadossi [1992] лимфоциты здоровых пациентов по сравнению с лимфоцитами пациентов с синдромом Дауна, СПИДом и пациентов, больных хронической лимфоцитозной лейкемией, иначе отвечают на воздействие на них ЭНЧ-полей (ранее при воздействии на них митогена).
Также является признанным тот факт, что ЭНЧ-поля оказывают влияние на приток Са++ через мембрану при воздействии на лимфоциты, пораженные лейкемией, а не на лимфоциты здоровых пациентов [22Waleczek, 1996].
Процессы жизнедеятельности измененных клеток протекают с электрическими сбоями и с различным электрическим поведением клеток. В частности, быстро размножающиеся и перерожденные клетки, по сравнению со здоровыми клетками, имеют деполяризованные клеточные мембраны [23Bingelli, 1986; 24Marino 1994]. Также было показано, что эпителиальные клетки теряют свой трансэпителиальный потенциал во время онкогенеза [25Davies 1987; 26Goller 1986; 27Capko, 1996]. Такое различное электрическое поведение клеток новообразований в сравнении со здоровыми клетками является основой для новой диагностической модальности рака [28Cuzick 1998]. Кроме того, концентрация свободных радикалов в перерожденных клетках и тканях выше, чем в не перерожденных клетках и тканях [29Szatrowski 1991; 30Shulyakovskaya 1993; 31Iwagaki 1995].
В случае химиотерапии все усилия направляются на обеспечение задачи индукции клеточного апоптоза in vivo вместо уничтожения клеток посредством направленной терапии сигнальной трансдукции (НТСТ) рака [32Levin, 1998].
Сигнальная трансдукция является функциональным термином, который означает перевод генетической информации в сигнальные каскады, которые позволяют клетке, например, интерпретировать и отвечать на внешнее стимулирование и/или дублировать себя. Последние исследования показывают, что изменение процессов выживания клеток приводит к патогенезу некоторых болезней человека, включая рак, вирусные инфекции, аутоиммунные заболевания, нейродегенеративные расстройства и СПИД. Лечение, направленное на специальное изменение порога апоптоза, связанного с механизмами процесса выживания клеток, может потенциально изменять естественное развитие некоторых из вышеназванных заболеваний [33Thompson, 1995].
Электрические, электромагнитные и магнитные поля с высокой магнитной индукцией используются для уничтожения патологических клеток.
В патенте США № 466589834 описывается устройство, где животные, у которых имелись злокачественные клетки, были подвергнуты лечению посредством импульсного магнитного поля с высокой магнитной индукцией с тем, чтобы нейтрализовать/уничтожить злокачественные клетки избирательным путем. Описанное в патенте устройство образует магнитные тепловые поля с магнитной индукцией от 1 тесла до 10 тесла и обратной полярностью в рамках 5-1000 килогерц. В предпочтительном варианте магнитная индукция магнитного поля устанавливается от 1 до 50 тесла и, в частности, в примерах – на уровне от 5 тесла и 8 кГц до 18 тесла и 250 кГц.
В антираковой терапии in vitro использовались различные ЭНЧ-поля, тепловые поля, непрерывные поля и поля с импульсной модуляцией [35Narita, 1997; 36Raylman, 1996].
В этих случаях использованы поля очень с высокой магнитной индукцией – гораздо более высокой, чем допускается для человека в соответствии со стандартами безопасности, что может повлечь за собой перенагрев и разрушение здоровых тканей и клеток.
Электромагнитные ЭНЧ-поля с низкой магнитной индукцией использовались также для прекращения митоза злокачественных клеток, как, например, в патенте Германии №4122380 А1 и патенте США №5156587. Однако эти документы описывают использование синусоидальных полей только при фиксированной полезной частоте и при фиксированной магнитной индукции, с возможным колебанием энергетических уровней внутри клеточной ткани только в некотором ограниченном диапазоне.
Краткое описание изобретения
Задачей настоящего изобретения является создание способа воздействия на клеточные процессы выживания (т.е. стимулирование апоптоза) живых патологических (т.е. раковых) клеток посредством использования магнитных полей без оказания вредного влияния на здоровые клетки.
Задачей настоящего изобретения также является создание устройства для осуществления такого воздействия на процессы выживания патологических клеток.
Основная и иные задачи в соответствии с настоящим изобретением решаются за счет вмешательства в процесс жизнедеятельности патологических клеток путем воздействия на живые патологические клетки (т.е. на раковые клетки и клетки, пострадавшие от иных заболеваний, вызванных изменением механизма жизнедеятельности клеток) нетепловых магнитных С- и ЭНЧ-полей и, таким образом, стимулирования избирательного апоптоза клеток.
Для целей настоящего изобретения под СЭНЧ-полями следует понимать различные последовательности С-полей и/или ЭНЧ-полей, т.е. С-поля, за которыми следуют ЭНЧ-поля, ЭНЧ-поля, за которыми следуют С-поля, С- и ЭНЧ-поля действующие совместно, а также С-поля и ЭНЧ-поля, действующие по отдельности.
Концепция, на которой основан способ в соответствии с настоящим изобретением, заключается в том, что СЭНЧ-поля воздействуют на клеточные сигналы, подтверждающие развитие патологического процесса внутри патологических клеток – т.е. сигналы об окислительно-восстановительном потенциале свободных радикалов, и, таким образом, восстанавливают процессы выживаемости клеток, т.е. непосредственно или косвенно стимулируют апоптоз посредством модификации экспрессии гена р53.
Данный способ предположительно разрывает связи в свободных радикалах с кислородным основанием и может также быть использован как антиокислительное средство. Применение данного способа можно рассматривать также в комбинации с лекарствами для терапии гипоксии клеток новообразований и для воздействия на фактор васкулярного роста.
Причина того, что СЭНЧ-поля выборочно стимулируют апоптоз в патологических клетках (т.е. раковых клетках), может заключаться в измененном электрическом поведении патологических клеток, по сравнению со здоровыми клетками.
По этим причинам СЭНЧ-поля непосредственно или косвенно могут вызывать сигнальное запрограммированное отмирание клеток (апоптоз), in vitro и in vivo, не вызывая неблагоприятного эффекта.
В гипотезе о том, что рекомбинация свободных радикалов лежит в основе ожидаемого биологического влияния на патологические клетки (т.е. антиопухолевой деятельности), необходимо принимать во внимание транзицию между синглет-триплетами непарных электронов в свободных радикалах с кислородным основанием. В частности, такая транзиция, которая зависит от приложенного магнитного поля, является критичной для увеличения коэффициента рекомбинации спинкоррелированной пары свободных радикалов. Однако центры реакции, относящиеся к ожидаемому антиопухолевому воздействию, неизвестны, и поэтому продолжительность состояния спина и распределения энергии между синглетными и триплетными состояниями не может быть точно определена на основании гамильтониана спина [37Haberkorn 1979, 38Lersch 1983].
Чтобы охватить данную проблему, в соответствии с настоящим изобретением можно использовать последовательности магнитных С-полей с различной магнитной индукцией, модулированных по амплитуде, и с наложением магнитных ЭНЧ-полей. Использование модулированных полей отвечает необходимости достижения оптимального условия (условий) для преобразования синглет-триплетного состояния спина, необходимого для процессов рекомбинации свободных радикалов [13Polk 1992].
По этим причинам С-поля, ЭНЧ-поля или СЭНЧ-поля с большей вероятностью могут вызывать ожидаемый биологический эффект, если они модулированы согласно заданной функции магнитной индукции и/или частоты от времени, поскольку в таком случае выше вероятность вызвать вышеуказанную транзицию.
Различные последовательности С-полей и/или последовательности ЭНЧ-полей преимущественно устанавливались для интервалов времени T1, Т2,…, Тn, где магнитная индукция полей IC, Iэнч и их соотношение Ic/IЭНЧ установлены на постоянном уровне величин IC1, IC2,…, ICn; Iэнч1, Iэнч2;…, Iэнчn; IC1/Iэнч1, IC2/Iэнч2,…Iсn/Iэнчn, соответственно.
По тем же причинам модулированные нетепловые СЭНЧ-поля потенциально могут быть использованы для лечения клеток, пострадавших, например, от таких заболеваний, как вирусная инфекция, СПИД, аутоиммунные заболевания и т.д., – где изменение процесса выживания клеток дополнительно влияет на патогенез.
Согласно еще одному аспекту данного изобретения, устройство для избирательного вмешательства в процессы выживания патологических клеток in vitro и in vivo характеризуется тем, что оно содержит средства для генерации постоянных магнитных полей (С-полей), пронизывающих рабочую среду, и средства для генерации низкочастотных электромагнитных полей в рабочей среде – отдельно или в дополнение к С-полям.
Средства, обеспечивающие модулирование С-полей, ассоциированы со средствами для генерации С-полей и изменения их магнитной индукции в диапазоне от 1 до 100 мТл, предпочтительно от 1 до 30 мТл.
Предусматривается также наличие средств модулирования ЭНЧ-полей, отдельных или связанных с С-полями, с частотой от 1 до 1000 Гц и с магнитной индукцией от 1 до 30 мТл. Предпочтительно использование ЭНЧ-полей с частотой от 10 до 100 Гц.
В частном варианте воплощения изобретения средства для модулирования С-полей включают программные средства, которые альтернативно или в комбинации:
– устанавливают магнитную индукцию, следуя множеству заданных с пошаговым интервалом величин Ic1, IC2,…, Icn для соответствующих временных промежутков t1, Т2,…, Тn;
– устанавливают амплитуду магнитной индукции, следуя множеству заданных с пошаговым интервалом величин Iэнч1, Iэнч2,…, Iэнчn для соответствующих временных промежутков T1, Т2,…, Тn;
– устанавливают частоту, следуя множеству заданных с пошаговым интервалом величин f1, f2,…, fn для соответствующих временных промежутков T1, Т2,…, Тn;
– устанавливают соотношение С/ЭНЧ согласно множеству заданных с пошаговым интервалом величин IC1/Iэнч1, IC2/Iэнч2,…, ICn/Iэнчn для соответствующих временных промежутков t1, Т2,…, Тn.
Предпочтительно, чтобы программные средства устанавливали С-поля и ЭНЧ-поля в соответствии с суммарной магнитной индукцией от 1 до 30 мТл и, соответственно, соотношением С/ЭНЧ-полей в интервале от 0,1 до 10, и в некоторых частных вариантах – с суммарной магнитной индукцией от 1 до 10 мТл и, соответственно, соотношением С/ЭНЧ-полей в интервале от 0,5 до 5.
Временные интервалы предпочтительно установить от 1 до 40 минут.
По крайней мере, одна часть рабочей среды ограничена стенками, проницаемыми для С-полей и ЭНЧ-полей. Не менее одной части рабочей среды также предпочтительно прилегает, соответственно, к первой и второй катушке индуктивности, а также к средству для модулирования, подающему постоянный и переменный ток, соответственно.
Краткое описание чертежей
Несколько вариантов реализации устройства в соответствии с изобретением, показанные на чертежах, приводятся в качестве примера, но не ограничивают возможные варианты устройства:
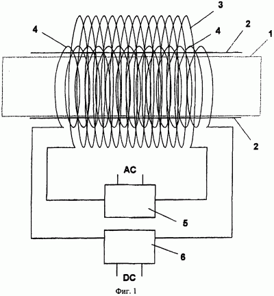
На Фиг.1 схематически показан первый вариант устройства согласно данному изобретению;
На Фиг.2-4 показаны блок-схемы второго, третьего и четвертого вариантов реализации устройства в соответствии с изобретением, соответственно;
На Фиг.5А в виде диаграммы показана функция магнитной индукции поля от времени, программируемая в устройстве в соответствии с заявляемым изобретением;
На Фиг.5В в виде диаграммы показана функция от времени магнитной индукции поля для С-полей и ЭНЧ-полей, с изменением также соотношения в связи с каждым последующим полем;
На Фиг.5С в виде диаграммы показана функция магнитной индукции поля и частоты от времени.
Описание предпочтительного варианта реализации устройства
На чертеже Фиг.1 рабочая среда указана под номером 1 и стенка – под номером 2. Первая и вторая катушки индуктивности указаны под номерами 3 и 4 соответственно.
Средства модулирования схематически показаны квадратами 5 и 6, соответственно, и подсоединены к источникам переменного и постоянного тока.
Другой вариант устройства, используемого для воздействия на процесс выживания патологических клеток in vitro и in vivo, как показано на чертеже Фиг.2, имеет две катушки индуктивности 23 и 24, расположенные на одной оси по отношению друг к другу на противоположных сторонах рабочей среды 21. Переменные трансформаторы 25 и 26 подсоединены к электрической сети 27 переменного тока с частотой 50 Гц. Подключаемые диодные мосты 28 необходимы для изменения подачи переменного тока к катушкам. Трансформатор постоянного тока 29а, выпрямитель 29b, а также таймер 29с крепятся к двум пластинам 29 таким образом, что становится возможным создать в рабочей среде 21 постоянное электрическое поле до 20 кВ/м (или поле низкой частоты, изменяющееся до 1000 Гц), предпочтительно – около 6 кВ/м, в предпочтительных интервалах в соответствии с экспериментальными условиями.
На Фиг.3 показан следующий вариант устройства для воздействия на выживание патологических клеток in vitro, имеющий модулятор 35 СЭНЧ-полей (1-100 Гц) и две обмотки 33 и 34, расположенные на одной оси по отношению друг к другу на противоположных сторонах рабочей среды 31. Усилитель 36 используется между модулятором 35 и катушками 33 и 34, на которые поступает тот же ток, который создает магнитные С- или ЭНЧ- поля в рабочей среде 31.
Еще один вариант устройства согласно изобретению (Фиг.4) используется для воздействия на выживание патологических клеток in vitro и in vivo и имеет две катушки Гельмгольца 43 и 44, которые расположены на одной оси на различных сторонах рабочей среды 41. Усилитель 46 используется между модулятором 45 и катушками 43 и 44 через шунтирующий элемент 47, который также соединен с персональным компьютером 49.
Каждое из устройств может быть использовано для создания модулированных нетепловых СЭНЧ-полей для воздействия на выживание патологических клеток.
На чертежах от Фиг.5А до Фиг.5С приведен пример программирования устройства, когда осуществляется модуляция магнитной индукции, частоты и соотношения магнитной индукции между С- и ЭНЧ-полями.
На Фиг.5А показан вариант, при котором магнитная индукция может меняться в зависимости от времени. На этом чертеже I1, I2, I3, In – это магнитная индукция или сила поля (мТл) для С-поля или ЭНЧ-поля по отдельности, или суммарная магнитная индукция IC+Iэнч.
На Фиг.5В, когда С- и ЭНЧ-поля действуют совместно, возможно модулировать не только их магнитная индукция или амплитуду магнитной индукции, но также их соотношение – коэффициент IC/Iэнч. Например, различные коэффициенты 1; 1,5; 2; и т.д. могут использоваться для временных интервалов T1, Т2, Т3 и т.д.
Также можно модулировать частоту, как это показано на Фиг.5С. Частота может также быть модулирована в двух или более временных интервалах T1, Т2, в которых применяется та же магнитная индукция I1-2.
Опираясь на базовые примеры Фиг.5А-5С, можно создавать последовательности модулированных С-, ЭНЧ-, С- + ЭНЧ-полей, которые могут также циклично повторяться.
Способ в соответствии с настоящим изобретением далее описан более подробно на конкретных примерах.
Пример 1
В данном примере была изучена in vitro возможность стимулирования апоптоза с помощью магнитного СЭНЧ-поля, как функция магнитной индукции и частоты поля.
Для проведения эксперимента была использована клеточная линия аденокарциномы толстой кишки человека (WiDr), выращенная в монослоях сплошного слоя культуры на твердой питательной среде в колбах Т25. Для каждого облучающего воздействия использовались 6 таких колб, каждая из которых содержала около 10 миллионов клеток, 3 из которых подвергались воздействию, и 3 – не подвергались.
Во время облучения колбы помещались между двумя катушками индуктивности, соединенными с цепями постоянного и переменного токов с частотой до 100 Гц. Температура постоянно контролировалась и поддерживалась на уровне 37±0,2°С.
Для каждого эксперимента продолжительность воздействия составила 20 минут, а СЭНЧ-поле поддерживалось неизменным. После трех часов клетки подвергались обработке по May-Grunwald-Giemsa. Апоптоз оценивался путем подсчета количества разрушенных ядер на 10 полей высокой мощности (ВМП) с использованием оптического микроскопа.
Количество вызванного апоптоза было оценено при помощи соотношения между количеством разрушенных клеток, найденных в группе, подвергшейся воздействию, и количеством разрушенных клеток, обнаруженных в другой группе, т.е. в группе, не подвергавшейся воздействию магнитных полей в соответствии с данным изобретением.
Таблица 1 демонстрирует результаты, полученные при различных условиях воздействия.
| ТАБЛИЦА 1 |
| Условия воздействия |
Структура СЭНЧ-поля |
Частота (Гц) |
Магнитная индукция поля (эффективное значение С+ЭНЧ) мТл |
Степень апоптоза |
| А |
С (постоянное) |
– |
(0,5+0) |
1 |
| В |
С |
– |
(1+0) |
1 |
| С |
С |
– |
(2+0) |
1,2 |
| D |
С |
– |
(3+0) |
2 |
| Е |
С |
– |
(4+0) |
2,3 |
| F |
С |
– |
(10+0) |
2,2 |
| G |
С |
– |
(20+0) |
2,2 |
| Н |
С |
– |
(30+0) |
2,3 |
| I |
ЭНЧ |
16 |
(0+3) |
2,2 |
| L |
ЭНЧ |
33 |
(0+3) |
2,2 |
| М |
ЭНЧ |
50 |
(0+3) |
2,1 |
| N |
ЭНЧ |
50 |
(0+7) |
2,1 |
| 0 |
ЭНЧ |
66 |
(0+3) |
2,2 |
| Р |
ЭНЧ |
83 |
(0+3) |
2,3 |
| Q |
ЭНЧ |
100 |
(0+3) |
2,1 |
| R |
С+Энч |
50 |
(4+3) |
2,1 |
| S |
с+Энч |
50 |
50% времени(3+1) 50% времени (4,5+1,5) |
2,2 |
Все результаты статистически были чрезвычайно важны (с точки зрения теста t Student). Из Таблицы 1 видно, что эффект апоптоза возникает при значении индукции около 1 мТл и удваивается, начиная с 3 мТл.
Еще одним важным открытием было то, что апоптоз не зависит от частоты СЭНЧ-полей. Другими словами, на всей продолжительности действия механизма, обеспечивающего биологический результат (апоптоз), ЭНЧ-поле ведет себя как по существу постоянное поле. Это означает, что среди двух гипотетических механизмов – механизма с участием свободных радикалов (появляющегося в промежутке времени от нано- до микросекунды) и механизма, подобного ионному резонансу, основную роль играет именно механизм с участием свободных радикалов [39Scaiano, 1994; 40Engstrom, 1997].
Пример 2
В данном эксперименте избирательное действие магнитных СЭНЧ-полей было подтверждено путем воздействия на три линии клеток. Две линии были злокачественными: клетки аденокарциномы толстой кишки человека (WiDr) и клетки рака молочной железы человека (MCF-7). В качестве здоровых клеток были выбраны клетки фибробласта легкого человека (MRC-5).
Так же, как в примере 1, каждая линия клеток была выращена в монослоях сплошного слоя культуры на твердой питательной среде в колбах Т25. Протокол эксперимента был такой же, как в примере 1. Шесть колб для каждой линии клеток (3 – подвергнутые и три – не подвергнутые воздействию) облучались в течение 20 минут. Апоптоз оценивался по истечении трех часов. Условия воздействия были как в графе “R” Таблицы 1.
Результаты приведены в Таблице 2.
| ТАБЛИЦА 2. |
| Линия клеток |
Степень апоптоза |
| WiDr |
2,1 |
| MCF-7 |
1,4 |
| MRC-5 |
1 |
Как показано в Таблице 2, только раковые клетки продемонстрировали более значительное с точки зрения статистики увеличение апоптоза, тогда как здоровые клетки такого не показали. Также ожидалось, что будет получен различный процент апоптоза между двумя линиями раковых клеток в связи с двумя различными периодами времени размножения. Дело в том, что клетки аденокарциномы толстой кишки человека (WiDr) размножаются быстрее клеток рака молочной железы человека (MCF-7). Результаты были оценены на основании теста t Student.
Пример 3
В данном примере для оценки воздействия магнитных СЭНЧ-полей на подавление роста опухоли были взяты мыши линии nude (nu/nu) с подкожной массой опухоли.
Каждой мыши ввели подкожно 10 миллионов клеток аденокарциномы толстой кишки человека (WiDr). Были успешно проведены два эксперимента.
В первом эксперименте 36 самок были произвольно распределены по четырем группам, каждая состояла из 6 подвергшихся воздействию мышей и 3 не подвергшихся воздействию, всего 24 животных были подвержены воздействию 4-х различных магнитных СЭНЧ-полей и 12 не были подвергнуты данному воздействию.
Также применялось постоянное электрическое поле до 6 кВ/м для использования в конечном итоге преимуществ различного электрического поведения тканей опухоли и здоровых тканей [41Thornton, 1984; 42Barsamian, 1987].
Во втором эксперименте 24 самки были произвольно распределены по двум экспериментальным группам, сформированным из 12 мышей, подвергшихся воздействию СЭНЧ-поля в условиях, показавших наилучшие результаты среди четырех условий воздействия, примененных в предыдущем эксперименте (условия воздействия под номером 4), и 12 мышей, не подвергшихся воздействию.
Все мыши, принимавшие участие в двух экспериментах, были поделены на экспериментальные группы после того, как масса опухоли у каждого животного стала осязаемой.
Животные подвергались воздействию в течение 70 минут, один раз в день, в течение 5 дней в неделю, в течение 4 недель. В ходе воздействия каждая мышь была помещена в отдельную коробку из плексигласа, помещенную между двумя катушками индуктивности, подсоединенными к цепи постоянного и переменного тока до 100 Гц соответственно.
Мыши nu/nu содержались в специальных беспатогенных условиях, и их кормили согласно диете “ad libitum” (no желанию). Все тесты проводились согласно протоколу, выпущенному Национальным институтом здравоохранения США и Национальным институтом раковых болезней США.
Масса опухолей измерялась дважды в неделю, и их объем рассчитывался в мм3 cогласно формуле: {(больший диаметр)×(меньший диаметр в квадрате)/2.
По истечении 4 недель животные были умерщвлены, и им было сделано вскрытие. Масса опухоли была изъята, взвешена и измерена. Части опухоли были использованы для проведения различных анализов, а именно:
– иммуноцитохимического: антигена Ki-67 на индекс репродуктивности, антигена р-53 на экспрессию гена р-53;
– гистопатологического: окрашивания гематоксилин-эозина для оценки количества митоза;
– ультраструктурного: электронной микроскопии;
– гибридизации нуклеиновых кислот: Туннельного метода для оценки апоптоза.
Кроме того, для гистологического изучения для оценки токсичности терапии из каждого животного были извлечены следующие органы: мозг, сердце, почки, печень, легкие, вспомогательные и паховые лимфоузлы, медиастинальные лимфоузлы, яичники, кожа, селезенка, костный мозг, подкожная ткань (часть имплантированной линии опухолевых клеток), а также были сделаны анализы крови.
Полученные результаты отображены в Таблице 3 – для первого эксперимента, и в Таблице 4 – для второго эксперимента.
| ТАБЛИЦА 3 |
| Условия воздействия |
1 |
2 |
3 |
4 |
Не подверженные воздействию |
| Время воздействия (мин) |
70 |
70 |
70 |
70 |
– |
| Усредненная по времени магнитная индукция поля (эффективное значение для постоянного + ЭНЧ-поля) в мТл |
3 |
3 |
4 |
6 |
– |
| Разброс магнитной индукции в мТл (мин.-макс.) С-поля; [мин.-макс.] ЭНЧ-поля |
(4-6) [2-2] |
(1,5-4) [1-1] |
(2-5) [1,5-3,5] |
(2-5) [1,5-3,5] |
– |
| Время действия постоянного поля (мин.-макс.) в минутах |
(5-15) |
(5-20) |
(5-15) |
(5-20) |
– |
| % времени совместного действия постоянного и ЭНЧ-поля |
0% |
50% |
50% |
100% |
– |
| Соотношение С-/ЭНЧ-поля (мин.-макс.) |
– |
(0,5-5) |
(0,5-5) |
(0,5-5) |
– |
| % времени действия одного постоянного поля |
50% |
50% |
50% |
0% |
– |
| Количество мышей |
6 |
6 |
6 |
6 |
12 |
| Объем изъятой опухолевой массы (мм3) |
1323±304 |
1450±288 |
920±540 |
650±205 |
1492±559 |
| Вес изъятой опухолевой массы (г) |
1,54±0,22 |
1,6±0,39 |
0,98±0,56 |
0,96±0,25 |
1,6±0,5 |
| Количество апоптозных клеток на 10 ВМП (полей высокой мощности) |
98±23 |
115±20 |
129±25 |
129±26 |
40±17 |
| Экспрессия р53 на 10 ВМП |
35,1±0,11 |
43,8±0,16 |
38,2±0,06 |
28,7±0,14 |
73,2±0,14 |
| ТАБЛИЦА 4 |
| Условия воздействия |
4 (см. табл.3) |
Не подверженные воздействию |
| Количество мышей |
12 |
12 |
| Объем изъятой массы опухоли |
1139±509 см3 |
1914±793 см3 |
| Вес изъятой массы опухоли |
1,4±0,7 г |
2,1±0,6 г |
| Апоптоз (оценка произведена только у 50% мышей) |
72,5±9,3 |
37,0±7,4 |
| Р53 |
35,6±6,7 |
78,1±16,7 |
| Индекс репродуктивности |
0,34±0,08 |
0,45±0,07 |
| Митоз |
24,1±10,9 |
47,7±10,1 |
Данные, представленные в таблицах 3 и 4, показывают, что СЭНЧ-поля обладают способностью прекращать рост опухоли у живого организма (in vivo). Такой эффект, обнаруженный в ходе обоих экспериментов, имел очень важное значение с точки зрения статистики (в первом эксперименте, в основном, за счет условия воздействия под номером 4) по тестам Dunnet и t Student, соответственно.
При гистологическом обследовании 12 органов каждого животного из каждой группы не было обнаружено никаких различий между подвергшимися и не подвергшимися воздействию мышами. Никаких различий также не было обнаружено в анализах крови. Такие данные доказывают, что токсический эффект при терапии с использованием СЭНЧ-полей отсутствует.
Ультраструктурный анализ с помощью электронного микроскопа показал, что в клетках опухоли животных, повергшихся воздействию, имели место клеточные изменения: присутствие апоптозных тел и конденсированного хроматина возле мембраны клеточного ядра свидетельствует о наличии апоптозных явлений.
Кроме того, последовательный результат подтверждается морфологическими модификациями, увеличением количества и размеров митохондрий, а также количества ядрышек, присутствием многих вакуолей внутри цитоплазмы. Не относящиеся к опухоли клетки (т.е. эпителиальные клетки и клетки стромы) показали, что нет никакой разницы между животными, подвергшимися и не подвергшимися воздействию, что подтверждает факт отсутствия токсического эффекта, выявленный на 12 здоровых органах обследованных животных.
Увеличение апоптоза и уменьшение экспрессии гена р53, обнаружившиеся в подвергшихся воздействию тканях опухоли животных (см. таблицы 3 и 4), имеют важное статистическое значение (t Student тест).
Результаты, представленные в Таблицах 3 и 4, соответствуют тем, которые были получены in vitro и отображены в Таблицах 1 и 2.
Эффект, производимый магнитными СЭНЧ-полями на экспрессию гена р53, усиливает апоптоз, что приводит к выводу о полном соответствии с гипотетическим биофизическим механизмом (т.е. рекомбинации свободных радикалов), определяющим противоопухолевое действие СЭНЧ-полей, благодаря образованию изотопов активного кислорода и распаду митохондриальных компонентов.
Пример 4
В этом эксперименте мыши nu/nu, которым предварительно были введены под кожу 10 миллионов клеток аденокарциномы толстой кишки человека (WrDr), были подвержены воздействию в целях изучения выживания животных.
После введения клеток были произвольно сформированы две группы мышей, которые состояли, соответственно, из 16 подвергшихся воздействию животных и 17 – не подвергшихся воздействию. Мыши из первой группы подвергались воздействию в течение 70 минут в день, в течение 5 дней в неделю и в течение всей их жизни, начиная через 24 часа после введения опухолевых клеток.
Условия воздействия были такими же, как при эксперименте, результаты которого отражены в Таблице 4.
Как и в предыдущем примере, мыши содержались в специальных беспатогенных условиях, и кормили их согласно диете “ad libitum”. Все тесты проводились согласно протоколу, выпущенному Национальным институтом здравоохранения США и Национальным институтом раковых болезней США.
Эффективность данной терапии для борьбы с опухолями была оценена по формуле Национального института раковых болезней – как соотношение подвергшихся и не подвергшихся воздействию животных со средней продолжительностью жизни. Это усредненное значение рассчитывалось как сумма времени выживания для каждой экспериментальной группы, поделенная на количество животных. Эффективность считается достигнутой, если формула национального института раковых болезней США дает результат, равный или превышающий значение 1,25.
В Таблице 5 приведены данные для каждой экспериментальной группы по количеству живых животных в различное время (дни) с начала эксперимента.

При использовании формулы Национального института раковых болезней США для расчета индекса на основании результатов в Таблице 5 получается число 1,31 – большее, чем 1,25. После 194 дней 6 мышей, подвергшихся воздействию, были все еще живы, а все не подвергшиеся воздействию мыши погибли.
Описанные варианты реализации помогают раскрыть существо изобретения и позволяют, адаптируя изобретение для различных видов использования, модифицировать его без отклонения от изобретения, путем эквивалентных замен средств и материалов при выполнении различных функций, описанных в заявке.
БИБЛИОГРАФИЯ
1. Blank M. (1993): “Electricity and Magnetism in Biology and Medicine”. The First World Congress for Electricity and Magnetism in Biology and Medicine, Orlando, Florida.
2. Liboff A.R., Williams Т.Jr., Strong D.M. and Wistar R. Jr. (19 84): “Time-Varying Magnetic Fields: Effect on DNA Synthesis”. Science. Vol. 223, pp. 818-820.
3. Tofani S., Ferrara A., Anglesio L., Gilli G. (1995): “Evidence for genotoxic effects of resonant ELF magnetic fields”. Bioelectrochemistry and Bioenergetics 36, pp. 9-13.
4. Goodman R., Shirley-Henderson A. (1991): “Transcription and Translation in Cells exposed to Extremely Low Frequency Electromagnetic Fields” Bioelectrochem. Bioenerg. 25, pp. 335-355.
5. Phillips j.I., Haggren W., Thomas W.J., Ishida-Jones Т. and Adey W.R. (1992): “Magnetic field-induced changes in specific gene transcription”. Biochimica et Biophysica Acta 1132, pp 140-144.
6. Liboff A.R. (1985): Cyclotron resonance in membrane transport. In Chiabrera A., Nicolini C., Schwan H.P. (eds): “Interactions Between Electromagnetic Fields and Cells”. New York: Plenum Press, pp. 281-296.
7. Chiabrera A., Grattarola M., Viviani R. (1984): “Interaction between electromagnetic fields and cells: Microelectrophoretic effect on ligands and surface receptors”. Bioelectromagnetics 5, pp. 173-191.
8. Lednev W. (1991): “Possible mechanism for the influence of weak magnetic fields on biological systems”. Bioelectromagnetics 12, pp. 71-75.
9. Blanchard J.P., Blackman C.F. (1994): “Clarification and application of an ion parametric resonance model for magnetic field interactions with biological systems. Bioelectromagnetics 15, pp. 217-238.
10. Preston G.A., Barren J.C., Biermann J.A. and Murphy Elizabeth (1997): “Effects of Alterations in Calcium Homeostasis on Apoptosis during Neoplastic Progression”, Cancer Research 57, pp. 537-542.
11. Trump B.F., Berezesky I.K., Chang S.H. and Phelps P.C. (1997): “The Pathways of Cell Death: Oncosts, Apoptosis, and Necrosis”. Toxicologic Pathology Vol. 25, n.1, pp.82-87.
12. Grundler W., Kaiser F., Keilmann F., Walleczek J. (1992): “Mechanisms of electromagnetic interaction with cellular systems”. Naturwissenschaften 79, pp.551-559.
13. Polk С. (1992): “Dosimetry of extremely-low-frequency magnetic fields”. Bioelectromagnetics Suppll, pp.209-235.
14. Walleczek J., Budinger T.F. (1992): “Pulsed magnetic field effects on calcium signalling in lymphocytes: Dependence on cell status and field intensity”. FEBS Lett 314, pp 351-355.
15. Adey W.R. (1993); Electromagnetics in biology and medicine. In Matsumoto H (ed): “Modem Radio Science”, New York: Oxford University Press, pp. 227-245.
16. Steiner U.E. and Ulrich Т. (1989): “Magnetic Field Effects in Chemical Kinetics and Related
Phenomena”. Chem. Rev. 89, pp.51-147.
17. Lander H.M. (1997): “An essential role for free radicals and derived species in signal transduction”. The FASEB Journal 11, pp. 118-124.
18. Polyak К., Xia Y., Zweier J.L., Kinzier K.W. and Volgestein В. (1997): “А model for p53-induced apoptosis”. Nature Vol. 389, pp.300-305.
19. Walch, N.S., Calaoagan, J., Murphy, B.J., Knapp, A.M., Sutherland, R.M., Laderoute, K.R. “The redox-sensitive human antioxidant responsive element induces gene expression under low oxygen conditions”. Carcinogenesis, 19(8): 1333-7,1988.
20. Amirkhosravi, A., Meyer, Т., Wames, G., Amaya, M., Malik, Z., Biggerstaf, J.P., Siddiqui, F.A., Shennan, P., Francis, J.L. Pentoxifylline inhibits hypoxia-induced upregulation of tumor cell tissue factor and vascular endothelial growth factor. Thromb Haemost, 80 (4): 598-602, 1998.
21. Cadossi R., Bersani F., Cossarizza A., Zucchini P., Emilia G., Torelli G. and Claudio Franceschi (1992): “Lymphocytes and low-frequency electromagnetic fields”. The FASEB Journal Vol. 6, pp.2667-2674.
22. Walleczeck J. (1996): “Electromagnetic Field Effects on Cellular Signal Transduction and Free Radical Mechanisms”. Abstract Book XXVth General Assembly of the International Union of Radio Science-Lille-France, p.547.
23. Binggeli R., Weinstein R.C. Membrane potentials and sodium channels: hypotheses for growth regulation and cancer formation based on changes in sodium channels and gap junctions. Theor Bioll986: 123: 377-401.
24. Marino A.A., Iliev I.G., Schwaike M.A., Gonzales E., Marler К.С., Flanagan C.A. Association between cell membrane potential and breast cancer Tumour Biol. 1994: 15: 82-89.
25. Davies R.J., Weidema W.F., Sandle G.I., Palmer L.I., Deschener Е.Е., DeCosse J.J. Sodium transport in a mouse model ofcolonic cancer. Cancer Res. 1987: 47: 4646-50.
26. Goller D.A., Weidema W.F., Davies R.J. Transmural electrical potential as an early marker in colon cancer. Arch. Surg. 1986: 121: 345-50.
27. Capko D., Zhuravkov A., Davies R.J. Transepithelial depolarisation in breast cancer. Breast Cancer Res. 1996: Treat. 41: 230.
28. Cuzick J., Holland R., Barth V., Davies R., Faupel M., Fentiman I., Frischbier H.J., LaMarque J.L., Merson M., Sacchini V., Vanel D., Veronesi U. Electropotential measurements as a new diagnostic modality for breast cancer. The Lancet 1998: 352: 359-363.
29. Szatrowski T.P., Nathan C.F. Production of large amounts of hydrogen peroxide by human tumor cells. Cancer Res. 1991: 51(3): 794-798.
30. Shulyakovskaya T., Sumegi L., Gal D. In vivo experimental studies on the role of free radicals in photodynamic therapy. I. measurement of the steady state concentration of free radicals in tumor tissues of mice. Biochem. Biophys. Res. Commun. 1993: 195(2): 581-587.
31. Iwagaki H., Hamazaki К., Matsubara N., Hiramatsu M., Orita K., Mori A. Lipid peroxidation in hepatocellular carcinoma. Acta Med. Okayama 1995: 49(6): 313-315.
32. Levin V.A. (1998): “Signal Transduction Directed Therapy: Fact or Fantasy?” Abstract Book (EL 5) of the Eight International Congress on Anti-Cancer Treatment, February 3rd-6th 1998, Paris, France.
33. Thompson C.B. (1995):”Apoptosis in the pathogenesis and treatment of diseases” Science Vol. 267, p.1456-1462.
34. Costa J.L. and Hofmann G.A. (1987): “Malignancy treatment” U.S. patent 4665898.
35. Narita К., Hanakawa К., Kasahara T., Hisamitsu T., Asano К. (1997):”Induction ofapoptotic cell death in human leukemic cell line, HL-60, by extremely low frequency electric magnetic fields: analysis of the possible mechanisms in vitro”. In vivo 111(4), pp.329-335.
36. Raylman R.R., Clavo A.C., Wahl R.L. (1996): “Exposure to Strong Static Magnetic Field Slow the Growth of Human Cancer Cells In Vitro”. Bioelectromagnetics 17, pp.358-363.
37. Haberkom R., Michel-Beyerie M.E. On the mechanism of magnetic field effects in bacterial photosynthesis. Biophysical Journal 1979: 26: 489-498.
38. Lersch W., Michel-Beyerie M.E. Magnetic field effects on the recombination of radical ions in reaction centers ofphotosynthetic bacteria. Chemical Physics 1983: 78: 115-126.
39. Scaiano J.C., Mohtat N., Cozens FL, McLean J. and Thansandote (1994): “Application of the Radical Pair Mechanism to Free Radicals I Organized Systems: Can the Effects of 60 Hz Be Predicted From Studies Under Static Fields?” Bioelectromagnetics 15, pp.549-554.
40. Engstrom S. (1997):”What is the Time of Magnetic Field Interaction in Biological Systems?”. Bioelectromagnetics 18, pp.244-249.
41. B.S.Thomton (1984): “Inversion oframan spectra of living cells indicates dielectric structure related to energy control”, in Physics Letters, Vol. 106A, pp.198-202.
42. S.T. Barsamian (1987): “Dielectric origin of living cells”, in Biophysical Aspects of Cancer, Charles University Prague, pp.152-159.
Формула изобретения
1. Устройство для индукции апоптоза патологических клеток in vitro и in vivo, содержащее средства для генерации постоянных магнитных полей, пронизывающих рабочую среду, в которой осуществляется воздействие на патологические клетки или органы, содержащие патологические клетки, и средства для генерации в рабочей среде низкочастотных электромагнитных полей в дополнение к постоянным магнитным полям, отличающееся тем, что устройство дополнительно содержит средства для модулирования постоянных магнитных полей, связанные со средствами для их генерации, устанавливающие магнитную индукцию постоянных магнитных полей от 1 до 100 мТл в соответствии с заданной функцией от времени, а также средства для модулирования низкочастотных электромагнитных полей, связанные со средствами для их генерации, устанавливающие низкочастотные электромагнитные поля в соответствии с заданной функцией амплитуды магнитной индукции от 1 до 100 мТл и частоты от 1 до 1000 Гц от времени.
2. Устройство для индукции апоптоза патологических клеток in vitro и in vivo, содержащее средства для генерации постоянных магнитных полей, пронизывающих рабочую среду, в которой осуществляется воздействие на патологические клетки или ткани, содержащие патологические клетки, отличающееся тем, что оно также содержит средства для модулирования постоянных магнитных полей, связанные со средствами их генерации, устанавливающие магнитную индукцию постоянных магнитных полей от 1 до 100 мТл в соответствии с заданной функцией времени.
3. Устройство для индукции апоптоза патологических клеток in vitro и in vivo, отличающееся тем, что оно также содержит средства для генерации низкочастотных электромагнитных полей в рабочей среде, в которой осуществляется названное воздействие на патологические клетки или ткани, содержащие патологические клетки, и средства для модулирования низкочастотных электромагнитных полей, связанные со средствами для их генерации, устанавливающие низкочастотные электромагнитные поля в соответствии с заданной функцией амплитуды магнитной индукции в диапазоне 1 – 100 мТл и частоты в диапазоне 1 – 100 Гц от времени.
4. Устройство по п.1 или 2, отличающееся тем, что средства для модулирования постоянных магнитных полей включают программные средства, устанавливающие магнитную индукцию согласно множеству заданных с пошаговым интервалом величин IC1, Ic2,…ICn для соответствующих временных интервалов T1, Т2,…Тn.
5. Устройство по п.1 или 3, отличающееся тем, что средства для модулирования низкочастотных электромагнитных полей включают программные средства, устанавливающие амплитуду магнитной индукции согласно множеству заданных с пошаговым интервалом величин Iэнч1, Iэнч2,…Iэнчn для соответствующих временных интервалов T1, Т2,…Тn.
6. Устройство по п.1 или 3, отличающееся тем, что средства для модулирования низкочастотных электромагнитных полей включают программные средства, устанавливающие частоту согласно множеству заданных с пошаговым интервалом величин f1, f2,…fn для соответствующих временных интервалов T1, Т2,…Тn, причем названные значения частоты варьируются в интервале 10 – 100 Гц.
7. Устройство по п.1, отличающееся тем, что средства для модулирования постоянных магнитных полей и низкочастотных электромагнитных полей включают программные средства, устанавливающие соотношение постоянных магнитных полей и низкочастотных электромагнитных полей согласно множеству заданных с пошаговым интервалом величин IC1/Iэнч1,, IC2,/Iэнч2,…ICn/Iэнчn для соответствующих временных интервалов T1, Т2,…Тn.
8. Устройство по п.7, отличающееся тем, что программные средства устанавливают постоянные магнитные поля и низкочастотные электромагнитные поля согласно суммарной магнитной индукции в диапазоне 1 – 30 мТл и соотношению постоянных магнитных полей и низкочастотных электромагнитных полей 0,1 – 10 соответственно.
9. Устройство по п.7, отличающееся тем, что программные средства устанавливают постоянные магнитные поля и низкочастотные электромагнитные поля согласно суммарной магнитной индукции в диапазоне 1 – 10 мТл и соотношению постоянных магнитных полей и низкочастотных электромагнитных полей 0,5 – 5 соответственно.
10. Устройство по любому из пп.4-9, отличающееся тем, что программные средства устанавливают интервалы времени 1 – 40 мин.
11. Устройство по любому из пп.1-10, отличающееся тем, что, по крайней мере, одна часть рабочей среды ограничена стенками, проницаемыми для названных полей.
12. Устройство по любому из пп.1-11, отличающееся тем, что средства для создания постоянных магнитных полей и/или низкочастотных электромагнитных полей включают по крайней мере первую и вторую катушки индуктивности, окружающие соответственно по крайней мере часть рабочей среды, причем средства для модулирования обеспечивают подачу на катушки соответственно постоянного и переменного тока.
13. Устройство по любому из пп.1-11, отличающееся тем, что средства для генерации постоянных магнитных полей и/или низкочастотных электромагнитных полей включают по крайней мере первую и вторую катушки, расположенные коаксиально, рабочая среда расположена между первой и второй катушкой, а средства для модулирования обеспечивают подачу к названным катушкам соответственно постоянного и переменного токов.
14. Устройство по любому из пп.1-13, отличающееся тем, что в нем использованы средства, обеспечивающие внутри рабочей среды генерацию постоянного электрического поля или переменного электрического поля низкой частоты до 1000 Гц, имеющего напряженность до 20 кВ/м.
15. Способ использования постоянных магнитных полей и нетепловых переменных низкочастотных электромагнитных полей для индукции апоптоза посредством модификации гена-мутанта р53, характеризующийся тем, что постоянные магнитные поля и низкочастотные электромагнитные поля имеют магнитную индукцию 1 – 100 мТл и представляют собой различные последовательности постоянных магнитных полей и/или низкочастотных электромагнитных полей, т.е. постоянные магнитные поля, за которыми следует низкочастотные электромагнитные поля, низкочастотные электромагнитные поля, за которыми следуют постоянные магнитные поля, постоянные магнитные поля и низкочастотные электромагнитные поля, действующие совместно, а также постоянные магнитные поля и низкочастотные электромагнитные поля, действующие по отдельности, причем низкочастотные электромагнитные поля обладают частотой 1 – 1000 Гц.
16. Способ по п.15, отличающийся тем, что наряду с постоянными магнитными полями и низкочастотными электромагнитными полями используются химические вещества.
17. Способ по п.15, отличающийся тем, что последовательности постоянных магнитных полей и/или низкочастотных электромагнитных полей устанавливаются в интервалах времени T1, Т2,…Тn, причем магнитная индукция постоянных магнитных полей и/или низкочастотных электромагнитных полей в каждый интервал времени устанавливается на постоянном уровне значений IC1, IC2,…ICn; Iэнч1, Iэнч2,…Iэнчn и IC1/Iэнч1, IC1/Iэнч2,…ICn/Iэнчn соответственно.
18. Способ по п.15, отличающийся тем, что постоянные магнитные поля и низкочастотные электромагнитные поля устанавливаются с суммарной магнитной индукцией в диапазоне 1 – 30 мТл и, соответственно, соотношением постоянных магнитных полей и низкочастотных электромагнитных полей 0,1 – 10.
19. Способ по п.15, отличающийся тем, что постоянные магнитные поля и низкочастотные электромагнитные поля устанавливаются с суммарной магнитной индукцией в диапазоне 1 – 10 мТл и, соответственно, соотношением постоянных магнитных полей и низкочастотных электромагнитных полей 0,5 – 2,5.
РИСУНКИ
|
|