|
|
(21), (22) Заявка: 2001128306/14, 20.03.2000
(24) Дата начала отсчета срока действия патента:
20.03.2000
(30) Конвенционный приоритет:
22.03.1999 IT FI99A000055
(43) Дата публикации заявки: 20.07.2003
(45) Опубликовано: 10.02.2005
(56) Список документов, цитированных в отчете о поиске:
WO 9622810 А1, 01.08.1996. US 4250878 А, 17.02.1981. US 4419092 А, 06.12.1983. SU 1789224 А1, 23.01.1993. RU 96124724 А, 20.01.1999. SU 1763962 А1. 23.09.1992.
(85) Дата перевода заявки PCT на национальную фазу:
22.10.2001
(86) Заявка PCT:
IT 00/00092 (20.03.2000)
(87) Публикация PCT:
WO 00/56400 (28.09.2000)
Адрес для переписки:
103735, Москва, ул.Ильинка, 5/2, ООО”Союзпатент”, пат.пов. Л.И.Ятровой
|
(72) Автор(ы):
Д`АФРИКА Антонино (IT), ПАДУАНО Гвидо (IT), САРТОРИ Массимо (IT)
(73) Патентообладатель(и):
Д`АФРИКА Антонино (IT), ПАДУАНО Гвидо (IT), САРТОРИ Массимо (IT)
|
(54) УСТРОЙСТВО ДЛЯ ИОНТОФОРЕЗНОГО ЧРЕСКОЖНОГО ВВЕДЕНИЯ МОЛЕКУЛ
(57) Реферат:
Изобретение относится к устройствам для переноса молекул лекарственного средства и других веществ методом ионтофореза через эпидермис в ткани, расположенные за кожным барьером. Устройство содержит контейнер для продукта, подлежащего применению, дозатор, через который распределяется указанный продукт, энергоснабжающий элемент, который размещен вблизи от дозатора. Дозатор выполнен в виде вращающегося элемента и представляет собой кусочек фетра. Стенки контейнера выполнены гибкими. Дозатор выполнен из электропроводящего материала и связан с энергоснабжающим элементом. Устройство позволяет проводить ионтофорез продуктов с высокой вязкостью, возможно одноразовое использование устройства, обеспечена гигиена продукта. 7 з.п. ф-лы, 7 ил.

Область техники
Настоящее изобретение относится к контейнеру для гелевой суспензии подлежащих переносу молекул лекарственного средства, травяного лекарства, гомеопатического или косметического продукта, диоксида углерода или азота, или других молекул и веществ, предназначенных для применения методом ионтофореза, а также другими способами, требующими использования энергии, которые стимулируют проникновение транспортируемых молекул через эпидермис и в ткани, расположенные за кожным барьером.
Уровень техники
Известно, что ионтофорез представляет собой способ чрескожного применения лекарственных средств или других продуктов различного назначения. Такой способ может осуществляться путем помещения ионизируемых молекул вещества, подлежащего переносу, в контейнер с последующим контактированием одной части контейнера с кожей пациента, на котором применяют рассматриваемое вещество. Часть контейнера, контактирующая с кожей, закрыта осмотической или частично проницаемой мембраной. Пациента и контейнер, содержащий предназначенные для транспортировки молекулы, присоединяют к электрической цепи с источником напряжения и/или частотным источником, которые могут регулироваться соответствующим образом, в результате чего происходит ионизация молекул и миграция ионов через осмотическую мембрану, кожу пациента и проходы в ней в ткани, расположенные под эпидермисом, с глубиной проникновения, которая определяется приложенной частотой тока. Электрическая цепь замыкается одним или более электродами, приложенными к нужным участкам тела пациента, получающего такое лечение.
В литературе раскрыты различные типы оборудования для ионтофореза. Так, например, в ЕР-А-0292930 описывается прибор, в котором контейнер для раствора, содержащего молекулы, подлежащие переносу, имеет осмотическую мембрану, через которую мигрируют ионы, генерированные электрическим полем, созданным с помощью подходящего устройства. Рассматриваемые молекулы находятся в жидком растворе внутри контейнера, закрытого осмотической мембраной.
В заявке на патент США 5084008 раскрыт другой контейнер для лекарственного средства, применяемого методом ионтофореза. В рассматриваемом случае, контейнер особенно подходит для транспортировки молекул, содержащихся в геле, и он закрыт проницаемым слоем, который предназначен для обеспечения прохода ионов и, в то же время, для предотвращения высыхания геля в течение времени хранения контейнера. Указанный контейнер отличается особой конфигурацией средств для распределения тока внутри лекарственного средства.
В WO-8808729 раскрыт электрод для ионтофореза, включающий пластину из проводящего материала с пористой мембраной, содержащей молекулы, подлежащие переносу. Мембрана защищена съемной защитной пленкой, которую удаляют в момент применения электрода на пациенте.
В WO-9622810 раскрыт контейнер для лекарственного средства, применяемого методом ионтофореза, с последующим вымораживанием раствора, содержащего лекарство. В рассматриваемом случае, контейнер состоит из двух частей, соединенных друг с другом взаимозаменяемым образом и образующих внутренний объем, который заполняют раствором, содержащим лекарственное средство, подлежащее применению. После этого, контейнер вместе с содержимым замораживают и, в момент применения, верхнюю часть контейнера снимают для обеспечения доступа к блоку из замороженного раствора. Указанный блок приводят в контакт с эпидермисом пациента. Оставшаяся часть контейнера, в которой продолжает находиться основной блок замороженного раствора, содержит электрод, имеющий подходящую форму для осуществления электрического контакта с замороженным блоком раствора.
Рассматриваемый контейнер имеет существенные недостатки, связанные с отсутствием приспособлений для надежного прикрепления двух указанных частей контейнера друг к другу, в том случае, когда контейнер необходимо заполнить раствором, содержащим лекарственное средство, отсутствием подходящего уплотнения, обеспечивающего гигиену продукта, поскольку контейнер открыт сверху для его заполнения, и невозможностью одноразового использования указанного контейнера по гигиеническим соображениям. Кроме этого, рассматриваемый контейнер предназначен только исключительно, для применения предварительно замороженных растворов. Применение электрода не является безопасным и он легко может погружаться во внутрь из-за таяния ледяного блока, что может приводить к электрическим разрядам.
Другие известные способы применения активных элементов через эпидермис требуют использования форм энергии, отличных от электрической. Так, например, известно, что активные элементы могут быть приведены в такое состояние, которое обеспечивает прохождение через эпидермис под действием лазерного излучения, главным образом, с применением диодного лазера. В других случаях может требоваться применение с помощью ультразвука, инфракрасного излучения или других способов.
В контексте настоящего изобретения, приводится ссылка на источник энергии в общем смысле этого термина, а также на средства воздействия такой энергии на раствор, содержащий молекулы подлежащие транспортировке. Эту формулировку следует понимать, как обозначающую любую систему, позволяющую вводить активные элементы или молекулы любого типа чрескожным методом в результате использования энергии любого вида.
В тексте настоящего описания специально ссылаются на ионтофорез как на особенно успешный метод применения. Однако такой акцент следует рассматривать как указание на предпочтительную, но не исключительную форму применения настоящего изобретения.
Сущность изобретения
Задача настоящего изобретения состоит в разработке контейнера для носителя такого продукта с относительно высокой вязкостью, как гель и т.п., содержащего молекулы, предназначенные для переноса методом ионтофореза, в котором устранены недостатки и ограничения, присущие известным в настоящее время традиционным контейнерам.
В более общем смысле, задача настоящего изобретения состоит в создании контейнера и распределительного устройства, подходящих для любого метода применения активных веществ, диспергированных в указанном носителе, с применением любого источника энергии.
Поставленная задача решается посредством устройства для чрескожного введения молекул, содержащихся в носителе продукта, включающего контейнер, дозатор для распределения продукта, энергоснабжающий элемент, соединенный с указанным дозатором, в котором согласно изобретению контейнер реверсивно соединен с распределительной камерой для продукта, имеющей распределительное отверстие, закрытое дозатором, причем энергоснабжающий элемент размещен в распределительной камере в непосредственной близости от дозатора.
Рассматриваемый контейнер содержит основной корпус и, если необходимо, распределительную камеру, в которой размещены указанный дозатор и в непосредственной близости от него энергоснабжающий элемент, причем указанная распределительная камера может быть реверсивно соединена с основным корпусом контейнера.
Целесообразным является то, что распределительная камера выполнена с возможностью разъединения с основным корпусом контейнера.
Указанный дозатор может быть выполнен в виде вращающегося элемента или кусочка фетра, или другого проницаемого материала, или может быть изготовлен из электропроводящего материала. В последнем случае может быть создан электрический контакт с указанным энергоснабжающим элементом с целью создания электрического потенциала непосредственно на эпидермисе.
Рассматриваемый контейнер может содержать сужающуюся часть, на конце которой располагаются указанный дозатор и указанный энергоснабжающий элемент, и/или такой контейнер может содержать, по крайней мере, частично гибкие стенки, позволяющие вручную оказывать давление на содержимое устройства для облегчения его распределения.
Предпочтительным является то, что отверстие для заполнения контейнера, предназначенного для одноразового использования, закрыто с помощью бокового сжатия, подобно тюбику с зубной пастой.
Перечень фигур чертежей
Сущность настоящего изобретения станет более понятной из текста описания и прилагаемых фигур чертежей, которые иллюстрируют пример технического решения изобретения, не ограничивающий его сферу.
На прилагаемых чертежах представлено:
фигура 1 – боковой вид устройства согласно первому варианту настоящего изобретения с частичным поперечным сечением;
фигура 2 – боковой вид устройства согласно фигуре 1 в сечении по плоскости II-II; и
фигуры 3-7 – соответствующие боковые виды устройств согласно другим вариантам настоящего изобретения.
Сведения, подтверждающие возможность осуществления изобретения
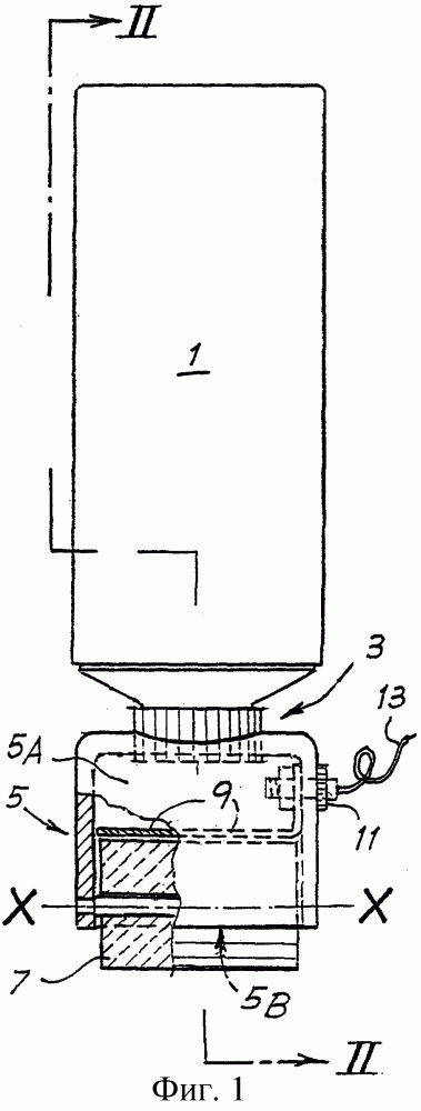
На фигурах 1 и 2 изображено устройство, содержащее цилиндрический контейнер 1 с резьбовым входным отверстием 3 для дозатора 7, образующие распределительную камеру 5А. Такая распределительная камера связана с контейнером 1 и имеет прямоугольное отверстие 5В, которое, за исключением минимального зазора, практически закрыто с помощью дозатора 7, выполненного в виде ролика, вращающегося вокруг собственной оси Х-Х. Внутри распределительной камеры закреплен энергоснабжающий элемент 9 в виде металлической скобы, располагающийся, главным образом, вблизи цилиндрической поверхности ролика, к которой может быть приложен электрический потенциал с помощью клеммы 11 и гибкого электрического проводника 13, причем указанный проводник соединен с подходящим источником электрической энергии.
В том случае, когда в контейнер помещают лечебный или другой продукт, диспергированный в носителе с высокой вязкостью, например в геле, устройство может поворачиваться в положение, указанное на фигурах 1 и 2. После присоединения клеммы 11 к источнику электроэнергии, рассматриваемое устройство может применяться на части тела пациента путем прокатывания на ней ролика. Таким образом, ролик, который в обычных условиях предотвращает свободный выход вязких компонентов контейнера 1, в данном случае наносит на указанную часть тела тонкий слой указанного носителя, содержащего лечебный продукт, активированный в результате подвода энергии.
Фигуры 3-7 изображают аналогичные устройства, в которых контейнеры 101, 201, 301, 401, 501 заполняют через основные отверстия 103, 203, 303, 403, 503, соответственно, после чего они снова могут быть закрыты с помощью завинчивающегося колпачка или крышки, которая защелкивается на корпусе контейнера, или, как изображено на фигуре 7, в результате бокового сжатия края отверстия и уплотнения, подобно тому, как это делают с тюбиком зубной пасты. В последнем случае имеют дело с устройством одноразового действия, поскольку его заполнение производится только один раз. Каждое из указанных устройств имеет распределительные камеры 105, 205, 305, 405, 505, диаметр которых уменьшается или сужается в направлении распределительных отверстий 105В, 205В, 305В, 405В, 505В таким образом, чтобы создавалась возможность обработки методом ионтофореза даже в ограниченных полостях, например, в полости рта. Кроме этого, устройства, представленные на фигурах 3, 6, 7, имеют соответствующие дозаторы 107, 407, 507 в виде ролика или шарика, как и в случаях, изображенных на фигурах 1 и 2, тогда как устройства, изображенные на фигурах 4 и 5, имеют соответствующие дозаторы 207, 307 в виде кусочков фетра, проницаемого средой носителя, которые обрезаны в виде конуса. Все представленные устройства включают энергоснабжающие элементы в виде лент 109, 209, 309, 409, 509, которые могут присоединяться с помощью проводника к источнику электрической энергии. Методика применения аналогична описанной для случая, представленного на фигуре 1.
Дозаторы 7, 107, 207, 307, 407, 507 могут быть изготовлены из электропроводящего материала, находящегося в электрическом соединении с соответствующими энергоснабжающими элементами 9, 109, 209, 309, 409, 509. В результате использования энергии с достаточно низким потенциалом для предотвращения вредного воздействия на пациента, рассматриваемая энергия может подводиться непосредственно в эпидермис пациента через пленку из применяемого продукта.
В каждом из описанных выше вариантов представленного изобретения может использоваться контейнер 1, 101, 201, 301, 401, 501 с тонкими гибкими пластмассовыми стенками, вследствие чего, в ходе применения, на содержимое контейнеров может оказываться вызванное воздействием руки давление, стимулирующее распределение.
Следует иметь в виду, что на фигурах представлены лишь примеры практической демонстрации изобретения, и настоящее изобретение может применяться в других формах с использованием других устройств, которые не нарушают главные принципы изобретения.
Формула изобретения
1. Устройство для чрескожного введения молекул, содержащихся в носителе продукта, включающее контейнер, дозатор для распределения продукта, энергоснабжающий элемент, соединенный с указанным дозатором, отличающееся тем, что контейнер реверсивно соединен с распределительной камерой для продукта, имеющей распределительное отверстие, закрытое дозатором, причем энергоснабжающий элемент размещен в распределительной камере в непосредственной близости от дозатора.
2. Устройство по п.1, отличающееся тем, что распределительная камера выполнена с возможностью разъединения с основным корпусом контейнера.
3. Устройство по п.1 или 2, отличающееся тем, что дозатор выполнен в виде вращающегося элемента.
4. Устройство по п.1 или 2, отличающееся тем, что дозатор представляет собой кусочек фетра.
5. Устройство по любому из пп.1, 2, 4, отличающееся тем, что контейнер имеет сужающуюся часть, на конце которой размещены дозатор и энергоснабжающий элемент.
6. Устройство по любому из пп.1-5, отличающееся тем, что контейнер содержит, по меньшей мере, частично гибкие стенки.
7. Устройство по п.6, отличающееся тем, что отверстие для заполнения контейнера, предназначенного для одноразового использования, закрыто с помощью бокового сжатия, подобно тюбику с зубной пастой.
8. Устройство по любому из пп.1-7, отличающееся тем, что дозатор выполнен из электропроводящего материала и электрически связан с энергоснабжающим элементом.
РИСУНКИ
MM4A – Досрочное прекращение действия патента СССР или патента Российской Федерации на изобретение из-за неуплаты в установленный срок пошлины за поддержание патента в силе
Дата прекращения действия патента: 21.03.2007
Извещение опубликовано: 20.07.2010 БИ: 20/2010
|
|