|
|
(21), (22) Заявка: 2003125466/09, 18.08.2003
(24) Дата начала отсчета срока действия патента:
18.08.2003
(45) Опубликовано: 20.01.2005
(56) Список документов, цитированных в отчете о поиске:
“РАДИОТЕХНИКА”, журнал, Москва, 2000, №2, с.51-53. SU 784609 А1, 28.02.1994. SU 1040966 А, 10.04.1996. SU 531426 А1, 19.06.1995. US 3760223 А, 18.09.1973. DE 1069790 А, 26.11.1959.
Адрес для переписки:
141190, Московская обл., г. Фрязино, ул. Вокзальная, 2А, ФГУП “НПП “Исток”, патентный отдел
|
(72) Автор(ы):
Пугнин В.И. (RU), Юнаков А.Н. (RU), Бурдина Т.Н. (RU)
(73) Патентообладатель(и):
Федеральное государственное унитарное предприятие “Научно-производственное предприятие “Исток” (RU)
|
(54) МНОГОЛУЧЕВОЙ ПРИБОР О-ТИПА
(57) Реферат:
Изобретение относится к электронной СВЧ-технике, а именно к мощным широкополосным многолучевым приборам О-типа, например к многолучевым клистронам.
Для увеличения выходной мощности многолучевого СВЧ-прибора О-типа в каждом активном резонаторе с рабочим видом колебаний H201 размещены по две многолучевые пролетные трубы, диаметр D каждой из которых выбран из условия
D=(0,4-0,45) ,
где – длина волны, соответствующая центральной частоте рабочей полосы прибора. При этом для увеличения КПД прибора предложено использовать входной и выходной активные резонаторы с несимметричным расположением пролетных труб относительно противоположных стенок этих резонаторов. Входной активный резонатор может быть соединен с вводом энергии непосредственно через входной волновод или через входной пассивный резонатор и входной волновод. Выходной активный резонатор может быть соединен с выводом энергии через один выходной пассивный резонатор и выходной волновод или через два выходных пассивных резонатора и входной волновод.
Размещение во всех активных резонаторах, в том числе в промежуточных резонаторах, по две многолучевые пролетные трубы позволяет упростить, по сравнению с прототипом, конструкцию прибора, а также упростить его настройку.
Техническим результатом является увеличение выходной мощности, улучшение технологичности, простота изготовления, сборки и настройки. 10 з.п. ф-лы, 3 ил.

Изобретение относится к электронной СВЧ-технике, а именно к мощным широкополосным многолучевым приборам О-типа, например к многолучевым клистронам (МЛК).
Важнейшим направлением развития усилительных клистронов является увеличение средней и импульсной выходной мощности, полосы рабочих частот при сохранении комплекса эксплуатационных характеристик прибора, таких как низкие питающие напряжения, малые массы и габариты и др. Одним из основных требований к клистрону с управлением по специальному электроду электронной пушки (сетке) является необходимость обеспечения высокой электрической прочности клистрона (минимального числа пробоев в пушке).
Известны мощные многолучевые клистроны с резонаторами на основном виде колебаний [1]. В таких клистронах электронные лучи проходят через отдельные пролетные каналы в общей пролетной трубе в тороидальном резонаторе. Низкопервеансные с малым током электронные лучи легче фокусируются, группируются и с большой эффективностью передают свою энергию высокочастотному полю. Выходная мощность образуется в результате суммирования мощностей, отдаваемых полю многими слаботочными лучами. В результате удается существенно уменьшить рабочее напряжение и в ряде случаев уменьшить габариты и массу клистрона и его источников питания. Кроме того, с увеличением суммарного первеанса может быть существенно увеличена полоса усиления такого клистрона.
Однако при создании клистронов с уровнем средней мощности более 10 кВт в средневолновой и коротковолновой части сантиметрового диапазона длин волн использование многолучевой конструкции с резонаторами на основном виде колебаний наталкивается на трудности, связанные с необходимостью решения противоречивых задач. Для обеспечения широкой полосы усиления необходимо уменьшать диаметр пролетной трубы, а для обеспечения большого уровня мощности, хорошего теплорассеяния, низкой плотности тока с катода и электропрочности необходимо увеличивать число лучей и диаметр пролетной трубы.
При использовании традиционных резонаторов тороидального типа максимальные размеры диаметра пролетной трубы составляют примерно половину рабочей длины волны. При этом парциальные лучи расположены по одной или более окружностям. Большой диаметр пролетной трубы приводит к изменению амплитуды электрического поля по радиусу. Это приводит к снижению эффективности взаимодействия электронного потока и к неоднородности модуляции электронных лучей во внешних и во внутренних рядах пролетных каналов, а следовательно, к падению КПД.
При уменьшении рабочей длины волны клистрона допустимый диаметр пролетной трубы соответственно уменьшается. Также уменьшается достижимая величина импульсной и средней мощности, при сохранении требуемой электропрочности.
Электропрочность определяется рядом факторов – величиной напряженности электрического поля в межэлектродных промежутках электронной пушки, качеством поверхности электродов, уровнем вакуума в приборе и т.д. Величина напряженности электрического поля, зависит от первеанса одного луча и величины ускоряющего напряжения, которые при известном числе лучей полностью определяют выходную мощность клистрона [1].
Известна конструкция клистрона средней мощности имеющего в общей вакуумной оболочке два парциальных МЛК [2]. Входные и выходные резонаторы парциальных МЛК попарно связаны между собой, образуя входной и выходной активные резонаторы клистрона (двухтрубные резонаторы), а промежуточные резонаторы (однотрубные резонаторы) парциальных МЛК не связаны с соседними резонаторами. Все резонаторы являются двухзазорными коаксиальными (работающими на противофазном виде). Такая конструкция позволяет иметь более широкую полосу частот по сравнению с однозазорными резонаторами. Однако диаметр пролетной трубы в таком типе резонаторов может быть не более четверти длины волны, что ограничивает уровень выходной мощности каждого парциального МЛК. Обеспечение большого уровня выходной мощности так же невозможно из-за трудности теплоотвода от средних перемычек двухзазорных резонаторов. Данная конструкция имеет уровень выходной импульсной мощности порядка 15 кВт в полосе 500 МГц и КПД прибора ~15%.
Используемые в такой конструкции клистрона двухтрубные входные и выходные резонаторы имеют повышенную чувствительность распределения электрического поля к неоднородностям, возникающим при нагрузке входного и выходного резонаторов, что снижает КПД клистрона.
Задачей изобретения является создание многолучевого импульсного многорезонаторного прибора O-типа (например, клистрона) с увеличенной выходной мощностью (импульсной и средней) в достаточно широкой полосе частот и с высоким КПД.
В предлагаемом изобретении увеличение выходной мощности прибора достигается путем выбора заданной величины диаметра пролетной трубы активных резонаторов. При этом предлагаемая конструкция обеспечивает высокий КПД в заданной полосе частот. Дополнительное увеличение КПД обеспечивается путем выравнивания воздействующего на лучи электрического поля входного и выходного активных резонаторов, что достигается несимметричным расположением пролетных труб в этих резонаторе.
Предлагается многолучевой прибор O-типа, содержащий электронную пушку, ввод и вывод энергии, коллектор и электродинамическую систему, включающую входной и выходной активные резонаторы, в каждом из которых размещены по две многолучевые пролетные трубы, промежуточные активные резонаторы и первый выходной пассивный резонатор, электромагнитно связанный с выходным активным резонатором, при этом входной, выходной и промежуточные активные резонаторы, в каждом из которых размещены по две многолучевые пролетные трубы, выполнены в виде отрезков волноводов с рабочим видом колебаний Н201 а диаметр D каждой многолучевой пролетной трубы выбран из условия
D=(0,4-0,45) ,
где – длина волны, соответствующая центральной частоте рабочей полосы прибора.
В предлагаемом изобретении входной активный резонатор электромагнитно связан с входным волноводом через щель связи, выполненную в их общей стенке, расположенной перпендикулярно плоскости, проходящей через оси обеих пролетных труб входного активного резонатора, при этом наименьшее расстояние от стенки входного активного резонатора с щелью связи до поверхности многолучевой пролетной трубы может быть в 2-2,5 раза меньше, чем наименьшее расстояние от противоположной стенки входного активного резонатора до поверхности многолучевой пролетной трубы.
В предлагаемом изобретении входной активный резонатор электромагнитно связан с входным пассивным резонатором, выполненным в виде отрезка прямоугольного волновода с рабочим видом колебаний H201, через две щели связи, которые выполнены в их общей стенке, размещенной параллельно плоскости, проходящей через оси обеих многолучевых пролетных труб входного активного резонатора и расположены напротив центров многолучевых пролетных труб входного активного резонатора, при этом наименьшее расстояние от стенки входного активного резонатора со щелями связи до поверхности многолучевой пролетной трубы может быть в 2-2,5 раза меньше, чем наименьшее расстояние от противоположной стенки входного активного резонатора до поверхности многолучевой пролетной трубы.
В последних двух случаях входной пассивный резонатор электромагнитно связан с входным волноводом через щель связи в их общей стенке, при этом щель связи смещена относительно оси входного пассивного резонатора.
В предлагаемом изобретении первый выходной пассивный резонатор выполнен в виде отрезка прямоугольного волновода с рабочим видом колебаний Н201, при этом первый выходной пассивный резонатор электромагнитно связан с выходным активным резонатором через две щели связи, которые выполнены в их общей стенке, расположенной параллельно плоскости, проходящей через оси обеих многолучевых пролетных труб выходного активного резонатора, при этом наименьшее расстояние от стенки выходного активного резонатора с щелью связи до поверхности многолучевой пролетной трубы может быть в 2-2,5 раза меньше, чем наименьшее расстояние от противоположной стенке выходного активного резонатора до поверхности многолучевой пролетной трубы.
Первый выходной пассивный резонатор может быть электромагнитно связан с выходным волноводом через щель связи в их общей стенке, при этом щель связи смещена относительно оси первого выходного пассивного резонатора.
Первый выходной пассивный резонатор может быть связан со вторым выходным пассивным резонатором через, по крайней мере, одну щель связи (например, через щель связи, которая смещена относительно оси первого выходного пассивного резонатора), выполненную в общей стенке этих резонаторов, при этом второй выходной пассивный резонатор электромагнитно связан с выходным волноводом через щель связи в их общей стенке.
Использование в изобретении однозазорных активных резонаторов, каждый из которых выполнен в виде отрезка волновода с рабочим видом колебаний Н201, в отличие от двухзазорных коаксиальных резонаторов прототипа, позволяет выполнить каждую пролетную трубу с диаметром более четверти длины волны, что дает возможность увеличить количество лучей и, соответственно, выходную мощность прибора при сохранении требуемой электропрочности.
Размещение во всех активных резонаторах, в том числе в промежуточных резонаторах, по две многолучевые пролетные трубы позволяет упростить, по сравнению с прототипом, конструкцию прибора, а также упростить его настройку.
Расчетные и экспериментальные данные показали, что в предлагаемой конструкции прибора диаметр каждой пролетных труб D должен находиться в пределах 0,4-0,45 длины волны, соответствующей центральной частоте рабочей полосы прибора. Увеличение диаметра пролетной трубы более 0,45 указанной длины волны приводит к большой неравномерности распределения электрического поля в каналах пролетных труб и, соответственно, уменьшению кпд и коэффициента усиления клистрона, что приводит к уменьшению выходной мощности. Уменьшение диаметра пролетной трубы менее 0,4 указанной длины волны приводит к невозможности размещения в пролетной трубе достаточного числа лучей (необходимого для обеспечения выходной мощности), что не позволяет обеспечить высокую электропрочность и долговечность прибора при больших уровнях выходной мощности. Конкретное значение диаметра пролетной трубы прибора выбирается из указанного интервала значений с учетом наиболее плотной упаковки каналов в пролетной трубе, которая в свою очередь выбирается исходя из требуемых диаметров и количества каналов, а также из заданного диапазона рабочих частот.
Входной активный резонатор электромагнитно связан с входным волноводом непосредственно или (для увеличения коэффициента усиления) через пассивный входной резонатор. Входной волновод соединен с вводом энергии.
Несимметричное расположение пролетных труб относительно противоположных стенок входного активного резонатора приводит к уменьшению неравномерности электрического поля в каналах пролетных труб, что позволяет увеличить коэффициент усиления прибора и его КПД.
Для обеспечения широкополосности прибора выходной активный резонатор электромагнитно связан с выходным волноводом через один или (для обеспечения большей рабочей полосы прибора) два последовательно соединенных пассивных резонатора. Выходной волновод соединен с выводом энергии.
Несимметричное расположение пролетных труб относительно противоположных стенок выходного активного резонатора приводит к уменьшению неравномерности электрического поля в каналах пролетных труб, что позволяет увеличить КПД прибора.
Изобретение поясняется чертежами.
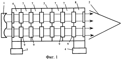
На фиг.1 схематично изображен многолучевой многорезонаторный клистрон.
На фиг.2а и 2б изображены варианты выполнения входного активного резонатора с несимметричным расположением пролетных труб относительно его противоположных стенок (фиг.2а – входной активный резонатор с входным волноводом, фиг.2б – входной активный резонатор с входным пассивным резонатором и входным волноводом).
а фиг.3 изображен выходной активный резонатор с двумя выходными пассивными резонаторами и выходным волноводом.
Многолучевой многорезонаторный клистрон, схематично изображенный на фиг.1, содержит электронную пушку 1, коллектор 2, ввод энергии 3, вывод энергии 4 и электродинамическую систему 5, включающую входной активный резонатор 6, промежуточные активные резонаторы 7 и выходной активный резонатор 8, каждый из которых содержит пролетные трубы 9.
На фиг.2а изображен входной активный резонатор 6, электромагнитно связан непосредственно с входным волноводом 10 через щель связи 11 в их общей стенке 12, расположенной перпендикулярно плоскости, проходящей через оси обеих пролетных труб 9.
На фиг.2б изображен входной активный резонатор 6, электромагнитно связан с входным пассивным резонатором 13 через две щели связи 14 в их общей стенке 15, расположенной параллельно плоскости, проходящей через оси обеих пролетных труб 9, причем щели связи 14 расположены напротив центров пролетных труб 9. Входной пассивный резонатор электромагнитно связан с входным волноводом 10 через щель связи 16 в их общей стенке 17, причем щель связи 16 смещена относительно оси входного пассивного резонатора.
Для повышения равномерности распределения электрического поля в пролетных трубах входного активного резонатора предлагается располагать пролетные трубы 9 ближе к щелям связи 11 (фиг.2а) или 14 (фиг.2б) так, чтобы расстояние от стенки 12 или 15 со щелями связи до пролетной трубы 9 было меньше, чем расстояние от соответствующей противоположной стенки входного активного резонатора 6 до пролетной трубы 9. Экспериментально показано, что введение указанной несимметрии, при которой наименьшее расстояние L1 (фиг.2а) или L11 (фиг.2б) от стенки входного активного резонатора с щелью связи до пролетной трубы в 2-2,5 раза меньше чем наименьшее расстояние L2 (фиг.2а) или L21 (фиг.2б) от противоположной стенки входного активного резонатора до пролетной трубы, позволяет уменьшить перепад волнового сопротивления ( max/ min) в пролетных трубах с 2,5-3,2 раз (при симметричном расположении пролетных труб относительно противоположных стенок резонатора) до 1,2-1,5 раз.
На фиг.3 изображен выходной активный резонатор 8, электромагнитно связан с первым выходным пассивным резонатором 18 (с рабочим видом колебаний Н201) через две щели связи 19 в их общей стенке 20, расположенной параллельно плоскости, проходящей через оси обеих пролетных труб 9, причем щели связи 19 расположены напротив центров пролетных труб 9, так как любое смещение положения щелей связи 19 по относительно центров пролетных труб приводит к уменьшению величины связи выходного активного и первого выходного пассивного резонаторов. Первый выходной пассивный резонатор 18 электромагнитно связан со вторым выходным пассивным резонатором 21 (с рабочим видом колебаний Н101) через щель связи 22 в их общей стенке 23, причем щель связи 22 смещена относительно оси первого выходного пассивного резонатора 18, так как симметричное расположение щели 22 связи относительно оси резонатора 18 не позволяет обеспечить связь с резонатором 21. Второй выходной пассивный резонатор 21 электромагнитно связан с выходным волноводом 24 через щель связи 25 в их общей стенке 26.
Для повышения равномерности распределения электрического поля в пролетных трубах выходного активного резонатора предлагается располагать пролетные трубы 9 ближе к щелям связи 19 так, чтобы расстояние от стенки 20 с щелями связи 19 до пролетной трубы 9 было меньше, чем расстояние от противоположной стенки выходного активного резонатора 8 до пролетной трубы 9. Введение указанной несимметрии, при которой наименьшее расстояние L111 от стенки 20 выходного активного резонатора 8 со щелями связи 19 до пролетной трубы 9 в 2-2,5 раза меньше чем наименьшее расстояние L211 от противоположной резонатора 8 до пролетной трубы 9, также позволяет уменьшить перепад волнового сопротивления ( max/ min) в пролетных трубах с 2,5-3,2 раз (при симметричном расположении пролетных труб относительно противоположных стенок резонатора) до 1,2-1,5 раз.
Клистрон, схематично изображенный на фиг.1, работает следующим образом. Входная СВЧ-мощность поступает на ввод энергии 3 и возбуждает во входном активном резонаторе 6 СВЧ-колебания. При этом СВЧ-энергия подводится от ввода энергии 3 к резонатору 6 либо непосредственно через входной волновод 10 (фиг.2а), либо через последовательно соединенные входной волновод 10 и входной пассивный резонатор 13 (фиг.2б). Электронные лучи, проходя через входной активный резонатор 6 модулируются по скорости СВЧ-энергией. В пролетных многолучевых трубах 9 ускоренные электроны догоняют более медленные. В промежуточных активных резонаторах 7 электронные лучи наводят СВЧ-поле, которое в свою очередь дополнительно модулирует электронные лучи. В результате этого происходит группировка электронных лучей в сгустки. Отбор энергии от электронных лучей происходит в выходном активном резонаторе 8 путем торможения сгустков электронов в высокочастотном поле этого резонатора. Усиленная СВЧ-мощность из выходного активного резонатора 8 выводится из клистрона через вывод энергии 4. При этом СВЧ-энергия поступает от резонатора 8 к выводу энергии 4 либо через первый выходной пассивный резонатор 18 и выходной волновод 24, либо через два последовательно соединенных выходных пассивных резонатора 18 и 22 и выходной волновод 24 (фиг.3).
Предлагаемая конструкция опробована в экспериментальном мощном широкополосном клистроне (содержащем семь активных резонаторов, с рабочим видом колебаний Н201 и диаметром каждой пятнадцатилучевой пролетной трубы 0,43 длины волны, соответствующей, центральной частоте рабочей полосы прибора и два пассивных выходных резонатора расположенных согласно фиг.3), работающем в средневолновой части сантиметрового диапазона со средней выходной мощностью 12 кВт, полосой частот 200 МГц, коэффициентом усиления 40 дБ.
Получены следующие результаты:
– обеспечен уровень выходной импульсной мощности порядка 600 кВт в полосе 200 МГц при высокой электрической прочности в средней части сантиметрового диапазона. В ранее существовавших конструкциях не удавалось достичь такого комплекса параметров;
– коэффициент полезного действия клистрона увеличился по сравнению с аналогами с 30 до 40%. Прототип имеет КПД около 15% в полосе 500 МГц в коротковолновой части сантиметрового диапазона.
Предлагаемая конструкция может быть широко использована при создании мощных широкополосных приборов O-типа (например, клистронов) для применения в радиоэлектронной аппаратуре.
Источники информации
1. В.И.Пугнин. Оценка предельной мощности многолучевых клистронов с резонаторами на основном виде колебаний для современных РЛС. Радиотехника, 2000 г., №2, стр.43-50.
2. А.А.Тув. Трехсантиметровый мощный широкополосный низковольтный многолучевой усилительный клистрон двухствольной конструкции. Радиотехника, 2000 г., №2, стр.51-53.
Формула изобретения
1. Многолучевой прибор О-типа, содержащий электронную пушку, ввод и вывод энергии, коллектор и электродинамическую систему, включающую входной и выходной активные резонаторы, в каждом из которых размещены по две многолучевые пролетные трубы, промежуточные активные резонаторы и первый выходной пассивный резонатор, электромагнитно связанный с выходным активным резонатором, отличающийся тем, что входной, выходной и промежуточные активные резонаторы, в каждом из которых размещены по две многолучевые пролетные трубы, выполнены в виде отрезков волноводов с рабочим видом колебаний Н201, а диаметр D каждой многолучевой пролетной трубы выбран из условия D=(0,4÷0,45) , где – длина волны, соответствующая центральной частоте рабочей полосы прибора.
2. Многолучевой прибор О-типа по п.1, отличающийся тем, что входной активный резонатор электромагнитно связан с входным волноводом через щель связи, выполненную в их общей стенке, расположенной перпендикулярно плоскости, проходящей через оси обеих пролетных труб входного активного резонатора.
3. Многолучевой прибор О-типа по п.2, отличающийся тем, что наименьшее расстояние от стенки входного активного резонатора с щелью связи до поверхности многолучевой пролетной трубы в 2÷2,5 раза меньше, чем наименьшее расстояние от противоположной стенки входного активного резонатора до поверхности многолучевой пролетной трубы.
4. Многолучевой прибор О-типа по п.1, отличающийся тем, что входной активный резонатор электромагнитно связан с входным пассивным резонатором, выполненным в виде отрезка прямоугольного волновода с рабочим видом колебаний Н201, через две щели связи, которые выполнены в их общей стенке, размещенной параллельно плоскости, проходящей через оси обеих многолучевых пролетных труб входного активного резонатора, и расположены напротив центров многолучевых пролетных труб входного активного резонатора.
5. Многолучевой прибор О-типа по п.4, отличающийся тем, что наименьшее расстояние от стенки входного активного резонатора со щелями связи до поверхности многолучевой пролетной трубы в 2-2,5 раза меньше, чем наименьшее расстояние от противоположной стенки входного активного резонатора до поверхности многолучевой пролетной трубы.
6. Многолучевой прибор О-типа по п.4 или 5, отличающийся тем, что входной пассивный резонатор электромагнитно связан с входным волноводом через щель связи в их общей стенке, при этом щель связи смещена относительно оси входного пассивного резонатора.
7. Многолучевой прибор О-типа по п.1, отличающийся тем, что первый выходной пассивный резонатор выполнен в виде отрезка прямоугольного волновода с рабочим видом колебаний H201, при этом первый выходной пассивный резонатор электромагнитно связан с выходным активным резонатором через две щели связи, которые выполнены в их общей стенке, расположенной параллельно плоскости, проходящей через оси обеих многолучевых пролетных труб выходного активного резонатора.
8. Многолучевой прибор О-типа по п.7, отличающийся тем, что наименьшее расстояние от стенки выходного активного резонатора с щелью связи до поверхности многолучевой пролетной трубы в 2÷2,5 раза меньше, чем наименьшее расстояние от противоположной стенки выходного активного резонатора до поверхности многолучевой пролетной трубы.
9. Многолучевой прибор О-типа по п.7 или 8, отличающийся тем, что первый выходной пассивный резонатор электромагнитно связан с выходным волноводом через щель связи в их общей стенке, при этом щель связи смещена относительно оси первого выходного пассивного резонатора.
10. Многолучевой прибор О-типа по п.7 или 8, отличающийся тем, что первый выходной пассивный резонатор электромагнитно связан со вторым выходным пассивным резонатором через, по крайней мере, одну щель связи, выполненную в общей стенке этих резонаторов, при этом второй выходной пассивный резонатор электромагнитно связан с выходным волноводом через щель связи в их общей стенке.
11. Многолучевой прибор О-типа по п.10, отличающийся тем, что первый выходной пассивной резонатор электромагнитно связан со вторым выходным пассивным резонатором через щель связи, которая смещена относительно оси первого выходного пассивного резонатора.
РИСУНКИ
|
|