|
|
(21), (22) Заявка: 2002135338/06, 27.12.2002
(24) Дата начала отсчета срока действия патента:
27.12.2002
(43) Дата публикации заявки: 20.08.2004
(45) Опубликовано: 20.01.2005
(56) Список документов, цитированных в отчете о поиске:
Проспект фирмы НЕТЦШ Насосы НЕМО для нефтяного и газового промыслов – на море или на суше, 1992, Насосы НЕМО для откачивания водонефтепесчаных смесей – для обслуживания скважин. RU 2059112 C1, 27.04.1996. RU 2059111 C1, 27.04.1996. RU 2123137 C1, 10.12.1998. CA 1180594 A1, 08.01.1985. CA 2350047 A1, 09.12.2001. JP 60156989 A, 17.08.1985. US 4669961 A, 02.06.1987.
Адрес для переписки:
423452, Татарстан, г. Альметьевск, ГОС-2, а/я 324, ООО “Поиск”
|
(72) Автор(ы):
Козлов М.Т. (RU), Котин А.П. (RU), Шушков А.А. (RU), Шушков А.А. (RU)
(73) Патентообладатель(и):
ОБЩЕСТВО С ОГРАНИЧЕННОЙ ОТВЕТСТВЕННОСТЬЮ “ПОИСК” (RU)
|
(54) СКВАЖИННАЯ НАСОСНАЯ УСТАНОВКА
(57) Реферат:
Изобретение относится к насосным установкам, предназначенным для подъема жидкости из глубоких скважин. Установка включает погружной насос, колонну напорных труб, приводной вал, состоящий из насосных штанг, концы которых снабжены шлицами и установлены внутри соединительных муфт. Последние выполнены в виде втулки с внутренней цилиндрической кольцевой выборкой в средней части и сквозными продольными пазами на концевых участках по количеству шлицов насосных штанг и глухими пазами, расположенными между сквозными, причем глухие пазы выполнены открытыми со стороны, обращенной к цилиндрической кольцевой выборке, и сквозными в радиальном направлении. Повышается эксплуатационная надежность, снижаются эксплуатационные расходы и упрощается конструкция. 5 ил.

Изобретение относится к насосостроению, а именно к насосным установкам, предназначенным для подъема жидкости из глубоких скважин, преимущественно из нефтяных, оборудованных винтовыми насосами.
Известна насосная установка, содержащая погружной насос, колонну напорных труб с фланцами, приводной вал, состоящий из насосных штанг с резьбовыми концами и муфтами, уплотнение, подшипник и привод (Каталог Производственного объединения “Молдавгидромаш” Скважинные насосные установки для воды. Москва: ЦИНТИХИМНЕФНЕМАШ, 1973, с.29, 36).
Наиболее близкой по технической сущности к предлагаемой является насосная установка, включающая погружной винтовой насос, колонну напорных труб, приводной вал, состоящий из насосных штанг, соединительные муфты, опоры, устьевое уплотнение, опорный подшипник и привод (Проспект фирмы НЕТЦШ Насосы НЕМО для нефтяного и газового промыслов – на море или на суше, 1992, Насосы НЕМО для откачивания водонефтепесчаных смесей – для обслуживания скважин).
Недостатками устройств как по аналогу, так и прототипу являются:
– неудовлетворительная эксплуатационная надежность, обусловленная нарушением резьбовых соединений насосных штанг вследствие больших осевых сил на витки резьб, возникающих при пуске насосной установки;
– значительные эксплуатационные расходы, обусловленные необходимостью затрат большого количества подготовительного и машинного (технологического) времени для соединения и рассоединения насосных штанг;
– сложность конструкции, обусловленная наличием устройства, предотвращающего вращение насосных штанг в обратную сторону.
Задачей изобретения является создание насосной установки, обладающей повышенной эксплуатационной надежностью, малыми эксплуатационными расходами и упрощенной конструкцией.
Указанная задача решается предлагаемой скважинной насосной установкой, включающей погружной винтовой насос, колонну напорных труб, приводной вал, состоящий из насосных штанг, соединительные муфты и опоры, устьевое уплотнение, опорный подшипник и привод.
Новым является то, что концы насосных штанг приводного вала снабжены шлицами и установлены внутри соединительных муфт, каждая из которых выполнена в виде втулки с внутренней цилиндрической кольцевой выборкой в средней части и продольными сквозными пазами на концевых участках по количеству шлицов насосных штанг и глухими пазами, расположенными между сквозными, причем глухие пазы выполнены открытыми со стороны, обращенной к цилиндрической кольцевой выборке, и сквозными в радиальном направлении.
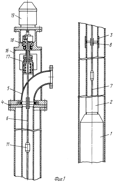
На фиг.1 изображена предлагаемая насосная установка в продольном разрезе.
На фиг.2 – узел соединения насосных штанг в продольном разрезе.
На фиг.3 – разрез насосной штанги по шлицевому сечению.
На фиг.4 – продольный разрез соединительной муфты.
На фиг.5 – разрез по А-А и Б-Б фиг.4.
Насосная установка состоит из глубинного погружного винтового насоса 1 (фиг.1), колонны напорных труб 2 (насосно-компрессорные трубы) с муфтами 3, подсоединенной на устье скважины к опорному фланцу 4 и отводному колену 5. Вал насоса соединен с приводным валом 6, состоящим из полых насосных штанг 7, опирающихся на опоры 8, установленные в напорных трубах 2. Концы насосных штанг 9 (фиг.2) выполнены цельными, приварены к полой части штанг, снабжены шлицами 10 (не менее двух) (фиг.3) и установлены внутри соединительных муфт 11. Последние выполнены в виде втулки с внутренней цилиндрической кольцевой выборкой 12 в средней части (фиг.4), сквозными продольными пазами 13 на концевых участках по количеству шлицов насосных штанг и глухими пазами 14, расположенными между сквозными (фиг.5). Глухие пазы выполнены открытыми со стороны, обращенной к цилиндрической кольцевой выборке, и сквозными в радиальном направлении. Последнее диктуется возможностями изготовления.
На устье скважины в кожухе 15 (фиг.1), установленном на опорном фланце 4, находится устьевое уплотнение 16, опорный подшипник 17, а сверху на кожухе – привод насоса 18, с которым соединен приводной вал 6.
Спуск установки в скважину осуществляется следующим образом.
На устье скважины соединяют первую (нижнюю) насосную штангу 7 с валом насоса 1 и первую (нижнюю) напорную трубу 2 с корпусом насоса и муфтой, спускают в скважину на глубину первой трубы и устанавливают на устье на хомуте. Затем устанавливают первую опору 8 и вводят на конец первой насосной штанги соединительную муфту 11, опуская ее по сквозным пазам 13 до положения шлицов 10 напротив кольцевой выборки 12, поворачивают муфту 11 до совмещения с нижними глухими пазами 14 и приподнимают ее до упора шлицов в нижние уступы 19. После этого на хомуте приподнимают вторую насосную штангу со второй напорной трубой и муфтой, нижний конец насосной штанги вводят сверху в соединительную муфту до совмещения ее шлицов с кольцевой выборкой и поворачивают штангу до совмещения с верхними глухими пазами, приподнимают ее до упора шлицов в верхние уступы 20 – соединение готово. Затем заворачивают вторую напорную трубу. Все последующие напорные штанги и напорные трубы соединяют аналогичным образом.
На устье скважины последнюю напорную трубу устанавливают на обсадную колонну и соединяют с отводным коленом 5, а последнюю насосную штангу – с валом привода 18.
При вращении вала привода 18 (электродвигателя) первая насосная штанга сверху 6 через посредство шлицов, воздействуя на боковые стенки глухих пазов, передает крутящий момент смежной насосной штанге через ее шлицы. На последующие насосные штанги крутящий момент передается аналогичным образом.
Погружной насос 1, получая вращение от насосных штанг, подает перекачиваемую жидкость с забоя скважины под давлением в напорные трубы, которая, достигнув устья скважины, через отводное колено 5 направляется в наземный трубопровод.
Применение предлагаемой установки позволит:
– снизить эксплуатационные расходы благодаря резкому сокращению времени на соединение и рассоединение насосных штанг;
– повысить эксплуатационную надежность благодаря тому, что передача крутящего момента от первой насосной штанги до вала насоса происходит нерезко вследствие того, что между предыдущей и последующей насосными штангами имеет место окружное смещение, что приводит к плавной передаче крутящего момента от привода к насосу;
– упростить конструкцию благодаря исключению из нее тормозного устройства (в предлагаемом устройстве вращение вала привода может осуществляться в ту или другую сторону).
Формула изобретения
Скважинная насосная установка, включающая погружной винтовой насос, колонну напорных труб, приводной вал, состоящий из насосных штанг, соединительные муфты и опоры, устьевое уплотнение, опорный подшипник и привод, отличающаяся тем, что концы насосных штанг приводного вала снабжены шлицами и установлены внутри соединительных муфт, каждая из которых выполнена в виде втулки с внутренней цилиндрической кольцевой выборкой в средней части и продольными сквозными пазами на концевых участках по количеству шлицов насосных штанг и глухими пазами, расположенными между сквозными, причем глухие пазы выполнены открытыми со стороны, обращенной к цилиндрической кольцевой выборке, и сквозными в радиальном направлении.
РИСУНКИ
MM4A Досрочное прекращение действия патента Российской Федерации на изобретение из-за неуплаты в установленный срок пошлины за поддержание патента в силе
Дата прекращения действия патента: 28.12.2004
Извещение опубликовано: 27.12.2006 БИ: 36/2006
|
|