|
|
(21), (22) Заявка: 2002117463/06, 02.07.2002
(24) Дата начала отсчета срока действия патента:
02.07.2002
(43) Дата публикации заявки: 27.01.2004
(45) Опубликовано: 20.01.2005
(56) Список документов, цитированных в отчете о поиске:
ЯКОБСОН В.Б. Малые холодильные машины, Москва, Пищевая промышленность, 1977, с.94, р.52. SU 941811 A, 17.07.1982. SU 347449 A, 21.09.1972. US 5039285 A, 13.08.1991. US 4865527 A, 12.09.1989.
Адрес для переписки:
309250, Белгородская обл., г. Шебекино, ул. Матросова, 4, С.Г. Жуку
|
(72) Автор(ы):
Жук Сергей Григорьевич (UA), Морокко Виталий Виленович (UA), Белоус Василий Дмитриевич (UA), Засядько Вадим Александрович (UA)
(73) Патентообладатель(и):
Закрытое акционерное общество “РУСХОЛ” (RU)
|
(54) ГЕРМЕТИЧНЫЙ КОМПРЕССОР
(57) Реферат:
Устройство предназначено для использования в области холодильного машиностроения в герметичном компрессоре, в кожухе которого в верхней его части установлен приводной электродвигатель. Герметичный компрессор содержит электродвигатель, расположенный в верхней части кожуха, который снабжен всасывающим патрубком. Электродвигатель соединен с цилиндрами компрессора, размещенными в нижней части кожуха, посредством вала, с которым жестко соединен ротор электродвигателя. На верхнем торце ротора имеется кольцевой буртик. Поверхность буртика, обращенная к вертикальной оси ротора, выполнена конической формы. Компрессор содержит глушитель, который расположен над ротором и с которым соединены всасывающие трубки, каждая из которых своим другим концом соединена с соответствующим цилиндром. К дну глушителя жестко прикреплена обечайка, которая может иметь цилиндрическую или коническую форму. Нижняя часть обечайки размещена внутри кольцевого буртика с зазором относительно него и относительно торцевой поверхности ротора. При этом кольцевой зазор между обечайкой и кольцевым буртиком выполнен суживающимся по направлению к верхнему торцу ротора и имеет площадь в самом узком месте, т.е. между нижним краем обечайки и кольцевым буртиком, равную 110-130% площади поперечного сечения всасывающего патрубка. Обеспечивается эффективная сепарация жидкой фракции от газообразного хладагента в пусковых режимах без усложнения конструкции герметичного компрессора. 3 з.п. ф-лы, 4 ил.

Изобретение относится к области холодильного машиностроения, в частности к герметичным компрессорам, в кожухе которого в верхней его части установлен приводной электродвигатель.
Известно, что после каждой остановки герметичного компрессора, в котором всасывание осуществляется из внутреннего пространства кожуха (из-под кожуха), в результате повышения давления и понижения температуры повышается растворимость хладагента в масле. Последующий пуск герметичного компрессора сопровождается выделением пара в результате чего масло вспенивается. Вспененная смесь заполняет, как правило, весь внутренний объем кожуха герметичного компрессора. Для предотвращения гидравлического удара необходимо отделить жидкую фракцию (например, капельки масла) от газообразного хладагента из вспененной смеси.
Известен герметичный компрессор, содержащий электродвигатель, который установлен в верхней части кожуха. Ротор электродвигателя жестко соединен (или посажен) с вертикально расположенным валом компрессора. Между верхней частью двигателя и внутренней поверхностью кожуха имеется камера, ограниченная сторонами под углом в 45° относительно вертикальной оси ротора электродвигателя (п. США №4396361 от 01.01.79, МКИ5: F01C 1/16, F01C 21/06).
В вышеописанном аналоге ротор электродвигателя функционирует как центрифуга для отделения масла от хладагента после его сжатия в компрессоре, т.е. для уменьшения содержания масла в хладагенте, который нагнетается далее в конденсатор холодильной системы.
Однако в известном герметичном компрессоре не предусмотрены средства для сепарации масла из всасываемого хладагента.
Известен герметичный компрессор, в котором для предотвращения гидравлического удара обеспечивается сепарация жидкой фракции (масла), захваченной хладагентом (пат. США №3807907 от 23.07.73, МКИ3: F 04 В 17/00).
Известный герметичный компрессор содержит электродвигатель, который установлен в верхней части кожуха над собственно компрессором, который размещен в корпусе. Вокруг верхней части статора установлена секционированная обойма, которая плотно соединена с верхней частью опорной детали, которой снабжен корпус компрессора, и на которую опирается статор электродвигателя. В верхней части секционированной обоймы имеется внутренний фланец, граничащий с относительно большим нейтральным отверстием, ведущим во внутреннюю полость секционированной обоймы из внутренней полости кожуха. Обладающий пружинными свойствами тарельчатый экран перекрывает центральное отверстие, ведущее во внутреннюю полость секционированной обоймы. Тарельчатый экран прикреплен прихваточными сварными швами к внутреннему фланцу секционированной обоймы. Основная площадь перекрывающей фланец детали расположена над фланцем, создавая при этом горизонтальный кольцевой проход для всасываемого хладагента. Фланец охвачен по наружному контуру выпуклым буртиком, который образован сжатой верхней частью секционированной обоймы.
Масло и (или) жидкий хладагент, которые могут захватываться рециркулирующим всасываемым газообразным хладагентом, выпадают в зоне масляного поддона, расположенного на дне кожуха. Однако, если часть капелек уносится вверх (в том числе в пусковых режимах, когда масло вспенивается и заполняет кожух) и движется радиально внутрь по направлению к центральному отверстию, то под действием инерции они (капельки) будут отклоняться от входа буртиком. При этом практически очищенный хладагент поступает внутрь секционированной обоймы. Кроме того, хладагент внутрь секционированной обоймы подается по извилистому каналу, образованному буртиком секционированной обоймы, фланцем и тарельчатым экраном. Поток хладагента, проходя по этому каналу, несколько раз меняет свое направление, что также способствует сепарации масла от хладагента.
Однако использование этого изобретения в компрессоре, приводит к усложнению конструкции последнего, и, следовательно, к снижению надежности его работы, а также к увеличению его (компрессора) габаритов.
Наиболее близким к заявляемому изобретению по технической сущности и достигаемому техническому результату является герметичный компрессор фирмы “Текумсе” (В.Б.Якобсон. “Малые холодильные машины”. М., изд. “Пищевая промышленность”, 1977 г., с.94).
В верхней части кожуха герметичного компрессора расположен электродвигатель, который соединен с цилиндрами компрессора, размещенными в нижней части кожуха, с помощью вала, с которым жестко соединен ротор электродвигателя. На верхнем торце ротора имеется кольцевой буртик. Поверхность буртика, обращенная к вертикальной оси ротора, выполнена конической формы. К кольцевому буртику ротора жестко прикреплена крыльчатка, например отлита вместе с ротором. Всасывающие трубки сообщаются с полостью, расположенной над ротором, и соединены с глушителем, крышка которого является одновременно крышкой цилиндра компрессора. Кожух имеет всасывающий патрубок, который сдвинут в направлении вращения ротора относительно всасывающих трубок.
Всасываемый хладагент проходит из полости над ротором по всасывающим трубкам, в глушитель и далее к всасывающим клапанам цилиндров.
В пусковых режимах вспененная смесь заполняет все внутреннее пространство кожуха компрессора. Капли жидкости, находящиеся по периферии крыльчатки, под действием центробежных сил отбрасываются по направлению к стенкам кожуха и стекают на дно кожуха, не попадая во всасывающие трубки. Вспененная смесь, которая заполняет все внутреннее пространство кожуха после пуска герметичного компрессора, находится не только по периферии крыльчатки, но также и внутри полости, которая расположена над ротором внутри кольцевого буртика. Вспененная смесь масла и хладагента в этой полости не попадает в поле действия крыльчатки. Поскольку эта полость достаточно велика, то смесь масла и хладагента может попасть в цилиндр и быть причиной гидравлического удара.
Таким образом в прототипе не обеспечивается эффективная сепарация жидкой фракции от газообразного хладагента в пусковых режимах.
Кроме того, конструкция прототипа достаточно сложна. Особенно сложной является конструкция ротора, который выполнен заодно с крыльчаткой.
В основу настоящего изобретения поставлена задача усовершенствования герметичного компрессора, в котором за счет использования центробежных сил, создаваемых при вращении ротора, обеспечивается эффективная сепарация жидкой фракции от газообразного хладагента в пусковых режимах без усложнения конструкции герметичного компрессора.
Поставленная задача решается следующим образом.
Герметичный компрессор содержит электродвигатель, расположенный в верхней части кожуха, который снабжен всасывающим патрубком. Электродвигатель соединен с цилиндрами компрессора, размещенными в нижней части кожуха, посредством вала, с которым жестко соединен ротор электродвигателя. На верхнем торце ротора имеется кольцевой буртик. Поверхность буртика, обращенная к вертикальной оси ротора, выполнена конической формы. Компрессор содержит глушитель, с которым соединены всасывающие трубки.
Новыми являются следующие признаки. Глушитель расположен над ротором. Каждая из всасывающих трубок своим другим концом соединена с соответствующим цилиндром. К дну глушителя жестко прикреплена обечайка. Нижняя часть обечайки размещена внутри кольцевого буртика с зазором относительно него и относительно торцевой поверхности ротора. При этом кольцевой зазор между обечайкой и кольцевым буртиком выполнен суживающимся по направлению к верхнему торцу ротора.
Дополнительными отличиями изобретения от прототипа являются следующие признаки: площадь кольцевого зазора между нижним краем обечайки и кольцевым буртиком составляет 110-130% площади поперечного сечения всасывающего патрубка, и обечайка выполнена цилиндрической или конической формы.
При использовании изобретения в герметичном компрессоре сепарация жидкой фракции из вспененной смеси масла с хладагентом происходит в сужающемся щелевидном канале в поле центробежных сил.
Вспененная смесь масла и хладагента прежде, чем попасть во всасывающие трубки, направляется в кольцевой канал, образованный кольцевым буртиком, обечайкой цилиндрической или конической формы и верхним торцом ротора. Канал сужается по направлению к торцу ротора, а его наружная стенка вращается со скоростью вращения ротора.
В самой узкой части канала поток хладагента вынужден резко повернуть, что облегчает процесс разделения смеси на фракции.
Под воздействием центробежных сил, возникающих при вращении ротора, более тяжелая жидкая фракция (капельки масла) по конической поверхности кольцевого буртика ротора уносится на периферию по направлению к стенкам кожуха, т.к. канал функционирует как “обратный конус”.
Выделенная из смеси жидкая фракция (капельки масла) стекает по стенкам кожуха на его дно и используется дальше, например, для смазки узлов и механизмов компрессора.
Капли жидкости, отброшенные к кольцевому буртику, не смешиваются с поступающей в канал смесью масла и хладагента, т.к. вспененная смесь поступает в верхней достаточно широкой части кольцевого зазора между обечайкой и кольцевым буртиком.
Площадь кольцевого зазора между краем обечайки и кольцевым буртиком определена экспериментально и выбрана, равной 110-130% площади поперечного сечения всасывающего патрубка, с учетом следующих соображений. Если площадь кольцевого зазора превышает указанные пределы, то эффективность сепарации смеси в самом канале снижается, т.к. канал становится достаточно широким, и не создаются условия для резкого поворота потока. Если площадь кольцевого зазора меньше указанных пределов, то канал становится таким узким, что резко возрастает сопротивление, и, следовательно, снижается продуктивность работы герметичного компрессора.
Очищенный газообразный хладагент, который собирается в центре полости над ротором, поднимается вверх и направляется сначала в глушитель, который выполняет также функцию коллектора очищенного хладагента, затем – во всасывающие трубки и далее в цилиндры компрессора, полностью изолирован от вспененной смеси по всему пути к цилиндрам компрессора.
Таким образом, в изобретении обеспечена эффективная сепарация жидкой фракции за счет использования ротора в качестве центрифуги в сочетании с суживающимся кольцевым каналом, что позволило упростить конструкцию ротора (исключить крыльчатку), и в итоге – упростить конструкцию герметичного компрессора.
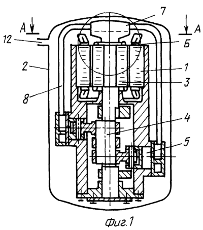
Сущность изобретения поясняется чертежами, на которых представлены: на фиг.1 – схематическое изображение герметичного компрессора, вертикальное сечение по оси ротора; на фиг.2 – сечение А-А на фиг.1; на фиг.3 и 4 – увеличенное изображение узла Б с обечайкой цилиндрической и конической формы соответственно.
Герметичный компрессор содержит электродвигатель 1, который расположен в верхней части кожуха 2. Ротор 3 электродвигателя 1 жестко соединен с вертикально расположенным валом 4, посредством которого электродвигатель 1 соединен с цилиндрами 5 компрессора, которые установлены в нижней части кожуха 2. Ротор 3 имеет кольцевой буртик 6, который расположен на верхнем торце ротора 3. Внутренняя поверхность буртика 6, т.е. поверхность, обращенная к вертикальной оси ротора 3, выполнена конической. Над ротором 3 расположен глушитель 7, с которым соединены всасывающие трубки 8. Каждая всасывающая трубка 8 соединена другим своим концом с соответствующим цилиндром 5 компрессора. К дну глушителя 7 жестко прикреплена обечайка 9, которая может иметь цилиндрическую или коническую форму. Нижняя часть обечайки 9 размещена внутри кольцевого буртика 6 с зазором 10 относительно него и с зазором 11 относительно торцевой поверхности ротора 3. Кольцевой зазор 10 выполнен суживающимся по направлению к верхнему торцу ротора 3. Площадь кольцевого зазора 10 в самом узком его месте, т.е. между краем обечайки 9 и буртиком 6, составляет 110-130% площади поперечного сечения всасывающего патрубка 12, которым снабжен кожух 2. Например, если площадь поперечного сечения патрубка 12 равна 78,53 мм2, то площадь кольцевого зазора 10 может иметь величину, находящуюся в пределах: 86,38-101,79 мм2, чему соответствует толщина кольцевого зазора 10, равная 2-4 мм. Пределы изменения значений величины площади кольцевого зазора 10 относительно площади всасывающего патрубка 12 определены экспериментально с учетом следующих соображений. Если площадь кольцевого зазора 10 превышает указанные пределы, то эффективность сепарации смеси в зазоре 10 снижается, т.к. зазор становится достаточно широким. Если площадь кольцевого зазора 10 меньше указанных пределов, то зазор 10 становится таким узким, что резко возрастает сопротивление и, следовательно, снижается продуктивность работы герметичного компрессора.
Работает герметичный компрессор известным образом.
После каждой остановки герметичного компрессора в результате повышения давления и понижения температуры повышается растворимость хладагента в масле. Последующий пуск компрессора сопровождается выделением пара, в результате чего масло вспенивается и заполняет весь внутренний объем кожуха 2.
Для запуска компрессора включается электродвигатель 1 и ротор 3 начинает вращаться, приводя в движение вал 4 и цилиндры 5 компрессора. Хладагент из внутреннего пространства кожуха 2 всасывается цилиндрами 5 компрессора через всасывающие трубки 8 и глушитель 7. При этом во внутреннем пространстве кожуха 2 создается разрежение. Вспененная смесь хладагента и масла под воздействием разрежения поднимается в верхнюю часть кожуха 2 и направляется в кольцевой зазор 10 между внутренней конической поверхностью буртика 6 и наружной поверхностью обечайки 9. Поскольку одна стенка зазора 10, а именно стенка, образованная буртиком 6, вращается, то вспененная смесь, состоящая из хладагента и масла, находится в поле действия центробежных сил. Под действием разрежения смесь движется между стенками зазора 10, расстояние между которыми уменьшается, по направлению к верхнему торцу ротора 3. В самой узкой части зазора 10, ширина которого, например, не превышает 2-4 мм, поток хладагента вынужден резко повернуть и направиться в зазор 11 между краем обечайки 9 и верхним торцом ротора 3. При этом смесь разделяется на фракции, т.к. резкий поворот потока в узком зазоре 11 способствует отделению жидкой фракции от газообразного хладагента. Более тяжелые капли масла под действием центробежных сил отбрасываются к вращающейся стенке зазора 10, который в поле центробежных сил действует на жидкую более тяжелую фракцию как “обратный конус” и выталкивает капли масла на периферию зазора 10 и далее к стенкам кожуха 2. Выделенная из смеси жидкая фракция (капельки масла) стекает по стенкам кожуха 2 на его дно и используется дальше, например, для смазки узлов и механизмов компрессора.
Капли жидкости, отброшенные к буртику 6, не смешиваются с поступающей в зазор 10 смесью масла и хладагента, т.к. вспененная смесь поступает в зазор 10 в верхней его части, который имеет достаточную ширину.
Более легкий газообразный хладагент из зазора 11 подается в полость над ротором 3. Очищенный от масла газообразный хладагент направляется вверх по направлению к глушителю 7, а затем по всасывающим трубкам 8 подается в цилиндры 5 компрессора. Очищенный газообразный хладагент, проходя по всасывающим трубкам 8, нигде не соприкасается со вспененной смесью.
Таким образом, в цилиндры 5 подается очищенный от жидкой фракции газообразный хладагент, т.е. в пусковых режимах предотвращается попадание жидкости в цилиндры, и, следовательно, предотвращается гидравлический удар.
Формула изобретения
1. Герметичный компрессор, содержащий электродвигатель, расположенный в верхней части кожуха, соединенный с цилиндрами, размещенными в нижней части кожуха посредством вала, с которым жестко соединен ротор и глушитель, с которым соединены всасывающие трубки, причем кожух снабжен всасывающим патрубком, а на верхнем торце ротора расположен кольцевой буртик, у которого поверхность, обращенная к оси ротора, выполнена конической, отличающийся тем, что глушитель расположен над ротором, каждая из всасывающих трубок своим другим концом соединена с соответствующим цилиндром, к дну глушителя жестко прикреплена обечайка, нижняя часть которой размещена внутри кольцевого буртика с зазором относительно него и относительно торцевой поверхности ротора, при этом кольцевой зазор между обечайкой и кольцевым буртиком выполнен суживающимся по направлению к верхнему торцу ротора.
2. Герметичный компрессор по п.1, отличающийся тем, что кольцевой зазор между краем обечайки и кольцевым буртиком имеет площадь, равную 110-130% от площади поперечного сечения всасывающего патрубка.
3. Герметичный компрессор по п.1 или 2, отличающийся тем, что обечайка выполнена цилиндрической формы.
4. Герметичный компрессор по п.1 или 2, отличающийся тем, что обечайка выполнена конусной формы.
РИСУНКИ
MM4A Досрочное прекращение действия патента Российской Федерации на изобретение из-за неуплаты в установленный срок пошлины за поддержание патента в силе
Дата прекращения действия патента: 03.07.2005
Извещение опубликовано: 27.12.2006 БИ: 36/2006
NF4A Восстановление действия патента СССР или патента Российской Федерации на изобретение
Дата, с которой действие патента восстановлено: 27.08.2008
Извещение опубликовано: 27.08.2008 БИ: 24/2008
|
|