|
|
(21), (22) Заявка: 2002118416/11, 08.07.2002
(24) Дата начала отсчета срока действия патента:
08.07.2002
(43) Дата публикации заявки: 27.03.2004
(45) Опубликовано: 20.01.2005
(56) Список документов, цитированных в отчете о поиске:
КАТАЛОГ ЗАПАСНЫХ ЧАСТЕЙ АВТОМОБИЛЕЙ ВАЗ-2108, ВАЗ-2109 И ИХ МОДИФИКАЦИЙ.-М., МАШИНОСТРОЕНИЕ, 1988, с. 53, рис. А-600. RU 2137929 C1, 20.09.1999. RU 95120130 A, 10.12.1995. RU 2019719 C1, 15.09.1994.
Адрес для переписки:
443110, г.Самара, ул. Ново-Садовая, 38, кв.154, Л.А. Нагайцевой
|
(72) Автор(ы):
Важин А.И. (RU), Мухин В.М. (RU), Тарасов А.М. (RU)
(73) Патентообладатель(и):
Федеральное государственное унитарное предприятие Самарский электромеханический завод (RU)
|
(54) БАЧОК РАСШИРИТЕЛЬНЫЙ
(57) Реферат:
Изобретение относится к объектам автомобильного производства и служит надлежащим аксессуаром для обеспечения нормальной работы двигателя внутреннего сгорания и системы отопления автомобиля. Бачок расширительный оснащен дополнительным патрубком, обеспечивающим быструю промывку и взаимодействие с датчиками уровня и температуры охлаждающей жидкости, причем форма бачка расширительного приспособлена к свободному объемному подкапотному пространству. Удобно расположенная форма дна бачка расширительного позволяют координировать усилия его удержания при торможении и разгоне автомобиля, а также при резких поворотах и переворотах автомобиля, что создает условия пассивной безопасности системы механизмов, обеспечивающих движение автомобиля. Технический результат заключается в создании большего объема полезной массы охлаждающей жидкости, полезной площади зажима бачка к корпусу автомобиля, в создании заклинивающего эффекта пробки, закрывающей горловину бачка расширительного. 5 ил.

Изобретение относится к объектам автомобильного производства и служит надлежащим аксессуаром для обеспечения нормальной работы двигателя внутреннего сгорания и системы отопления автомобиля.
К известным техническим решениям следует отнести прототип – [1], изложенный на с.53 рис.А-600 каталога запасных частей автомобилей ВАЗ-2108, ВАЗ-2109 и их модификаций М.: Машиностроение, 1988 год.
К недостаткам известного технического решения следует отнести его невысокие технологические возможности, заключающиеся в том, что форма бака расширительного не соответствует форме свободного подкапотного пространства относительно занимаемой им площади, что значительно уменьшает объем свободного пространства, наполняемого охлаждающей жидкостью, например тосолом, объем которого коррелируется датчиком уровня, что повышает пассивную безопасность автомобиля визуальным и иным путем, например принудительной остановкой автомобиля, при введении компьютерного контроля управления системами питания автомобиля.
Задачей нового технического решения следует считать повышение технологических возможностей при использовании новой конструкции бака расширительного, что одновременно повышает качество эксплуатационных характеристик ДВС и системы отопления автомобиля.
Поставленная задача достигается тем, что бачок расширительный, снабженный фасонной геометрической формой, размещение в нем охлаждающей жидкости, входного и выходного патрубков, а также заливной горловины, снабженный поверхностью крепления бачка расширительного к корпусу автомобиля под капотом, обеспечивающий подвод и отвод перегретой охлаждающей жидкости, отличается тем, что объем бака расширительного увеличен за счет двух оболочковых выступов, снабженных внутренним открытым объемом с уровнем наполнения охлаждающей жидкости, не превышающим уровень границы горловины, причем выступ снабжен двумя выступами трубчатой формы с зазорным пространством, обеспечивающим закрепление подводящего и отводящего шлангов за счет их закрепления на конических выступах, снабженных, равно как и выступы трубчатой формы, отверстиями, причем выступы трубчатой формы снабжены коническими переходами, бачок расширительный у основания имеет патрубок, нижняя граница отверстия которого совпадает по горизонтальному уровню с площадкой основания, что обеспечивает гарантированный быстрый слив охлаждающей жидкости при ее замене или промывке бачка расширительного, при этом патрубок на своей внешней поверхности имеет плавный радиусный переход размером в 1 мм, объединяющий две разнонаправленные конические поверхности, одновременно на поверхности бачка расширительного выполнены фасонная впадина, обеспечивающая удержание бачка расширительного за счет его контакта с ребрами и соответствующим креплением, а на горловине бачка расширительного выполнены отрезки прерывных и перекрывающих друг друга спиральных ребер с неравномерным шагом, обеспечивающим заклинивание пробки расширительного бачка при ее закручивании в рабочем положении, одновременно на виде сверху, бачок расширительный выполнен по периферийным участкам с радиусными поверхностями и прямолинейными сторонами, патрубок с корпусом имеет радиусные переходы, обеспечивающие большую прочность узлового напряженного места оболочковой формы со стенкой толщиной , при этом дно бачка расширительного выполнено с выступами и впадиной, соответствующими форме установочной площадки корпуса автомобиля, способствующей заполнению свободного пространства опорной площадки и стопорению массы бачка с охлаждающей жидкостью при торможении и разгоне автомобиля.
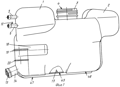
Графические изображения: боковая проекция – фиг.1; вид сверху – фиг.2; вид с торца – фиг.3; разрез оболочки – фиг.4; разрез большего патрубка – фиг.5.
Цифровые и буквенные обозначения, используемые в описании материалов заявленного технического решения: оболочковые выступы 1 и 2; граница 4; горловина 3; выступы 5 и 6 трубчатой формы; конические выступы 7 и 8; отверстия 9 и 10; конические переходы 11 и 12; основание 13; патрубок 14; нижняя граница 15; конические поверхности 16 и 17; фасонная впадина 18; ребра 19 и 20; ребра спиральные 21 и 22; периферийные участки радиусных поверхностей и прямолинейных сторон 23-39, 45, 46; оси 40 и 41; корпус 42; радиусные переходы 43 и 44; толщина ; с выступы 47 и 48; впадина 49; радиусный переход 50.
Описание бачка расширительного с учетом отличительных от прототипа [1] признаков.
Бачок расширительный, снабженный фасонной геометрической формой, с размещением в нем охлаждающей жидкости, патрубков, а также заливной горловины, снабженный поверхностью крепления бачка расширительного к корпусу автомобиля под капотом, обеспечивающий подвод и отвод перегретой охлаждающей жидкости, отличается тем, что:
– объем бака расширительного увеличен за счет двух оболочковых выступов 3 и 2, снабженных внутренним открытым объемом с уровнем наполнения охлаждающей жидкости, не превышающим уровень границы 4 горловины 3;
– выступ 1 снабжен двумя выступами 5 и 6 трубчатой формы с зазорным пространством, обеспечивающим закрепление подводящего и отводящего шлангов за счет их закрепления на конических выступах 7 и 8, снабженных, равно как и выступы трубчатой формы 5 и 6, отверстиями 9 и 10;
– выступы трубчатой формы 5 и 6 снабжены коническими переходами 11 и 12;
– бачок расширительный у основания 13 имеет патрубок 14, нижняя граница 15 отверстия которого совпадает по горизонтальному уровню с площадкой основания 13, что обеспечивает гарантированный быстрый слив охлаждающей жидкости при ее замене или промывке бачка расширительного;
– патрубок 14 на своей внешней поверхности имеет плавный радиусный переход 50 размером в 1 мм, объединяющий две разнонаправленные конические поверхности 16 и 17;
– на поверхности бачка расширительного выполнены фасонная впадина 18, обеспечивающая удержание бачка расширительного за счет его контакта с ребрами 19 и 20 и соответствующим креплением;
– на горловине 3 бачка расширительного выполнены отрезки прорывных и перекрывающих друг друга спиральных 21 и 22 ребер с неравномерным шагом, обеспечивающим заклинивание пробки расширительного бачка при ее закручивании в рабочем положении;
– на виде сверху бачок расширительный выполнен по периферийным участкам радиусными поверхностями и прямолинейными сторонами 23-39, 45, 46;
– патрубок 14 с корпусом 42 имеет радиусные переходы 43 и 44, обеспечивающие большую прочность узлового напряженного места оболочковой формы со стенкой толщиной ;
– дно бачка расширительного выполнено с выступами 47 и 48 и впадиной 49, соответствующими форме установочной площадке корпуса автомобиля, способствующей заполнению свободного пространства опорной площадки и стопорению массы бачка с охлаждающей жидкостью при торможении и разгоне автомобиля.
Пример выполнения бачка расширительного.
Бачок расширительный, снабженный фасонной геометрической формой, с размещением в нем охлаждающей жидкости, патрубков, а также заливной горловины, снабженный поверхностью крепления бачка расширительного к корпусу автомобиля под капотом, обеспечивающий подвод и отвод перегретой охлаждающей жидкости, выполняется таким образом, что:
1. объем бака расширительного увеличивают за счет двух оболочковых выступов 1 и 2, снабженных внутренним открытым объемом с уровнем наполнения охлаждающей жидкости, не превышающим уровень границы 4 горловины 3;
2. выступ 1 снабжают двумя выступами 5 и 6 трубчатой формы с зазорным пространством, обеспечивающим закрепление подводящего и отводящего шлангов за счет их закрепления на конических выступах 7 и 8, снабженных, равно как и выступы трубчатой формы 5 и 6 отверстиями 9 и 10;
3. выступы трубчатой формы 5 и 6 снабжают коническими переходами 11 и 12;
4. бачок расширительный у основания 13 имеет патрубок 14, нижняя граница 15 отверстия которого совпадает по горизонтальному уровню с площадкой основания 13, что обеспечивает гарантированный быстрый слив охлаждающей жидкости при ее замене или промывке бачка расширительного;
5. патрубок 14 на своей внешней поверхности имеет плавный радиусный переход 50 размером в 1 мм, объединяющий две разнонаправленные конические поверхности 16 и 17;
6. на поверхности бачка расширительного выполнена фасонная впадина 18, обеспечивающая удержание бачка расширительного за счет его контакта с ребрами 19 и 20 и соответствующим креплением;
7. на горловине 3 бачка расширительного выполнены отрезки прерывных и перекрывающих друг друга спиральных 21 и 22 ребер с неравномерным шагом, обеспечивающим заклинивание пробки расширительного бачка при ее закручивании в рабочем положении;
8. на виде сверху, бачок расширительный выражают по периферийными участками радиусными поверхностями и прямолинейными сторонами 23-39, 45, 46;
9. патрубок 14 с корпусом 42 имеет радиусные переходы 43 и 44, обеспечивающие большую прочность узлового напряженного места оболочковой формы со стенкой толщиной ;
10. дно бачка расширительного выполнено с выступами 47 и 48 и впадиной 49, соответствующими форме установочной площадке корпуса автомобиля, способствующей заполнению свободного пространства опорной площадки и стопорению массы бачка с охлаждающей жидкостью при торможении и разгоне автомобиля.
Промышленная полезность нового технического решения.
Бачок расширительный по своим техническим преимуществам оснащен дополнительным патрубком, обеспечивающим быструю промывку и взаимодействие с датчиками уровня и температуры охлаждающей жидкости, причем форма бачка расширительного приспособлена к свободному объемному подкапотному пространству. Форма дна бачка расширительного позволяет координировать усилия его удержания при торможении и разгоне автомобиля, а также при резких поворотах и переворотах автомобиля, что создает условия пассивной безопасно системы механизмов, обеспечивающих движение автомобиля.
Экономическая эффективность нового технического решения заключается в создании большего объема полезной массы охлаждающей жидкости, полезной площади зажима бачка к корпусу автомобиля, в создании заклинивающего эффекта пробки, закрывающей горловину бачка расширительного, а также формы поверхности бачка.
Формула изобретения
Бачок расширительный, имеющий фасонную геометрическую форму, для размещения в нем охлаждающей жидкости, патрубки, обеспечивающие подвод и отвод охлаждающей жидкости, заливную горловину и поверхность крепления бачка расширительного к корпусу автомобиля под капотом, отличающийся тем, что объем бачка расширительного увеличен за счет двух оболочковых выступов, имеющих внутренний открытый объем с уровнем наполнения охлаждающей жидкости, не превышающим уровень границы горловины, на одном из выступов выполнены два выступа трубчатой формы с зазорным пространством, обеспечивающим закрепление подводящего и отводящего шлангов за счет их закрепления на конических выступах, имеющих, как и выступы трубчатой формы, отверстия, причем выступы трубчатой формы снабжены коническими переходами, бачок расширительный у основания имеет патрубок, нижняя граница отверстия которого совпадает по горизонтальному уровню с площадкой основания бачка, что обеспечивает гарантированный быстрый слив охлаждающей жидкости при ее замене или промывке бачка расширительного, при этом патрубок на своей внешней поверхности имеет плавный радиусный переход размером 1 мм, на поверхности бачка расширительного выполнены фасонная впадина, обеспечивающая удержание бачка расширительного за счет его контакта с ребрами и соответствующим креплением, а на горловине бачка расширительного выполнены отрезки прерывных и перекрывающих друг друга спиральных ребер с неравномерным шагом, обеспечивающим заклинивание пробки расширительного бачка при ее закручивании в рабочем положении, на виде сверху бачок расширительный выполнен по периферийным участкам с радиусными поверхностями и прямолинейными сторонами, патрубок с корпусом имеет радиусные переходы, обеспечивающие большую прочность узлового напряженного места оболочковой формы со стенкой толщиной “ ”, при этом дно бачка расширительного выполнено с выступами и впадиной, соответствующими форме установочной площадки корпуса автомобиля, способствующей заполнению свободного пространства опорной площадки и стопорению массы бачка с охлаждающей жидкостью при торможении и разгоне автомобиля.
РИСУНКИ
MM4A Досрочное прекращение действия патента Российской Федерации на изобретение из-за неуплаты в установленный срок пошлины за поддержание патента в силе
Дата прекращения действия патента: 09.07.2005
Извещение опубликовано: 27.12.2006 БИ: 36/2006
|
|