|
|
(21), (22) Заявка: 2003103148/06, 03.02.2003
(24) Дата начала отсчета срока действия патента:
03.02.2003
(43) Дата публикации заявки: 20.09.2004
(45) Опубликовано: 20.01.2005
(56) Список документов, цитированных в отчете о поиске:
SU 1041722 А 15.09.1983. SU 15500192 А1 15.03.1990. SU 245492 А 25.02.1970. SU 1270383 А1 15.11.1986. FR 2526860 А1 18.11.1983.
Адрес для переписки:
394026, г.Воронеж, Московский пр-кт, 14, ВГТУ, патентный отдел
|
(72) Автор(ы):
Будник А.П. (RU), Пентюхов В.И. (RU), Соколов Д.П. (RU)
(73) Патентообладатель(и):
Воронежский государственный технический университет (RU)
|
(54) ГЛУШИТЕЛЬ ШУМА АЭРОДИНАМИЧЕСКОЙ УСТАНОВКИ
(57) Реферат:
Изобретение может быть использовано в силовых установках авиационной техники. Глушитель шума содержит резонансные камеры, ограниченные перегородками, перфорированные пластины, в перфорациях которых расположены перфорированные проводящие трубки. Трубки первой пластины выполнены с одного торца заглушенными, причем заглушка каждой трубки имеет перфорацию, что обеспечивает первоочередный выход звуковой струи из трубки и ее рассечение о заглушенный торец трубки второй пластины. Для предотвращения удара направленной струи о пластину, контактирующую с окружающей средой, нижний торец трубки второй пластины заглушен. Перфорации трубок позволяют рассеять энергию звукового потока по полостям резонансных камер. Изобретение позволяет повысить коэффициент шумоглушения 1 ил.

Изобретение относится к области авиадвигателестроения и может быть использовано в силовых установках авиационной техники.
Известные конструкции глушителей шума аэродинамической установки представляют собой многослойные панельные блоки с сотовым наполнителем. Для снижения уровня шума, исходящего от аэродинамической установки, в блоках используются перфорированные облицовки, звукопоглощающий слой, полости с перегородками и проводящие трубки [1, 2].
Однако данные конструкции имеют недостаточные шумопонижающие возможности за счет того, что из-за их особенностей шумопоглощающие элементы, которые в них расположены, поглощают узкий частотный интервал шумов.
Отмеченные недостатки могут быть устранены путем иного размещения проводящих трубок и изменения их конструкции, а также увеличения количества облицовок. Из таких устройств наиболее близким по технической сущности и достигаемым результатам к данному изобретению является глушитель шума аэродинамической установки [3]. Конструкция содержит резонансные камеры, ограниченные перегородками, перфорированные пластины, в перфорациях которых расположены проводящие трубки, и звукопоглощающий материал.
Недостатком данной конструкции является низкий коэффициент шумопоглощения.
Изобретение направлено на повышение коэффициента шумопоглощения.
Для достижения этого предлагаемая конструкция выполнена из трех перфорированных пластин, в перфорациях двух из которых расположены перфорированные проводящие трубки, причем трубки первой пластины с одного торца заглушены, с перфорацией в заглушке, а другим торцом выходят в пирамидальные углубления, выполненные в звукопоглощающем материале, трубки второй пластины заглушены с обоих торцов, сообщаясь перфорациями с полостями над и под второй пластиной, трубки первой и второй пластин соосны и расположены друг относительно друга с зазором.
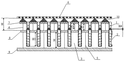
Сущность изобретения поясняется чертежом, где показан продольный разрез глушителя шума аэродинамической установки.
Позиции на чертеже обозначают: перфорированные проводящие трубки – 1 и 2; резонансные камеры – 3; перегородки – 4 и 5; пластины – 6, 7, 8 и 9; звукопоглощающий материал – 10.
Звукопоглощающая конструкция содержит перфорированные проводящие трубки 1 и 2, расположенные в резонансных камерах 3, ограниченных перегородками 4 и 5, между пластинами 6, 7, 8 и 9, причем трубки, установленные в отверстиях перфораций пластины 7, имеют выход в пирамидальные углубления, выполненные в звукопоглощающем материале 10.
Глушитель работает следующим образом.
Звуковой поток, пройдя перфорированную пластину 6 и звукопоглощающий материал 10, через открытые торцы попадает в полости перфорированных проводящих трубок 1, в которых он распределяется по перфорациям. После многократного отражения от перегородок 4 резонансных камер 3, посредством поглощения противотоком и противоволной, поток с более низкой энергией продвигается к перфорациям в трубках 2, на пути к которым звуковой поток сбивается перпендикулярным потоком из зазора Н4. Попав в полости трубок 2, звуковой поток распределяется по перфорациям в этих трубках, и после многократного отражения от перегородок 5 резонансных камер 3 посредством поглощения противотоком и противоволной происходит завершающее снижение его энергии.
Данная конструкция глушителя позволяет производить снижение уровня шума в более широком диапазоне звуковых частот с более эффективным поглощением.
Источники информации
1. Авторское свидетельство SU 1324376 А1, опубликовано 27.10.96. Бюллетень №30.
2. Авторское свидетельство №348755, опубликовано 23.08.72. Бюллетень №25.
3. Авторское свидетельство SU 1437518, опубликовано 15.09.83. Бюллетень №34 (прототип).
Формула изобретения
Глушитель шума аэродинамической установки, содержащий резонансные камеры, ограниченные перегородками, перфорированные пластины, в перфорациях которых расположены проводящие трубки, и звукопоглощающий материал, отличающийся тем, что проводящие трубки выполнены перфорированными, причем трубки первой пластины с одного торца заглушены и имеют перфорацию в заглушке, а другим торцом выходят в пирамидоидальные углубления, выполненные в звукопоглощающем материале, трубки второй пластины заглушены с обоих торцов, сообщаясь перфорациями с полостями над и под второй пластиной, трубки первой и второй пластин соосны и расположены относительно друг друга с зазором.
РИСУНКИ
MM4A Досрочное прекращение действия патента Российской Федерации на изобретение из-за неуплаты в установленный срок пошлины за поддержание патента в силе
Дата прекращения действия патента: 04.02.2005
Извещение опубликовано: 10.12.2006 БИ: 34/2006
|
|