|
|
(21), (22) Заявка: 2003111042/06, 18.04.2003
(24) Дата начала отсчета срока действия патента:
18.04.2003
(43) Дата публикации заявки: 10.10.2004
(45) Опубликовано: 20.01.2005
(56) Список документов, цитированных в отчете о поиске:
SU 989120 A, 15.01.1983. SU 1629570 A1, 23.02.1991. SU 1548475 A1, 07.03.1990. RU 94016369 A1, 20.01.1996.
Адрес для переписки:
606406, Нижегородская обл., г. Балахна, ул. Бумажников, 28, кв.2, Н.А.Пустынскому
|
(73) Патентообладатель(и):
Профатилов Николай Александрович (RU)
|
(54) ПНЕВМОДВИГАТЕЛЬ
(57) Реферат:
Пневмодвигатель может быть использован, преимущественно, в качестве силовой установки для транспортных средств с экологически чистым выхлопом. Пневмодвигатель выполнен в виде поршневой расширительной машины и содержит однорядный блок цилиндров с головкой, поршни, кинематически связанные с выходным валом, распределительный механизм с вращающимся цилиндрическим золотником, установленным в расточке головки и сообщающим камеры расширения цилиндров с впускными каналами, выполненными в головке и подключенными к источнику сжатого воздуха, выпускной трубопровод. В теле золотника выполнены глухие дозирующие камеры с радиальными каналами, которые периодически поочередно сообщаются с впускными каналами и с впускными окнами, выполненными в головке со стороны камеры расширения соосно впускным каналам, а в стенке цилиндров в зоне нижней мертвой точки выполнены выпускные окна, соединенные с выпускным трубопроводом. Изобретение обеспечивает надежность и простоту. 3 з.п. ф-лы, 1 ил.

Изобретение относится к области машиностроения и может быть использовано, преимущественно, в качестве силовой установки для транспортных средств с экологически чистым выхлопом.
Из уровня техники известен пневмодвигатель, выполненный в виде поршневой расширительной машины, содержащий однорядный блок цилиндров с головкой, впускными и выпускными каналами, поршни, кинематически связанные с выходным валом, золотниковый механизм распределения, который сообщает цилиндры с впускными каналами, подключенными к источнику сжатого воздуха, и выпускными каналами (SU 1548475 A1, F 01 B 23/02, 1990; SU 1629570 A1, F 01 B 23/02, 1991). Золотниковый механизм распределения выполнен в виде концентрических золотников с осевым перемещением, что усложняет конструкцию пневмодвигателя.
Известна также поршневая расширительная машина, содержащая однорядный блок цилиндров с головкой, поршни, кинематически связанные с выходным валом, распределительный механизм с вращающимся золотником, сообщающим камеры расширения цилиндров с впускными каналами, которые связаны с источником рабочего тела (SU 989120 А, F 01 B 1/02, 1983). Основным недостатком данного решения является использование в качестве источника рабочего тела тепловой трубы, пар из зоны испарения которой при внешнем подводе тепла поступает в охлаждаемые камеры расширения цилиндров, что сложно и не надежно в работе и конструктивно малопригодно для реального использования, например, на транспортном средстве.
Изобретение направлено на создание простой и надежной в работе конструкции пневмодвигателя, пригодно для использования в качестве силовой установки для транспортного средства.
Решение поставленной задачи обеспечивается тем, что в пневмодвигателе, выполненном в виде поршневой расширительной машины, содержащий однорядный блок цилиндров с головкой, поршни, кинематически связанные с выходным валом, распределительный механизм с вращающимся золотником, сообщающим камеры расширения цилиндров с впускными каналами, выполненными в головке цилиндра и подключенными к источнику сжатого воздуха, выпускной трубопровод, согласно изобретению в теле установленного в расточке головки цилиндров вращающегося цилиндрического золотника выполнены глухие дозирующие камеры с радиальными каналами, которые периодически поочередно сообщаются с впускными каналами и с впускными окнами, выполненными в головке цилиндра со стороны камеры расширения соосно впускным каналам, при этом в стенке цилиндров в зоне нижней мертвой точки выполнены выпускные окна, соединенные с выпускным трубопроводом.
При этом глухие дозирующие каналы золотника выполнены Г-образными с возможностью изменения объема и снабжены дополнительными осевыми каналами, в которых установлены на резьбе с возможностью осевого перемещения регулировочные пробки.
Кроме того, камеры расширения цилиндров дополнительно снабжены системой внешнего подвода тепла.
Предпочтительно, чтобы во впускных каналах и впускных окнах головки цилиндров со стороны золотника были установлены подпружиненные уплотнительные втулки из самосмазывающегося материала с добавками бисульфидо-молибдена, торцевые, прилегающие к золотнику поверхности которых выполнены сопряженными с цилиндрической поверхностью расточки головки цилиндров под золотник.
Выполнение вращающегося золотника распределительного механизма с глухой дозирующей камерой изменяемого – регулируемого объема в сочетании с размещением выпускных окон в стенке цилиндров внешнего подвода тепла к камере расширения при простоте конструктивного решения снижает потери в окружающую среду, приближает процесс расширения рабочего тела к изотермическому, что повышает экономичность, эффективность и надежность работы пневмодвигателя и делает его пригодным для использования в качестве силовой установки, в том числе и на транспортном средстве.
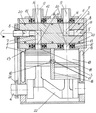
На чертеже представлен общий вид пневмодвигателя.
Пневмодвигатель выполнен в виде поршневой расширительной машины и содержит однорядный блок цилиндров 1 с головкой 2, поршни 3, кинематически связанные с выходным валом 4, и вращающийся золотник 5 цилиндрической формы распределительного механизма, установленный в цилиндрической расточке головки 2, в теле которого выполнены глухие дозирующие камеры (число которых соответствует числу цилиндров) Г-образной формы с радиальными каналами 6 и осевыми каналами 7, в которых установлены на резьбе с возможностью осевого перемещения регулировочные пробки 8.
В головке 2 соосно выполнены впускные каналы 9, подключенные посредством впускного трубопровода к источнику сжатого воздуха (на чертеже не показано), и со стороны камеры 10 расширения цилиндров 1 впускные окна 11, соосно которым со стороны золотника 5 оппозитно установлены уплотнительные втулки 12 и 13 (соответственно) из самосмазывающегося материала (например, чугуна, тегракса или бронзы с добавками бусульфидо-молибдена) с перепускными каналами 14, торцевые прилегающие к золотнику 5 поверхности которых выполнены цилиндрическими – сопряженными с цилиндрической поверхностью расточки головки 2 и подпружинены для герметичности к золотнику 5 пружинами 15.
В стенке 16 цилиндров 1 в зоне нижней мертвой точки выполнены выпускные окна 17, соединенные с выпускным трубопроводом 18. Блок цилиндров 1 снабжен рубашкой 19 для подвода тепла в камеру 10 расширения. Герметичность золотника 5 и втулок 12, 13 относительно головки 2 обеспечивается уплотнительными элементами 20. Золотник 5 кинематически связан с выходным валом передачей 21.
Пневмодвигатель работает следующим образом.
Когда поршень 3 находится вблизи нижней мертвой точки (на чертеже – справа), открывается выпускное окно 17 в стенке 16 цилиндра 1, и отработавший воздух под собственным давлением через выпускной трубопровод 18 выбрасывается в атмосферу, при этом радиальный канал 6 дозирующей камеры золотника 5 данного цилиндра 1 сообщается через перепускной канал 14 втулки 12 с соответствующим впускным каналом 9 и подключается к источнику сжатого воздуха, а порция сжатого воздуха заполняет дозирующую камеру.
При движении поршня 3 вверх от нижней мертвой точки к верхней мертвой точке происходит предварительное сжатие оставшейся в цилиндре 1 части отработавшего воздуха, при этом радиальный канал 6 заполненной сжатым воздухом дозирующей камеры вращающегося золотника 5 отходит от впускного канала 9 и герметизируется в поверхности цилиндрической расточки головки 2 оппозитными уплотнительными втулками 12 и 13 и уплотнительными элементами 20.
Когда поршень 3 проходит верхнюю мертвую точку (на чертеже – слева), радиальный канал 6 вращающегося золотника 5 совмещается с перепускным каналом 14 втулки 13, при этом порция сжатого воздуха из дозирующей камеры золотника 5 через впускные окна 11 поступает в камеру 10 расширения цилиндра 1 и соединяется с предварительно сжатой частью отработавшего воздуха. Давление в камере 10 расширения возрастает, в результате этого поршень 3 начинает двигаться вниз к нижней мертвой точке, передавая давление воздуха коленчатому валу 22, который создает на выходном валу 4 крутящий момент.
При движении поршня 3 от верхней мертвой точки к нижней мертвой точке воздух в процессе расширения дополнительно подогревается теплом, подводимым от внешнего источника через рубашку 19, и совершает внешнюю полезную механическую работу с высоким эффективным КПД. Режимами работы пневмодвигателя можно управлять, регулируя расход – порции сжатого воздуха путем изменения объема дозирующей камеры посредством перемещения регулирующей пробки 8 в осевом канале 7.
Формула изобретения
1. Пневмодвигатель, выполненный в виде поршневой расширительной машины, содержащий однорядный блок цилиндров с головкой, поршни, кинематически связанные с выходным валом, распределительный механизм с вращающимся золотником, сообщающим камеры расширения цилиндров с впускными каналами, выполненными в головке цилиндра и подключенными к источнику сжатого воздуха, выпускной трубопровод, отличающийся тем, что в теле установленного в расточке головки цилиндров вращающегося цилиндрического золотника выполнены глухие дозирующие камеры с радиальными каналами, которые периодически поочередно сообщаются с впускными каналами и с впускными окнами, выполненными в головке цилиндра со стороны камер расширения соосно с впускными каналами, при этом в стенке цилиндров в зоне нижней мертвой точки выполнены выпускные окна, соединенные с выпускным трубопроводом.
2. Пневмодвигатель по п.1, отличающийся тем, что глухие дозирующие каналы золотника выполнены Г-образными с возможностью изменения объема и снабжены дополнительными осевыми каналами, в которых установлены на резьбе с возможностью осевого перемещения регулировочные пробки.
3. Пневмодвигатель по п.1 или 2, отличающийся тем, что камеры расширения цилиндров дополнительно снабжены системой внешнего подвода тепла.
4. Пневмодвигатель по любому из пп.1-3, отличающийся тем, что во впускных каналах и впускных окнах головки цилиндров со стороны золотника установлены подпружиненные уплотнительные втулки из самосмазывающегося материала с добавками бисульфидомолибдена, торцевые прилегающие к золотнику поверхности которых выполнены сопряженными с цилиндрической поверхностью расточки головки цилиндров под золотник.
РИСУНКИ
MM4A Досрочное прекращение действия патента Российской Федерации на изобретение из-за неуплаты в установленный срок пошлины за поддержание патента в силе
Дата прекращения действия патента: 19.04.2005
Извещение опубликовано: 27.12.2006 БИ: 36/2006
NF4A Восстановление действия патента Российской Федерации на изобретение
Извещение опубликовано: 20.01.2007 БИ: 02/2007
MM4A – Досрочное прекращение действия патента СССР или патента Российской Федерации на изобретение из-за неуплаты в установленный срок пошлины за поддержание патента в силе
Дата прекращения действия патента: 19.04.2008
Извещение опубликовано: 20.06.2010 БИ: 17/2010
|
|