|
|
(21), (22) Заявка: 2003109923/11, 07.04.2003
(24) Дата начала отсчета срока действия патента:
07.04.2003
(45) Опубликовано: 10.01.2005
(56) Список документов, цитированных в отчете о поиске:
RU 2075184, 10.03.1997. WO 9806593, 19.02.1998. RU 2010934, 15.04.1994. RU 2155135, 27.08.2000. FR 2778373, 12.11.1999.
Адрес для переписки:
445042, Самарская обл., г.Тольятти, ул. Дзержинского, 31, кв.208, Аксентьевой И.И.
|
(72) Автор(ы):
ЧОВИЧ Жарко (HR), БЕРОШ Майя (HR), ПАУНОВИЧ Тончи (HR), ВРАНЕК Весна (HR), БАКОВИЧ Ойдана (HR)
(73) Патентообладатель(и):
Закрытое акционерное общество “ПХР” (RU)
|
(54) ПРОФИЛЬ УПЛОТНИТЕЛЯ ДЛЯ ПОДВИЖНОГО СТЕКЛА ДВЕРИ АВТОМОБИЛЯ
(57) Реферат:
Изобретение относится к области автомобилестроения, в частности к уплотнителю, предназначенному для установки на нижний фланец оконного проема двери автомобиля. Профиль уплотнителя для подвижного стекла двери автомобиля содержит основное тело 4, выполненное С-образной формы с возможностью охвата фланца оконного проема двери и образованное центральной 7 и верхней 8 стенками, связанными между собой перемычкой 9, причем концевой участок 10 центральной стенки 7 выполнен в виде отгиба, уплотняющий лепесток 5, выполненный с возможностью прилегания к стеклу. Новым является то, что на наружной поверхности верхней стенки 8 и перемычки 9 основного тела 4 имеется декоративное покрытие 15, продолжением которого является уплотняющий лепесток 5. Технический результат заключается в создании профиля уплотнителя, имеющего эстетический вид и обеспечивающего надежное уплотнение подвижного стекла двери автомобиля. 4 з.п. ф-лы, 3 ил.

Изобретение относится к области автомобилестроения, в частности к уплотнителю, предназначенному для установки на нижний фланец оконного проема двери автомобиля.
Уплотнительные устройства опускных стекол выполняют роль герметизирующего, теплозвукоизолирующего элемента и в значительной степени ответственны за тепловой и акустический комфорт в салоне автомобиля. Уплотнительные устройства должны быть прочными, водонепроницаемыми, а также придавать двери эстетический вид.
Из области техники известен профиль уплотнителя для подвижного стекла двери автомобиля (аналог – заявка FR №2633570, кл. B 60 R 13/06), содержащий основное тело, выполненное в виде перевернутой буквы U с возможностью установки на фланце оконного проема двери. Внутрь основного тела впрессован металлический сердечник, повышающий жесткость основного тела и способствующий надежному удержанию профиля уплотнителя на фланце оконного проема двери. На одной из боковых стенок основного тела размещены два уплотняющих лепестка, выполненных с возможностью контакта со стеклом. На поверхность, контактирующую со стеклом, а именно верхнего уплотняющего лепестка нанесено мягкое ворсовое покрытие, а нижнего уплотняющего лепестка – скользящее покрытие. Описанный профиль уплотнителя имеет эстетический вид, однако наличие металлического сердечника усложняет конструкцию и, соответственно, делает ее более дорогостоящей.
В качестве ближайшего аналога выбран профиль уплотнителя для подвижного стекла двери автомобиля (патент РФ №2075184, кл. В 60 J 10/04, опубл. 10.03.97 г., бюл. №7), содержащий основное тело и уплотняющий лепесток. Основное тело выполнено С-образной формы с возможностью охвата фланца оконного проема двери и образовано центральной стенкой, нижний концевой участок которой представляет собой отгиб, верхней стенкой и перемычкой, соединяющей верхнюю и центральную стенки. Уплотняющий лепесток размещен в верхней зоне основного тела с возможностью прилегания к стеклу. В центральную стенку впрессована металлическая пластина, повышающая жесткость основного тела. Для надежного уплотнения стекла уплотняющий лепесток должен быть выполнен из материала более мягкого и эластичного, чем основное тело. Такое конструктивное выполнение профиля уплотнителя может ухудшить его видовую поверхность, так как может быть видна зона перехода основного тела в уплотняющий лепесток. К недостаткам можно отнести также относительную сложность изготовления профиля уплотнителя, так как наличие впрессованной металлической пластины способствует удорожанию всего изделия в целом.
Задача изобретения направлена на создание недорогого профиля уплотнителя, имеющего эстетический вид и обеспечивающего надежное уплотнение подвижного стекла двери.
Для решения поставленной задачи профиль уплотнителя для подвижного стекла двери автомобиля содержит основное тело, выполненное С-образной формы с возможностью охвата фланца оконного проема двери и образованное центральной и верхней стенками, связанными между собой перемычкой, причем концевой участок центральной стенки выполнен в виде отгиба, уплотняющий лепесток, выполненный в верхней зоне основного тела с возможностью прилегания к стеклу, причем на наружной поверхности верхней стенки и перемычки основного тела имеется декоративное покрытие, продолжением которого является уплотняющий лепесток; декоративное покрытие и уплотняющий лепесток выполнены из термоэластопласта с твердостью по Шору 40-90 ЕД по шкале А; на поверхность уплотняющего лепестка, контактирующую со стеклом, нанесено покрытие из полиэтилен флоккулированной фольги или полимерное покрытие с низким коэффициентом трения; основное тело выполнено из термопластичного материала на основе полипропилена с твердостью по Шору 30-70 ЕД по шкале Д; концевой участок верхней стенки основного тела выполнен изогнутым в сторону расположения центральной стенки основного тела с возможностью упора во фланец оконного проема двери.
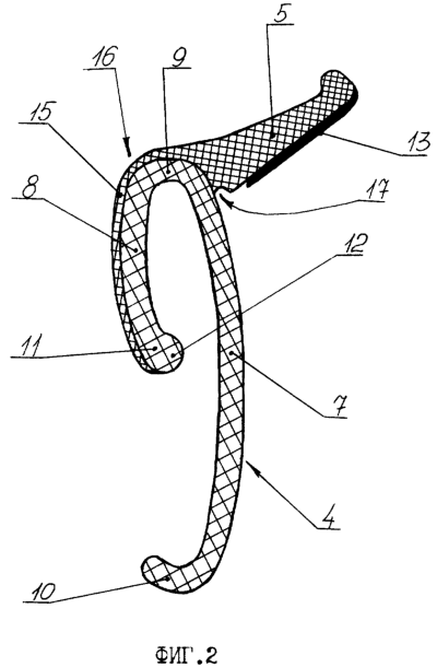
Сущность технического решения поясняется на чертежах. Фиг.1 – изображена дверь автомобиля. Фиг.2 – изображен предлагаемый профиль уплотнителя. Фиг.3 – изображен профиль уплотнителя, установленный на нижнем фланце оконного проема двери.
Профиль уплотнителя 1 для подвижного стекла 2 двери 3 автомобиля (см. фигуру 1) содержит основное тело 4 и уплотняющий лепесток 5.
Основное тело 4 профиля уплотнителя 1 выполнено С-образной формы с возможностью охвата фланца 6 оконного проема двери 3 и образовано центральной 7 и верхней 8 стенками, соединенными между собой перемычкой 9, причем концевой участок 10 упомянутой центральной стенки 7 представляет собой отгиб (см. фигуру 2). Концевой участок 11 верхней стенки 8 основного тела 4 выполнен слегка отогнутым в сторону расположения центральной стенки 7 с возможностью упора во фланец 6 оконного проема двери 3, причем на упомянутом концевом участке 11 может быть выполнен слегка скругленный бортик 12.
Основное тело 4 выполнено из термопластичного материала с твердостью по Шору в пределах от 30 до 70 ЕД по шкале Д, причем упомянутый термопластичный материал выполнен на основе полипропилена.
Вышеописанная конструкция основного тела 4 характеризуется повышенным ресурсом работы, а именно может деформироваться в процессе установки или демонтажа необходимое количество раз и при этом сохраняет все первоначально заданные свойства.
На наружной поверхности основного тела 4, а именно в зоне перехода центральной стенки 7 в перемычку 9 размещен уплотняющий лепесток 5, выполненный с возможностью контакта со стеклом 2. На поверхность уплотняющего лепестка 5, контактирующую с упомянутым стеклом 2, может быть нанесено покрытие 13 из полиэтилен флоккулированной фольги или полимерное покрытие 14 с низким коэффициентом трения, что улучшает скольжение стекла 2 в процессе его подъема или опускания.
На наружную поверхность участка основного тела 4, а именно верхней стенки 8 и перемычки 9 нанесено декоративное покрытие 15, продолжением которого является уплотняющий лепесток 5. Причем упомянутые декоративное покрытие 15 и уплотняющий лепесток 5 выполнены из термоэластопласта с твердостью по Шору в пределах от 40 до 90 ЕД по шкале А. Такое исполнение позволяет придать видовой поверхности 16 профиля уплотнителя 1 эстетический вид, а также деформироваться уплотняющему лепестку 5 с последующим восстановлением первоначально заданной формы. Под видовой поверхностью 16 следует понимать поверхность, которая видна потребителю при установленном положении профиля уплотнителя 1 на фланце 6 оконного проема двери 3.
В основании уплотняющего лепестка 5, а именно в непосредственной близости от наружной поверхности центральной стенки 7 основного тела 4, может быть выполнена выемка 17, направленная открытой зоной вниз, что способствует уменьшению давления уплотняющего лепестка 5 на стекло 2.
Описанный профиль уплотнителя 1 может быть изготовлен по существующему технологического процессу единой деталью методом соэкструзии.
Профиль уплотнителя 1 устанавливается преимущественно на нижний фланец 6 оконного проема двери 3 (см. фигуру 3). Упомянутый нижний фланец 6 включает в себя жестко соединенные отогнутый фланец 18 наружной панели 19 двери 3 и его усилитель 20. В установленном положении профиль уплотнителя 1 основным телом 4 охватывает фланец 6, при этом концевым участком 11 верхней стенки 8, в частности бортиком 12, упирается в отогнутый фланец 18 наружной панели 19, концевым участком 10 центральной стенки 7 фиксируется на нижнем концевой участке 21 усилителя 20, а уплотняющий лепесток 5 перекрывает зазор Z между стеклом 2 и фланцем 6 оконного проема двери 3 от попадания в него влаги и грязи.
Описанная конструкция профиля уплотнителя 1 технологична при изготовлении и монтаже, а также имеет низкую себестоимость.
Формула изобретения
1. Профиль уплотнителя для подвижного стекла двери автомобиля, содержащий основное тело, выполненное С-образной формы с возможностью охвата фланца оконного проема двери и образованное центральной и верхней стенками, связанными между собой перемычкой, причем концевой участок центральной стенки выполнен в виде отгиба, уплотняющий лепесток, выполненный в верхней зоне основного тела с возможностью прилегания к стеклу, отличающийся тем, что на наружной поверхности верхней стенки и перемычки основного тела имеется декоративное покрытие, продолжением которого является уплотняющий лепесток, причем декоративное покрытие и уплотняющий лепесток выполнены из термоэластопласта с твердостью по Шору 40÷90 ЕД по шкале А.
2. Профиль уплотнителя для подвижного стекла двери автомобиля по п.1, отличающийся тем, что на поверхность уплотняющего лепестка, контактирующую со стеклом, нанесено покрытие из полиэтиленфлоккулированной фольги.
3. Профиль уплотнителя для подвижного стекла двери автомобиля по п.1, отличающийся тем, что на поверхность уплотняющего лепестка, контактирующую со стеклом, нанесено полимерное покрытие с низким коэффициентом трения.
4. Профиль уплотнителя для подвижного стекла двери автомобиля по п.1, отличающийся тем, что основное тело выполнено из термопластичного материала на основе полипропилена с твердостью по Шору 30÷70 ЕД по шкале Д.
5. Профиль уплотнителя для подвижного стекла двери автомобиля по п.1, отличающийся тем, что концевой участок верхней стенки основного тела выполнен отогнутым в сторону расположения центральной стенки основного тела с возможностью упора во фланец оконного проема двери.
РИСУНКИ
TK4A – Поправки к публикациям сведений об изобретениях в бюллетенях “Изобретения (заявки и патенты)” и “Изобретения. Полезные модели”
Напечатано: Адрес для переписки: 445042, Самарская обл., г. Тольятти, ул. Дзержинского, 31, кв. 208, И.И.Аксентьевой
Следует читать: Адрес для переписки: 443057, г. Самара, Красноглинский р-н, пос. Винтай, ЗАО “ПХР”, ген. директору А. Рачину
Номер и год публикации бюллетеня: 1-2005
Код раздела: FG4A
Извещение опубликовано: 10.09.2006 БИ: 25/2006
|
|