|
(21), (22) Заявка: 2002120637/03, 29.07.2002
(24) Дата начала отсчета срока действия патента:
29.07.2002
(43) Дата публикации заявки: 20.01.2004
(45) Опубликовано: 10.01.2005
(56) Список документов, цитированных в отчете о поиске:
SU 431019 A,05.06.1974. SU 334082A, 30.03.1972. DE 4436148 C1,04.07.1996. DE 2342556 B2,14.03.1974. WO 88/08781 A1,17.11.1988.
Адрес для переписки:
432063, г.Ульяновск, ул. Корюкина, 35, 2, а/я 4602, Г.К. Рябову
|
(72) Автор(ы):
Никифоров Е.А. (RU)
(73) Патентообладатель(и):
Никифоров Евгений Александрович (RU)
|
(54) СПОСОБ ОБРАБОТКИ ПЕНОДИАТОМИТОВОГО КИРПИЧА
(57) Реферат:
Изобретение относится к области строительства и может быть использовано для обработки кирпичей из пенодиатомита. Изобретение позволит повысить размерную точность обрабатываемых кирпичей, повысить производительность обработки. Способ обработки пенодиатомитового кирпича, включает последовательную обработку всех поверхностей. Противоположные стороны кирпичей обрабатывают одновременно единым блоком, состоящим из набора режущих инструментов. Сначала обрабатывают первую пару противоположных поверхностей, затем вторую пару противоположных поверхностей, потом третью пару противоположных поверхностей. 3 ил.

Изобретение относится к области строительства, а также к области производства теплоизоляционных материалов и может быть использовано для обработки кирпичей из пенодиатомита.
Известен способ обработки, реализованный с помощью установки для фрезерования строительных изделий (см. А.с. СССР №431019, кл. В 28 D 1/18. Опубл. 05.06.1974. Бюл. №21), позволяющий поэтапно обрабатывать поверхности строительных изделий концевыми цилиндрическими фрезами, причем обработка каждой стороны строительного изделия осуществляется отдельной фрезой, – прототип.
К причинам, препятствующим достижению указанного ниже технического результата при использовании известного способа, относится то, что при данном способе одновременно обрабатываются противоположные стороны строительного изделия отдельными фрезами. При этом точность обработки (линейный размер и непараллельность противоположных сторон) зависит от точности установки фрез, а также от точности базирования обрабатываемого кирпича относительно оси вращения фрез. Кроме того, концевые цилиндрические фрезы в силу своих конструктивных особенностей имеют малую длину наружной режущей поверхности, что приводит к частой их замене и потере производительности.
Сущность изобретения заключается в том, что противоположные стороны кирпичей обрабатывают одновременно единым блоком, состоящим из набора режущих инструментов, причем сначала обрабатывают первую пару противоположных поверхностей, затем вторую пару противоположных поверхностей, а потом третью пару противоположных поверхностей.
Использование предлагаемого способа обеспечивает следующий технический результат:
– Повышение размерной точности обрабатываемых кирпичей;
– Повышение производительности обработки.
Указанный технический результат при осуществлении изобретения достигается тем, что способ обработки пенодиатомитового кирпича включает последовательную обработку всех поверхностей.
Особенность заключается в том, что противоположные стороны кирпичей обрабатывают одновременно единым блоком, состоящим из набора режущих инструментов, причем сначала обрабатывают первую пару противоположных поверхностей, затем вторую пару противоположных поверхностей, а потом третью пару противоположных поверхностей.
Проведенный заявителем анализ уровня техники, включающий поиск по патентам и научно-техническим источникам информации и выявление источников, содержащих сведения об аналогах заявленного изобретения, позволил установить, что заявитель не обнаружил аналог, характеризующийся признаками, тождественными всем существенным признакам заявленного изобретения. Определение из перечня выявленных аналогов прототипа, как наиболее близкого по совокупности существенных признаков аналога, позволило выявить совокупность существенных по отношению к усматриваемому заявителем техническому результату отличительных признаков в заявленной конструкции, изложенных в формуле изобретения.
Следовательно, заявленное изобретение соответствует условию “новизна”.
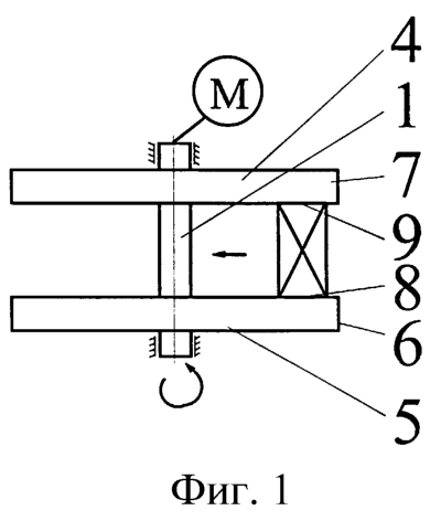
Схема, реализующая предлагаемый способ, представлена на фиг.1, 2 и 3.
Способ реализуется с помощью трех блоков 1, 2 и 3, состоящих из набора режущих инструментов 4 и 5. Расстояние между режущими инструментами равно длине (фиг.1), высоте (фиг.2) и толщине (фиг.3) обрабатываемого кирпича. Основной слой пропуска снимает цилиндрические 6 и 7 режущие части инструментов, а поверхности 8 и 9 осуществляют калибровку (окончательную доводку) поверхности кирпича.
После обработки одной пары противоположных поверхностей (фиг.1) кирпич перемещают на следующий пост (фиг.2), где обрабатывается вторая пара противоположных поверхностей, а затем кирпич перемещают на последний пост (фиг.3), где производится обработка последней пары поверхностей.
Таким образом, обработка кирпичей блоком из набора режущих инструментов с режущей цилиндрической частью увеличивает стойкость инструмента, снижает потребность в ее частой замене и тем самым повышает производительность обработки.
Одновременная обработка двух противоположных сторон кирпича инструментом с выставленным заранее размером по его торцовым поверхностям повышает размерную точность кирпича.
Таким образом, вышеизложенное описание свидетельствует о выполнении при использовании заявленного изобретения следующей совокупности условий:
– средство, воплощающее заявленное изобретение, при его осуществлении предназначено для обработки кирпичей из пенодиатомита;
– для заявленного способа в том виде, как он охарактеризован в изложенной формуле изобретения, подтверждена возможность его осуществления с помощью описанных в заявке средств и методов;
– средство, воплощающее заявленное изобретение при осуществлении, способно обеспечить достижение усматриваемых заявителем поставленных технических задач.
Следовательно, заявленное изобретение соответствует условию “промышленная применимость”.
Формула изобретения
Способ обработки пенодиатомитового кирпича, включающий последовательную обработку всех поверхностей, отличающийся тем, что противоположные стороны кирпичей обрабатывают одновременно единым блоком, состоящим из набора режущих инструментов, причем сначала обрабатывают первую пару противоположных поверхностей, затем вторую пару противоположных поверхностей, а потом третью пару противоположных поверхностей.
РИСУНКИ
MM4A Досрочное прекращение действия патента Российской Федерации на изобретение из-за неуплаты в установленный срок пошлины за поддержание патента в силе
Дата прекращения действия патента: 30.07.2004
Извещение опубликовано: 27.02.2006 БИ: 06/2006
NF4A Восстановление действия патента Российской Федерации на изобретение
Извещение опубликовано: 10.03.2006 БИ: 07/2006
|